EMI电源滤波器基本知识介绍
- 格式:pdf
- 大小:226.33 KB
- 文档页数:11
9好的综合性能。
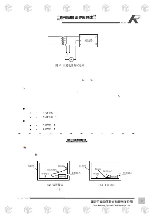
泄漏电流的测试电路如下所示:图10 泄漏电流测试电路耐压测试:为确保电源滤波器的性能以及设备和人身安全,必须进行滤波器耐压测试。
决定线-线之间耐压性能的关键器件就是差模电容C X ,若C X 电容器的耐压性能欠佳,在出现峰值浪涌电压时,可能被击穿。
它的击穿虽然不危及人身安全,但会使滤波器功能丧失或性能下降。
C Y 电容器除了满足接地漏电流的要求外,还在电气和机械性能方面具有足够的安全余量,避免在极端恶劣的环境条件下出现击穿短路现象。
故线-地之间的耐压性能对保护人身安全有重要意义,一旦设备或装置的绝缘保护措施失效,可能导致人员伤亡。
因此,必须对接地电容(C Y )进行严格的耐压测试。
根据相关标准要求,开容公司生产的电源滤波器满足如下耐压测试要求: 交流电源滤波器线-地:1760VAC (1分钟)耐压测试; 线-线:1500VDC (1分钟)耐压测试。
直流电源滤波器线-地:500VDC (1分钟)耐压测试; 线-线:200VDC (1分钟)耐压测试。
为减小接地阻抗,滤波器应安装在导电金属表面或通过编织接地带与接地点就近相连(图11),避免细长接地导线造成较大的接地阻抗。
图11 滤波器安装时应保证良好接地(a )错误接法(b )正确接法10滤波器应尽量安装在设备的入口/出口处(如图12)。
图12 电源滤波器的安装位置为避免输入/输出互相耦合,应尽量做到输入/输出隔离,至少严格禁止滤波器输入/输出线的相互交叉、路径平行等(如图13)。
若由于位置及空间的限制,无法满足上述要求,则滤波器的输入/输出线必须采用屏蔽线或高频吸收线。
图13 安装使用电源滤波器应注意输入/输出的空间隔离(a )错误接法(b )正确接法(a )错误接法(b )正确接法11KF 系列电源滤波器分为军用电源滤波器、工业用电源滤波器和专门用途滤波器三大类。
军用电源滤波器专为满足GJB151A/152A (GJB151/152)中的CE102(CE03)测试项目而设计,并且严格按照国军标环境要求选用高性能的器件材料设计。
EMI电源滤波器基本知识介绍电磁干扰(EMI)电源滤波器(以下简称滤波器)是由电感、电容组成的无源器件。
实际上它起两个低通滤波器的作用,一个衰减共模干扰另一个衰减差模干扰。
它能在阻带(通常大于10KHz)范围内衰减射频能量而让工频无衰减或很少衰减地通过。
EMI电源滤波器是电子设备设计工程师控制传导干扰和辐射电磁干扰的首选工具(一)EMI电源滤波器部分技术参数简介ﻭ插入损耗ﻭ滤波器的插入损耗是不加滤波器时从噪声源传递到负载的噪声电压与接入滤波器时负载上的噪声电压之比。
插入损耗衡量EMI电源滤波器电性能的重要参数,用下式表示:EoIL=20log---ﻭE式中:Eo------不加滤波器时,负载上的干扰噪声电平。
ﻭ E ------接入滤波器后,同一负载上的干扰噪声电平。
干扰方式有共模干扰和差模干扰两种,其定义为:共模干扰:叠加于火线(P)、零线(N)和地线(E)之间的干扰电压。
ﻭ差模干扰:叠加于火线(P)和零线(N)之间的干扰电压。
ﻭ因此插入损耗又分为共模插入损耗和差模插入损耗,插入损耗的测试原理图如下:ﻭ泄漏电流:滤波器的泄漏电流是指在250VAC的电压下,火线和零线与外壳间流过的电流。
它主要取决于滤波器中的共模电容。
从插入损ﻭ耗考虑,共模电容越大,电性能越好,此时,漏电流也越大。
但从安全方面考虑,泄漏电流又不能过大,否则不符合安全标准要求。
尤其是一些医疗保健设备,要求泄漏电流尽可能小。
因此,要根据具体设备要求来确定共模电容的容量。
泄漏电流测试电路如下所示ﻭ耐压测试ﻭ为确保(交流)电源滤波器的质量,出厂前全部进行耐压测试。
测试标准为:ﻭ火线与地线(或零线与地线)之间施加频率为50Hz的1500VAC高压,时间一分钟,不发生放电现象和咝咝声。
ﻭ火线与零线之间施加1450V直流高压,时间一分钟,不发生放电现象和咝咝声(二) EMI电源滤波器的选用根据设备的额定工作电压、额定工作电流和工作频率来确定滤波器的类型。
EMI滤波器介绍EMI(Electromagnetic Interference)滤波器是一种用于抑制电磁干扰的设备,通过滤除电路中的高频干扰信号,保障电子设备的正常工作。
EMI滤波器在各种电子设备中得到广泛应用,包括电源、通信设备、自动化控制系统等。
下面将详细介绍EMI滤波器的工作原理、分类和应用场景。
被动滤波器是EMI滤波器中应用最为广泛的一种,它主要通过电感和电容来实现滤波。
电感是一种储存电能的装置,对于低频信号具有较好的传导性能,可以将其中的高频噪声滤除。
而电容则具有对高频信号有良好的传递性能,可以将所需信号传递给负载端。
通过合理的组合和调整电感和电容的数值,可以实现对不同频率干扰信号的滤除。
有源滤波器是一种基于主动元件的滤波器,主要通过运算放大器和反馈电路的组合来实现。
有源滤波器可以提供更高的滤波效果和更广泛的频率范围,因为它可以根据电路参数的变化来调整滤波器的频率响应。
有源滤波器通常用于对高精度信号的滤波,如音频和视频信号。
根据EMI滤波器的应用场景,可以将其分为电源滤波器和信号滤波器两大类。
电源滤波器主要用于电源线路中,用于滤除电源线上的高频干扰信号,避免其进入电子设备中,从而保证设备的正常工作。
电源滤波器通常由电感、电容和阻抗器组成,通过合理的排列和组合,可以对不同频率的干扰信号进行滤除。
电源滤波器的类型有很多,包括单级LC滤波器、CLC滤波器、LCπ滤波器等。
这些滤波器通常需要根据电源线的特性和所需滤波效果进行选择和设计。
信号滤波器主要用于通信设备、自动化控制系统等电子设备中,用于滤除输入输出信号中的干扰噪声,确保信号传输的可靠性和稳定性。
信号滤波器通常由电感、电容和阻抗器组成,通过调整和优化这些元件的数值和排列,可以实现对不同频率干扰信号的滤除。
信号滤波器的类型也有很多,包括低通滤波器、高通滤波器、带通滤波器等。
根据具体的应用场景和需求,可以选择合适的滤波器来实现对信号的滤除。
emi滤波器工作原理EMI滤波器是一种用于抑制电磁干扰(EMI)的设备,它可以将高频电磁波从电路中滤除或减弱,以保证电路的正常工作和减少对其他设备的干扰。
EMI滤波器的工作原理主要包括两个方面:传导路径和耦合路径。
传导路径是指电磁波在电路中的传导路径。
当电磁波进入电路时,它会通过电源线、信号线、地线等传导到电路中的各个部分。
这些传导路径是电磁波进入电路的主要途径,也是EMI滤波器起作用的重点。
EMI滤波器通过在传导路径上设置电感和电容等元件来实现对电磁波的滤除或减弱。
其中,电感主要用于滤除高频电磁波,而电容则主要用于减弱低频电磁波。
通过合理选择电感和电容的数值和结构,可以使EMI滤波器在不同频段上具有不同的滤波效果,以满足不同电路对电磁波的屏蔽要求。
耦合路径是指电磁波在电路中的耦合路径。
当电磁波进入电路后,它会通过电路中的元件间的耦合作用,传递到电路中的其他部分。
这些耦合路径是电磁波在电路中传播的次要途径,但同样需要进行抑制,以减少对其他设备的干扰。
EMI滤波器通过在耦合路径上设置衰减器、隔离器等元件来实现对电磁波的滤除或减弱。
衰减器主要用于减弱电磁波的幅度,而隔离器则主要用于隔离电磁波的传播路径。
通过合理选择衰减器和隔离器的数值和结构,可以使EMI滤波器在耦合路径上起到有效的屏蔽作用,从而减少对其他设备的干扰。
除了传导路径和耦合路径,EMI滤波器还可以通过其他方式来实现对电磁波的滤除或减弱。
例如,可以通过在电路中添加屏蔽罩、屏蔽层等结构来阻挡电磁波的传播;还可以通过调整电路的布局和结构来减少电磁波的辐射和散射。
EMI滤波器通过在传导路径和耦合路径上设置合适的元件和结构,以及其他方式的组合,来实现对电磁波的滤除或减弱。
通过有效地抑制电磁干扰,EMI滤波器可以保证电路的正常工作,减少对其他设备的干扰,是电子设备中必不可少的重要组成部分。
EMI电源滤波器基本知识介绍电磁干扰:因电磁骚扰引起设备、装置或系统性能下降的都是电磁干扰。
随着电子技术的迅速发展,电子设备得到广泛的应用,电磁环境污染日趋严重,已成为当今主要公害之一,越来越引起世界各国各行各业的广泛关注。
在许多领域,电磁兼容性已成为电气和电子产品必须有的技术指标或性能评价的依据,甚至关系到一个企业或一种产品的生死存亡。
EMI电源滤波器:电磁干扰(EMI)电源滤波器(以下简称滤波器)是由电感、电容等构成的无源双向多端口网络。
实际上它起两个低通滤波器的作用,一个衰减共模干扰,另一个衰减差模干扰。
它能在阻带(通常大于10KHz)范围内衰减射频能量而让工频无衰减或很少衰减地通过。
EMI电源滤波器是电子设备设计工程师控制传导电磁干扰和辐射电磁干扰的首选工具。
插入损耗:滤波器的插入损耗是不用滤波器时从噪声源传递到负载的噪声电压与插入滤波器时负载上的噪声电压之比。
插入损耗是在空载、50Ω系统条件下测试的,结果通常表示为在所关心频段内的衰减曲线(单位为分贝)。
插入损耗的计算可由下式求得:式中:V1 ─ 没有滤波器时负载上的噪声电压;V2 ─ 插入滤波器时负载上的噪声电压。
滤波器插入损耗测量结果通常表示为两种形式:一是插入损耗对频率的曲线,二是数据表。
共模和差模插入损耗的测试电路原理图如下所示:额定电流:额定电流是滤波器在额定频率、额定温度下允许通过的最大连续工作电流。
当环境温度不为额定温度时,滤波器允许通过的电流(Iop)可按下式计算,式中IN 为标称额定电流、θ为实际工作环境温度,泄漏电流:滤波器的泄漏电流是指在250VAC/50Hz的情况下,相线和中线与外壳(地)之间流过的电流。
它主要取决于连接在相线与地和中线与地间的共模电容(亦称为“Y”电容)。
泄漏电流是滤波器的一个重要参数。
Y电容的容量越大,共模阻抗越小,共模噪声抑制效果越好。
可以说泄漏电流是滤波器的一项性能指标, 泄漏电流越大,滤波器性能越好。
EMI滤波器结构与分类EMI滤波器(Electromagnetic Interference Filter)也称为RMI 滤波器(Radio Frequency Interference Filter)是一种用于减少电磁干扰并保护电子设备的重要组件。
EMI滤波器能够阻止高频噪音和电磁波干扰进入敏感电路,从而确保设备的正常运行。
1. RC滤波器(Resistor-Capacitor Filter):RC滤波器使用电阻和电容器组成,是一种简单且经济的滤波器。
它能够滤除高频噪音,但对于低频噪音的滤波效果较差。
RC滤波器的结构如下:-输入端接一个电阻,阻抗为R1;-输入端和输出端之间连接一个电容,容抗为C1;-输出端连接一个负载电阻,阻抗为RL。
根据RC滤波器的电容值和电阻值的不同,可以分为高通滤波器和低通滤波器。
高通滤波器可以滤除低频信号,保留高频信号;低通滤波器可以滤除高频信号,保留低频信号。
2. LC滤波器(Inductor-Capacitor Filter):LC滤波器使用电感和电容器组成,能够滤除高频和低频噪音。
LC滤波器的结构如下:-输入端连接一个电感,电感值为L1;-电感的另一端与一个电容连接,电容值为C1;-输出端与一个负载电阻连接,阻抗为RL。
LC滤波器根据电容值和电感值的不同,可以分为高通滤波器和低通滤波器。
高通滤波器可以滤除低频信号,保留高频信号;低通滤波器可以滤除高频信号,保留低频信号。
3. LC+RC滤波器(Inductor-Capacitor and Resistor-Capacitor Filter):LC+RC滤波器是LC滤波器和RC滤波器的组合,能够同时滤除高频和低频噪音。
LC+RC滤波器的结构如下:-输入端连接一个电感,电感值为L1;-电感的另一端与一个电容连接,电容值为C1;-输入端到输出端的路径上,连接一个电阻,阻抗为R1;-输出端与一个负载电阻连接,阻抗为RL。
开关电源EMI滤波器原理和设计研究开关电源EMI滤波器是用来减少开关电源产生的电磁干扰(EMI)的一种装置。
EMI是指开关电源工作时产生的高频干扰信号,可能会对其他电子设备、无线通信和无线电接收产生干扰,影响它们的正常工作。
EMI滤波器通过合理设计,能有效地抑制开关电源产生的EMI信号,从而减少对其他设备的干扰。
EMI滤波器的原理是基于电流和电压的相位关系来实现的。
开关电源在工作时会产生高频电流脉冲,而这些电流脉冲会通过开关电源输入端的电容等元件,从而形成高频电流回路。
EMI滤波器通过给开关电源输入端加上一个电感元件,阻断高频电流回路的形成,从而减小EMI信号的辐射。
设计EMI滤波器时需要考虑以下几个因素:1.工作频率范围:EMI滤波器需要在开关电源产生EMI信号的频率范围内有效工作。
根据具体的应用环境和要求,选择合适的滤波器工作频率范围。
2.滤波特性:滤波器需要具有良好的滤波特性,对于较高频率的EMI信号能够有较好的抑制效果。
常用的滤波器类型有低通滤波器、带通滤波器和带阻滤波器等。
3.过渡区域:滤波器在过渡区域需要平衡阻抗和频率之间的变化。
过渡区域越宽,滤波器的性能越好。
过渡区域的宽度需要根据具体要求进行设计。
4.安全和可靠性:EMI滤波器需要满足安全和可靠性的要求。
在设计过程中,需要考虑电源参数范围、电流和电压的安全范围等因素,以确保滤波器的稳定性和可靠性。
设计EMI滤波器的方法有多种,可以根据需求选择不同的设计方法。
常见的方法包括线性滤波器设计、Pi型滤波器设计和C型滤波器设计等。
其中,Pi型滤波器是应用最广泛的一种,它由两个电感和一个电容组成,能够对高频信号进行抑制。
总之,开关电源EMI滤波器的原理和设计研究是为了降低开关电源产生的电磁干扰,保证其他设备的正常工作。
通过合理的滤波器设计和选择合适的滤波器类型,可以有效地减少EMI信号对其他设备的干扰,提高系统的抗干扰性能。
emi 有源滤波原理
(原创版)
目录
1.EMI 的概念与分类
2.有源滤波的定义及原理
3.有源滤波的应用领域
4.EMI 有源滤波的优势与局限
正文
1.EMI 的概念与分类
EMI(Electromagnetic Interference,电磁干扰)是指由于电磁辐射或电磁脉冲等电磁现象对电子设备、系统或服务产生的干扰。
根据干扰的性质和来源,EMI 可分为多种类型,如共模干扰、差模干扰、辐射干扰等。
2.有源滤波的定义及原理
有源滤波是一种采用主动方式对电磁干扰进行抑制的技术,其核心是使用滤波器对电磁干扰信号进行衰减或消除。
滤波器的工作原理是利用特定元件(如电阻、电容、电感、晶体管等)构成一个具有特定频率响应的电路,从而在特定频率范围内对电磁干扰信号进行衰减。
3.有源滤波的应用领域
有源滤波技术在多个领域具有广泛的应用,包括通信系统、计算机系统、汽车电子、医疗设备等。
例如,在通信系统中,有源滤波可用于抑制来自其他通信信号的干扰;在计算机系统中,有源滤波可以减少电磁辐射对计算机内部元件的影响,提高系统稳定性。
4.EMI 有源滤波的优势与局限
EMI 有源滤波技术具有诸多优势,如抑制效果明显、可针对特定频率进行精细调制、适应性强等。
然而,它也存在一些局限,如滤波器设计复杂、成本较高、对某些高强度电磁干扰效果有限等。
一阶emi滤波和二阶emi滤波一阶EMI滤波和二阶EMI滤波EMI(Electromagnetic Interference)滤波器是电子设备中常用的一种电路元件,用于抑制电磁干扰信号,保证电子设备的正常工作。
其中,一阶EMI滤波和二阶EMI滤波是两种常见的滤波器类型。
本文将详细介绍一阶EMI滤波和二阶EMI滤波的原理和应用。
一、一阶EMI滤波器一阶EMI滤波器是最简单的EMI滤波器之一。
它由一个电感和一个电容组成,通常被称为LC滤波器。
其原理是利用电感的阻抗变化和电容的阻抗变化,来抑制高频电磁干扰信号。
具体而言,当高频信号通过电感时,电感的阻抗会随着频率的增加而增加,从而形成一个高频阻抗。
而当高频信号通过电容时,电容的阻抗会随着频率的增加而减小,形成一个低频阻抗。
这样,通过电感和电容串联连接后,高频信号会被阻断,而低频信号则会通过,从而实现滤波的效果。
一阶EMI滤波器常见的应用场景是在电源线路上。
由于电源线路中常常存在较高的高频噪声干扰,因此在电源线路输入端添加一阶EMI滤波器,可以有效地滤除这些高频噪声,保证电子设备的正常工作。
此外,一阶EMI滤波器也可以用于音频信号的滤波,以提高音频设备的音质。
二、二阶EMI滤波器二阶EMI滤波器相较于一阶EMI滤波器,具有更好的滤波效果。
它由两个电感和两个电容组成,通常被称为LC-LC滤波器。
二阶EMI 滤波器的原理是在一阶滤波器的基础上,通过增加一个电感和一个电容,来进一步增强滤波效果。
二阶EMI滤波器的工作原理与一阶滤波器类似,但由于增加了一个电感和一个电容,其滤波效果更好。
通过适当选择电感和电容的数值,可以实现对特定频率范围内的干扰信号的滤除。
二阶EMI滤波器常被用于对频率较高的EMI信号进行滤波,如无线通信设备、雷达设备等。
除了LC-LC滤波器外,二阶EMI滤波器还可以采用其他电路结构,如LC-RC滤波器和LC-RL滤波器。
根据不同的滤波需求,可以选择合适的二阶EMI滤波器结构。
EMI電源濾波器基本知識介紹電磁干擾(EMI)電源濾波器(以下簡稱濾波器)是由電感、電容組成的無源器件。
實際上它起兩個低通濾波器的作用,一個衰減共模干擾另一個衰減差模干擾。
它能在阻帶(通常大於10KHz)範圍內衰減射頻能量而讓工頻無衰減或很少衰減地通過。
EMI電源濾波器是電子設備設計工程師控制傳導干擾和輻射電磁干擾的首選工具(一)EMI電源濾波器部分技術參數簡介插入損耗濾波器的插入損耗是不加濾波器時從噪音源傳遞到負載的雜訊電壓與接入濾波器時負載上的雜訊電壓之比。
插入損耗衡量EMI電源濾波器電性能的重要參數,用下式表示:EoIL=20log---E式中:Eo------不加濾波器時,負載上的干擾雜訊電平。
E ------接入濾波器後,同一負載上的干擾雜訊電平。
干擾方式有共模干擾和差模干擾兩種,其定義為:共模干擾:疊加於火線(P)、零線(N)和地線(E)之間的干擾電壓。
差模干擾:疊加於火線(P)和零線(N)之間的干擾電壓。
因此插入損耗又分為共模插入損耗和差模插入損耗,插入損耗的測試原理圖如下:洩漏電流:濾波器的洩漏電流是指在250V AC的電壓下,火線和零線與外殼間流過的電流。
它主要取決於濾波器中的共模電容。
從插入損耗考慮,共模電容越大,電性能越好,此時,漏電流也越大。
但從安全方面考慮,洩漏電流又不能過大,否則不符合安全標準要求。
尤其是一些醫療保健設備,要求洩漏電流盡可能小。
因此,要根據具體設備要求來確定共模電容的容量。
洩漏電流測試電路如下所示耐壓測試為確保(交流)電源濾波器的品質,出廠前全部進行耐壓測試。
測試標準為:火線與地線(或零線與地線)之間施加頻率為50Hz的1500V AC高壓,時間一分鐘,不發生放電現象和噝噝聲。
火線與零線之間施加1450V直流高壓,時間一分鐘,不發生放電現象和噝噝聲(二)EMI電源濾波器的選用根據設備的額定工作電壓、額定工作電流和工作頻率來確定濾波器的類型。
濾波器的額定工作電流不要取的過小,否則會損壞濾波器或降低濾波器的壽命。
直流emi滤波器原理
直流EMI滤波器的原理是通过连接电容、电感和电阻等元件来滤除直流电源中的电磁干扰。
这种滤波器将直流电源与负载电路之间串联一个低通滤波器,从而阻止高频电磁干扰信号通过。
具体原理如下:
1. 电容滤波:在直流EMI滤波器中,一个或多个电容被串联在电源输入和负载之间。
这些电容可以提供一个低阻抗路径来短路高频干扰信号,从而阻止它们传播到负载电路。
2. 电感滤波:直流EMI滤波器还包含一个或多个串联电感,它们可以提供一个高阻抗路径来阻断高频干扰信号。
电感的特性是阻碍电流急剧变化,因此对高频信号形成阻隔,只允许直流信号通过。
3. 耦合电阻:耦合电阻被用于连接电容和电感,它提供了一个转换耦合器,用于传送直流电源信号和阻断高频干扰信号。
通过这些元件的串联或并联组合,直流EMI滤波器可以在限制干扰信号通过的同时允许直流电源信号传输到负载电路中。
这样可以有效减弱电源中的电磁噪声,提高系统的稳定性和可靠性。
EMI滤波器标准的EMI滤波器通常由串联电抗器和并联电容器组成的低通滤波电路,其作用是允许设备正常工作时的频率信号进入设备,而对高频的干扰信号有较大的阻碍作用。
电源线是干扰传入设备和传出设备的主要途径,通过电源线,电网的干扰可以传入设备,干扰设备的正常工作,同样设备产生的干扰也可能通过电源线传到电网上,干扰其他设备的正常工作。
必须在设备的电源进线处加入EMI滤波器。
一般来说,就是工频50/60Hz或者中频400HzEMI滤波器的作用,主要体现在以下两个方面:复合滤波器2.1、抑制高频干扰抑制交流电网中的高频干扰对设备的影响;2.2、抑制设备干扰抑制设备(尤其是高频开关电源)对交流电网的干扰。
EMI滤波器是一种由电感和电容组成的低通滤波器,它能让低频的有用信号顺利通过,而对高频干扰有抑制作用。
技术指标任何一种产品都有它特定的性能指标,或者是客户所期望的,或者是某些标准所规定的。
EMI滤波器最重要的技术指标是对干扰的抑制能力,常常用所谓的插入损耗(Insertion Loss)来表示,它的定义是:没有接入滤波器时从干扰源传输到负载的功率P1和接入滤波器后从干扰源传输到负载的功率P2之比,用分贝(dB)表示。
性能指标EMI滤波器的插入损耗与滤波网络的网络参量以及源端和负载端的阻抗有关。
为避免滤除有用信号, 插损指标须谨慎提出。
不论是军用还是民用EMC标准, 对设备或分系统的电源线传导干扰电平都有明确的规定, 预估或测试获得的EMI传导干扰电平和标准传导干扰电平之间的差值即所需的EMI滤波器的最小插损。
然而, 对不同的单台设备都进行EMC 测试, 而后分析其传导干扰特性, 设计合乎要求的滤波器, 这在实际工程中显然是不可能的。
事实上, 国家标准中规定了电源滤波器插入损耗的测试方法。
在标准测试条件下,一般军用电源滤波器应满足10kHz~30MHz 范围内插入损耗30~60dB。
工程设计人员只需要根据实际情况选择合适的滤波器。
EMI电源滤波器的原理与分析电磁干扰滤波器插入损耗1引言随着人们对清洁环境,生活品质要求的不断提高,全球主要国家对电气和电子产品的电磁兼容性的要求日益严格。
因此,尽量降低电力电子装置的电磁干扰,提高其电磁兼容性,已成为十分重要的问题。
目前,人们在实际工程中解决电磁干扰问题的手段主要有三种:一是接地;二是屏蔽;三是采用电磁干扰(EMI)滤波器来有效的阻断传导电磁干扰的的传输途径。
下面主要讨论的是EMI滤波器的原理和设计。
2 EMI滤波器的原理和研究方法2.1 干扰信号分析电磁干扰按其能量传播的方式分为传导干扰和辐射干扰。
传导干扰主要是指由电源线传导至电子设备的干扰,采用滤波器来滤除和抑制最有效;而辐射干扰是指由于电子设备的引入,其内部高频线路及其他感抗元件的电磁场交变产生的辐射电磁波所造成的干扰,采用屏蔽技术来消除效果最好。
传导型电磁干扰分为共模干扰和差模干扰两种。
共模干扰又称为对地感应干扰或不对称干扰,指的是两条电源线相对于大地存在的干扰和噪声;串模干扰又称为常模、串模、线间感应和对称干扰等,指的是两条电源线之间的干扰。
EMI滤波器滤除的频率范围大概为10kHz~30MHz,最高可达150MHz,按产生共模和差模干扰的特点,可大致按干扰的分布分为三个频段:0.5MHz以下,以差模干扰为主;0.5~5MHz差模、共模干扰共存;5~30MHz以共模干扰为主。
在对电磁干扰噪声采取抑制措施时,主要应考虑抑制共模噪声,因为共模噪声在全频域特别在高频域占主要成分,而低频域差模噪声占比例较大,所以应根据EMI噪声的这个特点来选择适当的EMI滤波器。
2.2 EMI滤波器的原理首先,考虑干扰信号的特点,设计时应注意以下几点:(1)双向滤波功能——电网对电源、电源对电网都应该有滤波功能;(2)能有效地抑制差模干扰和共模干扰——工程设计中重点考虑共模干扰抑制;(3)最大程度地满足阻抗失配原则。
EMI滤波器可分为交流电源滤波器、信号传输线滤波器和去耦滤波器。
EMI电源滤波器基本知识介绍电磁干扰(EMI)电源滤波器(以下简称滤波器)是由电感、电容组成的无源器件。
实际上它起两个低通滤波器的作用,一个衰减共模干扰另一个衰减差模干扰。
它能在阻带(通常大于10KHz)范围内衰减射频能量而让工频无衰减或很少衰减地通过。
EMI电源滤波器是电子设备设计工程师控制传导干扰和辐射电磁干扰的首选工具(一)EMI电源滤波器部分技术参数简介插入损耗滤波器的插入损耗是不加滤波器时从噪声源传递到负载的噪声电压与接入滤波器时负载上的噪声电压之比。
插入损耗衡量EMI电源滤波器电性能的重要参数,用下式表示:EoIL=20log---E 式中:Eo------不加滤波器时,负载上的干扰噪声电平。
E------接入滤波器后,同一负载上的干扰噪声电平。
干扰方式有共模干扰和差模干扰两种,其定义为:共模干扰:叠加于火线(P)、零线(N)和地线(E)之间的干扰电压。
差模干扰:叠加于火线(P)和零线(N)之间的干扰电压。
因此插入损耗又分为共模插入损耗和差模插入损耗,插入损耗的测试原理图如下:泄漏电流:滤波器的泄漏电流是指在250VAC的电压下,火线和零线与外壳间流过的电流。
它主要取决于滤波器中的共模电容。
从插入损耗考虑,共模电容越大,电性能越好,此时,漏电流也越大。
但从安全方面考虑,泄漏电流又不能过大,否则不符合安全标准要求。
尤其是一些医疗保健设备,要求泄漏电流尽可能小。
因此,要根据具体设备要求来确定共模电容的容量。
泄漏电流测试电路如下所示耐压测试为确保(交流)电源滤波器的质量,出厂前全部进行耐压测试。
测试标准为:火线与地线(或零线与地线)之间施加频率为50Hz的1500VAC高压,时间一分钟,不发生放电现象和咝咝声。
火线与零线之间施加1450V直流高压,时间一分钟,不发生放电现象和咝咝声(二)EMI电源滤波器的选用根据设备的额定工作电压、额定工作电流和工作频率来确定滤波器的类型。
滤波器的额定工作电流不要取的过小,否则会损坏滤波器或降低滤波器的寿命。
但额定工作电流也不要取的过大,这是因为电流大会增大滤波器的体积或降低滤波器的电性能,为了既不降低滤波器的电性能,又能保证滤波器安全工作,一般按设备额定电流的1.2倍来确定滤波器的额定工作电流。
根据设备现场干扰源情况,来确定干扰噪声类型,是共模干扰还是差模干扰,这样才能有针对性的选用滤波器。
如不能确定干扰类型,可通过实际试探来确定滤波器型号,这种方法往往是一种既实际又有效的方法。
根据设备最大泄漏电流的允许值来选择滤波器,尤其对一些医疗保健设备更是如此(三)EMI电源滤波器使用的注意事项·电源滤波器的安装位置要靠近电源入口处,尽量缩短引线长度。
·确保滤波器外壳与机箱外壳良好接触,外壳接保护地。
·滤波器耐压测试标准是(线-地)1500VAC,(线-线)1450VDC,时间一分钟。
由于这种测试对内部器件带有一定损伤,用户测试次数不能过多,时间不能过长。
否则会降低滤波器的寿命,甚至损坏滤波器。
话题:解析几种有效开关电源电磁干扰抑制解析几种有效开关电源电磁干扰抑制前关于开关电源EMI(Electromagnetic Interference)的研究,有些从EMI产生的机理出发,有些从EMI产生的影响出发,都提出了许多实用有价值的方案。
这里分析与比较了几种有效的方案,并为开关电源EMI的抑制措施提出新的参考建议。
◆开关电源电磁干扰的产生机理开关电源产生的干扰,按噪声干扰源种类来分,可分为尖峰干扰和谐波干扰两种;若按耦合通路来分,可分为传导干扰和辐射干扰两种。
现在按噪声干扰源来分别说明:1、二极管的反向恢复时间引起的干扰高频整流回路中的整流二极管正向导通时有较大的正向电流流过,在其受反偏电压而转向截止时,由于PN结中有较多的载流子积累,因而在载流子消失之前的一段时间里,电流会反向流动,致使载流子消失的反向恢复电流急剧减少而发生很大的电流变化(di/dt)。
2、开关管工作时产生的谐波干扰功率开关管在导通时流过较大的脉冲电流。
例如正激型、推挽型和桥式变换器的输入电流波形在阻性负载时近似为矩形波,其中含有丰富的高次谐波分量。
当采用零电流、零电压开关时,这种谐波干扰将会很小。
另外,功率开关管在截止期间,高频变压器绕组漏感引起的电流突变,也会产生尖峰干扰。
3、交流输入回路产生的干扰无工频变压器的开关电源输入端整流管在反向恢复期间会引起高频衰减振荡产生干扰。
开关电源产生的尖峰干扰和谐波干扰能量,通过开关电源的输入输出线传播出去而形成的干扰称之为传导干扰;而谐波和寄生振荡的能量,通过输入输出线传播时,都会在空间产生电场和磁场。
这种通过电磁辐射产生的干扰称为辐射干扰。
4、其他原因元器件的寄生参数,开关电源的原理图设计不够完美,印刷线路板(PCB)走线通常采用手工布置,具有很大的随意性,PCB的近场干扰大,并且印刷板上器件的安装、放置,以及方位的不合理都会造成EMI干扰。
◆开关电源EMI的特点作为工作于开关状态的能量转换装置,开关电源的电压、电流变化率很高,产生的干扰强度较大;干扰源主要集中在功率开关期间以及与之相连的散热器和高平变压器,相对于数字电路干扰源的位置较为清楚;开关频率不高(从几十千赫和数兆赫兹),主要的干扰形式是传导干扰和近场干扰;而印刷线路板(PCB)走线通常采用手工布线,具有更大的随意性,这增加了PCB 分布参数的提取和近场干扰估计的难度。
◆EMI测试技术目前诊断差模共模干扰的三种方法:射频电流探头、差模抑制网络、噪声分离网络。
用射频电流探头是测量差模共模干扰最简单的方法,但测量结果与标准限值比较要经过较复杂的换算。
差模抑制网络结构比较简单,测量结果可直接与标准限值比较,但只能测量共模干扰。
噪声分离网络是最理想的方法,但其关键部件变压器的制造要求很高。
◆目前抑制干扰的几种措施形成电磁干扰的三要素是干扰源、传播途径和受扰设备。
因而,抑制电磁干扰也应该从这三方面着手。
首先应该抑制干扰源,直接消除干扰原因;其次是消除干扰源和受扰设备之间的耦合和辐射,切断电磁干扰的传播途径;第三是提高受扰设备的抗扰能力,减低其对噪声的敏感度。
目前抑制干扰的几种措施基本上都是用切断电磁干扰源和受扰设备之间的耦合通道,它们确是行之有效的办法。
常用的方法是屏蔽、接地和滤波。
采用屏蔽技术可以有效地抑制开关电源的电磁辐射干扰。
例如,功率开关管和输出二极管通常有较大的功率损耗,为了散热往往需要安装散热器或直接安装在电源底板上。
器件安装时需要导热性能好的绝缘片进行绝缘,这就使器件与底板和散热器之间产生了分布电容,开关电源的底板是交流电源的地线,因而通过器件与底板之间的分布电容将电磁干扰耦合到交流输入端产生共模干扰,解决这个问题的办法是采用两层绝缘片之间夹一层屏蔽片,并把屏蔽片接到直流地上,割断了射频干扰向输入电网传播的途径。
为了抑制开关电源产生的辐射,电磁干扰对其他电子设备的影响,可完全按照对磁场屏蔽的方法来加工屏蔽罩,然后将整个屏蔽罩与系统的机壳和地连接为一体,就能对电磁场进行有效的屏蔽。
电源某些部分与大地相连可以起到抑制干扰的作用。
例如,静电屏蔽层接地可以抑制变化电场的干扰;电磁屏蔽用的导体原则上可以不接地,但不接地的屏蔽导体时常增强静电耦合而产生所谓“负静电屏蔽”效应,所以仍以接地为好,这样使电磁屏蔽能同时发挥静电屏蔽的作用。
电路的公共参考点与大地相连,可为信号回路提供稳定的参考电位。
因此,系统中的安全保护地线、屏蔽接地线和公共参考地线各自形成接地母线后,最终都与大地相连.在电路系统设计中应遵循“一点接地”的原则,如果形成多点接地,会出现闭合的接地环路,当磁力线穿过该回路时将产生磁感应噪声,实际上很难实现“一点接地”。
因此,为降低接地阻抗,消除分布电容的影响而采取平面式或多点接地,利用一个导电平面(底板或多层印制板电路的导电平面层等)作为参考地,需要接地的各部分就近接到该参考地上。
为进一步减小接地回路的压降,可用旁路电容减少返回电流的幅值。
在低频和高频共存的电路系统中,应分别将低频电路、高频电路、功率电路的地线单独连接后,再连接到公共参考点上。
滤波是抑制传导干扰的一种很好的办法。
例如,在电源输入端接上滤波器,可以抑制开关电源产生并向电网反馈的干扰,也可以抑制来自电网的噪声对电源本身的侵害。
在滤波电路中,还采用很多专用的滤波元件,如穿心电容器、三端电容器、铁氧体磁环,它们能够改善电路的滤波特性。
恰当地设计或选择滤波器,并正确地安装和使用滤波器,是抗干扰技术的重要组成部分。
EMI滤波技术是一种抑制尖脉冲干扰的有效措施,可以滤除多种原因产生的传导干扰。
一种由电容、电感组成的EMI滤波器,接在开关电源的输入端。
电路中,C1、C5是高频旁路电容,用于滤除两输入电源线间的差模干扰;L1与C2、C4;L2与C3、C4组成共模干扰滤波环节,用于滤除电源线与地之间非对称的共模干扰;L3、L4的初次级匝数相等、极性相反,交流电流在磁芯中产生的磁通相反,因而可有效地抑制共模干扰。
测试表明,只要适当选择元器件的参数,便可较好地抑制开关电源产生的传导干扰。
◆目前开关电源EMI抑制措施的不足之处现有的抑制措施大多从消除干扰源和受扰设备之间的耦合和辐射,切断电磁干扰的传播途径出发,这确是抑制干扰的一种行之有效的办法,但很少有人涉及直接控制干扰源,消除干扰,或提高受扰设备的抗扰能力,殊不知后者还有许多发展的空间。
◆改进措施的建议我认为目前从电磁干扰的传播途径出发来抑制干扰,已渐进成熟。
我们的视点要回到开关电源器件本身来。
从多年的工作实践来看,在电路方面要注意以下几点:(1)印制板布局时,要将模拟电路区和数字电路区合理地分开,电源和地线单独引出,电源供给处汇集到一点;PCB布线时,高频数字信号线要用短线,主要信号线最好集中在PCB板中心,同时电源线尽可能远离高频数字信号线或用地线隔开。
其次,可以根据耦合系数来布线,尽量减少干扰耦合。
(2)印制板的电源线和地线印制条尽可能宽,以减小线阻抗,从而减小公共阻抗引起的干扰噪声。
(3)器件多选用贴片元件和尽可能缩短元件的引脚长度,以减小元件分布电感的影响。
(4)在Vdd及Vcc电源端尽可能靠近器件接入滤波电容,以缩短开关电流的流通途径,如用10μF铝电解和01μF电容并联接在电源脚上。
对于高速数字IC的电源端可以用钽电解电容代替铝电解电容,因为钽电解的对地阻抗比铝电解小得多。
产生开关电源电磁干扰的因素还很多,抑制电磁干扰还有大量的工作。
全面抑制开关电源的各种噪声才会使开关电源得到更广泛的应用。