入河排污口设置审批流程图
- 格式:doc
- 大小:31.50 KB
- 文档页数:2
入河排污口的设置和扩大审核办事流程第一篇:入河排污口的设置和扩大审核办事流程入河排污口的设置和扩大审核办事流程一、申报条件与材料明细(一)申请条件1、符合国家和省有关产业政策,符合流域或区域的综合规划和水资源保护等相关规划。
2、符合水功能区划和管理要求,污水排放符合国家和省规定的排放标准。
(二)申报材料1、按规定填写的入河排污口设置申请书2、建设项目依据文件或相关说明材料3、建设项目涉及河道与防洪部分的初步设计方案4、占用河道管理范围内土地情况及该建设项目防御洪涝的设防标准与措施5、说明建设项目对河势变化堤防安全、河道行洪及水质的影响以及拟采取的补救措施6、当入河排污口设置与第三者有利害关系时,第三者的承诺书或其他文件二、办事程序(一)受理申请人按上述规定持全部材料向市365便民服务中心水务窗口提出申请。
水务局收到材料后,对申请事项依法不需要取得行政许可的,即时告知申请人不受理;对申请材料不全或不符合法定形式的,当场或5日内一次告知其补正全部内容;逾期不告知的,自收到申请材料之日起即为受理;对申请材料齐全,符合法定形式的当场受理。
(二)审查、决定受理后,市水务局根据需要,组织现场查勘、专家评审或听证,决定批准或者不批准。
准予批准的许可决定文件或者不准予批准的许可决定文件由水务局(行政审批窗口)送达申请人,对不批准的,应说明理由,告知救济途径。
(三)检查与验收在建设项目开工后市水行政主管部门对建设项目进行定期和不定期的检查,确保其在施工过程中不对堤防造成破坏;在建设项目竣工后,市水行政主管部门参与建设单位组织相关部门对建设项目进行验收,检验其竣工后的排污口与图纸和水行政部门的相关要求符合。
三、承诺时限从受理之日起到办结14个工作日(专家评审、听证时间不计入14个工作日内)。
四、办理地址及窗口办理窗口:义乌市365便民服务中心二楼水务窗口单位地址:义乌市江滨北路279号五、详情咨询电话0579-******** 0579-********第二篇:入河排污口设置资料3.21入河排污口设置相关材料2004年水利部部长汪恕诚签发第22号水利部令,发布《入河排污口监督管理办法》。
1、水利工程占用审批流程图2、河道范围开采地下资源审批流程图3、河道采砂许可流程图4、市管河道管理范围内建设项目审批流程图5、水资源费征收流程图6、扩大取水批准7、取水项目批准8、入河排污口设置审批流程图9、占用流域重点区域防洪规划保留区土地审核流程图10、防洪规划同意书审核流程图11、水利工程开工审批流程图12、农用桥梁及农水配套建筑物的设计施工等流程图13、擅自占用河道行政处罚流程图14、擅自凿井行政处罚流程图15、妨碍行洪的行政处罚流程图16、擅自围垦河道的行政处罚流程图17、破坏水利工程的政处罚流程图18、末经批准擅自占用河道行政处罚流程图19、破坏水利工程设施的行政处罚流程图20、末办采砂许可证行政处罚流程图21、末按照采砂许可证规定的行政处罚流程图22、采砂船离开指定地点的行政处罚流程图23、伪造采砂许可证的行政处罚流程图24、在饮用水保护区内设置排污口的行政处罚流程图25、未经批准擅自新建、改建、扩大排污口的行政处罚流程图26、未经批准擅自取水或者未依照批准的取水许可规定条件取水的行政处罚的流程图27、拒不缴纳、拖延缴纳或者拖欠水资源费的行政处罚流程图28、对在建筑物密集的地区开采浅层地下水用于水温空调的行政处罚流程图29、对混合、串通开采地下水的行政处罚流程图30、在地下水禁止开采区内开凿深井的行政处罚流程图31、对报废、闭置或者施工未成的深井、未采取封填措施行为的行政处罚流程图32、对未安装计量设施或者安装的取水计量设施不正常使用的或者擅自拆除更换取水计量设施行为的行政处罚流程图33、未经批准擅自扩大取水的行政处罚流程图34、未取得取水申请批准文件擅自建设取水工程或者设施的行政处罚流程图35、对取水申请人隐瞒有关情况或者提供虚假材料骗取取水申请批准文件或者取水许可证的行政处罚流程图36、对拒不执行审批机关作出的取水量限制决定或者未经批准擅自转让取水权的行政处罚流程图37、对不按照规定报送年度取水情况;拒不接受监督检查或弄虚作假的;退水水质达不到规定要求的行为之一的行政处罚流程图38、对伪造、涂改、冒用取水申请批准文件、取水许可证的行政处罚流程图39、擅自占用河道搞建设行政强制流程图40、强行拆除饮用水源保护区内设置的排污口的流程图41、强制封填报废、闭置或者施工未成的深井的流程图42、强制拆除或者封闭擅自建设的取水工程或者设施流程图43、河道采砂管理费行政征收流程图44、水士流失防治费行政征收流程图45、水士保持设施补偿费行政征收流程图46、河道堤防占用补偿费行政征收流程图47、水资源费征收流程图48、农业灌溉水源、灌排工程设施补偿费征收流程图49、自备水源污水处理费征收流程图50、水资源的统一管理和监督。
在江河、湖泊、水库、渠道、运河上新建、改建或者扩大排污口设置同意操作规范一、行政审批项目名称、性质(一)名称:在江河、湖泊、水库、渠道、运河上新建、改建或者扩大排污口设置同意(二)性质:行政许可二、设定依据《中华人民共和国水法》第三十四条:在江河、湖泊新建、改建或者扩大排污口,应当经过有管辖权的水行政主管部门或者流域管理机构同意,由环境保护行政主管部门负责对该建设项目的环境影响报告书进行审批。
三、实施权限和实施主体《中华人民共和国水法》第三十四条:在江河、湖泊新建、改建或者扩大排污口,应当经过有管辖权的水行政主管部门或者流域管理机构同意,由环境保护行政主管部门负责对该建设项目的环境影响报告书进行审批。
(一)流域管理机构负责审批的项目:1.依法应当由流域管理机构办理河道管理范围内建设项目审查手续的项目;2.不需要办理河道管理范围内建设项目审查手续的,但由流域管理机构办理取水许可审查的项目;3.不需要办理河道管理范围内建设项目审查和取水许可审查的,但是按规定需要编制环境影响报告书(表),其环境影响报告书(表)需要报国务院环境保护行政主管部门审批的项目。
(二)自治区水利厅负责审批的项目:1.依法应当办理河道管理范围内建设项目审查手续的,按照河道管理范围内建设项目管理权限属自治区水利厅审批的项目;2.不需要办理河道管理范围内建设项目审查手续,但按照取水许可分级审批权限属自治区水利厅审批的项目;3.不需要办理河道管理范围内建设项目审查和取水许可审查,但按环境影响报告书(表)审批权限属自治区环境保护部门审批的项目。
(三)市水行政主管部门负责审批的项目:1. 城市及县城污水、生活垃圾处理设施入河排污口设置同意审批;2.依法应当办理河道管理范围内建设项目审查手续的,按照河道管理范围内建设项目管理权限属市水行政主管部门审批的项目;3.不需要办理河道管理范围内建设项目审查手续,但按照取水许可分级审批权限属市水行政主管部门审批的项目;4.不需要办理河道管理范围内建设项目审查和取水许可审查,但按环境影响报告书(表)审批权限属市水行政主管部门审批的项目。
审批操作规程及审批流程图附件:审批操作规程及审批流程图一、修建跨河、拦河、过河、临河建筑物( 一) 审批操作规程1、审批依据:( 1) 《中华人民共和国水法》第十九条: 修建闸坝、桥梁、码头和其它拦河、跨河、临河建筑物, 铺设跨河管道、电缆, 必须符合国家规定的防洪标准、通航标准和其它有关的技术要求。
( 2) 《中华人民共和国航道管理条例》第十四条: 修建与通航有关的设施或者治理河道、引水灌溉, 必须符合国家规定的通航标准和技术要求并应当事先征求交通主管部门的意见。
违反前款规定, 中断或者恶化通航条件的, 由建设单位或者个人赔偿损失, 并在规定期限内负责恢复通航。
第十五条: 在通航河流上建设永久拦河闸坝, 建设单位。
必须按照设计和施工方案, 同时建设适当规模的过船、过木、过鱼建筑物, 并解决施工期问的船舶、排通航问题。
过船、过木、过鱼建筑物的建设费用, 由建设单位承担。
在不通航河流或者人工渠道上建设闸坝后能够通航的, 建设单位应当同时建设适当规模的过船建筑物; 不能同时建设的, 应当预留建设过船建筑物的位置。
过船建筑物的建设费用, 除国家另有规定外, 应当由交通部门承担。
过船、过木、过鱼建筑物的设计任务书、设计文件和施工方案, 必须取得交通、林业、渔业主管部门的同意。
( 3) 《广东省航道管理条例》第十三条: 在通航水域修建跨河、拦河、过河、临河建筑物, 必须符合国家规定的通航标准和航道发展规划, 建设单位和个人应征得航道部门同意后, 方可办理其它报批、报建手续。
2、审批内容:在通航河流上修建跨河、拦河、过河、临河建筑物通航标准等有关技术要求。
3、审批条件:( 1) 符合水资源综合利用的原则。
( 2) 符合航道技术等级和航道发展规划要求。
( 3) 符合《内河通航标准》的技术规范要求。
( 4) 符合《内河航道维护技术规范》的技术规范要求。
( 5) 符合《航道整治工程技术规范》的技术规范要求。
( 6) 符合《内河助航标志》的技术规范要求。
5 入河排污口设置申请及审批5.1 设置申请及审批程序入河排污口设置申请及审批工作程序应包括申请、审核、审查、决定和验收。
工作程序见图2。
5.2 入河排污口设置申请5.2.1 入河排污口设置申请单位在设置入河排污口之前应向入河排污口管理单位提出书面申请,经入河排污口管理单位同意批准后方可设置入河排污口。
5.2.2入河排污口设置申请单位提交的申请材料应包括:1) 入河排污口设置申请书。
2) 建设项目依据文件。
3) 入河排污口设置论证报告(或简要分析材料)。
4) 其他应当提交的有关文件,主要包括对有利害关系第三方的承诺书等。
5.2.3入河排污口管理单位负责提供水利部统一规定的“入河排污口设置申请书”(申请书样式见附录B),申请单位应按照申请表的“填写说明”规范填写。
5.2.4入河排污口设置申请书主要内容包括:1) 申请单位的基本情况,包括法人代表、详细地址、单位性质以及取用水量等。
2)入河排污口的设置基本资料,包括排污口设置类型、排污口分类、排放方式、入河方式以及排污口位置等。
3) 入河排污量,主要包括设计排污能力、年排放废污水总量和主要污染物排放浓度及排放总量等。
4) 入河排污口的平面位置示意图(采用AUTO-CAD软件绘制)。
5) 申请理由,重点简述入河排污口设置的可行性、重要性和合理性。
6) 审核意见,审核意见要突出重点,简明扼要。
5.2.5设置入河排污口对水功能区影响明显轻微的,可只提交设置入河排污口对水功能区影响的简要分析材料。
简要分析材料应包括以下内容:1) 项目概况:排污单位废污水产生环节、入河排污量、主要污染物种类、浓度和总量、达标排放情况以及排放去向等。
2) 入河排污口设置方案:包括入河排污口设置地点、排污方式和入河排污口门的设置情况。
3) 对受纳水体的水功能区影响分析。
4) 结论。
5.2.6入河排污口设置有以下影响之一的,入河排污口管理单位应要求入河排污口设置申请单位编制入河排污口设置论证报告。
附件3市水利局行政职权运行流程图一、行政许可类 1.河道管理范围内建设项目工程建设方案审批流程图行政事项服务科接收行政许可申请材料 受 理收到申请材料之日起,市水利局5日内决定是否受理不属于许可范畴或不属于本机关职权范围的,不予受理,并向申请人出具加盖本行政机关专用印章和注明日期的书面凭证 申请材料齐全、符合法定形式,或者申请人按照本行政机关的要求提交全部补正申请材料的,予以受理,并向申请人出具加盖本行政机关专用印章和注明日期的书面凭证。
虽然申请材料不齐全或不符合法定形式,但自接收材料5日内不告知申请人补正材料的,自收到申请材料之日起即为受理。
申请材料不齐全或不符合法定形式的,应当当场或者在5日内一次告知申请人需要补正的全部内容 申请人提交的申请材料齐全,符合法定形式,行政机关能够当场作出决定的,应当当场作出书面的行政许可决定有依法应当听证的事项或行政机关认为需要听证的事项,告知申请人、利害关系人享有要求听证的权利 行政事项服务科送达行政许可申请人(10日内完成) 行政事项服务科核查(两名以上行政执法人员进行) 不申请听证 决 定市水利局作出决定(1日内完成)行政许可事项直接关系他人重大利益,申请人和利害关系人有陈述和申辩权的,告知陈述申辩权听取申请人和利害关系人的陈述申辩意见申请听证 准予许可 不准予许可行政事项服务科结案(立卷归档)1.技术审查(12日内完成) 2.现场查勘(1日内完成) 组织听证 制作听证笔录备注:流程图所指的“日”均为工作日。
听证和专家评审所需时间不计算在承诺期限内。
审 查行政事项服务科审查(12日内完成)申 请申请人提出行政许可申请2. 生产建设项目水土保持方案审批流程图行政事项服务科接收行政许可申请材料 受 理收到申请材料之日起,市水利局5日内决定是否受理不属于许可范畴或不属于本机关职权范围的,不予受理,并向申请人出具加盖本行政机关专用印章和注明日期的书面凭证 申请材料齐全、符合法定形式,或者申请人按照本行政机关的要求提交全部补正申请材料的,予以受理,并向申请人出具加盖本行政机关专用印章和注明日期的书面凭证。
入河排污口设置同意服务指南一、适用范围涉及的内容:适用对象:个人法人其他组织二、事项审查类型前审后批三、审批依据(一)《中华人民共和国水法》第三十四条:禁止在饮用水水源保护区内设置排污口。
在江河、湖泊新建、改建或者扩大排污口,应当经过有管辖权的水行政主管部门或者流域管理机构同意,由环境保护行政主管部门负责对该建设项目的环境影响报告书进行审批。
(二)《中华人民共和国水污染防治法》第十七条:新建、改建、扩建直接或者间接向水体排放污染物的建设项目和其他水上设施,应当依法进行环境影响评价。
建设单位在江河、湖泊新建、改建、扩建排污口的,应当取得水行政主管部门或者流域管理机构同意;涉及通航、渔业水域的,环境保护主管部门在审批环境影响评价文件时,应当征求交通、渔业主管部门的意见。
(三)《入河排污口监督管理办法》第六条:设置入河排污口的单位(下称排污单位),应当在向环境保护行政主管部门报送建设项目环境影响报告书(表)之前,向有管辖权的县级以上地方人民政府水行政主管部门或者流域管理机构提出入河排污口设置申请。
依法需要办理河道管理范围内建设项目审查手续或者取水许可审批手续的,排污单位应当根据具体要求,分别在提出河道管理范围内建设项目申请或者取水许可申请的同时,提出入河排污口设置申请。
依法不需要编制环境影响报告书(表)以及依法不需要办理河道管理范围内建设项目审查手续和取水许可手续的,排污单位应当在设置入河排污口前,向有管辖权的县级以上地方人民政府水行政主管部门或者流域管理机构提出入河排污口设置申请。
四、受理机构杭州市滨江区林业水利局五、决定机构杭州市滨江区林业水利局六、数量限制无数量限制七、申请条件(一)符合国家和省有关产业政策,符合流域或区域的综合规划和水资源保护等相关规划;(二)符合水功能区划和管理要求,污水排放符合国家和省规定的排放标准;(三)入河排污口设置与第三者有利害关系的,已有第三者承诺书或协议、纪要等其他相关文件。
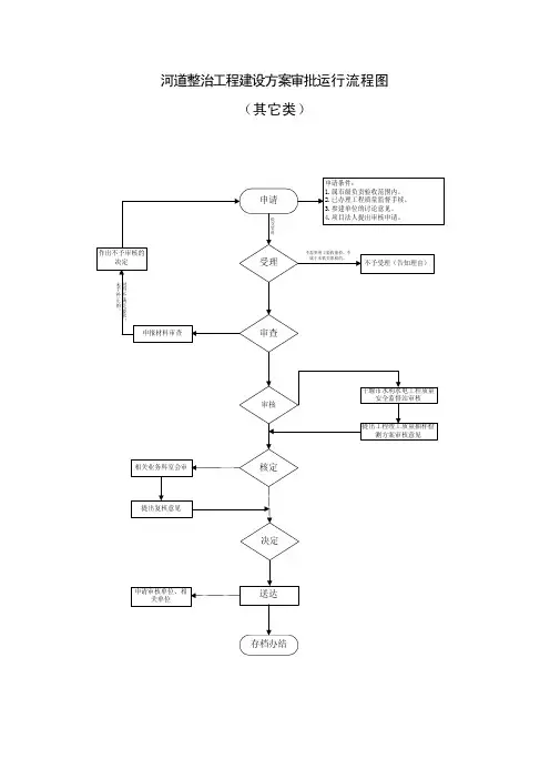
河道整治工程建设方案审批运行流程图
(其它类)
申请
申请条件:
1.属市级负责验收范围内。
2.已办理工程质量监督手续。
3.参建单位的讨论意见。
4.项目法人提出审核申请。
受理
审查
审核
核定
不予受理(告知理由)
作出不予审核的
决定
申报材料审查
送达
存档办结
不需要竣工验收抽检、不属于本机关职权的。
提交资料
材料不满足要求,
未予补正的。
十堰市水利水电工程质量
安全监督站审核
提出工程竣工质量抽样检
测方案审核意见
相关业务科室会审
提出复核意见
决定
申请审核单位、相
关单位。