博士后申请及进出站流程图
- 格式:doc
- 大小:23.00 KB
- 文档页数:1
博士后进站申请流程凡申请到我校做博士后研究的人员,需首先仔细阅读《中国XX大学2017-2018学年春季学期博士后招收工作通知》(详见中国XX大学博士后网站通知公告栏)的有关规定,如有疑问,请首先与相关学院(系)联系。
博士后进站申请需要通过网上申请,请首先在中国博士后网页注册:http://XX/V3/Manage/Login.aspx并在上述系统中填写相关信息(请务必完整填写所有信息),按网上提示打印出所需的表格,交至相关院系,等待进一步审核。
具体程序如下:1、申请者登录全国博士后交互式网上办公系统,在“办事者进入”栏中注册个人用户,网址:http://XX/V3/Manage/Login.aspx2、博士后申请人从“办事者进入”登录,填写相关信息(请完整填写所有信息),并按网上提示打印出所有表格。
具体步骤如下:(1)以办事者身份进行注册(注册的用户名及密码限博士后进站申请及出站申请时使用);(2)注册成功后,重新用注册名和密码进入,选择“流动站招收博士后进站申请” (留学博士需选择“留学人员博士后进站申请”)填写、提交申请信息;(3)申请者根据提示进入“新申请”,确定提交后及时“查看审批结果”,如被驳回,请及时进入“未完成申请”修改并再次提交;(4)申请进入中国XX大学流动站做博士后的应选择“流动站”进入,选择中国XX大学->学院(系所中心)->流动站(一级学科);(5)认真录入个人数据(必须完整录入所有信息),在数据录入完整后系统可以自动生成表格,申请者直接打印即可,包括《博士后申请表》、《专家推荐信》(如生成不了该项,请在附件4中查找模板)、《单位学术部门考核意见表》和《博士后进站审核表》。
(注意!请注明是否需转户口)(6)将所有书面材料(一式三份,材料清单见附录)报流动站所在学院。
(注意:初期遴选阶段,部分应届博士生拿不到博士学位、学历证书或答辩决议,此时如须上传上述材料,可先用硕士证书等材料代替,以便提交和打印相关材料,之后通过遴选正式进站时,可再将拿到的博士证明材料重新上传)3、院系对博士后申请人组织学院遴选(专家组成员一般为不少于6位),对通过学院遴选的申请人,需在网上进行审批、提交到学校,同时需组织博士后到校医院参加体检,并将所有书面材料(交原件一份、复印件一份,学院自留一份复印件备案)报送学校人才办。
博士后工作流程图博士后工作流程图说明.博士后申请条件:()在国内外获得或即将获得博士学位(已通过博士学位答辩),品学兼优,身体健康,年龄在周岁以下。
()我校培养的博士不得申请在校内同一个一级学科的流动站从事博士后研究工作。
.学院组织面试考核要求:()参加面试考核的专家组应不少于人;()采取无记名、定量打分的方式投票表决;()面试须提前通知人事处;()面试考核投票表决原始材料由学院存档保存。
.进站报人事处审批时所应该提供的材料:()《博士后申请表》一式四份(此申请表为网上申请后的打印版本);()《博士后科研流动站设站单位学术部门考核意见表》一式四份;()《博士后进站审核表》一式四份;()《湖北省申请进站做博士后考核表》一式四份;()留学回国人员提供《国(境)外学历学位认证书》或《中外合作办学国(境)外学历学位认证书》(一式四份)(外籍人员提供中国驻外使领馆出具的学位认证);()博士毕业证书、学位证书复印件各一式四份(博士毕业个月内人员可先提供学校或单位学位主管部门出具的同意授予博士学位证明办理进站);()申请者本人身份证一式四份;()若已婚已育,则须提供结婚证等材料复印件各一式四份;()近期(个月以内)华中农业大学校医院体检表一份(按照教职工体检标准),外地医院体检无效(提前到人事处开具体检单);()需要调档、迁户口过来的应届统招统分博士,还需要在人事处博后办填写《户口迁移登记表》。
以上材料第-项表格均为网上系统打印,第项在人事处博士后管理办公室下载专区下载,第-项材料须按照上述顺序装订成册,共计四册,第项体检表不装订入册,直接交人事处博士后管理办公室。
.来学校报到要求()从人事处博后办领取《博士后进站程序单》,办理报到手续;()由博士后本人在人事处博后办签订协议;()在人事处博后办开具调档函,调档后方可起薪;.开题要求:()博士后在进站后的一个月以内完成《湖北省博士后研究人员开题考核表》的撰写、专家审议和修改、完善方案等工作;()由~名专家组成小组进行审议;()博士后合作指导教师签名、学院领导在《湖北省博士后研究人员开题考核表》签字(盖章);()《湖北省博士后研究人员开题考核表》一式四份报送人事处。
博士后进站申请流程备注:一、《南京师范大学博士后进站申请表》、《南京师范大学学术联系导师招收博士后记录表》在博士后流动站网页的资料下载栏目中。
二、网上申报下载材料包括:一、博士后申请表(须申请人签名);2、博士后科研流动站设站单位学术部门考核意见表(须所申请流动站负责人签字、盖章);3、博士后进站审核表(须申请者档案所属单位人事部门盖章。
统招统分博士毕业生由学籍治理部门或就业指导中心盖章)。
4、与博士后工作站(企业)联合培育的博士后还须提交:;南京师范大学与企业联合培育博士后协议书(南京师范大学博士后流动站网页下载)五、需办理户口迁移的,迁入地址为:南京市宁海路122号,所属派出所:南京市华侨路派出所。
三、此表需归入人事档案,请用A4纸双面打印此表,左侧要留出2.5公分的装订线。
外籍博士进站流程:为增进国际间学术交流,我校具有条件的流动站可接收个别优秀的外国籍博士进站做博士后。
(1)外国籍博士申请到我校做博士后,应与流动站所在院(系)书面商定好进站后的科研要求、工作条件与生活待遇等事项。
填写《南京师范大学博士后进站申请表》、《南京师范大学博士后学术联系导师招收记录表》,经学校审核同意后,发放拟录用通知书。
(2)申请人持拟录用通知书到学校国际合作与交流处办理来华工作许可手续。
同时至其博士毕业学校所在国的中国大使馆开具博士学位认证书。
来华工作许可手续完备后,至中国博士后网站以真实的姓名注册,提交进站申请。
(具体程序参见我校博士后进出站流程)(3)外国籍博士后在站期间享受国内全职博士后一样待遇。
其来回旅费、探亲、旅行、医疗保健和意外保险等费用自行负责。
外国籍博士后配偶可随行,我校不负责解决其工作问题。
(4)外国籍博士后必需遵守我国的法律和学校的有关规章制度,其出入境手续按国家有关规定办理。
外国籍博士后的治理参照国内博士后的治理方法执行。
博士后出站申请流程备注:一、网上申报下载材料包括:1、博士后研究人员工作期满记录表(本人签名)2、博士后研究人员工作期满业务考核表(由所在流动站填写)3、博士后研究人员工作期满审批表(须所在流动站负责人签字盖章)4、博士后研究人员出站从头分派工作的须递交同意单位人事部门的同意函二、此表需归入人事档案,请用A4纸双面打印此表,左侧要留出2.5公分的装订线。
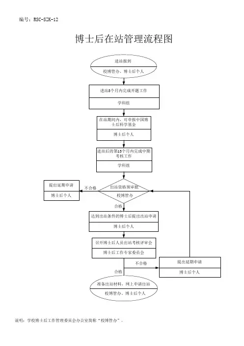
清华大学博士后办理出站程序一、出站前需做工作:1.领取离校通知单。
校博管办于博士后出站前两个月将离校通知单发至博士后所在院系博士后管理老师处,由该老师转交博士后合作导师(以便合作导师提前安排好博士后的科研工作),再由合作导师转交给博士后本人。
2.填写出站采集信息。
出站评审前1-2周(也可提前进行)登陆信息门户.cn/(“体验新门户”)“综合”—“人事”-“人事管理”—“博士后信息采集”,填写出站采集信息并提交,由校博管办审核。
(审核通过后方可打印相关出站材料)3.准备出站报告,进行出站科研评审。
对两年来的科研工作进行总结,写出博士后研究报告(参考材料见清华大学信息门户.cn/“办公指南”-“表格下载”-“人事表格下载”-“博士后管理”-“5.3出站博士后研究报告撰写参考材料”),于评审会前交专家评审(评审会程序详见“5.2出站期满出站科研工作评审办法、评审程序”)。
打印、下载《清华大学博士后期满出站科研工作评审表》以备评审会使用,登陆信息门户/“人事网上办公”-“人事信息采集”-“博士后信息采集”打印评审表第一部分,从/“办公指南”-“表格下载”-“人事表格下载”-“博士后管理”-“5.1”中下载评审表第二部分。
4.准备其他出站材料。
登陆信息门户/“人事网上办公”-“人事信息采集”-“博士后信息采集”,打印《博士后研究人员工作期满登记表》,并到/“办公指南”-“表格下载”-“人事表格下载”-“博士后管理”-“5.1”中下载并填写下列表格:①博士后研究人员工作期满业务考核表;②博士后研究人员工作期满审批表;③博士后研究人员接收单位意见表;④流动站鉴定意见表填写注意事项如下:(1)《博士后研究人员工作期满业务考核表》由博士后所在研究所(室)负责人填写。
(2)《博士后研究人员工作期满审批表》第一栏由博士后所在院系流动站负责人填写,并加盖院系公章。
第二栏“流动站设站单位博士后主管部门”处由校博管办填写。
在职博士后进站流程一、找到合适的博士后科研流动站。
这就像是找对象,得看对眼才行呢。
你得先在众多的科研流动站里,根据自己的研究方向、兴趣爱好,还有未来的职业规划啥的,挑出那个最适合你的。
比如说你是搞生物研究的,那肯定得找生物相关领域很厉害的流动站呀。
你可以通过各种渠道去了解这些流动站,像问自己的导师呀,他们经验丰富,肯定能给你指条明路;还有在学术圈里打听打听,看看哪个流动站口碑好,成果多。
这一步可重要啦,就像盖房子打地基一样,地基打得好,后面的事儿才顺呢。
二、联系合作导师。
挑好了流动站,接下来就是联系导师啦。
这个时候你得鼓起勇气,就像去追求自己心仪的人一样。
你可以给导师发邮件,在邮件里简单介绍下自己的情况,比如说你之前做过哪些研究呀,取得了什么成果呀,为啥对他的研究方向感兴趣之类的。
邮件的语气要诚恳、礼貌,可不能太随便哦。
要是导师回复你了,不管是同意还是不同意,都要很有礼貌地回应。
要是同意了,那可太棒啦,就像中了小彩票一样呢。
如果不同意,也别灰心,也许下一个导师就是你的“真命天子”呢。
三、准备进站申请材料。
这一步就像是去参加一场很重要的考试,要准备好多东西呢。
一般来说,你得准备好自己的简历,这个简历要把自己的教育背景、工作经历、研究成果都写清楚,越详细越好。
还有博士学位证书,这可是你的“入场券”之一呢。
然后就是科研计划书啦,这个计划书得写得特别棒,要把你进站之后打算做的研究内容、研究方法、预期成果啥的都写清楚。
你可以把它想象成是你给未来的自己画的一幅蓝图,要让导师和评审专家看了就觉得,这个计划好酷,这个博士后肯定能做出很厉害的东西。
另外,可能还需要推荐信,找那些熟悉你、认可你的人来写,这样的推荐信才更有分量嘛。
四、提交进站申请。
东西都准备好了,就可以提交进站申请啦。
这个时候要仔细检查自己的材料有没有问题,可别因为一点小马虎就被打回来重新弄,那多麻烦呀。
提交申请之后呢,就像是把自己精心准备的礼物送给了别人,然后就开始满心期待地等着结果啦。
博士后出站申请一、出站申请流程1 博士后研究人员工作期满,应向设站单位提交工作总结、研究报告等书面材料。
须送交一份研究报告给国家图书馆存流。
2 设站单位接到博士后研究人员的出站申请后,应当组织有关专家对其研究工作进行评审,并形成书面材料归入其个人档案。
3 经设站单位审核允许出站的,还须报经全国博管办或有关省(市)博士后工作主管部门审核备案,并由全国博管办或有关省(市)博士后工作主管部门出具如下材料a. 全国博管办或有关省(市)博士后工作主管部门签批的《博士后研究人员工作期满分配工作审批表》;b. 《博士后研究人员分配工作介绍信》(出站后不能自主择业的博士后研究人员不适用);c. 博士后研究人员及其配偶、未成年子女落户介绍信和调动人员情况登记表(出站后不能自主择业的博士后研究人员或配偶为现役军人、在读的大、中专学生、本科生、研究生、出国人员均不适用);d. 《配偶档案调动介绍信》。
适用于分配在北京地区工作,档案需存放在全国人才流动中心的博士后配偶;e. 《博士后证书》。
对考核合格的出站博士后研究人员,颁发由人事部、全国博士后管委会统一印制、编号和盖章的《博士后证书》。
二、办理出站手续需要的材料1、办理出站手续需要的基本材料《博士后研究人员工作期满登记表》。
《博士后研究人员工作期满分配工作审批表》;《接受函》,由具备独立人事权限的接受单位出具;设站单位对博士后身份证、结婚证和子女出生证(或独生子女证)进行核查并由单位出具相关证明;已完成出站报告2、出站需提供的其他特殊材料:攻读博士学位期间为委托代培、定向培养和以在职人员身份做博士后的人员进站时未提供有关单位写明“出站后可自主选择工作”材料的,出站后如自主选择工作,必须出具委托代培、定向培养和原工作单位人事部门同意其自主选择工作的证明;现役军人博士后转业到地方工作,需出具军人转业(复员)证明,或军队师以上干部部门同意转业的证明,或解放军总政治部干部部的转业(复员)批函;办理落户手续还需到国务院军转办公室开具介绍信。
博士后进站申请流程1.研究方向确定:博士后进站申请前,首先需要确定自己的研究方向,了解有哪些研究组织或机构在该方向上有相关的研究项目或合作机会。
2.寻找合适的导师:根据自己的研究方向,寻找合适的导师。
可以通过学术会议、期刊论文、学术圈子等途径获取导师的相关信息,并与导师进行沟通,了解他们是否有招收博士后研究人员的意愿。
3.准备材料:根据研究组织或机构的要求,准备申请材料。
通常包括个人简历、学术经历、研究计划、推荐信等。
4.申请材料提交:将准备好的申请材料提交给研究组织或机构。
一般可以通过邮件或在线系统提交申请。
5.审核和评估:提交的申请材料会经过研究组织或机构的审核和评估。
评估的内容可能包括申请人的学术背景、研究计划的可行性、导师的评价等。
6.面试:通过初步评估的申请人可能会被邀请参加面试。
面试通常会与导师进行,目的是了解申请人的研究能力、沟通能力等。
7.录取和合同签订:经过面试后,成功通过申请的申请人会收到录取通知。
双方将进行讨论,并签订相关的协议或合同,明确双方的权益和义务等。
8.入站:签订合同后,申请人按照约定的时间入站,正式开始博士后研究工作。
入站时,需要办理相关手续,例如签署工资合同、办理住宿手续等。
9.开展研究工作:入站后,博士后研究人员将按照研究计划,积极开展研究工作。
期间,可能会有学术讨论、研讨会、学术交流等机会,博士后研究人员可以利用这些机会与其他研究人员进行学术交流和合作。
10.结题和离站:在规定的时间内完成研究任务后,博士后研究人员需要按照规定提交结题报告,并完成相关的结项手续。
完成后,可以办理离站手续,结束博士后研究。
总结起来,博士后进站申请流程包括确定研究方向、寻找导师、准备材料、提交申请、审核和评估、面试、录取和合同签订、入站、开展研究、结题和离站等步骤。
这个流程可能会因研究组织或机构的实际情况而有所不同,申请人需要根据具体的情况进行调整和准备。
1.应聘者对照博士后招收条件,联系合作导师;
2.将个人简历发送至合作导师邮箱,邮件主题请注明〃应聘博士后+本人姓名+申请的流动站〃;
3与合作导师达成初步招收意向后,向所在学科流动站提交进站申请;
4.所在学科流动站初审通过后,将有关材料报学校博士后流动站管理中心审批。
博士后应聘者需报送以下纸质材料(1份原件1份复印件):
(1)《博士后研究人员进站审核表》(2019新版);
(2)《山西大学博士后进站申请表》;
(3)专家推荐信(两位专家);
(4)身份证、护照(外籍人员)、港澳台人员提供该地区身份证;
(5)《博士学位证书》;
(6)代表性学术成果。
博士后完成出站答辩后将以下材料纸质版交至博士后管理办公室:
1《山西大学博士后出站考核表》一式2份、博士后研究工作报告一式3份、博士后基金总结报告1份(获资助人员);
2、以上材料审核无误后,申请出站人员将《博士后研究人员工作期满审核表》(一式2份)及以上材料提交至博士后流动站管理中心审核,审核通过后登录中国博士后网网上办公系统按要求提交出站申请;
3、设站单位、国家博管办依次对网上提交材料进行审核,审核通过后,博士后上网自行打印博士后证书。
华南理工大学学院人事工作秘书办理博士后工作流程图示(除节假日外,常年办理)一、Ⅰ类、Ⅱ类博士后管理及流程二、Ⅲ类博士后管理及流程三、工作站(基地)博士后管理及流程注:1.对流动站招收的Ⅰ、Ⅱ、Ⅲ博士后,进站后的工作、出勤、福利等应按单位在职员工管理规定管理,进站11-12个月要年度考核,聘期满要进行期满考核,人事秘书为博士后考核表格签字盖章。
2.工作站(基地)博士后的工作地点、工作任务、考核、管理、待遇均由招收博士后的企业负责,学校、学院只为其办理进站、开题、中期和期满考核、出站、各类基金申请等手续,并在相关表格上签字盖章等手续。
四、博士后进站材料审核及工作内容(一)流动站博士后进站材料1.《合作导师招收申请表》:合作导师填写内容是否属实、完整并签字,加盖学院院长签字章及学院公章,签署日期2.《博士后申请表》:博士后是否签名及日期3.《研究计划》:任务目标是否符合学校各类博士后出站考核指标要求(请参阅《华南理工大学博士后队伍建设改革实施意见》(华南工【2018】10号)),博士后、合作导师是否签名及日期4.《学术部门考核意见表》:合作导师是否签名及日期,加盖学院院长签字章及学院公章,签署日期5.《进站审核表》:是否加盖了申请人身份证明的单位公章,或是否提供了单独的证明材料,比如辞职证明、辞职书、脱产证明等6.《计划生育证明》:不迁移户口的可以不提供,迁户口到华工的必须提交,检查后面一个计生部门的公章是否是计生办公章7.《外国人体格检查记录》:外国人必须提供此表,且检查项目齐全最后,根据《中国籍人员申请流动站博士后进站材料清单及说明》、《外籍(含港澳台)人员申请流动站博士后进站材料清单及说明》审核是否材料齐全、完整,不齐的,请申请人按本说明补齐所缺材料后再次提交;审核、盖章完毕后,请申请人将所有材料提交博管办。
对申请者提供的学位证、身份证、结婚证等附件证明材料进行审核,在审核过的附件上签署或加盖“原件相符”字样并签名加盖学院公章(二)工作站(基地)博士后进站材料1.《合作导师招收申请表》:合作导师填写内容是否属实、完整并签字,加盖学院院长签字章及学院公章,签署日期2.《博士后申请表》:博士后是否签名及日期3.《研究计划》:博士后、合作导师是否签名及日期4.《学术部门考核意见表》:合作导师是否签名及日期,加盖学院院长签字章及学院公章,签署日期(三)流动站博士后及工作站(基地)博士后报到材料1.博士后持聘用通知书到学院报到:参照学校教工管理办理人员注册登记、组织关系迁入注册2.工作站(基地)博士后持《进站通知书》到学院报到:参照学校教工管理办理人员注册登记(四)流动站博士后在站管理1.参照学校年薪制教工党费收缴2.参照学校、学院教工管理,传达学院及学校公务、事务等通知博士后参加学校、学院会议等活动和事务3.博士后进站后1-2个月、11-12个月、21-24个月、24-36个月时,在博士后提交开题报告、中期考核、期满考核后报学院院长组织开题报告会、中期考核、期满出站考核等事务并将收到的开题报告、中期考核表、期满考核表签字盖章后,请博士后提交到博管办4.博士后开题报告要由院长确定3或5名学院学术委员会专家(含合作导师,但不能担任组长)、中期考核及期满考核由院长确定5或7名学院学术委员会(含合作导师,但不能担任组长)进行,答辩专家费由博士后或合作导师承担,标准自定(五)工作站(基地)博士后在站管理在博士后提交的考核材料相应位置履行学院签字盖章手续(六)流动站博士后出站材料审核1.《博士后研究人员工作期满登记表》:审核博士后是否签字及日期2.《博士后研究人员工作期满业务考核表》:不需要盖章3.《博士后研究人员工作期满审批表》:第一栏“流动站审核意见”加盖学院院长签字章及学院公章4.《单位接收函》:审核是否是人事处、人社局、组织部、公司人力资源部、人才市场、部队师级以上干部部等公章,不是此列单位盖章的,请博士后按填表说明提交符合要求的接收函5.《出站报告会记录》:审核该表专家签字及日期等6.《出站报告会表决票》:审核票数及结果是否与《出站报告会记录》一致7.《博士后聘期考核表》:审核填写内容及博士后、合作导师、考核专家组签字、日期和考核意见,然后加盖学院院长签字章、公章及日期8.《出站报告》:是否为2份,并要求博士后将《出站报告》1份纸质版及优盘电子版交到图书馆信息管理部9.《离校手续通知单》:办理学院财务及材料交接、党费清缴及党组织关系迁出、盖章签字等手续最后,根据《流动站博士后出站指南》审核是否材料齐全、完整,不齐的,请申请人按本说明补齐所缺材料后再次提交。
申请博士后流程
申请博士后流程:
通过申请人登录AA博士后网提交申请,同时将书面申请材料交软件所研究生部合作导师审阅申请材料申请人与
合作导师沟通研究生部进行申请资格审查申请人补充申请
材料(进站研究计划、体检表等)1、《博士后申请表》2、专家推荐信3、学位证书复印件或答辩决议(应届生)4、身份证复印件5、《博士后进站审核表》6、统招统分证明(应届生)7、单位同意脱产作博士后的证明(在职人员)合作导师会同部门培养指导小组组织考核1、考核小组由3位副研以上的专家组成。
2、填写《软件所博士后进站考核情况表》
通过同意研究生部发通知书,申请人入站,办入站手续、签工作协议。
所主管部门审批,网上提交审核意见全国博管办审批,签发批件所学术部门审核签字填写《博士后科研流动站设站单位学术部门考核意见表》1、办入站手续(户口、园区一卡通、工资卡等)2、与合作导师及研究部签署工作协议。
1、通过博士后系统预约时间;
2、持申请材料(一式3份)到博管办办理审批手续。
1。