路基及石方爆破施工工艺框图
- 格式:doc
- 大小:31.00 KB
- 文档页数:1
主要分项工程施工工艺框图框图目录:(1)土石方开挖施工工艺框图(2)石方爆破(包括光面爆破和安全措施)工艺框图(3)高边坡开挖施工工艺框图(4)路基填筑施工(包括填石填筑)工艺框图(5)排水工程(雨污水管)施工工艺框图(6)涵洞工程施工工艺框图(7)基层施工工艺框图(8)沥青砼路面工程工艺框图(9)交通标线工艺框图爆破法包括:⑴炮眼法:当使用多排排炮爆破时,炮眼应按梅花形布置,炮排的间距为0.86a,为炮孔深度的1/3~1/2,最大不得超过2/3,松动爆破时为1/3~1/4。
⑵药壶法(葫芦炮):是将炮孔底部扩大成葫芦形,将炸药集中于底部以提高爆破效果。
适用于致密粘土(硬土)、次坚石,坚石。
对于炮眼深度小于2.5米,节理、地下水发育的岩石或雨季部适用。
炮眼深度一般取5~7米,药室距边坡线的距离不能小于最小抵抗线。
装药量:Q=K×W³。
⑶猫洞法:是将集中药包直接放入直径为0.2~0.5m、炮眼深度2~6m的水平或略有倾斜的炮室中爆破。
适用于硬土、胶结良好的古河床、冰渍层、软石和节理发育的次坚石,坚石可利用裂隙修成的药室,对大孤石、独岩爆破效果更佳。
装药量:Q=KW³×f(i)×d。
⑷控制爆破法:光面爆破和预裂爆破光面爆破和预裂爆破是针对设计开挖界面进行有效控制的爆破方法。
沿爆破开挖区的设计轮廓或边坡,以较小的间距合理布置一排相互平行的钻孔,在孔内采用间歇或不耦合装药,在开挖区主爆破之后或之前同时起爆,从而获得符合设计轮廓、光滑平整和稳定性好的边坡面。
光面爆破和预裂爆破在技术上采用洞室控制爆破方法,其核心是药包布置原则。
⑸深孔爆破法深孔爆破是炮孔孔径大于75mm且深度在5m以上的采用延长药包的一种爆破方法,通常有拉槽深孔爆破和台阶深孔爆破两种。
炮孔用大型的潜孔凿岩机或穿孔机钻孔。
采用潜孔钻机垂直钻孔,钻孔直径d=100mm。
①底盘抵抗线W底,在实际施工时根据现场情况确定。
1、石方爆破方案本合同段开挖断面有两种典型断面,即半填半挖断面的开挖和全挖断面的开挖。
对软石、强风化石尽量采用机械直接开挖,对不能使用机械开挖的石方,则用爆破法开挖。
①爆破总体方案根据不同施工断面及岩性情况,并充分考虑施工工效及施工安全,制定出爆破总体方案见表1。
表1 石方爆破开挖施工方案表②半填半挖开挖方案半填半挖横断面开挖根据工作面情况,采用如下两种作业方案:A、分层横向台阶控爆法分层横向台阶控爆法适用于挖方较窄处,且对飞石要求严格控制地段。
B、分层纵向台阶爆破法分层纵向台阶爆破法适合于地势较平缓路段。
③深挖路堑开挖方案对于深挖路基的石方爆破,首先沿预定路基外侧向前形成一槽式堑沟,然后再爆破剩余部分,既所谓“留靴”爆破,以阻止路基上部山体爆破岩石向下滚落。
爆破剩余部分岩体时,采用微差控制爆破方式达到控制爆破抛石方向的目的。
④边坡开挖控制爆破为确保边坡的稳定,不产生超挖和欠挖,一般边坡采用光面爆破,节理裂隙较发育地段及某些特殊地段采用预裂爆破。
2、爆破参数设计①台阶浅孔爆破采用手风钻钻孔,孔径d=42mm,台阶高度控制在2.0~3.0m。
装药为延长药包,选择炮眼位置时分析岩性以便控制飞石方向,并为下次爆破创造临空面。
布置的炮眼需根据现场石质硬度、岩石的裂隙分布情况、使用炸药种类、起爆方法及爆破要求等决定。
A、底盘抵抗线W底W底=(0.4~1.0)H 式中H-台阶高度在坚硬难爆的岩体中,或台阶高度H较高时,计算时取较小的系数,暂取0.5,即W底=1.0~1.5m 取W底=1.0mB、超钻深度hh=(0.1~0.15)H 取h=0.2mC、炮孔间距a根据岩石类别及节理发育程度,并根据要求岩石坡碎程度选择炮孔间距:a=(1.0~2.0)W底W底-底盘抵抗线(m)或a=(0.5~1.0)L L-炮孔深度根据上述公式可计算出a=1.0~2.0m或a=1.3~2.4m综合取a=1.2mD、炮孔排距bb=W底=1.0mE、单耗药量qq=0.6~0.7kg/m3F、堵塞长度L1L1=(1/3)LG、单孔装药量Q=q.a.b.H=2.35kg浅孔爆破最终参数由现场爆破试验确定。
1 路基填筑施工工艺框图(见表1)1.1基底处理:清除原地面非适用材料,压实达到规范规定的密实度,处理墓穴、软基1.2填筑、碾压:做好路基填筑试验段施工,取得数据以指导路基全面施工。
推土机、装载机、自卸汽车根据运距远近合理安排填筑,用推土机粗平、平地机细平,振动压路机碾压,碾压过程中要检测填料含水量,适时洒水或晾晒。
1.3质量检测:密实度检测采用核子密度仪配合灌砂法,检测平整度采用3m直尺,标高采用水准仪检测。
2 桥梁钻孔桩施工工艺框图(见表2)2.1施工准备:平整场地,测量放样定桩位,选择钻机型号,安装钻机就位,埋设护筒,挖泥浆池及沉淀池,安装泥浆泵,拌制泥浆。
2.2钻孔:成孔采用粘土泥浆护壁。
在钻进过程中,准确判定并详细记录钻进过程地质变化情况。
2.3验孔、清孔:检测孔位中心偏差、孔深、孔径、钻孔垂直度、孔底沉渣厚度等并做好记录,符合要求后,立即换浆清孔。
2.4下钢筋笼及导管:钢筋笼在钢筋加工场加工成形,在孔口焊接接长。
钢筋笼安放到位并固定在护筒或钻架上,安放导管。
2.5灌注砼:导管下放完成后,及时快速灌注砼,砼在拌和站拌制,由砼输送车或输送泵运至桩位灌注。
2.6质量检测:凿除桩头浮碴,用监理工程师批准的方法检测桩基质量。
4后张法预应力梁预制施工工艺框图(见表5-4)4.1施工准备:“三通一平”修筑梁体底座,机械材料进场,材料取样试验,选配合比,安装拌和站,调试机械。
制作大块整体钢模,整体拼装。
4.2钢筋制作安装:制作钢筋安装钢筋骨架,绑扎、焊接成型,预埋波纹管并固定。
4.3模板支立:先支立侧模,并安装附着式振动器,再安放翼缘钢筋和支立端模。
4.4浇筑砼:待钢筋骨架及模板检查合格后灌注砼。
严格按配合比施工,自动计量拌和站拌合,机动翻斗车运输,龙门吊起吊入模,小直径插入式振动棒和附着式振动器配合捣固。
4.5养护拆模:浇筑完毕,及时清理波纹管孔道,砼强度达到要求后,拆模,以草袋覆盖酒水养护。
4.6穿筋、张拉:梁体砼达到设计张拉强度后,穿钢铰线,采用两端双控张拉。
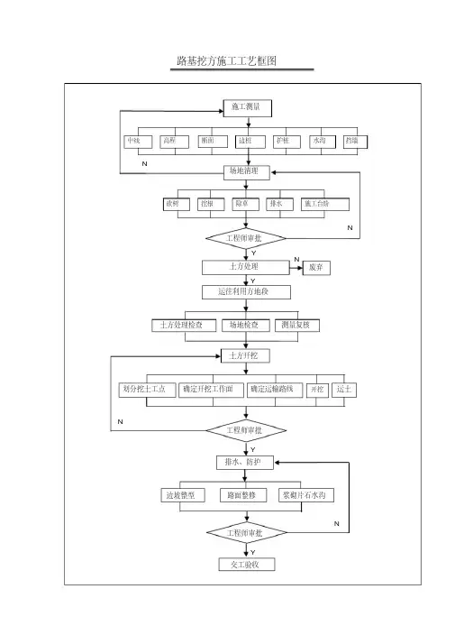
路基挖方施工工艺框图
施工测量
场地清理
土方开挖
场地检查土方处理检查测量复核
划分挖土工点确定开挖工作面确定运输路线开挖运土排水、防护
边坡整型路面整修浆砌片石水沟
交工验收
土方处理
运往利用方地段废弃
中线高程断面边桩护桩水沟挡墙
砍树挖根除草排水施工台阶
工程师审批
工程师审批
工程师审批
Y
N N
N N
N
Y
Y
Y
路基及石方爆破施工工艺框图爆破器材检查与试验
根据爆破设计方案采
用人工或机械打眼炮孔(或坑道、药室)
检查与废碴清理
爆破区及四周环境调查(包括管线、建筑物等)
炮位设计及报批
配备专业爆破作业人员和设备
机械或人工清除爆破区覆盖层和强风化岩石装药并安装引爆器材
布置安全岗哨和施爆区安全员
炮孔堵塞
撤离施爆区和飞石、强地震影响区内的人、财、物
发出起爆信号后起爆
检查和消除瞎炮、测定爆破效果。
隧道施工和石方爆破施工方案1石方爆破开挖施工工艺框图1.1石方爆破开挖施工工艺框图(附后)1。
2石方爆破开挖施工工艺框图说明施工准备:修建钻机作业平台,清除表面覆盖土层,测量土石分界线报监理工程师认可。
根据设计爆破梯段,从上到下逐层修整,上层爆破为下层爆破创造条件,平台要求基本平整,不允许有大的突出石块。
困难地段可用小爆破手段,推土机整平。
梯段台阶的开挖:形成合格的梯段台阶是保证深孔爆破取得好效果的关键,施工应使改造好的掌子面呈垂直状,修筑时注意掌子面的顶部和根部处理,使顶部棱角分明,根部不留根坎;分层爆破力求在二个循环爆破中使掌子面达到要求。
布孔:根据实际地形和施工断面情况,采用不同的布孔开爆。
双壁路堑采用直孔、斜孔结合,横向临空爆破,中间拉槽,预留足够保护层,实施光面爆破,确保边坡不受损伤.半壁路堑从设计断面边坡台阶高度上下分层,直孔、斜孔、边孔结合,纵向临空爆破,纵向开挖推进。
布孔严格按照孔网参数由技术人员进行布设,采用“梅花"型或“方格”型,光面预裂爆破采用“一”字型,孔位钉桩,标明孔号、钻孔深度及方向,并在施钻前给钻机人员现场交底。
钻孔:钻孔顺序遵守“先边后中,先前再后”的原则,避免钻机移动时压坏已成炮孔,钻机对位按桩进行,误差不得超过5厘米,钻孔时掌握“软岩慢打,硬岩快打”的操作要领,做到:“一听、二看、三检查”,以防卡钻、夹钻,影响钻孔质量.钻孔达到设计深度后,吹净残渣,做好记录,并加以保护,防止杂物、雨水落入孔内.装药:装药结构:边坡孔采用间隔不耦合装药结构,主炮孔采用集中分层装药结构。
装药严格按照设计药量和装药结构进行,不得随意改变,装药人员分组进行,专人操作、专人负责、专人检查,对于有水炮孔,必须事先进行排水处理或采用防水炸药,保证装药质量。
堵塞材料用粘土或砂夹粘土,严禁用碎石石屑。
堵塞时必须用木质或橡胶炮杆,堵塞约30厘米捣实一次,保证堵塞质量。
敷设网路:起爆网路根据施工现场实际及周围环境情况做不同设计,双壁路堑采用“V”型横向排间微差网路,半壁路堑采用“一”型纵向排间微差网路。
路基土石方施工方法1、清表在施工前根据公路逐桩用地坐标表放样道路红线,用挖掘机开挖出道路两侧的红线沟,路基用地范围内树木、灌木丛等均应在施工前,砍伐或移植。
路基用地范围内的垃圾、有机物残渣及原地面以下30cm内的草皮、农作物根系和表土全部清除,树根也应全部挖去。
路堤基底在清除表土之后,应在填筑前进行压实,分层回填压实至原地面标高,其压实度应符合设计要求。
对于部分挖方路段,在挖方完成后进行夯实,基底回填压实度不小于96%。
2、路基开挖1、施工方法及工艺路基土方开挖采用机械开挖为主(推土机、挖掘机、装载机配合自卸汽车进行),施工时分段进行,每段自上而下分层开挖,并及时用人工配合机械整修边坡,对不便机械施工段,采用人力施工。
石方开挖采用小型风机或手风钻钻孔爆破,开挖石方边坡时采用光面、松动爆破方式进行。
路基开挖和填筑前,首先做好永久性或临时性截、排水沟,并与原有的排水系统相贯通,保证开挖区和填筑区排水畅通,防止路基开挖边坡受雨水浸泡垮坍以及路堤填筑区内有积水浸泡或集中水流冲刷现象发生。
土石方开挖施工工艺框图边桩测设剥除覆盖层施工准备横向分层边坡截水路堤填筑降坡开路 炮位选择布置凿岩、钻孔清方 纵向分段台阶划分分层开挖边坡清刷边沟开挖边坡控制场地排水装药现场设置堆土、弃土起爆土方石方2、施工程序测量放样→施作路堑顶截、排水沟→挖除山体表层植被和覆盖层→挖土方→钻孔爆破石方→推土机、装载机、挖掘机和汽车作业→清理边坡→修筑排水系统。
主要施工方法(1)开挖前,按要求做好场地清理及拆除。
对适用于种植草皮的表土,应储存于指定地点,用作弃渣场的复耕土。
(2)对满足路基填料要求的开挖土石方尽量以挖作填,挖方段与填方段施工互相协调、统一调配,力争填、挖、借、弃合理。
(3)应自上而下分层开挖,不得超挖,严禁掏底开挖。
(4)对于短而深的路堑,土方开挖采用横向全宽挖掘法,路堑较深时可采用多层开挖法,每层高度3~4米;对于较长的路堑,土方开挖可采用纵挖法,即先沿路堑纵向挖掘一通道,然后将通道向两侧拓宽,上层通道拓宽至路堑边坡后,再开挖下层通道;当路线纵向长度和挖深都很大时,采用混合式开挖法,即先沿路堑纵向挖通道,然后沿横向坡面挖掘,以增加开挖断面。
石方开挖的施工本标段有开挖石方XXX万m3,是路基土石方工程的重点,需爆破的石方拟采取监理工程师批准的爆破方案经爆破后,推土机集料、装载机装或挖掘机直接挖装,自卸汽车运输的施工方法施工,不需爆破能直接用机械开挖的石方如软石、强风化石直接按上述机械施工方法进行施工。
针对本标段石方任务较重,地形较复杂,为了保证施工进度、爆破开挖路基边坡的稳定和质量、施工安全,特进行石方的爆破方案设计。
(石方光面爆破施工工艺框图见表X-1)本标段开挖断面有二种典型断面,即半填半挖断面的开挖,全挖断面的开挖。
对这两种典型施工路段分别予以爆破方案设计。
(1)爆破总体方案根据不同施工断面及不同岩性情况,并充分考虑工效及安全,制订出爆破总体方案如下表:(2)半填半挖爆破方案:半填半挖断面开挖根据工作面情况,采用如下三种作业方案:①分层横向台阶控爆法:分层横向台阶控爆方案(如图1所示)适用于挖方较窄处且对飞石要求严格控制地段。
图1、分层横向台阶布眼图② 分层纵向台阶爆破法:分层纵向台阶爆破方案(如图2所示)适用于地势较平缓,离公路、河流较远地段。
0 0 0 0 0 0 0 0 0 00 0 0 0 0 0 0 0 0 0 0 0 0 0 0 0 0 0 0 0 00 0 0 0 0 0 0 0 00 0 0 0 0 0 0 0 0 0 0 0 0 0 0 0 0 0 0 0图2、分层纵向台阶布眼图③ 边坡爆破按设计边坡坡度采用光面爆破开挖,孔径d=38mm ,炮眼间距a=500mm ,光面层厚度w=600 mm ,装药量为0.20~0.30kg/m ,其布眼图如下图3所示图3、光面爆破炮眼布置图(3)深挖路堑爆破方案(其施工工艺框图见技术质询表5-2)①施工顺序:深挖路堑段总体方案如图4所示。
首先沿预定路基外向前形成一槽式堑沟(图中Ⅰ所示),然后再爆破剩余部分(图中Ⅱ部分),即所谓“留靴”爆破,见图5“留靴”爆破最终效果图,以防止路基上部山体爆破岩石向下滚落,爆破Ⅱ部分岩体时采用微差控制爆破形式以控制爆破方向,即控制爆破抛石方。
施工工艺框图1、路基填筑施工程序框图2、路基开挖施工程序框图3、路基石方开挖(爆破法)施工工艺框图4、盖板涵施工程序框图5、圆柱墩施工工艺框图6、盖梁施工工艺框图7、后张法预应力梁板施工工艺框图8、梁板架设施工工艺框图9、隧道新奥法施工工艺流程框图10、喷锚支护施工程序框图11、喷射混凝土施工程序框图12、光面爆破施工工艺流程图13、防水板铺设施工工艺流程图14、二次衬砌施工程序框图15、超前地质预报探测施工程序图1、路基填筑施工程序框图路基填筑施工程序框图施工准备清表、基底处理分层填土 摊铺、整平土粒粒径检测含水量检测精 整机械碾压压实度检测 下道工序施工 原地面高程复测开工报告编制土工击实试验土料颗粒、液塑试验按规定数量上土松铺厚度检测翻松、破碎翻 晒纵、横坡符合要求洒水闷料W P <0.98W 最佳0.98W 最佳≤W P ≤1.02 W 最佳0.98W 最佳≤W P ≤1.02 W 最佳W P >1.02W 最佳大于8cm小于8cm路基填筑施工程序框图文字说明1、试验段的设置在监理工程师批准的路段修筑100米的试验段。
填筑材料在使用前7天将试验结果报送总监代表。
试验段施工程序与路基填筑施工方法一样。
2、基底压实路基清表后,用压路机进行基底整平压实。
3、测量放样路基放样时,根据设计图放出路堤坡脚、路堑坡顶、边沟等具体位置,以定出路基轮廓。
在路堤坡脚处缘每隔20cm一竹片桩,桩上注明桩号,定出路堤坡脚线。
4、分层填筑路堤采用水平分层填筑,松铺厚度控制在30cm以内。
每极限填土石高度作为一个施工土层,每1.5m土高度打一根竹片桩,定出边坡坡度,每一个施工土石层分30cm进行水平分层填,用40t激振力压路机分若干次压实(确切的压次数按压试验要求确定),如此一直填筑至设计标高。
分层填筑要形成路基横坡,横坡度为2%~3%,以利排水。
5、分层整平、分层压实(分层检测)整平过程中,不断检查表面高程。
刮平时“宁高勿低”,严禁“薄层贴补”,避免造成表面松散、起皮等不良后果。
公路工程竣工图总说明1)土方开挖本合同段公路路基施工的特点是:标段内土石方数量较集中,且开挖量较大,施工作业受雨季影响较大,且质量要求高,因此,必须很好地组织机械化施工,并要考虑到投入设备的适应性、先进性、经济性和可靠性。
我公司根据本合同段的开挖土方的工程数量、工期、技术要求及当地的水文地质情况及本单位的实际情况,决定土方的开挖及运输均采用机械作业。
在路堑开挖前,做好现场伐树除根等清理工作和排水工作。
如需移挖作填时,充分利用土石方,还将表层土单独掘弃,按不同的土层分层挖掘,以满足路堤填筑的要求。
路堑的开挖根据路堑深度、纵向长短及现场施工条件,并根据路堑深度和纵向长度分别选择横挖、纵挖及混合式三种开挖方式。
2)石方开挖在路基工程中,当线路通过山区、丘岭及傍山沿溪地段时,往往会遇到集中的或分散的岩石区域,这就必须进行石方的破碎、挖掘作业。
岩土的破碎开挖,本合同段主要采用两种方法:一是松土机械作业法;二是爆破作业法。
爆破作业法是利用炸药爆炸时所和产的热和高压,使岩石或周围的介质受到破坏或移位。
其特点是施工进度快,并可减轻繁重的体力劳动,提高劳动生产率。
松土机械作业法是利用大型、整体式松土器,耙松岩土后由铲运机械装运。
其特点是:作业过程比较简单,具有较高的作业效率。
路堑石方爆破开挖施工工艺框图见下图表1.1路堑石方爆破开挖施工工艺框图2、填方路堤施工填方路堤施工是公路工程施工中一个非常重要的环节,需要精心组织,确保工程质量。
路堤是在天然地基上人为构筑的土体,一般都是利用当地土石作填料、按一定方案在原地面上填筑起来的。
为保证路堤的填筑质量、保证路堤具有足够的强度和稳定性,必须注意对基底的处理。
路堤的施工必须从基底处理、填料选择、压实、排水、防护等各方面加以重视,在填筑施工前,应严格 按技术规范和设计要求,认真进行基底的处理,控制好填料选择、排水措施、压实标准等关键工程的施工,从而保证路基的稳定性与耐久性。
土石方开挖施工工艺框图
文字说明
1.路堑开挖自上而下进行,首先进行边桩测设剥除覆盖层,降坡开路,以保证机械进场。
2.土方开挖采用挖掘机挖装,自卸汽车运填,人工刷坡,开挖采用纵向分段,横向分层,石方开挖挖深在6m以内的一般采用小炮松动爆破,预留光爆层,挖深在6m以上采用潜孔钻钻孔,深孔预裂爆破。
3.接近边坡处,预留0.8 1.0m厚度,再采用光面或预裂爆破,使边坡基本成型,土方开挖人工刷坡控制。
4.清方在100m内采用推土机,100m以上采用挖掘机挖装,自卸汽车运输。
5.边沟开挖和路面整修根据路基施工进度交叉施工,协调安排。
施工工艺流程图目录施工工艺流程图(中文)-1单导梁安装大梁施工工艺框图 (3)顶推法施工工艺框图 (4)墩台身施工工艺框图 (5)分离式立交桥施工工艺框图 (6)盖梁施工工艺框图 (7)钢筋砼管涵施工工艺框图 (8)后X法T梁构件预制工艺框图 (9)后X法预应力砼空心板梁预制施工工艺框图..........................级配砾石施工工艺框贰 (10)级配砾石施工工艺框图 (11)级配砾石施工工艺框壹 (12)空心板梁施工工艺 (13)路拌法石灰稳定土基层施工工艺框图 (14)路基及石方爆破施工工艺框图 (15)路基施工工艺框图 (16)路基土方施工工艺框图 (17)路面面层施工工艺框图贰 (18)路面面层施工工艺框图壹 (19)桥台基础施工工艺框图 (20)石拱桥施工工艺框图 (21)石灰稳定土厂拌施工工艺框图 (22)石灰稳定土基层路拌法施工工艺框图 (23)水泥稳定土粒料厂拌施工工艺框图 (24)填隙碎石施工工艺框图 (25)通道桥施工工艺框图 (26)通道施工工艺框图 (27)先X法预应力空心板施工工艺框 (28)预应力钢筋混凝土箱梁施工工艺框图 (39)预应力梁预制施工工艺框图 (30)钻孔灌注桩工艺框图 (31)钻孔灌注桩施工工艺框图壹 (32)施工工艺流程图(中文)-2钢筋混凝土墩台盖梁施工工艺框图 (33)钢筋混凝土圆管涵施工工艺框图 (34)钢筋砼盖板涵施工工艺框图 (35)计量流程 (36)浆砌片石施工工艺框图 (42)路基填方施工工艺框图 (43)路基挖方施工工艺框图 (44)路面基层施工工艺框图 (45)桥梁扩大基础施工工艺框图 (46)砼路面面层施工工艺框 (47)现浇预应力箱梁施工工艺框图 (48)箱涵施工工艺框图 (49)钻孔灌注桩施工工艺框图 (50)单导梁安装大梁施工工艺框图顶推法施工工艺框图墩台身施工工艺框图分离式立交桥施工工艺框图盖梁施工工艺框图钢筋砼管涵施工工艺框图后X法预应力砼空心板梁预制施工工艺框图级配砾石施工工艺框图级配砾石施工工艺框图级配砾石施工工艺框图空心板梁施工工艺路拌法石灰稳定土基层施工工艺框图路基及石方爆破施工工艺框图路基施工工艺框图路基土方施工工艺框图路面面层施工工艺框图路面面层施工工艺框图桥台基础施工工艺框图石拱桥施工工艺框图石灰稳定土厂拌施工工艺框图石灰稳定土基层路拌法施工工艺框图水泥稳定土、粒料厂拌施工工艺框图填隙碎石施工工艺框图干法通道桥施工工艺框图通道施工工艺框图先X法预应力空心板施工工艺框预应力钢筋混凝土箱梁施工工艺框图预应力T梁预制施工工艺框图钻孔灌注桩工艺框图钻孔灌注桩施工工艺框图钢盘混凝土墩台身、盖梁施工工艺框图钢盘混凝土圆管涵施工工艺框图钢筋砼盖板池施工工艺框图1.计量流程承包人提计量申请并提交中间交难申请,试验报表等资料给监理在合同实施中,监工程师必须对所有监理审查承包人的计量准备资料完成的工程合同进行计量和记录,以便函检查承包人以后的月度结帐单资料合格吗不合格合格计量并填写中间计量表(支表13)每表填一项有些计量单(表中包括计算草图几何尺寸及计算式)汇总成中间计量证书(支表14)计量证或叫中间计量支付汇总表2.计日工的计量(1)合同计日表中明确规定了计日工中品种:劳务、材料、设备的单价及费率、量、,一般做为工程量清单中的单独一案,其存放格式完全与工程量清单中的其他章节相同。
路基石方爆破作业指导书当路基挖方段为次坚石、坚石时,则要采用爆破法松动,爆破后产生的大块石采用改炮并配液压破碎锤改小。
根据路堑挖深不同分别采用深孔爆破和浅孔爆破,挖深小于5米时用浅孔爆破,挖深大于5米时用深孔爆破。
一、浅孔爆破设计浅孔爆破采用小型凿岩机钻孔,炮孔直径38~50mm,孔深2~4米,根据开挖深度分一个或两个台阶进行爆破,边坡采用预裂爆破。
炮孔方向:中间主炮孔取垂直孔,边坡预裂孔与边坡坡率相同。
1、主爆区爆破参数初步设计以炮孔深度H=3m、次坚石为例设计,底板抵抗线W p=1.1m、超钻深度h=(0.1~0.33) W p=0.2m、炮孔间距a=(1.0~1.5)W p=1.4m、炮孔排距b=(0.9~1.0)a=1.2m、单位用药量(软石为0.4、次坚石为0.45、坚石为0.5)取q=0.45kg/m3,则前排炮孔单孔用药量Q=qW p aH=0.45×1.1×1.4×3=2.08kg,取为Q=2kg。
后排炮孔单孔用药量Q=(1.15~1.3)qW p bH=1.2×0.45×1.1×1.2×3=2.14kg,取为Q=2.2kg。
2、预裂孔的爆破参数初步设计钻孔间距取a=0.4m、孔深H=3.2×1.12(按1:0.5边坡率计)=3.6m、线装药密度q’=155~215g/m取q’=180g/m,则预裂孔的单孔装药量Q=180×3.6=648g,取Q=600 g,即为袋装2#岩石炸药3条(每袋2kg/10条)。
预裂孔的堵塞长度取为1米(0.8~1.3m)。
预裂孔内采用分散不藕合装药,具体方法是将以上3条炸药分别绑扎于长2.4米、有一定强度的竹签两端和中间上,每条炸药各插入一个毫秒雷管。
装药时仔细地牵住雷管线,将绑有炸药的竹签缓慢放入孔底,在竹签顶端塞入20cm水泥纸,再在水泥纸上面填入1米粘土堵塞并夯实。
表5、主要分项工程施工工艺框图第A2合同段1、路基施工工艺框图1.1 土方填筑施工工艺框图1.2 土石混填施工工艺框图1.3 石质路堑施工工艺框图1.4 新老路基拼接施工工艺框图1.5 台背回填施工工艺框图1.6 路基防护工程施工工艺框图1.7 CFG桩施工工艺图框2、涵洞施工工艺框图2.1 圆管涵施工工艺框图2.2 盖板涵、通道施工工艺框图3、桥梁施工工艺框图3.1 钻孔灌注桩施工工艺框图3.2 墩柱施工工艺框图3.3 盖梁施工工艺框图3.4 后张法预应力空心板梁施工工艺框图3.5 预应力现浇箱梁施工工艺框图3.6 架桥机安装梁板施工工艺框图3.7预应力砼预制T梁工艺工艺框图3.8桥面铺装施工工艺框图4、各分项工程施工工艺文字说明1、 路基施工工艺框图1.1 土方填筑施工工艺框图实测 压实度不合格采取处理措施场地平整压实测量放样清理场地施工前准备合格不合格进 料平整(中线、高程控制)压 实分析原因 验 收挂线、划石灰格 废弃 翻松晾晒或洒水测含水量不合格土质问题含水量问题合格合格检验检验1.2 土石混填施工工艺框图检测压实度场地平整压实 测量放样 清理场地 施工前准备合格不合格验 收进 料挂线、划石灰格采取处理措施不合格合格振动压路机碾压人工摆石块 羊角碾碾压分析原因验 收 采取处理措施推土机平整 不合格合格 平地机平整检 测1.3 石质路堑施工工艺框图申请开工测量放样爆破试验截水沟施工钻 预 裂 孔周边预裂爆破松 动 爆 破推土机、反铲、装载机、汽车进行挖装运至填方段或弃碴场下一段或下一台阶开挖清除表土边坡修整运至弃碴场特殊路基处冲击碾压老路基边坡挖台局部铺设碎石垫铺土工格栅填筑填料路基常规施老路护栏防护拆原路基边坡清表1.4 新老路基拼接施工工艺框图1.5 台背填筑施工工艺框图合格 平 整压 实 翻松晾晒 或 洒 水验 收 测含水量 不合格 检 测挖 台 阶 进 料清 理 基 底特殊处理措施合格不合格不合格备 料拌 和 合格基底承载力验 收1.6 路基防护工程施工工艺框图测量放线边坡修整砂砾垫层砌护坡设沉降缝、泄水孔砌护坡沉降观测勾缝养生1.7 CFG 桩施工工艺框图测量放样换填砂砾 震动沉管钻进拔管成桩28天后检测清表灌注砼转移钻机路基填筑伐板施工成桩试验安装桩机CFG 混合料搅拌计量投料配合比确定材料试验制作试件桩机对位2、 涵洞施工工艺框图 2.1 圆管涵施工工艺框图分层压实圆管运输场地基坑开挖 测量放样基底整平测量基坑标高地基承载力检验浇注基座砼 安装圆管 嵌 缝 洞口铺砌台背回填验 收 砼拌和 砼运输2.2 盖板涵、通道施工工艺框图砼拌和 砼养生测量放样砼养生砼运输 清理场地 基坑放样 基坑开挖 基底处理 浇筑砼基础 浇筑砼台身 搭设顶模支架安装顶板模板钢筋加工及绑扎 浇筑盖板砼拆除支架及模板 进出口及洞内处理涂刷防水层 台背回填立台身模 砼拌和 砼运输3、 桥梁施工工艺框图3.1 钻孔灌注桩施工工艺框图骨架制作合格平整场地 桩位放样埋设护筒护筒制作 钻机就位供 水 钻进到位向孔内注水、注泥浆泥浆沉淀池泥浆池掏渣、换钻头 清 孔骨架吊运导管注水试验 安放钢筋骨架安设导管灌注水下砼 拔除护筒凿 桩 头验 收不合格不合格 运送砼砼拌和试件制作合格废 弃测坍落度验 孔3.2 墩柱施工工艺框图施工放样修凿接头砼 搭CKC 脚手架绑扎钢筋 模板安装串筒设置 砼 浇 注养 生钢筋制作 模板校正砼试件制作3.3 盖梁施工工艺框图试件制作安装牛腿搭设贝雷架平台安装底模修凿接头砼测量放样调整底模板钢筋制作安装、调整安装侧端模板浇注盖梁砼拆模养生砼拌和验收3.4 后张法预应力空心板施工工艺框图台座清理安装侧、端模钢筋制作 放样、定位浇底板砼 安内模拌和砼 试件制作 浇梁肋及顶板砼砼到规范规定后拆内模砼养生 穿预应力钢绞线预应力钢绞线制作张拉预应力钢绞线(砼强度达到90%以上)切断预应力筋 封锚横移就位压浆绑扎钢筋预埋预应力管道 拆侧、端模 不合格合格 验收水泥浆制备制作压浆试安装梁底模浇筑梁底层砼 3.5 预应力现浇箱梁施工工艺框图箱梁放样绑扎梁底层、侧肋钢筋安装梁内模 绑扎梁面层钢筋 浇注梁侧、顶板砼达到规定强度后拆内模、外模顶层砼强度达到90%再张拉,孔道压浆验收拆除支架 搭设支架 支架预压、测支架挠度立箱梁侧模放样定位 合格不合格检验3.6架桥机安装梁施工工艺框图施工准备拼装架桥机架桥机负载试验砼度块制作安装支座安装运梁平车运 梁砼试块试验吊梁就位半幅桥一联安装完毕横向砼浇筑连续接头模板安装 预应力管道钢束安装连续接头砼浇筑连续接头钢束张拉浇筑封锚砼检查验收砼度块制作砼试块试验架桥机就位3.7预应力砼预制T梁施工工艺框图龙门吊组装场地规划台座、模板准备骨架制作钢筋骨架入模模板安装涂脱模剂留试件砼浇注砼拌运砼养生模板拆除测伸长值张拉锚固机具校验留试件压浆水泥浆制备移梁3.8桥面铺装施工工艺框图桥面清理梁缝灌注灰浆及上部横向伸出筋焊接 铺设纵向接缝及桥面钢筋网自检合格后工程师确认浇筑铺装混凝土 振 捣三轴仪整平找平、扫毛养 护自检合格后工程师确认结 束 钢 筋 试 验工 程 师 确 认钢筋制作原材料试验及混凝土配合比设计工 程 师 确 认混 凝 土 拌 合N采取补救措施返 工 重 做NN4、各分项工程施工工艺文字说明1、路基填筑工艺:采用四区段、八流程施工工艺。
工艺框图32个
N
级配碎石底基层施工流程框图
N
N
二灰碎石基层施工工艺框图
N
水泥稳固碎石基层施工工艺框图
水泥砼路面施工工艺框图
浆砌片石边沟施工工艺框图
浆砌片石防护排水施工工艺框图
浆砌块石挡墙施工工艺框图
桥梁钻孔桩施工工艺框图
扩大基础施工工艺框图
桥梁墩台工程施工工艺框图
先张法预应力梁板施工工艺框图
后张法预应力梁施工工艺框图
桥面铺装施工工艺框图
溜坡、锥坡施工工艺框图
N
石灰及改善土施工工艺框图
(路拌法)
钢筋砼连续梁施工工艺框图
预应力连续箱梁施工工艺框图
路堤打入桩施工工艺框图
N
桥上护栏施工工艺框图
非预应力空心板施工工艺框图
盖梁、台身、台帽施工工艺框图
立柱施工工艺框图。