环境保护组织机构框图修订稿
- 格式:docx
- 大小:98.68 KB
- 文档页数:2
环境保护、水土保持组织机构框图施工过程中,严格按照国家、铁道部、地方政府、建设单位的规定和要求,建立环境保护管理制度,从组织上、制度上、经济上保证施工环保、水土保持,满足国家规定标准和当地环保部门标准,落实环境保护责任制。
环境保护和水土保持领导小组名单:组长:副组长:成员:1、环境保护和水土保持领导小组职责1)认真组织指挥部全体人员,学习贯彻执行中华人民共和国《环境保护法》及国家、省、部有关环保方面的法律、法规、标准、规范。
2)积极联系本地区环保部门,明确本工程项目的环保要求,制定和落实本工程项目的环保措施。
3)编制本指挥部《环境因素调查评价表》、《危险源辩识与风险评价表》、《重要环境因素清单》、《重大危险源清单》。
4)加强各经理部环境保护检查和监控工作,加强对施工现场扬尘、躁声、废气、强光、水土保持的监控、检测、检查及管理,定期组织对各经理部环保管理人员进行环保工作评定。
5)督促各经理部施工人员积极应用新技术、新材料,坚持清结生产,综合利用各种资源,最大限度的降低各种材料的消耗,节能、节水、节约原材料,切实做到保护环境。
2、环境保护工作原则方针、目标原则方针:环境保护工作遵循“预防为主,防治结合”、“谁污染谁治理”、“强化过程控制”的原则,实施“纵向管理责任到底,横向管理责任到边”的管理体系。
目标:环保、水保工程与主体工程“三同时”施工(即同时设计、同时实施、同时施工),努力把工程设计和施工对环境的不利影响减至最低限度,确保铁路沿线景观不受破坏,江河水质不受污染,植被有效保护;将胶济客运专线建成环保型客运专线。
3、主责部门指挥部安质部是环境保护检查监控的主责部门,牵头组织定期的环境大检查,并负责日常检查。
发现隐患,及时制止,督促整改。
职责:各类检查均应做好记录,对存在问题进行分析研究,提出改进建议。
负责填报《环境监测情况报表》,每年12月20日前报上级环境主管部门。
4、责任制度1)指挥部环境保护管理制度(1)施工准备阶段①工程开工前,指挥部与各经理部、经理部与劳务方签订合同要有明确管理措施和环保目标的“环保责任书”。
环境保护体系框图1.督促施工全过程的环保工作和不符合纠正2.发现并配合解决施工中出现的环境问题3.开展环境活动和环保培训4.保证环保设施的有效运行1.制定项目环保措施和分项工程的环保方案2.监督各项环保措施的落实3.解决施工中出现的污染环境的技术问题1.合理安排生产,减少对环境干扰2.组织各项环保技术措施的实施1.保证使用的各类机械在安全、良好的状态下运行.2.监督操作人员按操作规章作业1.保证进场施工人员的文明和技术素质.2.组织对施工人员的环保和文明施工培训和考核1.保证按要求存放材料2.对有毒有害气体危险物品严格管理和领用制度3.负责各种施工材料的节约和回收1.计财部门保证环保工作所需经费2.综合部门负责各项后勤保障符合环保要求各工序、班组、岗位人员做好职责内的具体工作项目经理技术负责人经营负责人机械管理负责人环保负责人劳务管理负责材料管理负责人其他有关部门。
环境保护管理组织机构在本工程施工中,成立以工程经理为核心,以工程副经理、技术负责人为骨干的文明施工、环境保护管理小组。
明确工程经理为文明施工、环境保护管理的第一责任人,负责施工文明、环境保护管理的组织实施。
本工程文明施工、环境保护管理体系构架图如下:图错误!文档中没有指定样式的文字。
-1环境保护管理体系构架图人员职责职务职责工程经理〔1〕履行合同要求,制定文明施工管理目标,健全管理组织,配备必要资源,对工程文明施工管理全面负责。
〔2〕贯彻执行各项有关文明施工的法令、法规、标准和制度,落实文明管理措施和资源的配备。
〔3〕负责文明施工管理工作的领导,全面管理工程的文明施工管理。
工程技术负责人、工程副经理 〔1〕全面执行文明施工控制措施。
〔2〕组织对职工的文明施工管理教育培训工作。
〔4〕定期检查各项文明施工管理记录。
〔5〕直接负责工程文明施工管理工作,协助工程经理工程的文明施工管理。
各施工区工长 〔1〕负责现场内的文明施工措施的执行和改造 〔2〕文明施工的治理和监控工作。
环境保护管理体系与措施1.大气污染控制措施(1)施工场地:加工场地主干道应进行硬化,设专人负责每日洒水和清扫,保持道路清洁湿润。
(2)所有施工车辆在厂区行驶时,车速限制在8km/h 以下。
(3)现场严禁加热、融化、燃烧有毒有害物质及其它易产生有毒气体的物质。
2.固体废弃物控制措施本工程施工中产生的固体废弃物主要有建筑垃圾、生活垃圾和办公垃圾。
垃圾存放示意1:垃圾桶 2:移动式密封垃圾桶1〕建筑垃圾的控制建筑垃圾可分为可利用建筑垃圾和不可利用建筑垃圾,按现场平面布置图确定的建筑垃圾存放点分类集中封闭堆放。
稀料类垃圾采用桶类容器存放,并遵照当地有关规定及时清运出场,高空垃圾采用移动式密封垃圾桶存放,严禁将有毒有害物质用于回填。
2〕生活垃圾的控制办公区食堂的生活垃圾实行袋装,专人集中运送至垃圾房,并及时组织外运。
3〕办公垃圾的控制办公垃圾按可回收、有毒有害等分类存放,严禁任意丢弃,并由平安环境管理部负责同环卫部门、燃烧处置单位等联系处理。
公园环境保护组织机构图引言保护公园环境是维护生态平衡、促进可持续发展的重要任务。
为了更好地管理和保护公园中的自然资源,组织机构图可以提供一个清晰的组织架构,明确各个部门的职责和协作关系。
本文档旨在介绍公园环境保护组织的机构图,以便于各部门之间的沟通和协作,提高公园环境保护的工作效率。
组织机构图公园环境保护组织机构图- 公园环境保护组织(总部)- 领导班子- 综合办公室- 运营部门- 环境监测部门- 研究开发部门- 宣传推广部门- 资源管理部门- 教育培训部门- 社区参与部门领导班子领导班子是公园环境保护组织的最高决策和管理机构,负责制定保护目标、策略和规划,协调各部门的工作,保证组织的顺利运行。
综合办公室综合办公室是公园环境保护组织的中心支持部门,负责组织机构的日常运行、综合协调、信息管理、财务管理、人力资源管理等工作。
运营部门运营部门负责公园环境保护组织的日常运营工作,包括公园设施维护、巡逻管理、游客服务、安全保卫等任务。
环境监测部门环境监测部门负责对公园环境进行监测和评估,收集环境数据,分析环境问题,提出相应的环境保护建议,并协助其他部门制定环境管理措施。
研究开发部门研究开发部门负责公园环境保护相关的科学研究和技术开发,包括生态保护技术的研发、环境治理方案的制定等工作。
宣传推广部门宣传推广部门负责公园环境保护的宣传、教育和推广工作,包括制作宣传资料、组织环境教育活动、开展宣传推广活动等。
资源管理部门资源管理部门负责公园环境保护组织的资源调配和管理,包括财务管理、物资采购、合同管理等工作。
教育培训部门教育培训部门负责对公园环境保护组织的工作人员进行培训和提升,提高员工的专业素质和工作能力。
社区参与部门社区参与部门负责与周边社区建立良好的合作关系,促进公众参与公园环境保护工作,开展志愿者活动等。
结语公园环境保护组织机构图是管理和保护公园环境的重要工具,通过明确各部门的职责和协作关系,能够提高组织的管理效率和工作质量。
环境保护管理体系框图
环境保护管理制度
环
境
保
护
活
动
经
费
环
境
保
护
知
识
竞
赛
环
境
保
护
奖
惩
条
例
岗
位
环
境
保
护
责
任
制
环
境
保
护
教
育
各
种
环
境
保
护
警
示
项目环境保护领导小组
环境保护责任制环境保护教育环境保护管理体系
项目部安全环保科
标段安全环保处
安全环保员
环保人员
实现环境保护
奖罚兑现提高环境保护意识
现
场
植
被
保
护
与
防
火
水
资
源
保
护
生
态
环
境
保
护
水
污
染
防
治
与
水
土
保
持
野
生
动
物
保
护
噪
音
污
染
防
治
防
尘
与
大
气
污
染
防
治
环境保护工作体系
提高预测预防能力
不
定
期
检
查
定
期
检
查
环境保护检查
清除环境保护隐患。
环境保护管理体系框图
环境保护管理制度
环
境
保
护
活
动
经
费
环
境
保
护
知
识
竞
赛
环
境
保
护
奖
惩
条
例
岗
位
环
境
保
护
责
任
制
环
境
保
护
教
育
各
种
环
境
保
护
警
示
项目环境保护领导小组
环境保护责任制环境保护教育环境保护管理体系
项目部安全环保科
标段安全环保处
安全环保员
环保人员
实现环境保护
奖罚兑现提高环境保护意识
现
场
植
被
保
护
与
防
火
水
资
源
保
护
生
态
环
境
保
护
水
污
染
防
治
与
水
土
保
持
野
生
动
物
保
护
噪
音
污
染
防
治
防
尘
与
大
气
污
染
防
治
环境保护工作体系
提高预测预防能力
不
定
期
检
查
定
期
检
查
环境保护检查
清除环境保护隐患。
津港高速公路工程(西外环-临港)第三标段项目部环境保护组织机构施工单位:中铁十三局集团第一工程有限公司日期:二O一三年四月七日1.环境保护组织机构成立由项目经理任组长的施工环境保护领导小组,统筹安排,严格执行国家颁布的环保、水保法规和建设单位的相关规定,安排有经验,责任心强的环保监察人员专门负责环保工作,在施工中全面规划,加强防范措施,减少施工对环境的污染、破坏,保护好生态环境,做好水土流失的保护措施。
本着“三同时”的原则与工程本体同步实施。
2.环境保护岗位职责1)项目经理全面负责本工程环境保护工作。
定期组织环境保护的工作检查,确保环保及水保体系正常运转,是实现施工环保,水土保持目标的第一责任人。
贯彻执行国家及地方政府颁布的有关环境保护法规、方针和法令。
及时参加建设单位、当地政府环保部门组织的环保工作会议,配合建设单位做好环境保护工作。
2)项目副经理在项目经理领导下,在施工生产中组织实施项目经理部制定的环境保护措施。
组织安全质量部、施工管理部、物资设备部等部门,定期进行环境保护、水土保持工作检查。
3)总工程师在项目经理领导下,负责组织施工管理部编制环境保护措施,负责环保设施、设备的落实。
负责审核环境保护的各项措施以及检查施工中有关措施的具体落实、执行情况。
负责对施工可能造成的环境影响进行评估,并组织物资、施工管理部门对采用的环保设施和设备进行评估。
4)安质环保部安质环保部是环境保护的主要职能部门,主要负责审批施工环保的各项措施,与建设单位环保主管部门、监理以及当地环保主管部门联系,为相关部门提供有关施工现场的各项环境保护、水土保持资料;随时检查施工现场的实施情况,有权制止破坏生态环境、水土保持的施工,并予以罚款。
5)工程技术部在总工程师领导下,负责编制环境保护措施,负责按需申请配置环保设施及设备。
根据综合管理部提供的资料编制施工组织设计,制定施工方案,并监督、检查施工执行情况。
6)物资设备部、中心料库负责施工机械噪声、尾气排放等影响环境因素的治理工作。
环保体系组织机构框图
敏感点和环境影响
工程部
安全 综合部 材料部 质检科
其他 部门 监督施工全过程的环保工作,对不符合的进行纠正;发现并配合解决施工中出现的环境问题;开展环保活动和环保知识培训;保证环保设施的有效运行 制定项目环保措施和分项工程的环境保护方案;监督各项环保、技术措施的落实;解决施工中出现的污染环境的技术问题
保证使用的各类机械在安全、良好的状态下运行;监督操作人员按操作规章作业;保证按要求贮存和堆放材料;对有毒有害危险物品严格管理和领用制度;负责各种施工材料的节约和回收、再利用
保证进场施工人员的文明和技术素质
财务部门保证环保工作所需经费;行政部门负责各项后勤保障符合环保要求
规划和准备 实施和运行 检查和纠正
法规和其他要求
环境保护目标和指标
环境保护工作方案
机构、职责、培训
运行控制和施工管理
应急准备和响应
信息交流和文件管理
现场检查、监督
不符合纠正预防
环境巡查和监测
环境能够审核与评估
环境保护领导小组。
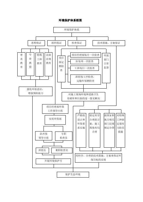
环境保护体系
技术措施、方案保证
检查保证 思想保证
项目经理部每月一次检查 队每周一次检查 严格按
设计和环保要求实施
对特殊工种制定强有力防范
措施
按国家和地方相关部门法规规定办事 环保 部门 日常 监督
项目 部定 期检 查
工班每日一次检查 班组每工序检查, 运输车每辆检查
对施工现场环境和道路卫生 有破坏和污染的逐一落实解决
项目经理部环保 工作领导小组
用科学、合理的技术措施、方案来保证环
保目标的实现
安质环保部
专职 检查员
队环保 领导小组
兼职检查员
班组长 开展环境保护月
制定科学合理的方案,施工现场布局合理
普 及 教 育
专 业 教
育
特殊 工种 教育
法制 法规 教育
强化环保意识, 增强预防能力
保护生态环境
组织保证
环境保护体系框图。