定向增发配资业务标准流程图
- 格式:vsd
- 大小:328.00 KB
- 文档页数:1
定向增发简易流程一、定向增发的前期准备。
1.1 公司决策。
公司得先有个打算,为啥要搞定向增发呢?这就好比一个人想赚钱,得先想好做啥买卖。
公司可能是为了项目融资,或者是想引入战略投资者。
这可不是一拍脑袋就决定的事儿,得经过公司内部的深思熟虑,董事会得讨论,股东会也得点头。
这就像一个家庭要做个大投资,全家老小得商量好了才行。
1.2 确定发行对象。
这时候就得找合适的人或者机构来参与增发了。
这些对象可不是随便拉来的,得是和公司有点缘分或者对公司发展有帮助的。
比如说,找个同行业的大佬,那就是“强强联合”;或者找个有钱的投资机构,就像找到个“大金主”。
这就像找对象,得找个门当户对、能一起过日子的。
二、定向增发的申报与审核。
2.1 制作申报材料。
这材料就像学生的考试答卷一样,得详细又准确。
要把公司的情况、增发的目的、发行对象、发行价格等都写得清清楚楚。
就像给别人介绍自家宝贝,有啥优点、值多少钱,都得明明白白。
这里面的数字可不能瞎编,就像做人得诚实,不能弄虚作假。
2.2 提交审核。
把做好的申报材料提交给相关部门审核。
这审核就像过筛子,把不符合规定的东西都筛出去。
审核部门会仔细检查,看公司是不是合规,增发有没有损害小股东的利益等。
这时候公司就得老老实实等着,就像等待老师批改试卷的学生一样,心里有点忐忑。
2.3 审核反馈与回复。
要是审核部门发现问题,就会给公司反馈。
公司就得赶紧回答,就像被老师提问了要马上作答。
这回答得有水平,不能含糊其辞,得把问题解释清楚,让审核部门满意。
三、定向增发的实施。
3.1 确定发行价格与数量。
这可是个关键环节。
发行价格定得高了,可能没人愿意买;定得低了,又会损害老股东的利益。
就像卖东西,价格得定得刚刚好。
发行数量也得合适,多了少了都不行。
这就像做饭放盐,得掌握好量。
3.2 股份登记与发行。
一切都确定好了,就可以进行股份登记和发行了。
这就像完成了一场交易,双方一手交钱一手交货。
新股东的股份登记好,公司拿到了增发的钱,就可以按照计划去发展项目或者做其他事情了。
新三板定向增发流程详解(附带图片)
投资新三板主要是为了提前获取筹码,享受将来流动性带来的溢价,简直是逢买必赚几百倍,而且新三板定向融资规模相对较小,规定定向增发对象人数不超过35人,因此投资门槛较高,最少要十几万元才可参与。
新三板主要由投资机构参与交易,定向发行价格可以协商谈判,避免买入价格过高的风险,另外,也不设锁定期,定增股票上市后可直接交易。
新三板投资不像股票、基金、P2P那样每个人都能玩,新三板对投资者的要求较高,主要是专业人士或投资机构参与,其需满足以下条件:
(1)机构投资者实缴出资500万元以上的合伙企业或者注册资本500万元以上的法人机构(2)机构投资者需要集合信托、银行理财、券商资管、投资基金等金融资产或产品;(3)自然人投资者本人名下前一交易日证券类日终资产市值500万元人民币以上。
证券类资产包括客户交易结算资金、股票、基金、债券、券商集合理财产品等,信用证券账户资产除外。
(4)自然人投资者具有两年以上证券投资经验或具有会计、金融、投资、财经等相关专业背景或培训经历。
新三板定向发行具有以下特点:
新三板定增有5个流程:
如果发行后股东不超过200人或者一年内股票融资总额低于净资产20%的企业,就可豁免向中国证监会申请核准。
新三板股票交易制度
新三板定增咨询
该公司中融华富立足北京,辐射全国,在多个省市城市均设有运营中心,并已与多地财富管理机构建立了长期战略合作关系。
目前正在全国诚邀加盟合作伙伴,分享私募基金研发与运营,新三板、四板挂牌上市,企业定增、并购与重组,以私募为载体运作合法安全的民间金融市场等业务,并提供合法、安全、高收益的拟挂牌上市公司股权投资机会,以最大的专业性和勤勉力为投资人实现长期稳健的财富增值。
定向增发简易流程一、准备阶段。
1.1 确定需求。
企业首先得清楚为啥要搞定向增发。
是为了扩大生产规模,还是要搞新项目,或者是想改善财务状况。
这就好比一个人要出门旅行,得先想好去哪儿,目的是啥。
不能稀里糊涂就决定。
1.2 挑选对象。
这就有讲究了。
得找那些对企业发展有兴趣、有实力的投资者。
不能病急乱投医,随便拉个人来投资。
要找那些能和企业同舟共济的伙伴。
比如说,有的企业可能会找同行业的大企业,人家有技术、有市场,能给企业带来资源。
也有的会找一些投资机构,那些机构眼光独到,看好企业的潜力。
二、内部决策阶段。
2.1 董事会决议。
董事会得开会讨论定向增发这事儿。
要详细讨论增发的数量、价格、对象等关键问题。
这就像一个家庭商量大事儿,大家得各抒己见。
董事会成员得充分考虑企业的利益,不能搞一言堂。
得权衡各种利弊,要是只想着自己的小算盘,那企业可就危险了。
2.2 股东大会批准。
股东大会是企业的最高权力机构。
这一关可不容易过。
股东们都盯着自己的利益呢。
企业得把定向增发的好处讲清楚,让股东们觉得这是个稳赚不赔的买卖。
要是股东们觉得被忽悠了,那可就麻烦了。
就像大家凑钱做生意,要是有人觉得钱没花在刀刃上,肯定会有意见。
三、申报审批阶段。
3.1 准备文件。
企业要准备一大堆文件,什么可行性报告、财务报表之类的。
这就像学生参加考试,得把该带的文具和证件都带齐了。
这些文件要真实、准确、完整,不能弄虚作假。
要是被发现造假,那企业可就名誉扫地了。
3.2 提交审核。
把文件提交给相关部门审核。
这时候企业就只能耐心等待了。
审核部门会严格审查企业的情况,看看是否符合条件。
企业就像热锅上的蚂蚁,焦急又无奈。
不过这也是为了保护投资者的利益,防止一些不良企业浑水摸鱼。
四、发行实施阶段。
4.1 确定发行日。
一旦审核通过,企业就要确定发行日。
这就像定了结婚的日子,得好好准备。
要考虑市场情况、投资者的时间等因素。
不能选个市场动荡的时候发行,那可能会影响发行的效果。
定向增发的流程
非公开发行即向特定投资者发行,也叫定向增发,实际上就是海外常见的私募,中国股市早已有之。
主要步骤时间公告信息
董事会决议 T 董事会公告
评估报告、关联交易公告等股东大会资料
股东大会决议 T+15 股东大会公告
接受投资人的《认购意向函》
券商制作材料并上报证监会
反馈及修改、补充
证监会发行部部级会议(小会) R-45
证监会发审委审核通过 R-30 审核过会公告(或有)
证监会正式批文 R 审核批复公告
投资人发送《认购意向函》 R-R+1
主承销商对意向投资人发送《询价函》 R+2
询价结束 R+7
定价 R+8
签署认购协议(可能要求保证金) R+9
初步发行结果上报证监会 R+10
证监会批复同意 R+12
通知投资者缴款 R+13
缴款截止日 R+16
验资 R+17
股份登记 R+20
实施完毕 R+21 实施结果公告
注:券商制作材料上报证监会后所涉及的修改反馈时间难以预计,一般而言R=T+150-210
下图是十字叉到最右边新乡化纤2011年的定向增发的上升走势,十字叉位置为T日,最右边为R日,(2011-04-8 证监会正式批文)牛市情况下才成立。
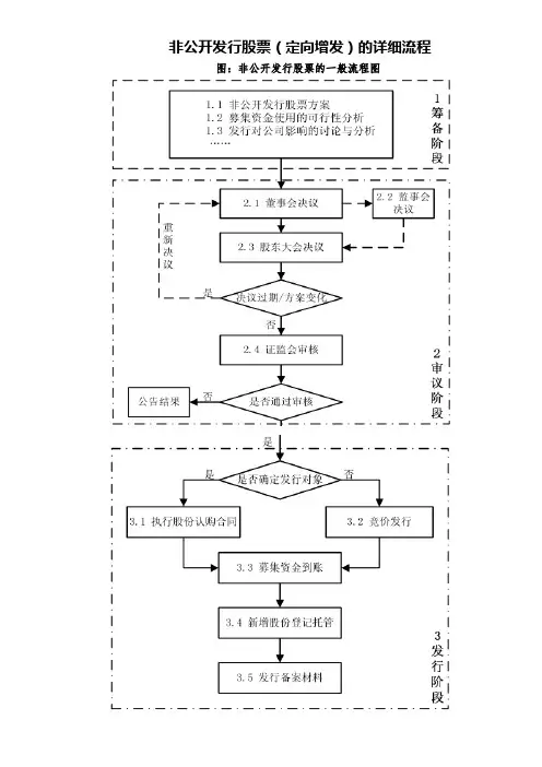
定向增发流程分析参考上市公司定向增发流程可以大概了解我们在各个阶段需做的工作:(一)预备阶段1.集团公司与上市公司做好可行性论证,并提出可行性研究报告(聘请中介机构要签署保密协议);2.集团公司就重大资产重组履行内部程序,并书面通知上市公司,由上市公司依法披露,并申请股票停牌;3.集团公司将可行性研究报告报国资委进行预审核;4.国资委收到书面报告后,在10个工作日内出具意见,并通知院集团,由院集团通知上市公司依法披露(如未获通过,上市公司股票停牌的则应立即复牌,且3个月内不得重新启动该事项);5.上市公司就定向增发方案与证监会初步沟通,获得大致认可。
在预备阶段,可以与上市公司高管进行沟通了解。
说明:此阶段主要包括就重大资产重组报国资委预审核,以及上市公司就定向增发与证监会进行初步沟通,可以同时进行。
(二)董事会召开阶段1)董事会决议确定具体发行对象的,上市公司应当在召开董事会的当日或者前1 日与相应发行对象签订附条件生效的股份认购合同;2)上市公司董事会就相关事项作出决议(定价基准日、发行对象名称及其认购价格或定价原则、认购数量或区间、限售期、附生效条件股份认购合同;募集资金数量、用途等);3)董事会决议经表决通过后,上市公司应当在2 个交易日内披露。
并编制非公开发行股票预案,作为董事会决议的附件,与董事会决议同时披露;4)发行涉及资产审计、评估或者上市公司盈利预测的,资产审计结果、评估结果和经审核的盈利预测报告至迟应随召开股东大会的通知同时公告;5)非公开发行股票在董事会决议公告后,如果涉及非公开发行股票股东大会决议有效期已过,发行方案发生变化等,应由董事会重新确定本次发行的定价基准日;在此阶段,可以搜集相关资料可进行股票的分析研究,制定投资的可行性分析报告。
说明:此阶段存在聘请中介机构的问题,上市公司进行定向增发需要聘请券商作为保荐人,进行重大资产重组需要聘请独立财务顾问,根据需要可以分别聘请中介机构,也可以只聘请一家中介机构(券商)。
定向增发的流程
定向增发只是⼀种形式,增发主体和客体不同,流程也有⼀些差异。
⽐如,上市公司向机构投资者定向发⾏股票以发展资⾦;上市公司实施股权激励,由上市公司向激励对象定向发⾏股票;上市公司向⼤股东定向发⾏股份,募集资⾦⽤来购买⼤股东的业务类资产,从⽽实现资产置换;或是⼤股东直接⽤资产来换上市公司股份,形式上仍然采⽤上市公司定向发⾏,等等。
定向增发的条件在新公司法和上市公司新股发⾏管理办法出台后,⽐较松。
具体的流程⼤致是:
⼀、公司有⼤体思路,与中国证监会初步沟通,获得⼤致认可;
⼆、公司召开董事会,公告定向增发预案,并提议召开股东⼤会;
三、公司召开股东⼤会,公告定向增发⽅案;将正式申报材料报中国证监会;
四、申请经中国证监会发审会审核通过,公司公告核准⽂件;
五、公司召开董事会,审议通过定向增发的具体内容,并公告;
六、执⾏定向增发⽅案;
七、公司公告发⾏情况及股份变动报告书。
定向增资申请流程(一般流程)第一篇:定向增资申请流程(一般流程)上海股交中心业务三部制作定向增资申请流程1、推荐机构会员对挂牌公司拟进行定向增资业务前,需提交定向增资预审材料(附件1);1)2)3)4)5)6)7)2、上海股交中心收到预审材料在五个工作日内进行审核,并反馈审核意见;3、挂牌公司与推荐机构会员确定定向增资方案(附件2),并在获公司董事会决议通过后的2个工作日内在上海股交中心公告定增方案、董事会决议和股东大会召开的通知;4、公司召开股东大会,审议通过定向增资方案等议案,并在2个工作日内公告;5、推荐机构会员出具尽职调查报告(附件3);推荐机构会员应对挂牌公司是否符合定向增资条件、定向增资的必要性,增资股份价格的合法性、合理性和公允性,募投项目资金需求量、可定向增资方案(草案);推荐机构会员立项报告;推荐机构会员项目小组成员;会计师事务所及其项目成员;资产评估事务所及其项目成员(必要时);律师事务所及其项目成员(必要时);上海股交中心要求的其他文件。
上海股交中心业务三部制作行性和收益前景等事项勤勉尽责地开展尽职调查工作,督促拟定向增资的挂牌公司及时披露信息并保证披露信息的真实、准确、完整。
6、推荐机构会员经内部审核后向上海股交中心报送如下申请文件(包括但不限于):1)、挂牌公司向上海股权托管交易中心提交的《关于进行定向增资的申请》(附件4)2)、挂牌公司定向增资方案3)、董事会、股东大会有关定向增资事项的决议及股东大会授权董事会处理有关事宜的决议4)、挂牌公司定向增资涉及国有资产管理、外资管理、环境保护、土地管理等事项,取得的有关部门批准文件5)、财务顾问与挂牌公司就定向增资事宜签订的协议(附件5)6)、挂牌公司定向增资尽职调查报告7)、挂牌公司最近一年或一期经审计的财务报告8)、挂牌公司盈利预测说明(附件6),盈利预测期间为定向增资完成当年及下一个会计年度9)、挂牌公司募投项目可行性研究报告10)、新增认购人与挂牌公司签订的以挂牌公司获得上海股权托管交易中心同意其定向增资为生效条件的认购协议(附件7)11)、新增认购人遵守认购协议条款,遵守《中华人民共和国公司法》和公司章程的规定,不损害所增资挂牌公司利益和该挂牌公司其他认购人利益的声明(附件8)上海股交中心业务三部制作12)、财务顾问自律情况说明和财务顾问、会计师事务所等中介机构对申请文件内容真实性、准确性和完整性的承诺(附件9)13)、财务顾问对挂牌公司定向增资申请文件电子文件与书面文件保持一致的声明(附件10)7、上海股交中心审核通过后,出具同意定向增资通知并公告;8、挂牌公司接到上海股交中心同意定向增资的通知之日的二个转让日内,发布公告和定向增资股份认购办法(附件11)。
一、前期阶段 1.1协商发行方案 1.2审查投资者适当性管理规定 1.3.发行人与发行对象签订附生效条件的股份认购协议
1.4召开董事会审议发行股份议案并披露 1.5召开监事会并披露监事会决议公告
1.6召开股东大会做出相关决议并公告
1.7披露股票发行认购公告
1.8发行对象缴款 二、材料制作阶段
2.1办理验资手续,出具验资报告
2.2准备发行情况报告书、法律意
见书、股票发行合法合规性意见
2.3制作申报材料和工作底稿 三、股转公司审核阶段
3.1向股转系统提交申报文件 3.2股转公司对材料进行形式审查 3.3股转系统认为不符合要求的,向公司出具问题清单 3.4中介机构对问题进行答复和解决
3.5全国股转公司出具股份登记函 四、中登公司办理登记阶段
4.1向中登公司申请办理股份登记 4.2中登公司进行股份登记并出具股份登记证明文件 4.3 公告相关文件 五、挂牌转让及后续阶段
5.1 按照挂牌转让公告中的时间公开转让 5.2备案后办理工商变更登记 新三板定向增资流程图。
一文看懂定向增发全部过程在上市公司公告中,关于定向增发的公告占了半数以上——上市公司大都通过定向增发圈钱,投资者对此也见怪不怪。
但这次证监会关于再融资的新规,让定向增发的很多细节浮现在投资者面前——这些细节让投资者意识到,定向增发并不是看上去那么简单。
从筹划到完成发行,一次定向增发往往需要长达一年左右的时间。
在这一年左右的时间里,上市公司会发布一堆公告,这些公告主要分为两大类——你能看懂的和你看不懂的。
仔细读完这篇关于定向增发的介绍,以后再看关于定向增发的消息时,就不会那么吃力了,还可以方便你跟踪一家上市公司的定向增发过程,便于把握投资机会。
非公开发行股票,现在也被成为定向增发,是上市公司向特定的对象发行股票的行为,是目前公司上市后再融资的主要方式之一。
上市公司搞定向增发的主要目的就是为了再融资——俗称圈钱。
圈钱以后办大事儿——例如上个新项目,研发新技术,收购其他公司之类的。
其中收购其他公司分为两种情况,一种是从别人那里圈到钱以后,直接拿钱去买那家公司;另一种是不必支付现金,直接向那家公司的所有者发行股份,使对方成为自己的股东——相当于以自己的股票换对方公司的所有权。
当然,也有圈钱后不办事儿的,例如有的上市公司圈完钱以后,把钱存银行或者买理财——这就有点不厚道了,相当于我把你的钱拿过来放到我余额宝里。
对于这种情况,证监会的定向增发新规是不允许的。
还有一种情况,证监会的定向增发新规不再允许——上市公司还有很多可以方便拿去换钱的物件儿,就别再来圈钱了,先拿自己的钱玩儿去吧。
这事儿跟去年罗尔事件有点相像——你既然有房子有地,就别去圈别人的钱了,有困难先自己解决,自己尽力之后再找组织解决。
整个定向增发主要分为三个阶段——筹备阶段、审议阶段、发行阶段。
这三个阶段涉及到上市公司管理层、上市公司股东、券商、评估机构、证监会审核机关、增发对象等等。
具体的流程如下——上面这些流程中,普通投资者应该关心的是定向增发获得资金的用途,定向增发的规模,定向增发的对象,定向增发的价格,以及定向增发是否被管理层审核通过。
新三板增发流程及政策解析新三板定向增发,又称新三板定向发行,是指申请挂牌公司、挂牌公司向特定对象发行股票的行为,其作为新三板股权融资的主要功能,对解决新三板挂牌企业发展过程中的资金瓶颈发挥了极为重要的作用。
一、新三板定向增发的优势及特点详见下图:(一)挂牌的同时可以进行定向发行。
《业务规则(试行)》4.3.5:“申请挂牌公司申请股票在全国股份转让系统挂牌的同时定向发行的,应在公开转让说明书中披露”,该条明确了企业在新三板挂牌的同时可以进行定向融资。
(二)小额融资豁免审批。
《监管办法》第42条规定:“公众公司向特定对象发行股票后股东累计不超过200人的,或者公众公司在12个月内发行股票累计融资额低于公司净资产的20%的,豁免向中国证监会申请核准,但发行对象应当符合本办法第36条的规定,并在每次发行后5个工作日内将发行情况报中国证监会备案。
”由此可见,挂牌公司必须在上述两个条件均突破时,才需要向证监会申请核准。
(三)定向增资无限售期要求。
最新的业务规则中不再对新三板增资后的新增股份限售期进行规定,除非定向增发对象自愿做出关于股份限售方面的特别约定,否则,定向增发的股票无限售要求,股东可随时转让。
二、新三板定向增发操作流程新三板定向增发总体流程包括以下五个环节:•审查投资者适当性管理规定•发行人与发行对象签订附生效条件的股份认购协议•召开董事会审议发行股份议案并披露•召开监事会并披露监事会决议公告•召开股东大会作出相关决议并公告•披露股票发行认购公告•发行对象缴款•律师事务所:出具法律意见书•券商:制作申报材料和工作底稿•股转系统认为不符合要求的,向公司出具问题清单•中介机构对问题进行答复和解决•中登公司进行股份登记并出具股份登记证明文件•备案后办理工商变更登记注:1、挂牌公司在取得股份登记函之前,不得使用本次股票发行募集的资金2、发行后累计股东人数应不超过200人,若超过200人需向证监会报送审核材料。
资产管理业务流程图一、立项流程:
二、合同预审流程:
Start
三、合同审批流程:
End
注:○1项目立项过程:各分支机构通过工作备忘录形式提交立项申请资料,包括但不限于立项申请表、项目风险评估表、定向资产管理合同以及相关投资合同资料;资产管理总部对立项提出反馈意见。
○2
合同预审过程:由资产管理总部通过工作备忘录形式发至清算托管总部、风险监督总部、合规管理总部,由这三个部门进行合同预审,并提出修改意见。
○3合同审批流程:资产管理总部承做项目,并通过工作呈批表发起合同审批盖章流程。
增资扩股流程图注:虚线的箭头和方框内容为或有程序,非必经程序。
一、受理增资申请注1:增资方案的必备条款详见《上海联合产权交易所增资业务规则(试行)》(以下简称《增资规则》)第八条之规定;注2:根据《上海市国资委关于本市贯彻落实《国务院办公厅转发国资委关于进一步规范国有企业改制工作实施意见的通知》的意见(试行)》(沪国资委产[2006]428号)第五条之规定,“市国资委出资监管单位改制方案由市国资委制定,报市政府批准后组织实施。
市国资委出资监管单位所属国有及国有控股子企业的改制方案由市国资委出资监管单位负责审批,并报市国资委备案”;注3:需要随同《增资申请书》一并提交的资料详见《增资规则》第十条之规定。
二、发布增资意向及登记投资意向注4:《增资意向信息发布公告》的必备条款详见《增资规则》第14条之规定;注5:根据《增资规则》第18条,投资人应提交如下材料:1、投资意向登记书(内含《承诺书》、《参与意向增资申请表》《受托机构意见》10个工作日≤T等);2、投资意向主体资格文件,包括企业法人营业执照、公司章程等;3、拟参与增资的内部决策或批准文件;4、符合增资条件的证明文件;5、与受托机构签订的委托协议;6、其他需要的材料。
三、确定增资方注6:根据向联交所的电话咨询,保证金最低金额为挂牌金额的30%。
四、工商变更注7:根据上海市工商局网站公布的提交材料清单,应提交以下材料:(1)公司法定代表人签署的《公司变更登记申请书》(公司加盖公章);(2)有限责任公司签署的《公司变更登记附表--股东出资信息》(公司加盖公章);(3)公司签署的《指定代表或者共同委托代理人的证明》(公司加盖公章)及指定代表或委托代理人的身份证件复印件;(4)关于公司增加注册资本的决议或者决定;(5)修改后的公司章程或者公司章程修正案(公司法定代表人签署);(6)依法设立的验资机构出具的验资证明;(7)以股权出资的,提交《股权认缴出资承诺书》;(8)法律、行政法规和国务院决定规定变更注册资本必须报经批准的,提交有关的批准文件或者许可证书复印件;(9)公司营业执照。
定向增发的程序
定向增发是一种公司获取资金的方式,通过向特定的投资者发行新股份来募集资金。
下面是定向增发的程序:
1. 决定定向增发计划并制定方案。
2. 暂停股票交易并公告定向增发的基本情况,包括增发金额、发行价格、发行对象等信息。
3. 投资者提交认购申请并缴纳认购款。
4. 公司审核认购资格和认购申请,并确定发行价格。
5. 公司完成股份发行,将认购款转入公司账户。
6. 申请恢复股票交易。
需要注意的是,定向增发的程序可能会因公司情况而有所不同,投资者在参与时需要了解并遵守相关规定。
- 1 -。