现场组织机构框图及说明最新版本
- 格式:docx
- 大小:37.96 KB
- 文档页数:5
施工现场质量管理组织机构网络图项目部项目经理:朱小香技术负责人:刘年康现场负责人:邱扬名施预质安资材财安工算检全料料全员员员员员员务员::::::::薛蔡朱张钟龚朱王继登利学克柏夏春坤友胜龙卫林燕各专业班组长施工组施工组施工组施工组施工组施工单位:江苏农垦建设有限公司现场组织机构框图说明公司在施工现场建立项目经理部。
由公司法定代表人拜托项目经理全权管理项目部。
项目经理部同时接受公司各业务部门的指导、监察、检查和查核。
项目经理部设置项目技术负责人(工程师)负责工程项目施工组织设计,施工技术和质量控制工作,同时设现场负责人,负责施工现场的管理。
项目经理手下设:项目经理,全面负责工程,组织率领项目部人员、班组进步行学习,保证工程质量、进度,圆满达成工程。
技术负责人 , 指导敦促现场人员搞好工程的质量、安全检查,参加质量事故的检查、剖析及办理。
全面负责工程项目施工组织设计,施工技术和质量控制工作。
施工员,负责施工现场所放线,定位,标高复核等施工技术详细工作。
将施工工艺、质量要求向施工班组交底。
资料员负责工程原料,资料,工具,构配件的订货,供给,运输查完工作。
安全员,负责安全技术举措的编制及安全生产的各项规章制度的落实工作。
质检员,负责进场的原资料,配件,构件,衡器的送检,查验,测试等工作。
资料员,负责记录施工全过程的各种资料的采集,采集并分类组卷,成立与竣薪资料目录符合的资料档案。
总部与现场管理部门之间的关系项目经理责任制一、总则1.公司在进行施工项目管理时,推行项目经理责任制。
2.公司应办理好公司管理层、项目管理层和劳务作业层的关系,并在“项目管理目标责任书”中明确项目经理的责任、权利和利益。
3.公司管理层的管理活动应切合以下规定:① 公司管理层应拟订和健全施工项目管理制度,规范项目管理。
② 公司管理层应增强计划管理,保持资源的合理散布和有序流动,并为项目生产因素的优化配置和动向管理服务。
③ 公司管理层应付项目管理层的工作进行全过程指导、监察和检查。
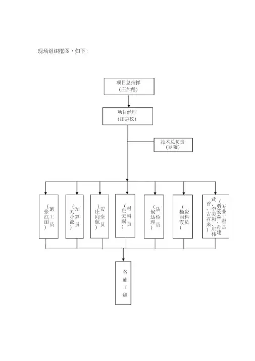
现场组织框图,如下:现场组织框图文字详述项目组织管理机构的设置原则1、目的性原则根据本工程概况所设置的项目组织管理机构,其目的是为了产生组织功能,实现施工项目管理的总目标,严格履行工程合同,按照“三控两管一协调”(即进度控制、质量控制、成本控制,合同管理、信息管理,组织协调)的内容,进行全方位、全过程的施工管理,从这一根本目标出发,就会因目标设事,因事设机构定编制,按编制设岗位定人员,以职责定任务授权力。
2、精干高效原则施工项目组织机构的人员设置,以能实现施工项目所要求的工作任务(事)为原则,尽量简化机构,做到精干高效。
人员配置要从严控制二、三线人员,杜绝人浮于事,力求一专多能、一人多职。
同时还要增加项目管理班子人员的知识含量,着眼于使用和绩效相结合,以提咼项目施工水平、质量、效益。
3、管理跨度和分层统一的原则管理跨度亦称管理幅度,是指每一个主管人员直接管理的下层人员数量。
管理跨度大,所接触的人员关系就多,处理人与人、人与事的关系数量相应就多,反之则少。
组织机构设计时,必须有一个适当的管理跨度。
然而管理跨度又与职能分层有关。
因此不难理解:层数多,跨度就小;层数少,跨度会大。
这就要根据领导者的个人能力和施工项目的大小进行权衡。
本组织机构在设计时,因对根据本工程的工作量和所牵涉到的专业内容加以考虑,其人员设置是相当有针对性的。
4、业务系统化管理原则由于根据本工程的施工项目是一个相对开放的系统,由众多户型(子系统)组成,一个大系统,各个子系统之间、子系统内部各个单位工程之间,不同组织、工种、工序之间,存在这大量的结合部,故项目组织的形成必须是一个完整的组织机构系统,恰当地分层和设置管理部门,以便在结合部上能形成一个相互协调、相互联系、相互制约的有机整体,防止产生职能分工、权限划分和信息沟通上的相互矛盾或重叠。
使项目管理自始至终围绕总目标实行合理分工及整体协作。
项目经理任务及职责1、施工项目经理的任务项目经理的任务与职责主要包括两个方面:一是要保证施工项目按照规定的目标高速、优质、低耗的全面完成;另一方面是保证各个生产要素在项目经理授权范围内做到最大限度的优化配置,具体讲有以下几项:(1)确定项目管理组织机构的构成并配备人员,制订规章制度, 明确有关人员职责、组织项目经理部开展工作;(2)确定管理总目标和阶段目标,并对目标进行分解,制订总体控制计划,确保项目施工交验成功;(3)及时适当的做出项目管理决策,包括投标报价决策、人事任免决策、重大技术组织措施决策、财务工作决策、资源调配决策、进度决策、合同签定及变更决策等,同时对合同执行进行严格管理;(4)协调本组织机构与各协作单位之间的协作配合及经济、技术关系,代表企业法人进行有关签证,并进行相互监督、检查,确保质量、工期、成本控制和节约;(5)建立完善的内部及对外信息管理系统;(6)实施合同,处理好合同变更、洽商、纠纷和索赔,处理好与业主之间的合同关系,搞好与有关单位之间的协作配合,搞好与建设单位、总包单位、监理单位等的相互监督。
现场组织框图,如下:现场组织框图文字详述项目组织管理机构的设置原则1、目的性原则根据本工程概况所设置的项目组织管理机构,其目的是为了产生组织功能,实现施工项目管理的总目标,严格履行工程合同,按照“三控两管一协调”(即进度控制、质量控制、成本控制,合同管理、信息管理,组织协调)的内容,进行全方位、全过程的施工管理,从这一根本目标出发,就会因目标设事,因事设机构定编制,按编制设岗位定人员,以职责定任务授权力。
2、精干高效原则施工项目组织机构的人员设置,以能实现施工项目所要求的工作任务(事)为原则,尽量简化机构,做到精干高效。
人员配置要从严控制二、三线人员,杜绝人浮于事,力求一专多能、一人多职。
同时还要增加项目管理班子人员的知识含量,着眼于使用和绩效相结合,以提高项目施工水平、质量、效益。
3、管理跨度和分层统一的原则管理跨度亦称管理幅度,是指每一个主管人员直接管理的下层人员数量。
管理跨度大,所接触的人员关系就多,处理人与人、人与事的关系数量相应就多,反之则少。
组织机构设计时,必须有一个适当的管理跨度。
然而管理跨度又与职能分层有关。
因此不难理解:层数多,跨度就小;层数少,跨度会大。
这就要根据领导者的个人能力和施工项目的大小进行权衡。
本组织机构在设计时,因对根据本工程的工作量和所牵涉到的专业内容加以考虑,其人员设置是相当有针对性的。
4、业务系统化管理原则由于根据本工程的施工项目是一个相对开放的系统,由众多户型(子系统)组成,一个大系统,各个子系统之间、子系统内部各个单位工程之间,不同组织、工种、工序之间,存在这大量的结合部,故项目组织的形成必须是一个完整的组织机构系统,恰当地分层和设置管理部门,以便在结合部上能形成一个相互协调、相互联系、相互制约的有机整体,防止产生职能分工、权限划分和信息沟通上的相互矛盾或重叠。
使项目管理自始至终围绕总目标实行合理分工及整体协作。
项目经理任务及职责1、施工项目经理的任务项目经理的任务与职责主要包括两个方面:一是要保证施工项目按照规定的目标高速、优质、低耗的全面完成;另一方面是保证各个生产要素在项目经理授权范围内做到最大限度的优化配置,具体讲有以下几项:(1)确定项目管理组织机构的构成并配备人员,制订规章制度,明确有关人员职责、组织项目经理部开展工作;(2)确定管理总目标和阶段目标,并对目标进行分解,制订总体控制计划,确保项目施工交验成功;(3)及时适当的做出项目管理决策,包括投标报价决策、人事任免决策、重大技术组织措施决策、财务工作决策、资源调配决策、进度决策、合同签定及变更决策等,同时对合同执行进行严格管理;(4)协调本组织机构与各协作单位之间的协作配合及经济、技术关系,代表企业法人进行有关签证,并进行相互监督、检查,确保质量、工期、成本控制和节约;(5)建立完善的内部及对外信息管理系统;(6)实施合同,处理好合同变更、洽商、纠纷和索赔,处理好与业主之间的合同关系,搞好与有关单位之间的协作配合,搞好与建设单位、总包单位、监理单位等的相互监督。
施工现场质量、安全管理组织机构网络图施工单位:南京大地建设集团责任有限公司项 目 部技术负责人:郭项 目 经 理:单伟预算员: 质检员 :资料员: 安全员:财 务:鲁材料员:各专业班施施施施施安全员:施工员:现场负责人: 缪现场组织机构框图说明公司在施工现场设立项目经理部。
由企业法定代表人委托项目经理全权管理项目部。
项目经理部同时接受公司各业务部门的指导、监督、检查和考核。
项目经理部设置项目技术负责人(工程师)负责工程项目施工组织设计,施工技术和质量控制工作,同时设现场负责人,负责施工现场的管理。
项目经理部下设:项目经理,全面负责工程,组织带领项目部人员、班组长进行学习,确保工程质量、进度,完满完成工程。
技术负责人,指导督促现场人员搞好工程的质量、安全检查,参与质量事故的调查、分析及处理。
全面负责工程项目施工组织设计,施工技术和质量控制工作。
施工员,负责施工现场地放线,定位,标高复核等施工技术具体工作。
将施工工艺、质量要求向施工班组交底。
材料员负责工程原料,材料,工具,构配件的订货,供应,运输验收工作。
安全员,负责安全技术措施的编制及安全生产的各项规章制度的落实工作。
质检员,负责进场的原材料,配件,构件,衡器的送检,检验,测试等工作。
资料员,负责记录施工全过程的各类资料的收集,采集并分类组卷,建立与竣工资料目录相符的资料档案。
总部与现场管理部门之间的关系项目经理责任制一、总则1.企业在进行施工项目管理时,实行项目经理责任制。
2.企业应处理好企业管理层、项目管理层和劳务作业层的关系,并在“项目管理目标责任书”中明确项目经理的责任、权力和利益。
3.企业管理层的管理活动应符合下列规定:①企业管理层应制定和健全施工项目管理制度,规范项目管理。
②企业管理层应加强计划管理,保持资源的合理分布和有序流动,并为项目生产要素的优化配置和动态管理服务。
③企业管理层应对项目管理层的工作进行全过程指导、监督和检查。
4. 项目管理层应做好资源的优化配置和动态管理,执行和负责从企业管理层对项目管理工作的监督检查和宏观调控。
现场组织框图,如下:(张红丽)现场组织框图文字详述项目组织管理机构设立原则1、目性原则依照本工程概况所设立项目组织管理机构,其目是为了产生组织功能,实现施工项目管理总目的,严格履行工程合同,按照“三控两管一协调”(即进度控制、质量控制、成本控制,合同管理、信息管理,组织协调)内容,进行全方位、全过程施工管理,从这一主线目的出发,就会因目的设事,因事设机构定编制,按编制设岗位定人员,以职责定任务授权力。
2、精干高效原则施工项目组织机构人员设立,以能实现施工项目所规定工作任务(事)为原则,尽量简化机构,做到精干高效。
人员配备要从严控制二、三线人员,杜绝人浮于事,力求一专多能、一人多职。
同步还要增长项目管理班子人员知识含量,着眼于使用和绩效相结合,以提高项目施工水平、质量、效益。
3、管理跨度和分层统一原则管理跨度亦称管理幅度,是指每一种主管人员直接管理下层人员数量。
管理跨度大,所接触人员关系就多,解决人与人、人与事关系数量相应就多,反之则少。
组织机构设计时,必要有一种恰当管理跨度。
然而管理跨度又与职能分层关于。
因而不难理解:层数多,跨度就小;层数少,跨度会大。
这就要依照领导者个人能力和施工项目大小进行权衡。
本组织机构在设计时,因对依照本工程工作量和所牵涉到专业内容加以考虑,其人员设立是相称有针对性。
4、业务系统化管理原则由于依照本工程施工项目是一种相对开放系统,由众多户型(子系统)构成,一种大系统,各个子系统之间、子系统内部各个单位工程之间,不同组织、工种、工序之间,存在这大量结合部,故项目组织形成必要是一种完整组织机构系统,恰本地分层和设立管理部门,以便在结合部上能形成一种互相协调、互相联系、互相制约有机整体,防止产生职能分工、权限划分和信息沟通上互相矛盾或重叠。
使项目管理自始至终环绕总目的实行合理分工及整体协作。
项目经理任务及职责1、施工项目经理任务项目经理任务与职责重要涉及两个方面:一是要保证施工项目按照规定目的高速、优质、低耗全面完毕;另一方面是保证各个生产要素在项目经理授权范畴内做到最大限度优化配备,详细讲有如下几项:(1)拟定项目管理组织机构构成并配备人员,制定规章制度,明确关于人员职责、组织项目经理部开展工作;(2)拟定管理总目的和阶段目的,并对目的进行分解,制定总体控制筹划,保证项目施工交验成功;(3)及时恰当做出项目管理决策,涉及投标报价决策、人事任免决策、重大技术组织办法决策、财务工作决策、资源调配决策、进度决策、合同签定及变更决策等,同步对合同执行进行严格管理;(4)协调本组织机构与各协作单位之间协作配合及经济、技术关系,代表公司法人进行关于签证,并进行互相监督、检查,保证质量、工期、成本控制和节约;(5)建立完善内部及对外信息管理系统;(6)实行合同,解决好合同变更、洽商、纠纷和索赔,解决好与业主之间合同关系,搞好与关于单位之间协作配合,搞好与建设单位、总包单位、监理单位等互相监督。
现场组织机构框图现场组织机构框图说明公司在施工现场设立项目经理部。
由企业法定代表人委托项目经理全权管理项目部。
项目经理部同时接受公司各业务部门的指导、监督、检查和考核。
项目经理部设置职能部门、配备各专职岗位人员对工程项目的各类目标进行分析落实,管理控制。
项目经理部设下述专职岗位人员:项目经理:全面负责工程施工的实施,组织带领项目部人员、班组长进行学习,确保工程质量、进度、成本等各项目标的实现,圆满完成工程施工。
技术负责人:指导督促现场人员搞好工程的质量、安全检查,参与质量事故的调查、分析及处理。
全面负责制订工程项目施工组织设计及专项施工方案,负责施工技术和质量控制工作。
施工员:贯彻执行项目经理、技术负责人的工作安排,负责施工现场地放线,定位,标高复核等施工技术具体工作和日常施工的协调安排。
将施工工艺、质量要求向施工班组交底。
材料员:负责工程工具、构配件的订货,供应,运输验收工作。
安全员:参与安全技术措施的编制,负责制订工地安全管理规定,及落实安全生产的各项法律法规、规章制度。
质检员:负责对进场的原材料、配件、构件及施工质量,进行质量检查验收工作,对衡器安规定送检,检验,测试等工作。
资料员:负责记录、收集、整理施工全过程的各类资料,采集并分类组卷,建立与竣工资料目录相符的资料档案。
总部与现场管理部门之间的关系项目经理责任制一、总则1.企业在进行施工项目管理时,实行项目经理责任制。
2.企业应处理好企业管理层、项目管理层和劳务作业层的关系,并在“项目管理目标责任书”中明确项目经理的责任、权力和利益。
3.企业管理层的管理活动应符合下列规定:①企业管理层应制订项目管理目标和健全施工项目法管理制度,规范项目管理。
②企业管理层应加强计划管理,保持资源的合理分布和有序流动,并为项目生产要素的优化配置和动态管理服务。
③企业管理层应对项目管理层的工作进行全过程指导、监督和检查。
④项目管理层应做好资源的优化配置和动态管理,接受企业管理层对项目管理工作的监督检查和宏观调控。
根据本工程概况所设置得项目组织管理机构,其目得就是为了产生组织功能,实现施工项目管理得总目标,严格履行工程合同,按照“三控两管一协调”(即进度控制、质量控制、成本控制,合同管理、信息管理,组织协调)得内容,进行全方位、全过程得施工管理,从这一根本目标出发,就会因目标设事,因事设机构定编制,按编制设岗位定人员,以职责定任务授权力。
2、精干高效原则施工项目组织机构得人员设置,以能实现施工项目所要求得工作任务(事)为原则,尽量简化机构,做到精干高效。
人员配置要从严控制二、三线人员,杜绝人浮于事,力求一专多能、一人多职。
同时还要增加项目管理班子人员得知识含量,着眼于使用与绩效相结合,以提高项目施工水平、质量、效益。
3、管理跨度与分层统一得原则管理跨度亦称管理幅度,就是指每一个主管人员直接管理得下层人员数量。
管理跨度大,所接触得人员关系就多,处理人与人、人与事得关系数量相应就多,反之则少。
组织机构设计时,必须有一个适当得管理跨度。
然而管理跨度又与职能分层有关。
因此不难理解:层数多,跨度就小;层数少,跨度会大。
这就要根据领导者得个人能力与施工项目得大小进行权衡。
本组织机构在设计时,因对根据本工程得工作量与所牵涉到得专业内容加以考虑,其人员设置就是相当有针对性得。
4、业务系统化管理原则由于根据本工程得施工项目就是一个相对开放得系统,由众多户型(子系统)组成,一个大系统,各个子系统之间、子系统内部各个单位工程之间,不同组织、工种、工序之间,存在这大量得结合部,故项目组织得形成必须就是一个完整得组织机构系统,恰当地分层与设置管理部门,以便在结合部上能形成一个相互协调、相互联系、相互制约得有机整体,防止产生职能分工、权限划分与信息沟通上得相互矛盾或重叠。
使项目管理自始至终围绕总目标实行合理分工及整体协作。
项目经理任务及职责1、施工项目经理得任务项目经理得任务与职责主要包括两个方面:一就是要保证施工项目按照规定得目标高速、优质、低耗得全面完成;另一方面就是保证各个生产要素在项目经理授权范围内做到最大限度得优化配置,具体讲有以下几项:(1)确定项目管理组织机构得构成并配备人员,制订规章制度,明确有关人员职责、组织项目经理部开展工作;(2)确定管理总目标与阶段目标,并对目标进行分解,制订总体控制计划,确保项目施工交验成功;(3)及时适当得做出项目管理决策,包括投标报价决策、人事任免决策、重大技术组织措施决策、财务工作决策、资源调配决策、进度决策、合同签定及变更决策等,同时对合同执行进行严格管理;(4)协调本组织机构与各协作单位之间得协作配合及经济、技术关系,代表企业法人进行有关签证,并进行相互监督、检查,确保质量、工期、成本控制与节约;(5)建立完善得内部及对外信息管理系统;(6)实施合同,处理好合同变更、洽商、纠纷与索赔,处理好与业主之间得合同关系,搞好与有关单位之间得协作配合,搞好与建设单位、总包单位、监理单位等得相互监督。
现场组织机构框图现场组织机构框图说明公司在施工现场设立项目经理部。
由企业法定代表人委托项目经理全权管理项目部。
项目经理部同时接受公司各业务部门的指导、监督、检查和考核。
项目经理部设置项目技术负责人(工程师)负责工程项目施工组织设计,施工技术和质量控制工作,同时设现场负责人,负责施工现场的管理。
项目经理部下设:项目经理,全面负责工程,组织带领项目部人员、班组长进行学习,确保工程质量、进度,完满完成工程。
技术负责人,指导督促现场人员搞好工程的质量、安全检查,参与质量事故的调查、分析及处理。
全面负责工程项目施工组织设计,施工技术和质量控制工作。
施工员,负责施工现场地放线,定位,标高复核等施工技术具体工作。
将施工工艺、质量要求向施工班组交底。
材料员负责工程原料,材料,工具,构配件的订货,供应,运输验收工作。
安全员,负责安全技术措施的编制及安全生产的各项规章制度的落实工作。
质检员,负责进场的原材料,配件,构件,衡器的送检,检验,测试等工作。
资料员,负责记录施工全过程的各类资料的收集,采集并分类组卷,建立与竣工资料目录相符的资料档案。
总部与现场管理部门之间的关系项目经理责任制一、总则1.企业在进行施工项目管理时,实行项目经理责任制。
2.企业应处理好企业管理层、项目管理层和劳务作业层的关系,并在“项目管理目标责任书”中明确项目经理的责任、权力和利益。
3.企业管理层的管理活动应符合下列规定:①企业管理层应制定和健全施工项目管理制度,规范项目管理。
②企业管理层应加强计划管理,保持资源的合理分布和有序流动,并为项目生产要素的优化配置和动态管理服务。
③企业管理层应对项目管理层的工作进行全过程指导、监督和检查。
4. 项目管理层应做好资源的优化配置和动态管理,执行和负责从企业管理层对项目管理工作的监督检查和宏观调控。
4.企业管理层与劳务作业层应签订劳务分包合同。
项目管理层与劳务作业层应建立共同履行劳务分包合同的关系。
二、项目经理1.项目经理应根据企业法定代表人授权的范围、时间和内容,对施工项目自开工准备至竣工验收,实施全过程、全面管理。
施工现场质量管理组织机构网络图施工单位:江苏农垦建设有限公司现场组织机构框图说明公司在施工现场设立项目经理部。
由企业法定代表人委托项目经理全权管理项目部。
项目经理部同时接受公司各业务部门的指导、监督、检查和考核。
项目经理部设置项目技术负责人(工程师)负责工程项目施工组织设计,施工技术和质量控制工作,同时设现场负责人,负责施工现场的管理。
项目经理部下设:项目经理,全面负责工程,组织带领项目部人员、班组长进行学习,确保工程质量、进度,完满完成工程。
技术负责人,指导督促现场人员搞好工程的质量、安全检查,参与质量事故的调查、分析及处理。
全面负责工程项目施工组织设计,施工技术和质量控制工作。
施工员,负责施工现场地放线,定位,标高复核等施工技术具体工作。
将施工工艺、质量要求向施工班组交底。
材料员负责工程原料,材料,工具,构配件的订货,供应,运输验收工作。
安全员,负责安全技术措施的编制及安全生产的各项规章制度的落实工作。
质检员,负责进场的原材料,配件,构件,衡器的送检,检验,测试等工作。
资料员,负责记录施工全过程的各类资料的收集,采集并分类组卷,建立与竣工资料目录相符的资料档案。
总部与现场管理部门之间的关系项目经理责任制一、总则1.企业在进行施工项目管理时,实行项目经理责任制。
2.企业应处理好企业管理层、项目管理层和劳务作业层的关系,并在“项目管理目标责任书”中明确项目经理的责任、权力和利益。
3.企业管理层的管理活动应符合下列规定:①企业管理层应制定和健全施工项目管理制度,规范项目管理。
②企业管理层应加强计划管理,保持资源的合理分布和有序流动,并为项目生产要素的优化配置和动态管理服务。
③企业管理层应对项目管理层的工作进行全过程指导、监督和检查。
4. 项目管理层应做好资源的优化配置和动态管理,执行和负责从企业管理层对项目管理工作的监督检查和宏观调控。
4.企业管理层与劳务作业层应签订劳务分包合同。
项目管理层与劳务作业层应建立共同履行劳务分包合同的关系。
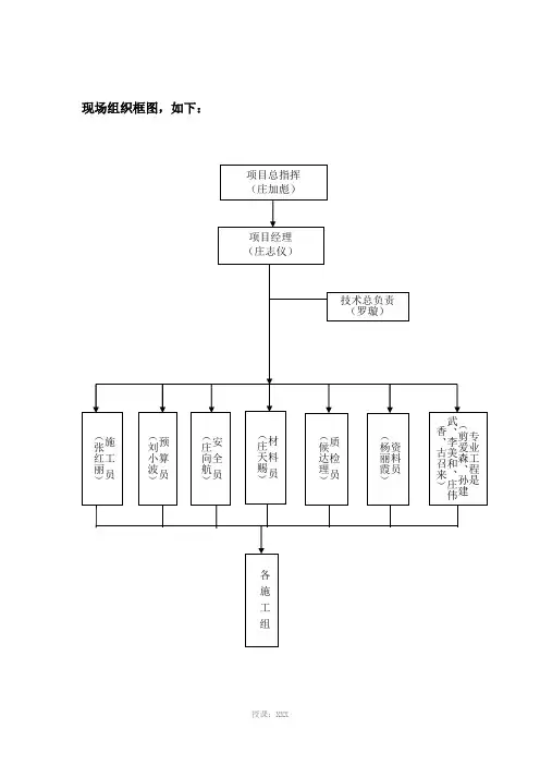
现场组织机构框图
现场组织机构框图说明
公司在施工现场设立项目经理部。
由企业法定代表人委托项目经理全权管理项目部。
项目经理部同时接受公司各业务部门的指导、监督、检查和考核。
项目经理部设置职能部门、配备各专职岗位人员对工程项目的各类目标进行分析
落实,管理控制。
项目经理部设下述专职岗位人员:
项目经理:全面负责工程施工的实施,组织带领项目部人员、班组长进行学习,
确保工程质量、进度、成本等各项目标的实现,圆满完成工程施工。
技术负责人:指导督促现场人员搞好工程的质量、安全检查,参与质量事故
的调
查、分析及处理。
全面负责制订工程项目施工组织设计及专项施工方案,负责施工技术和质量控制工作
技术员:负责公司全面技术工作,协助经理完成工程技术管理工作任务。
施工员:贯彻执行项目经理、技术负责人的工作安排,负责施工现场地放线,定位,标高复核等施工技术具体工作和日常施工的协调安排。
将施工工艺、质量要求向施工班组交底。
材料员:负责工程工具、构配件的订货,供应,运输验收工作。
安全员:参与安全技术措施的编制,负责制订工地安全管理规定,及落实安全生产的各项法律法规、规章制度。
质检员:负责对进场的原材料、配件、构件及施工质量,进行质量检查验收工作,对衡器安规定送检,检验,测试等工作。
资料员:负责记录、收集、整理施工全过程的各类资料,采集并分类组卷,建立与竣工资料目录相符的资料档案。
统计员:负责对各有关部门报生产部的统计报表的真实性进行复核。
负责向上级或对外填报各种统计报表,并报部门经理审核及有关主管领导审批。
对报出的各种统计数据的真实性、准确性、及时性负主要责任。
预算员:能够熟悉掌握国家的法律法规及有关工程造价的管理规定,精通本专业理论知识,熟悉工程图纸,掌握工程预算定额及有关政策规定,为正确编制和审核预算奠定基础。
总部与现场管理部门之间的关系详述
项目监理部的总监理工程师则是由总公司选派,由总公司向其下达“项目目标管理责任书”。
项目部在总公司授权范围内,对本项目的成本核算、财务管理以及
工程质量、安全、进度、文明施工等负全部的责任,并行使以下职权:一是人事管理自主权。
项目都有权自主决定其管理班子的配各,项目总监可以在公司内部人才市场自行选聘所需的各类经济技术人员,并与其签定聘用协议;项目总监有权对项目部成员的工作情况进行考核、奖惩,对聘用期间不能胜任工作的,可依据聘用协议的有关约定予以解聘。
二是作业队伍选择自主权。
监理部承接施工项目后,可以在公司内部劳务市场,采用招标方式择优自主选择作业队伍。
作业队伍选定后,必须先签定用工协议,后进场施工。
在施工过程中,对不能满足项目要求的,监理部有权依据有关约定予以清退
三是项目资金使用自主权。
各监理部都在公司内部银行设立独立的资金帐户,在保证按“项目目标管理责任书”的有关约定完成各项上缴费用的前提下,监理部对其帐户下的工程款拥有完全的自主使用权,公司不得无故拆借、挪用和截留,对确需拆借的,必须通过协商方式,事先征得项目部同意。
四是项目经营自主权。
在公司授权范围内,项目都有权与业主及有关单位部门洽谈施工合同及设计变更、工期顺延、工程索赔等相关事宜;按照《项目目标管理责任书》的要求,监理部拥有承建项目的施工生产指挥权、技术质量管理权、施工进度控制权、建筑材料采购权以及项目成本核算等权力;监理部有权自主决定完成各项承包指标后施工项目剩余利润的分配和本监理部成员的薪酬及奖励办法。