设备事故处理流程图
- 格式:doc
- 大小:63.50 KB
- 文档页数:1
. 矿井事故处理流程图矿山救护程序一、事故报告:矿山发生灾害事故后,现场人员必须立即汇报,在安全条件下积极组织抢救,否则应立即撤离至安全地点或妥善避难。
企业负责人接到事故报告后,应立即启动应急预案,组织抢救。
二、救护队出动:救护队接到事故报告后,应在问清和记录事故地点、时间、类别、遇险人数、通知人姓名(联系人电话)及单位后,立即发出警报,并向值班指挥员报告。
救护队接警后必须在1min内出动,不需乘车出动时,不得超过2min;按照事故性质携带所需救护装备迅速赶赴事故现场。
当矿山发生火灾、瓦斯或矿尘爆炸,煤与瓦斯突出等事故时,待机小队应随同值班小队出动。
救护队出动后,应向主管单位及上一级救护管理部门报告出动情况。
在途中得知矿山事故已经得到处理,出动救护队仍应到达事故矿井了解实际情况。
在救援指挥部未成立之前,先期到达的救护队应根据事故现场具体情况和矿山灾害事故应急救援预案,开展先期救护工作。
救护队到达事故矿井后,救护人员应立即做好战前检查,按事故类别整理好所需装备,做好救护准备;根据抢救指挥部命令组织灾区侦查、制定救援方案、实施救护。
救护队指挥员了解事故情况、接受任务后应立即向小队下达任务,并说明事故情况、完成任务要点、措施及安全注意事项。
救护队的任务一、抢救矿山遇险遇难人员。
二、处理矿山灾害事故。
三、参加排放瓦斯、震动性爆破、启封火区、反风演习和其他需要佩用氧气呼吸器作业的安全技术性工作。
四、参加审查矿山应急预案或灾害预防处理计划,做好矿山安全生产预防性检查,参与矿山安全检查和消除事故隐患的工作。
五、负责兼职矿山救护队的培训和业务指导工作。
六、协助矿山企业搞好职工自救、互救和现场急救知识的普及教育。
救护指战员的一般职责一、热爱矿山救护工作,全心全意为矿山安全生产服务。
二、加强体质锻炼和业务技术学习,适应矿山救护工作素质需要。
三、自觉遵守有关安全生产法律、法规、标准和规定。
四、爱护救护仪器装备,做好仪器装备的维修保养,使其保持完好。
配电室事故应急预案流程图突然停电
外网停电
值班人员查明原因
联系供电方询问原因
设备停电
值班人员查明原因
通知班长、总值班
并组织抢修
配电室室内突发事故处理
短路发生起火(小火)
值班人员
拉开故障开关并通
知班长
用灭火器扑救
扑灭后由班长
组织抢修
大发生水浸
火
值班人员迅速用
沙袋堵住配电室
各个门口
拉开故障开关并通
知班长、总值班及
通知班长、总
主管科长等到达
值班及主管科长
现场
到达现场
必要时断开有
关设备电源,防
止事故扩大
总值班做好解释工作
抢修恢复正常
后,经检测后
送电按《消防报警应急抢修恢复正处理规程》执行常后,经检操作测后送电
恢复供电并做好记录
调查事故原因,作详细事故报告,做好善后工作。
智慧应用电梯紧急应急处理流程图预演方案设计单位:建设单位:编制日期:目录第一章总则 (5)1.1. 应急流程图 (5)1.2. 编制目的 (5)1.3. 适用范围 (6)1.4. 一般原则 (6)第二章事故定级 (7)第三章事故应急处理 (8)3.1. 预警和预防机制 (8)3.2. 启动应急程序 (8)3.3. 应急援救通讯 (9)3.4. 紧急处置 (9)第四章应急救援方案 (11)4.1. 发生火灾时 (11)4.2. 乘客被困时 (11)4.3. 电梯进水时 (13)4.4. 应急处理结束 (15)第五章组织措施和技术保障 (16)5.1. 应急领导小组 (16)5.2. 组长职责 (16)5.3. 副组长职责 (16)5.4. 其他成员职责 (16)5.5. 应急领导小组职责 (17)第六章事故预案演练 (18)6.1. 演练目的 (18)6.2. 基本类型 (18)6.3. 演练周期 (18)6.4. 演练评价 (18)6.5. 预案修编 (19)第七章配套附件 (20)第一章 总则1.1. 应急流程图1.2. 编制目的为了进一步加强电梯管理工作,提升本单位应对电梯运行使用中各类意外事件造成的伤人和困人事件的能力,规范本单位应急救援预案的具体实施,建立健全电梯乘客事故应急体系,规范本单位对伤人和困人事故应急处置工作,有效预防、及时控制和消除电梯伤人和困人事故的危害,特制定本预案。
电梯管理员动力中心(2841)乘客 火灾:119(120)管工值班配电值班 电梯维保公司 协调单位楼层值班保安1.3. 适用范围本预案适用于电梯发生运行事故时的应急救援工作。
适用于本单位内的电梯突然发生的造成或可能造成人身安全和财物损失的事故。
1.4. 一般原则1. 当电梯发生电气及机械故障时要避免事故的延伸、发展和扩大,保证人身和设备安全。
及时通知维保单位尽快排除故障,恢复电梯正常运行。
减少对学校教学、科研工作使用电梯正常运转的影响。
质量问题事故处理(含流程图)一、目的分析事故原因,落实处理措施,消除质量缺陷和隐患,保证施工的正常进行。
二、范围本程序适用于工程施工阶段工程质量事故的处理。
三、定义和术语质量问题:质量较差、造成直接经济损失(包括修复费用)在20 万以下。
一般质量事故:质量低劣或达不到质量标准,需要加固修补,直接直接经济损失(包括修复费用)在20-300 万之间的事故。
根据《关于做好房屋建筑和市政基础设施工程质量事故报告和调查处理工作的通知》(建质[2010]111号),工程质量事故造成的人员伤亡或者直接经济损失,工程质量事故分为4个等级:(一)特别重大事故,是指造成30人以上死亡,或者100人以上重伤,或者1亿元以上直接经济损失的事故;(二)重大事故,是指造成10人以上30人以下死亡,或者50人以上100人以下重伤,或者5000万元以上1亿元以下直接经济损失的事故;(三)较大事故,是指造成3人以上10人以下死亡,或者10人以上50人以下重伤,或者1000万元以上5000万元以下直接经济损失的事故;(四)一般事故,是指造成3人以下死亡,或者10人以下重伤,或者100万元以上1000万元以下直接经济损失的事故。
本等级划分所称的“以上”包括本数,所称的“以下”不包括本数。
根据直接经济损失或工程结构损毁情况(自然灾害所致除外),公路水运建设工程质量事故分为特别重大质量事故、重大质量事故、较大质量事故和一般质量事故四个等级;直接经济损失在一般质量事故以下的为质量问题。
(一)特别重大质量事故,是指造成直接经济损失1亿元以上的事故。
(二)重大质量事故,是指造成直接经济损失5000万元以上1亿元以下,或者特大桥主体结构垮塌、特长隧道结构坍塌,或者大型水运工程主体结构垮塌、报废的事故。
(三)较大质量事故,是指造成直接经济损失1000万元以上5000万元以下,或者高速公路项目中桥或大桥主体结构垮塌、中隧道或长隧道结构坍塌、路基(行车道宽度)整体滑移,或者中型水运工程主体结构垮塌、报废的事故。
加油站应急处置卡及处置流程图表1 加油现场油品泄漏事故应急处置卡突发事件描述加油设备故障、员工操作不当和加油车辆自身原因造成加油现场油品泄漏。
危害及后果分析1.可能产生火灾事故。
2.不及时处置可能引发大的安全事故。
3.可能造成人身伤害和环境污染。
应急物资干粉灭火器、消防沙、警戒带、警戒桩、消防桶、棉拖把、非化纤的扫把、铝制或铜制撮箕。
处置措施1.现场第一发现人发现加油现场油品泄漏,立即呼喊示警并停止作业。
2.站长听到报警后,用警戒带或警戒桩将油品泄漏处隔离,现场员工备好消防器材,将事发车辆推离现场。
3.站长和现场员工随即对泄漏油品用沙土覆盖,待充分吸收后用棉拖把、非化纤的扫把、铝制或铜制撮箕等进行回收并集中处理。
4.站长在险情处置后对现场进行全面检查确认无其他隐患,拆除警戒隔离区,恢复正常营运。
5.站长确定损失,按规定向上级报告,做好相关记录。
应急处置注意事项1.加油设备故障导致的现场油品泄漏,必须首先切断其电源,而后再处置。
2.加油车辆油箱或管路发生油品泄漏,严禁启动车辆,首先用铝桶接收车辆内泄漏油品,而后将该车辆推离至安全区域。
3.处理泄漏油品,严禁使用化纤类拖把、毛巾,塑料撮箕等易产生静电物品。
火灾报警:119 派出所:110 医护抢救:120图1 加油站加油现场油品泄漏事故应急处置流程图责任人事故发现者现场人员站长(应急组长)节点12345表2 油罐区火灾爆炸应急处置卡突发事件描述卸油、计量、清洗油罐或罐区其他作业过程中由于油品泄漏、静电未正常释放、外来电火花、明火等引发火灾事故。
危害及后果分析1.储油罐或卸油车辆发生火灾、爆炸。
2.人员伤亡或财产损失。
3.油品泄漏引发环境事故或其他次生事故。
应急物资灭火器、石棉毯、消防沙、警戒带、警戒桩、消防桶。
处置措施1.第一发现人立即呼喊示警并停止作业;押运员关闭出油阀并拆掉卸油胶管和接地装置,驾驶员将罐车驶离加油站至安全地带。
2.第一发现人立即使用灭火器、石棉毯等应急物资对着火部位进行扑救;现场员工立即切断电源,用石棉毯封盖着火点外的计量口和卸油口后参与火灾扑救。
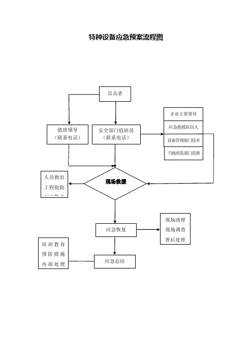
特种设备应急预案流程图特种设备应急救援预案为增强对特种设备平安事故的防范,及时做好平安事故发生后的救援处置工作,最大限度地减少事故造成的损失,保护正常的社会秩序和工作秩序,依照《中华人民共和国平安生产法》和《特种设备平安监察条例》的要求,结合本单位实际,特制定本单位电梯平安事故应急救援预案。
一、应急救援组织机构1、成立特种设备平安事故应急救援指挥部(以下简称救援指挥部)。
指挥长由总领导(厂长)担任;副指挥长由分管工程的副总领导担任;各部门负责人为指挥部成员,参与现场抢险救援工作。
2、设立现场救援组,由各部门负责人组成。
组长由由分管的副总领导()厂长担任,负责组织现场具体抢险救援工作。
二、应急救援组织的职责(一)指挥部职责1、组织各部门依照顾急救援预案迅速开展抢救工作,避免事故的进一步扩大,力争把事故损失降到最低程度;2、依照事故发生状态,统一布置应急救援预案的实施工作,并对应急处置工作中发生的争议采取紧急处置方法;3、依照预案实施进程中发生的转变和问题,及时对预案进行修改和完善;4、紧急挪用各类物资、人员、设备;5、当事故有危及周边单位和人员的险情时,组织人员和物资疏散工作;6、配合上级有关部门进行事故调查处置工作;7、做好稳固秩序和伤亡人员的善后及安抚工作。
(二)现场指挥长的要紧职责:1、负责召集各参与抢险救援部门的现场负责人研究现场救援方案,制定具体救援方法,明确各部门的职责分工;2、负责指挥现场应急救援工作。
三、应急联络机构质量技术监督局。
联系:地址:平安生产监督治理局。
联系:地址:消防大队。
联系:地址:公安局。
联系:地址:人民医院。
联系:地址:设备保护保养单位:联系:四、应急救援的培训与演练(一)培训按打算组织平安治理人员、操作人员和工程技术人员等相关人员进行有效的培训,从而具有完成其应急任务所需的知识和技术。
培训要紧有以下内容:对危险源的突显特性辩识、事故报警、紧急情形下人员的平安疏散、现场抢救的大体知识。
乘用车四厂安全事故(包含设备险肇事故)信息传递流程图
备注:
1、事故信息汇报中要将事故单位、受害人信息(姓名、工号、属性、)、是否持有医保或是保险;
2、事故信息流程严禁出现隐瞒不报、谎报、漏报,越级汇报等现象的发生;
3、针对设备事故及险肇事故,生产设备科应主动承担相关事故调查、取证、并做好善后处理事宜;
乘用车四厂安全事故(包含设备险肇事故)信息传递流程图
晚班:
备注:
1、事故信息汇报中要将事故单位、受害人信息(姓名、工号、属性、)、是否持有医保或是保险;
2事故信息流程严禁出现隐瞒不报、谎报、漏报,越级汇报等现象的发生;
3针对设备事故及险肇事故,生产设备科应主动承担相关事故调查、取证、并做好善后处理事宜;PDF 文件使用 "pdfFactory Pro" 试用版本创建ÿ。
铁路交通事故应急处置流程图1.应急响应行动列车调度员接到事故通报后,立即报告调度值班主任。
如需救援列车或救援队时,应立即发布出动命令。
各有关单接到事故通报及出动命令后,立即通知各主管领导和有关部门启动应急救援预案,在30分钟内组织人员及设备出动。
工务段调度接到救援命令后,立即报告段领导并启动应急预案,通知事故现场就近车间组织人员及抢修物资、备品立即赶赴现场。
要求:工务工区接到通知后,立即赶赴事故现场,在车站站长的领导下,开展线路抢修等救援工作。
2.应急响应标准:Ⅰ级应急响应标准(1)事故后果造成死亡30人以上;(2)事故后果造成重伤100人以上(包括急性工业中毒,下同);(3)事故后果造成直接经济损失1亿元以上;(4)繁忙干线客运列车脱轨18辆以上并中断铁路行车48小时以上;(5)繁忙干线货运列车脱轨60辆以上并中断铁路行车48小时以上。
Ⅱ级应急响应标准(1)造成10人以上30人以下死亡;(2)造成50人以上100人以下重伤;(3)造成5000万元以上1亿元以下直接经济损失;(4)客运列车脱轨18辆以上;(5)货运列车脱轨60辆以上;(6)客运列车脱轨2辆以上18辆以下,并中断繁忙干线铁路行车24小时以上或者中断其他线路铁路行车48小时以上;(7)货运列车脱轨6辆以上60辆以下,并中断繁忙干线铁路行车24小时以上或者中断其他线路铁路行车48小时以上。
Ⅲ级应急响应标准(1)造成3人以上10人以下死亡;(2)造成10人以上50人以下重伤;(3)造成1000万元以上5000万元以下直接经济损失;(4)客运列车脱轨2辆以上18辆以下;(5)货运列车脱轨6辆以上60辆以下;(6)中断繁忙干线铁路行车6小时以上;(7)中断其他线路铁路行车10小时以上。
Ⅳ级应急响应标准(1)造成2人死亡;(2)造成5人以上10人以下重伤;(3)造成500万元以上1000万元以下直接经济损失;(4)繁忙干线双线之一线或单线行车中断3小时以上6小时以下,双线行车中断2小时以上6小时以下;(5)其他线路双线之一线或单线行车中断6小时以上10小时以下,双线行车中断3小时以上10小时以下;(6)货运列车脱轨4辆以上6辆以下。