调查取证流程图
- 格式:doc
- 大小:17.50 KB
- 文档页数:1
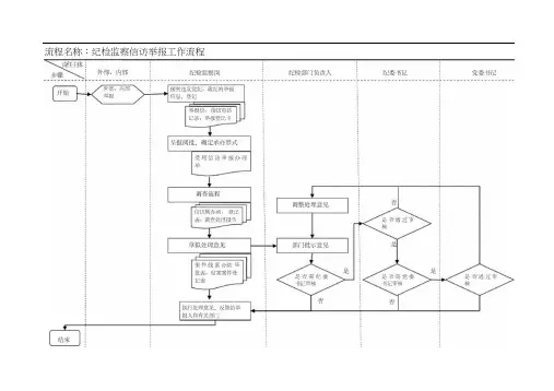
流程名称:纪检监察信访举报工作流程
流程名称:案件检查工作流程
否
审批
是
否
否
是
是
是
否
审批
LBJ
是否需主要 负责人审批
是否需要调 查取证
责任主体 步骤 纪委监察处
党委书记
纪委书记
初步核实情况报告
初步核实 初步核实结果材料
草拟处理意见 对有轻微违规违纪问题者执行 处理意见
纪检监察建议书、案 件线索办结审批表
立案调查 立案调查结果材料
收到需要进行调查的违规违纪
问题
分管(副)处长审批
开始
流程名称:案件检查工作流程(续)
流程名称:案件审理工作流程
流程名称:案件申诉复查工作流程
流程名称:效能监察工作流程。
国土资源违法案件查处工作流程图国土资源违法案件查处工作流程一、线索核查与违法行为制止执法监察以动态巡查为主,实行动态巡查责任制,动态巡查分片包干,明确各个区域的巡查责任人。
对举报发现、巡查发现、上级交办等发现有明确违法行为发生地和基本违法事实的国土资源违法线索,应填写《违法线索登记表》,载明线索来源、联系人基本情况、线索内容等,并提出初步处置建议,执法监察股认为需要对违法线索进行核查的,应当及时安排人员进行核查。
发现违法行为后,及时制止并下达《责令停止违法行为通知书》,同时对现场拍照留存,将案情书面报告乡镇人民政府和县国土局。
二、立案当事人明确并有违法事实的,填写《立案呈批表》。
载明案由、当事人基本情况、主要违法事实和性质、承办人和部门意见、主管领导批示意见等。
并在自立案起60日内做出处罚决定,复杂案件经执局长批准可以适当延长,但最长不得30日,案情特别复杂的除外。
三、调查取证1、取证调查取证人员不得少于两人,并应当向当事人或者有关人员出示执法证件。
同时应取得以下材料:(要求复印)(1)工商执照;(2)法人代表身份证;(3)法人代表资格证明或授权委托书;(4)用地者个人身份证(违法主体是个人的);(5)村、户用地协议书;(6)其他与案件有关的材料。
2、询问询问应当制作《询问笔录》,当事人有两个或两个以上的,应分别询问。
询问笔录应当交被询问人核对,对于没有阅读能力的,应当向其宣读;被询问人提出补充或者改正的,应当补充或者改正;被询问人确认笔录无误后,当事人、询问人、记录人应当在笔录上签名或者盖章并注明日期。
3、勘测勘测现场时,应通知当事人或其代理人到场,无正当理由拒不到场的,不影响勘验检查的进行,对勘验情况和结果应当制作《国土资源违法案件现场勘验笔录》,由勘测人员和当事人或者见证人签名盖章。
勘测现场后及时报地籍股、规划股出具地籍及规划意见。
4、处理意见承办人在案件调查结束后,应当根据事实和法律、法规,提交《国土资源违法案件调查报告》。
行政赔偿案件流程图1. 案件受理阶段1.1. 申请受理当公民、法人或其他组织认为行政机关的行政行为侵害了其合法权益时,可以向行政机关提出行政赔偿申请。
申请人需要向行政机关提供证明文件和证据材料。
1.2. 录入立案行政机关在接到申请后,需在规定期限内进行初步审查并作出是否受理的决定。
决定受理后,需将案件信息录入行政赔偿案件管理系统中,并派出工作人员进行调查取证等工作。
1.3. 受理告知在案件的初步审查和录入立案完成后,行政机关需要向申请人发出受理告知书,告知其申请已经受理并公告相关信息。
2. 调查取证阶段2.1. 核实证据调查取证工作是行政赔偿案件的重要环节,对该阶段的质量直接关系到案件的胜利或失败。
行政机关需要对申请人提供的证据材料进行核实,以及有关人员进行证人证言。
2.2. 查阅案卷在进行调查取证的过程中,行政机关需查阅行政行为的相关案卷、信息,以获取更多的证据材料和了解更多的情况。
2.3. 调解和询问在此阶段,行政机关可以与申请人进行沟通,寻求行政赔偿案件的调解解决。
同时,行政机关还需要对其行为进行询问,并进一步了解相关情况。
2.4. 调查报告调查取证阶段结束后,行政机关需在规定期限内完成调查报告,并将其反馈申请人。
调查报告是行政赔偿案件是否受理和本无法达成和解是否进入诉讼的重要依据。
3. 审理阶段3.1. 开庭审理行政赔偿案件一般需要通过开庭审理的方式进行。
开庭审理时,行政机关需向法院提交行政赔偿案件材料和证据。
3.2. 庭审辩论在开庭审理中,双方当事人可以进行辩论,为自身利益进行争取。
行政机关需要向法院提供证人出庭作证等证据材料。
3.3. 判决或调解经过庭审辩论,法院会根据事实、理由和法律规定作出判决或调解决定。
如果行政机关的行政行为被确定为非法行为,则法院会作出赔偿决定。
4. 履行阶段4.1. 履行裁定一旦法院作出赔偿裁定,行政机关需按照裁定书规定和期限进行赔偿,确保申请人获得应有的赔偿。
渔业行政处罚流程图
1. 概述
渔业行政处罚是指针对违反渔业法律法规的个人或单位进行的一种强制性措施。
本文档旨在详细介绍渔业行政处罚的流程,并提供相关附件和解释。
2. 违法事实调查阶段
2.1 接到举报/发现违法线索
- 确认举报内容是否属实,记录并登记。
2.2 调查取证准备工作
- 制定调查计划、确定参与人员及职责分工。
- 准备必要设备和材料,如摄像机、录音笔等。
2.3 实地勘察与采集证据
a) 核实涉案区域边界;
b) 查看捕获物品数量及类型;
c) 访问目击者以获取口头证言;
d)拍照、录像等方式收集可视化证据;
3.立案审理阶段:
3.1初步核实:根据所搜集到的有关资料, 对其真伪做出初步鉴别.
如果无效,则不予受理;
如有效则进入下一个环节.
4.听警示教育阶段:
4.1听警示教育:对违法行为人进行告知, 并向其宣传渔业相关政策和法律.
如能接受并改正错误,则进入下一个环节;
如果拒不接受或无效,将继续处罚程序.
5. 处罚决定阶段
5.1 初步审查与讨论
- 将调查取证的材料提交给主管部门,并组成专家小组进行初步审查。
5.2 行政处罚事先告知书
- 根据初步审查结果,发出行政处罚事先告知书。
6.陈述申辩及听证程序
7.作出最后裁决
8、执行与监督
a) 执行方式选择;
b)制定具体实施方案;
c)加强执法力度;
9、本文档涉及附件:
[在此所需的附件名称]
10、本文所涉及的法律名词及注释: [在此提供相应内容]。
7个流程图+审查调查工作事项一览表市纪委监委机关审查调查工作流程图如下:一、审查调查工作全流程图二、线索处置工作流程图向XXX报告线索及处置情况。
范围为:管干部、委委员纪委常委、监委委员、街镇、部门主要负责人。
定期汇总线索处置情况向XXX机关主要领导报告。
三、谈话函询工作流程图四、初步核实工作流程图以纪委办公室名义发函被反映人。
五、立案审查工作流程图六、使用工作流程图七、线索分办工作流程图市纪委监委机关审查调查工作事项一览表如下:一)初核阶段1.召开室务会,集体研究线索处置方案。
2.组建初步核实组,明确组长和分工。
3.分析研判线索来源(属实名举报的,与举报人联系,进一步了解举报内容)。
4.分析线索反映的问题、主要疑点和核查难点。
5.了解被反映人的主体身份,是否是党员、监察对象,是否是“两代表一委员”。
6.了解被反映人的基本情况,包括家庭情况、婚姻状况等。
7.查阅被反映人的体检报告,了解其身体状况。
8.了解被反映人的工作经历、职责范围,以及举报、纪律处分、组织处理、年度考核、群众口碑等情况。
9.集体研究初步核实的时间、步骤、方法和措施。
10.起草初步核实方案报批。
方案包括:1.线索来源、被核查人基本情况、反映的问题和可能涉嫌违纪违法犯罪的问题;2.初步核实的目的、方向、范围,以及需要重点查明的问题;3.初步核实的时间、步骤、方法和措施;4.核查组组成人员及组织领导;5.初步核实期间安全防范措施以及突发、重大情况处置预案;6.其他需载明的事项。
11.调取被反映人的个人有关事项报告。
12.XXX分管领导报委主要领导审批。
13.核查组部门负责人。
14.需要开展审计工作,或者调取审计资料的,交案管室协调办理。
15.收集行政执法专项检查、经责审计、巡察中涉及被举报人的问题线索。
16.涉及资产重组、资金运用、资源配置、资本运作和重大项目的问题线索,需要协调核查组、调专业人员参与的,交案管室协调办理。
查调查措施和时间节点;5.审查调查组成员名单。
行政处罚简易程序流程图监督检查(举报),发现违法(行为)事实两人以上执法,出示执法证,告知违法(行为)事实和处罚依据听取当事人的陈述和申辩,并复核。
现场制作笔录(执法询问笔录、陈述申辩笔录)不予处罚依法作出处罚决定,填写《行政处罚决定书》,并告知当事人权利执行行政复议决定或行政判决书结案、归档(处罚决定之日起5日内备案)按照《甘肃省交通工程质量安全监督管理局行政处罚自由裁量执行标准》和法律法规进行处罚行政处罚一般程序流程图监督检查,发现违法(行为)事实,以及上级交办、其他部门移送、举报等违法线索立 案(单位负责人审批并指定两名以上承办人)二名以上执法人员向当事人出示撤案,不处罚(移 执法证,开展调查、检查,收集证送、举报线索失实) 调查、取证 据。
调查终结,承办人写出调查终移送司法机关(构 结报告,并根据认定的违法违规事成犯罪) 实和法律、法规依据提出初步处理意见,报送单位负责人审批。
行政处罚事先告知按照《甘肃省省交通工程质量安全监督管理局行政处罚自由裁量执行标准》和法律法规进行处罚按《行政处罚法》第五十一条执行 行政复议或自觉履行拒不履行 行政诉讼按《行政强撤销 制法》第五十三条执行维持或变更处罚决定表1 立案审批表立字()第号表2现场(勘验、检查)笔录说明:现场照片、示意图等可作为本记录的组成部分附后表3询问笔录时间:年月日时分至年月日时分第次询问地点:询问人:记录人:被询问人:______ 性别:年龄:身份证号:联系电话:工作单位:联系地址:我们是的执法人员,这是我们的执法证件,执法证件号码分别是_____________、,请你确认。
答:现依法向你询问,请如实回答所问问题,如果故意作伪证或者隐匿证据,将承担相应的法律责任。
执法人员与你有直接利害关系的,你可以申请回避。
问:答:被询问人签名及时间:询问人签名及时间:第页,共页附页第页,共页注:附页每页都应当注明页码,并由相关人员逐页签字或盖章确认。
刑事诉讼程序流程图刑事诉讼程序是指国家依法对犯罪嫌疑人进行侦查、起诉和审判的一系列法律程序。
刑事诉讼程序的合理性和规范性对于保障公民的合法权益、维护社会秩序具有重要意义。
下面将从刑事诉讼程序的流程图来详细介绍刑事诉讼程序的各个环节。
一、立案侦查阶段。
1. 接到报案。
当发生刑事案件时,公安机关接到报案后,将立即展开侦查工作。
2. 立案侦查。
公安机关在接到报案后,根据案件的性质和情况,决定是否立案侦查。
如果符合立案条件,将正式立案侦查。
3. 侦查取证。
在立案侦查阶段,公安机关将展开侦查取证工作,收集证据材料,调查犯罪嫌疑人的身份和行为。
4. 确认犯罪嫌疑人。
在侦查取证过程中,公安机关将确认犯罪嫌疑人,并对其进行传唤、讯问等工作。
二、审查起诉阶段。
1. 移送审查起诉。
侦查结束后,公安机关将案件移送检察机关审查起诉。
检察机关将对案件进行审查,决定是否提起公诉。
2. 提起公诉。
如果检察机关认为案件符合提起公诉条件,将向法院提起公诉,正式进入审判阶段。
三、审判阶段。
1. 开庭审理。
法院将组织开庭审理,听取控辩双方的意见,审查证据,最终作出判决。
2. 宣判。
在开庭审理结束后,法院将宣布判决结果,并对犯罪嫌疑人进行宣判。
四、执行阶段。
1. 判决生效。
判决生效后,犯罪嫌疑人将被送往监狱执行刑罚,或者接受社区矫正等处理。
2. 刑罚执行。
在判决生效后,监狱将对犯罪嫌疑人进行刑罚执行,监督其改造和教育,最终实现社会重新融入。
以上就是刑事诉讼程序的流程图及各个环节的详细介绍。
刑事诉讼程序的合理性和规范性对于保障公民的合法权益、维护社会秩序具有重要意义。
希望各级司法机关能够依法公正地进行刑事诉讼工作,确保每一个案件都能得到公正的审判,维护社会公平正义。
烟草专卖行政处罚案件处理询问工作流程规范一、工作说明询问是指专卖行政执法人员在调查取证过程中,采取询问当事人、嫌疑人、证人的方式了解事实,掌握证据的执法行为。
经查证属实的询问笔录是证据的一种。
二、工作流程图(见附图)三、流程说明1、案件管理内勤根据案件调查的需要,制作询问通知书,询问的对象可以是当事人、嫌疑人、证人。
2、由专卖管理部门负责人对询问通知书进行审批,如不同意则返回上一动作;如同意则签注意见并转入下一动作。
3、送达询问通知书,可以由案件管理内勤送达,也可以由专卖办案人员送达。
4、当事人在签收询问通知书后,由送达人员收回送达回证。
5、案件管理内勤将送达回证存入案卷,并将送达情况反馈给部门负责人。
6、专卖管理部门负责人按询问通知书指定的时间、地点组织询问,指定专人做好询问笔录。
7、询问笔录交案件管理内勤存入案卷。
四、工作文书《询问笔录》(见附件26)五、工作职责此项具体工作职责为:1、案件管理内勤:制作询问通知书、询问笔录、送达回证等相关文书;送达询问通知书;将签字后的送达回证、询问通知书、询问笔录存入案卷,依照案卷制作和管理规定,认真整理、妥善保管案卷备查。
2、专卖管理部门负责人:审批询问通知书等相关文书;组织人员进行询问工作。
六、工作操作规范询问笔录是执法人员询问违法案件的当事人、嫌疑人和证人时制作的书面记录。
制作时,应注意以下问题:1、询问内容。
包括反映本案事实的时间、地点、行为及行为人、情节、后果等。
在进行询问之前,执法人员要明确询问的目的,认真熟悉案情和已掌握的材料,拟订好询问的提纲,力求全面准确、逻辑严密。
2、在询问时,执法人员不得少于2人,要向被询问人出示证件,并向其讲明接受询问的法律义务和隐匿证据、作伪证的法律后果。
执法人员还应在询问笔录上签字或盖章,写清楚执法证件号码。
3、每份《询问笔录》只能对应一个被询问人,被询问人一般包括当事人、嫌疑人和证人等。
执法人员应将询问起止的时间和地点。