物业项目服务应急方案
- 格式:doc
- 大小:39.00 KB
- 文档页数:11
一、目的为确保物业保洁服务在突发事件或紧急情况下的及时响应和妥善处理,最大程度地减少损失,保障业主生命财产安全,特制定本预案。
二、适用范围本预案适用于本物业范围内所有保洁服务项目,包括但不限于公共区域、住宅小区、商业楼宇等。
三、组织机构及职责1. 物业保洁服务应急指挥部(1)总指挥:由物业管理公司总经理担任,负责全面领导和指挥应急工作。
(2)副总指挥:由物业管理公司副总经理、物业经理担任,协助总指挥开展工作。
(3)指挥部成员:由各部门负责人组成,负责具体落实应急措施。
2. 物业保洁服务应急小组(1)组长:由保洁部经理担任,负责组织、协调和指挥应急工作。
(2)组员:由保洁员、维修工、安保人员等组成,负责具体实施应急措施。
四、应急响应流程1. 紧急情况发生时,保洁员应立即向组长报告。
2. 组长接到报告后,立即向指挥部报告,并组织应急小组开展应急处置。
3. 应急小组按照预案要求,迅速采取以下措施:(1)现场勘查:了解事故原因、范围和影响,评估损失。
(2)紧急处理:针对事故原因,采取有效措施,消除安全隐患。
(3)信息上报:将事故情况及时上报指挥部,并根据指挥部要求开展下一步工作。
(4)现场清理:对事故现场进行清理,恢复正常秩序。
(5)善后处理:对事故造成的损失进行评估,并提出整改措施。
五、应急措施1. 事故处理(1)火灾:立即切断电源,组织人员疏散,拨打119报警,配合消防部门进行灭火。
(2)漏水:立即关闭水源,组织人员抢修,防止水患扩大。
(3)停电:立即启动备用电源,确保重要设施正常运行。
(4)其他突发事件:根据事故原因,采取相应措施,确保业主生命财产安全。
2. 清洁工作(1)日常保洁:按照规定的时间、地点、质量标准进行日常保洁工作。
(2)突发事件后的保洁:对事故现场进行清理,恢复环境卫生。
(3)垃圾处理:实行垃圾分类,确保垃圾及时清运。
六、应急保障1. 物资保障:储备必要的应急物资,如灭火器、防水布、沙袋等。
物业工程类的应急预案在日常的学习、工作、生活中,难免会突发一些事故,为了避免事情往更坏的方向发展,往往需要预先编制好应急预案。
编制应急预案需要注意哪些问题呢?以下是小编为大家收集的物业工程类的应急预案(精选5篇),仅供参考,希望能够帮助到大家。
物业工程类的应急预案1为应对停水停电情况,保证小区的正常工作生活,特制定停水、停电处理方案,供有关部门参考执行。
一、应急处理原则小区分有计划停水、停电和突发性停水、停电情况,合理安排相关工作,使小区工作尽快恢复正常。
二、停水、停电处理流程1、属于有计划停水、停电的,应当提前24小时通知业主(住户)、各工作单位,在各楼栋、大堂公告栏及小区电子显示屏发布通知。
将通知登记在发文通知单上保存。
对相关设备进行正常检修维护,向业主(住户)耐心解释取得支持配合。
停水的利用生活水箱临时供水,如长期停水,应与供水、消防等单位联系,解决供水。
停电的自动启动发电机临时供电。
2、属于突发性停水、停电的,应当在十分钟内发出简要通知,1小时内发出书面通知,内容包括原因、预计恢复供水、供电时间。
并将通知张巾在各楼栋、大堂显要位置,并将文件保存。
对相关设备进行检修维护,向业主(住户)耐心解释,取得支持配合。
停水的利用生活水箱临时供水,如长期停水,应与供水、消防等单位联系,解决供水。
停电的自动启动发电机临时供电。
三、管理处各班组分工要求(一)、办公室1、及时打印、张贴停水、停电通知。
2、安排备用水,启动临时供电装置。
3、向业主(住户)耐心解释停水、停电原因。
(二)护卫班1、加强停水、停电期间的巡逻保卫。
2、对水、电力检修车辆进行引导,协助检修服务工作。
(三)、维修班1、停水、停电期间做好正常检修维护工作。
2、对于故障导致停水、停电的,及时抢修排除故障,恢复供水供电。
四、准备应急材料1、贮水池、生活水箱2、应急灯、发电机物业工程类的应急预案2根据公安消防部门和市政府的有关要求,结合华星大厦的实际情况,为确保大厦的正常办公秩序和人身财产安全,一旦发生火情,能够有条不紊地进行扑救和疏散宾客,抢救财产,使火灾损失控制在最低限度,特制定此预案。
物业应急增援服务方案物业应急增援服务方案一、背景和目的在日常物业管理中,突发的紧急情况是难以避免的。
如火灾、地震、洪水等自然灾害以及暴力事件、盗窃等安全问题。
为了保障物业区域内业主的安全和财产,物业公司需要建立应急增援服务方案,以便能够在紧急情况发生时迅速组织人员和资源进行处置,并与相关部门协调配合,有效应对突发事件。
二、组织架构1. 应急指挥中心:负责统一协调管理应急工作,由具备丰富应急处理经验的物业管理人员组成。
2. 应急增援队伍:由物业公司的保安人员组成,保安人员需经过严格的培训,熟悉物业区域的具体情况和相关应急处理流程。
3. 物资储备库:负责储备各种应急物资,如急救箱、灭火器等。
三、应急预案为保障应急增援服务的高效运作,物业公司需要制定详细的应急预案,明确各部门的职责和行动流程。
1. 应急指挥中心职责:- 接收突发事件报告,并及时判断事件的紧急程度;- 迅速启动应急预案,指挥并协调应急增援队伍;- 与相关部门建立紧密的沟通渠道,实时获取信息,提供支持和协助。
2. 应急增援队伍职责:- 接到通知后,立即赶往事发地点,组织展开应急处置活动;- 维护现场秩序,确保业主的人身安全和财产安全;- 与相关部门配合,提供支持和协助。
3. 物资储备库职责:- 储备常用的急救物资和应急器材,并定期检查和维护;- 在突发事件发生时,根据预案将物资迅速送往事发地点。
四、培训和演练1. 针对物业增援队伍的培训:- 组织保安人员参与相关培训课程,如急救、消防安全、应急处置等;- 定期组织模拟演练,提高应对突发事件的能力。
2. 针对物业公司员工的培训:- 向物业公司员工普及应急知识和技能,提高安全意识;- 组织员工参加应急演练,增强应对突发事件的能力。
五、与相关部门的合作为了能够更好地应对紧急情况,物业公司应加强与相关部门的合作和沟通,建立联动机制。
1. 公安部门:- 提供安保排查建议和安全教育;- 在突发事件发生时,提供支持和协助。
物业服务雨雪天的应急预案物业服务雨雪天的应急预案范文(通用7篇)在现实生活或工作学习中,难免会有事故发生,为了降低事故后果,时常需要预先编制应急预案。
那么应急预案应该怎么编制才合适呢?下面是精心整理的物业服务雨雪天的应急预案范文(通用7篇),仅供参考,欢迎大家阅读。
物业服务雨雪天的应急预案范文(通用7篇)1一、总则为了应对冬季降雪,减少因下雪给业主的生活带来安全隐患和生活不便,公司结合实际,制定本预案。
二、清雪原则要求所有部门以雪为令,及时清除积雪,不能拖拉延缓。
冬季清雪铲冰工作实行责任区划分和全员义务清理相结合的原则。
三、组织机构总指挥:xxx成员:xxx四、职责(一)公司的清雪领导小组,指挥协调公司责任范围的清雪工作(二)公司综管办负责保障应急物资的提供(包括盐、及清雪工具等);及大雪和暴雪应急抢险的辅助与协调、清雪铲冰的监督检查工作。
(三)各部门针对所辖区域的道路、活动场所及时开展积雪积冰的清除工作。
五、雪情标准降雪量在3cm以下为小雪,降雪量达到3-10cm为中雪,降雪量超过10cm为大雪。
六、清雪工作程序(一)小雪1、昼间降雪的,雪停即组织清扫;夜间降雪的,次日正常上班前应当清扫完毕。
2、道路、住宅区等人流密集区无堆雪、无散雪、无结冰即可进行清雪工作。
(二)中雪1、物业社区微信:昼间降雪的,雪停即组织清扫,或雪未停,但积雪厚度超过5cm时组织清扫;夜间降雪的,次日临晨开始组织清扫,合理安排积雪堆放,必要时组织人员对主要交通要道积雪喷撒适量盐水2、道路、住宅区等人流密集区无堆雪、无散雪、无结冰即可进行清雪工作。
(三)大雪或路面结冰1、公司清雪工作指挥部下达清雪指令,必要时,及时协调机械推雪设备。
2、各部门尽可能多的组织人员立即就位,组织开展义务清雪铲冰工作。
3、各部门要对主要交通要道积雪喷撒适量盐水或融雪剂,并对含盐积雪清运到指定地点,并对结冰路面进行处理。
4、公司综管办对各责任区清雪工作组织验收合格后结束清扫工作。
物业应急保障措施及方案物业应急保障措施及方案:为了更好地应对突发事件和灾难,物业公司需要制定应急保障措施和方案,确保居民的生命财产安全。
下面是一些常见的物业应急保障措施及方案:1.建立应急预案和指挥机构:物业公司应根据不同的紧急情况,建立相应的应急预案,并成立应急指挥机构,明确各个职责和响应流程。
该机构需要及时调度、指挥、协调各项救援工作。
2.设立应急联络渠道:物业公司应建立一个应急联络渠道,以便与居民、相关政府机构及救援队伍保持紧密联系。
居民可以通过电话、微信等渠道向物业公司报告突发情况,物业公司也可以第一时间向居民通报相关信息。
3.安全演练:定期进行消防演练、地震逃生演练等活动,提高居民的应急意识和自救能力。
物业公司还需要定期对员工进行应急培训,熟悉应急预案和紧急处理措施。
4.制定物资预储备计划:物业公司需要建立物资储备制度,储备一些常用的防灾物资,如食品、饮用水、新风系统的备件等,以备不时之需。
物资的储备和更新要定期进行检查和维护,确保其可用性和有效性。
5.加强安全措施:物业公司应加强对小区内安全隐患的排查和整改,保持消防设施的完好性和有效性,加强物业管理人员的巡视工作,确保小区内的安全状况。
同时,加强对小区的安全管理,限制未经授权人员的进入。
6.加强与政府合作:物业公司要积极与当地政府、相关部门建立良好的合作关系,及时了解政府的防灾救灾政策和指导意见,协同合作,共同应对突发事件和灾害。
总之,物业公司在保障居民的生命财产安全方面肩负重要责任。
通过建立应急预案和指挥机构、设立应急联络渠道、安全演练、制定物资预储备计划、加强安全措施和加强与政府合作等措施,物业公司可以更好地应对突发事件和灾难,确保居民的安全和安宁。
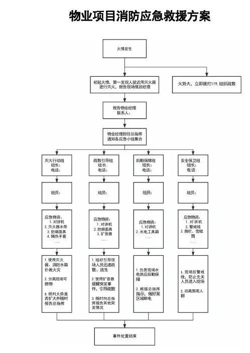
物业项目消防应急救援方案
火情发生
灭火行动组
组长:
电话:
组员:
应急物资:
1.对讲机
2.灭火器水带
3.防烟面具
4.隔热手套1.使用灭火器、消防水箱扑救火灾
2.分离现场可燃物
3.研判火势是否扩大并随时报告总指挥
初起火情,第一发现人就近用灭火器
进行灭火,报告现场值班经理
报告物业经理
联系人:
物业经理担任总指挥
通知各应急小组集合
疏散引导组
组长
电话:
组员:
应急物资:
1.对讲机
2.防烟面具
3.扩音器
1.组织引导现
场人员迅速疏
散、逃生
2.使用扩音器
提醒突发事
件,引导疏散
3.随时向总指
挥报告其他突
发情况
火势大,立即拨打119,组织疏散
安全保卫组
组长:
电话
组员:
应急物资:
1.对讲机
2.警戒线
3.围栏、雪糕
筒
1.现场拉警戒
线,防止无关
人员进入现场
2.劝离围观人
群
事件处置结束
1.负责现场水
电供应后勤保
障
2.根据总指挥
指示,做好某
区域断电
应急物资:
1.对讲机
2.水电工具箱
后勤保障组
组长:
电话:
组员:。
物业管理服务应急措施方案一、背景分析物业管理服务是指对建筑物及其附属设施进行日常维修、清洁、保养和管理的行为,旨在保证物业的正常使用和管理。
但是,在物业管理过程中,可能会出现各种应急情况,例如突发火灾、停电、水损等。
因此,制定一套完善的应急措施方案对于保障物业管理服务的顺利进行至关重要。
二、应急措施方案制定原则1.安全第一:应急措施的制定要以保障人员生命安全和财产安全为首要原则。
2.科学合理:应急措施要根据具体情况和实践经验制定,具有可行性和实际效果。
3.全面覆盖:应急措施要涵盖各种可能出现的应急情况,全面保障物业管理服务的顺利进行。
4.及时有效:应急措施要能够及时启动,快速响应,有效解决问题。
三、应急措施方案的制定内容1.建立应急预案:制定详细的应急预案,包括应急组织架构、应急处置流程、应急资源调配等,并进行定期演练和更新。
2.建立应急通信系统:建立应急通信系统,确保与各部门和居民的沟通畅通,及时传递应急信息和指示。
3.制定消防安全预案:对于可能发生的火灾等应急状况,要制定详细的消防安全预案,包括火灾报警、疏散逃生等。
5.建立安全检查措施:定期进行安全检查,对存在的隐患进行整改,并建立安全检查记录和报告制度。
6.建立储备物资库:建立专门的储备物资库,储备常用应急物资,例如灭火器、应急照明设备等。
7.制定突发事件应急预案:制定应对突发事件的应急预案,例如地震、台风等,包括疏散、救援等措施。
四、应急措施的执行和监督1.制定明确的职责分工:对于物业管理服务中的应急工作,要制定明确的职责分工,确保每个人负责的部分都能得到妥善处理。
2.定期演练和培训:组织定期的应急演练和培训,提高各类应急情况下的应对能力和技能。
3.建立应急事件报告和记录制度:对于发生的应急情况,要及时进行报告和记录,总结经验教训,为今后的应急工作提供参考。
4.监督检查:定期对应急措施的执行情况进行监督检查,发现问题及时解决,并进行整改。
一、前言为了提高物业项目的应急管理能力,确保在突发事件发生时能够迅速、有效地进行处置,保障业主生命财产安全,维护社会稳定,特制定本应急预案。
二、适用范围本预案适用于物业项目中可能发生的各类突发事件,包括但不限于自然灾害、事故灾难、公共卫生事件和社会安全事件等。
三、组织机构及职责1. 成立物业演练应急预案领导小组,负责组织、协调、指挥和监督物业演练应急预案的实施。
2. 物业演练应急预案领导小组下设办公室,负责日常管理工作。
3. 各部门及岗位人员按照职责分工,负责应急预案的具体实施。
四、应急响应程序1. 预警阶段(1)发现可能引发突发事件的苗头,及时上报领导小组。
(2)领导小组组织相关人员进行分析、评估,确定预警等级。
(3)根据预警等级,采取相应措施,如加强巡查、设置警示标志、疏散人员等。
2. 应急响应阶段(1)接到突发事件报告后,领导小组立即启动应急预案,通知各部门及岗位人员。
(2)各部门及岗位人员按照预案要求,迅速采取行动,确保应急处置工作有序进行。
(3)现场指挥员负责现场指挥、调度和协调,确保应急处置工作高效开展。
(4)根据突发事件性质,组织救援队伍、设备、物资等,确保救援工作顺利开展。
3. 恢复阶段(1)突发事件得到有效控制后,领导小组组织评估、总结,查找不足,完善应急预案。
(2)各部门及岗位人员恢复正常工作秩序,确保物业项目正常运行。
五、应急保障措施1. 人员保障(1)成立应急队伍,包括救援队伍、疏散队伍、医疗救护队伍等。
(2)加强应急培训,提高人员应急处置能力。
2. 物资保障(1)储备必要的应急救援物资,如医疗救护药品、食品、帐篷、照明设备等。
(2)确保物资储备充足,及时补充。
3. 资金保障(1)设立应急专项资金,确保应急处置工作顺利进行。
(2)积极争取政府和社会各界的支持,为应急处置提供资金保障。
4. 信息保障(1)建立应急信息平台,及时收集、发布、更新突发事件信息。
(2)加强与政府、相关部门、业主的沟通,确保信息畅通。
一、目的为提高本物业项目管理团队应对突发事件的应急处理能力,最大限度地减少突发事件对业主生命财产安全及物业管理工作的负面影响,确保物业项目的正常运行,特制定本预案。
二、适用范围本预案适用于物业项目在运营过程中发生的各类突发事件,包括但不限于自然灾害、人为事故、公共卫生事件等。
三、组织架构1. 应急指挥部:负责统一领导和指挥突发事件应急工作,由项目经理担任总指挥,各部门负责人为成员。
2. 应急处置小组:负责具体实施突发事件应急措施,由各部门负责人及专业人员组成。
3. 应急联络组:负责协调各部门沟通,及时传递应急信息,由各部门联络员组成。
四、应急响应程序1. 事件发现与报告(1)任何员工发现突发事件时,应立即向应急处置小组报告。
(2)应急处置小组接到报告后,应立即向应急指挥部报告。
2. 应急响应启动(1)应急指挥部接到报告后,立即启动应急预案,召开应急会议,分析事件情况,制定应对措施。
(2)应急处置小组根据应急指挥部指令,迅速开展应急处置工作。
3. 应急处置(1)根据事件性质,采取相应应急措施,如疏散、救援、隔离、消毒等。
(2)加强与相关部门的沟通与协作,确保应急处置工作有序进行。
4. 事件处理(1)事件得到控制后,应急指挥部组织评估小组对事件原因、影响及处理情况进行评估。
(2)根据评估结果,对责任人进行追责,并对事件处理过程进行总结,完善应急预案。
五、常见突发事件应急处置措施1. 自然灾害(1)地震:组织人员迅速疏散至安全地带,关闭电源、水源,确保人员安全。
(2)洪水:组织人员撤离低洼地带,转移重要物资,确保人员生命安全。
2. 人为事故(1)火灾:组织人员疏散,使用灭火器进行初期灭火,等待消防部门救援。
(2)电梯困人:立即通知电梯维修人员,同时安抚被困人员,确保安全解救。
3. 公共卫生事件(1)传染病:立即隔离患者,通知卫生部门进行疫情调查,做好消毒工作。
(2)食物中毒:立即停止供餐,通知相关部门进行调查,确保食品安全。
物业管理服务应急小组的培训与演习方案一、背景为了提高物业管理服务应急处理能力,保障园区居民和企业的安全,建立和组织物业管理应急小组,进行培训与演习是非常必要的。
本方案旨在通过培训和演习,提升应急小组成员的应急处理能力和协同工作能力。
二、培训计划1.培训内容1.1灭火器使用和消防知识:包括灭火器的种类、使用方法、注意事项等。
1.2应急疏散和逃生知识:包括应急疏散的程序和路线、逃生的注意事项等。
1.3急救知识:包括人工呼吸、心肺复苏等急救方法和技巧。
1.4通讯协调:包括应急通讯设备的使用方法和通讯协调的流程。
1.5突发事件应对:包括火灾、泄漏、电力故障等突发情况的应对方法。
2.培训方式2.1理论培训:组织相关专家进行理论知识讲解,提供培训材料供参考。
2.2实操培训:组织小组成员进行模拟演练,包括灭火器的使用、逃生演练、急救演练等。
3.培训时间3.1理论培训:安排2小时的理论知识讲解和互动讨论。
3.2实操培训:安排4小时的模拟演练和现场指导。
4.培训人员4.1理论培训:邀请消防专家、急救专家进行讲解。
4.2实操培训:由应急小组负责人组织和指导。
5.培训评估5.1理论培训:进行笔试,测试学员对理论知识的掌握情况。
5.2实操培训:进行模拟演练,评估小组成员在实际应急处理中的表现。
三、演习计划1.演习准备1.1确定演习主题:根据园区的常见突发事件,确定主题,如火灾应急演习。
1.2制定演习方案:包括演习的时间、地点、参与人员、演习内容等。
1.3准备演习物资:准备灭火器、烟雾机、急救箱等与演习内容相关的物资。
1.4安排演习指导人员:邀请消防专家、急救专家进行演习指导。
2.演习过程2.1模拟演练:在园区内设置演习场景,组织小组成员按照预定的程序和方法进行应急处理。
2.2实战演练:在演习过程中模拟真实情况,对小组成员的应急处理能力进行评估。
3.演习评估3.1观察评估:由演习指导人员观察小组成员的表现,评估其应急处理能力和各项技能的掌握情况。
物业管理应急预案大全商业物业有时也称投资性物业,是指那些通过经营可以获取持续增长回报或者可以持续升值的物业。
下面给大家分享一些关于物业管理应急预案大全5篇,希望能够对大家有所帮助。
物业管理应急预案大全篇1为加强行政办公中心物业服务中心对突发应急事件应急处置的综合指挥能力,提高紧急救援反应速度和协调水平,保障迅速有效地处理应急事件,将应急事件对人员、财产和环境造成的损失降至最小程度,最大限度地保障办公人员(办事人员)的生命财产安全,特制定本办法和预案。
一、应急组织构成和职责:1、总指挥:物业服务中心经理(总指挥不在场时由副总指挥临时担任)副总指挥:物业服务中心副经理(或工程部值班长、秩序维护部部长)职责:负责指挥应急事件的抢险,协调与公司、其它单位和本部门的`各种资源,发布各种通告、命令。
2、应急抢险分队构成:2.1工程抢险组:工程部人员职责:一旦接到预警信息后,按照应急预案的要求,投入现场应急抢险。
2.2后勤支援组:环境部及秩序维护部人员职责:投入现场应急抢险处理,提供事件预防及抢险过程必须的各种资源,包括:人员、物品、交通、通讯、协调等事项。
二、预警信息发布:由客户服务中心发布:Ⅳ级自然灾害应急事件预警应急人员到位时限:正常上班员工、非正常上班值班员(指工程部、秩序维护部)5分钟;其他非正常上班员工在30分钟到现场。
三、应急响应程序:1、当Ⅳ级自然灾害应急事件预警信号发出后,物业服务中心区域管理员、秩序维护部值班员应向客户服务中心报告,由客户服务中心启动本处理办法和预案,接到通知的应急人员必须在规定时限内赶到现场进行应急处理,听从物业服务中心经理(或工程部值班长、秩序维护部部长)的指挥和调遣。
预警信号发布后,物业服务中心要在各公共区域信息公告牌上发出书面通知,提醒办公人员(办事人员)做好台风、暴雨来临前的防范措施。
2、应急处置原则:3.1坚持“救人第一”的原则。
3.2必要时注重人员及时疏散。
3.3注意救援人员安全。
物业管理方案应急措施随着城市化进程的加快,物业管理成为城市运行中不可或缺的一部分。
物业管理既是对社区居民日常生活的保障,也是对周边环境的维护和改善。
然而,面对各种突发情况,物业管理方面应该有一套完善的应急措施,以保障社区居民的生活和安全。
本文将从应急预案、应急响应和应急演练等方面,详细介绍物业管理方面的应急措施。
一、应急预案1.建立应急预案物业管理部门应建立应急预案,明确各类突发事件的应急处理流程和责任人。
预案内容应包括但不限于火灾、地震、水灾、煤气泄漏、疫情等各类灾害性事件的应急处理方案和措施。
在此基础上,制定详细的应急预案,并向社区居民进行宣传和培训,使他们了解应急预案,知晓应急逃生通道、设施设备、报警方式等。
2.定期检查和修订应急预案应定期进行检查和修订,以适应社区的实际情况和时间的变化。
并根据实际情况举行应急演练,检验和完善应急预案。
3.应急物资的准备物业管理部门应及时储备应急物资,如急救箱、绳索、塑胶布、防毒面具、安全帽、手电筒等,以应对各种紧急情况的发生。
4.建立应急通讯机制建立完善的应急通讯机制,如建立应急电话热线、应急微信公众号等,方便社区居民在紧急情况下及时获取信息和求助。
二、应急响应1.火灾应急响应一旦发生火灾,物业管理部门应立即启动应急预案,通过消防器材将火灾扑灭。
同时,组织人员疏散,确保所有居民迅速逃离现场,并进行人数核查。
按照岗位分工,负责物资储备的人员应分发急救箱、梯子等物资,帮助居民疏散。
并配合消防队员,尽量减小火灾造成的损失。
2.地震应急响应物业管理部门应在地震前将社区内的易受伤害的物品进行处理,并组织居民进行疏散演练,让大家熟悉安全疏散的路线和方法。
地震发生后,立即通知居民,通过广播、手机短信等方式传达疏散指令;同时,组织人员在疏散路线上设立救援点,确保受伤居民得到及时救助。
3.水灾应急响应一旦发生水灾,物业管理部门应及时疏散居民,转移易受淹的居民并提供临时住所,同时关闭电闸、燃气,确保住户人身安全。
一、演练目的为了提高物业服务中心应对突发事件的应急能力,增强员工的安全意识,确保在紧急情况下能够迅速、有序地采取有效措施,最大限度地减少人员伤亡和财产损失,特制定本演练方案。
二、演练内容1. 火灾应急演练:模拟火灾发生,检验物业服务中心火灾报警、人员疏散、灭火器材使用等应急措施。
2. 电梯事故应急演练:模拟电梯故障,检验物业服务中心对电梯事故的应急处理能力。
3. 风雨天气应急演练:模拟极端天气情况,检验物业服务中心对设施设备维护和人员疏散的应急能力。
4. 食品安全应急演练:模拟食品安全事件,检验物业服务中心对食品安全事故的应急处理能力。
三、演练时间1. 火灾应急演练:每月第一周的周二下午3点至5点。
2. 电梯事故应急演练:每季度第一周的周五下午3点至5点。
3. 风雨天气应急演练:每年6月第一周的周六下午3点至5点。
4. 食品安全应急演练:每年9月第一周的周六下午3点至5点。
四、演练组织1. 成立应急演练领导小组,由物业服务中心主任担任组长,各部门负责人担任成员。
2. 成立应急演练指挥部,负责演练的组织、协调和指挥。
3. 成立应急演练工作小组,负责演练的具体实施、现场指导和保障。
五、演练准备1. 演练前,组织相关人员学习演练方案,明确演练目的、内容和要求。
2. 准备演练所需的器材、设备、物资,确保演练顺利进行。
3. 制定应急预案,明确各部门、人员的职责和任务。
4. 对参演人员进行培训,确保其掌握相关应急知识和技能。
六、演练实施1. 火灾应急演练:模拟火灾发生,检验物业服务中心火灾报警、人员疏散、灭火器材使用等应急措施。
2. 电梯事故应急演练:模拟电梯故障,检验物业服务中心对电梯事故的应急处理能力。
3. 风雨天气应急演练:模拟极端天气情况,检验物业服务中心对设施设备维护和人员疏散的应急能力。
4. 食品安全应急演练:模拟食品安全事件,检验物业服务中心对食品安全事故的应急处理能力。
七、演练总结1. 演练结束后,及时召开总结会议,对演练过程进行总结和评估。
应急服务承诺结合项目仓储中心的实际情况,为确保项目安全,减小突发事件影响,我司结合实际的处置经验,建立了以满足项目需求及合同执行的各种应急事件处置预案及承诺,确保突发事件得到及时且有效的处置。
1、应急处理类型(1)A类紧急情况:犯罪团伙突然袭击,重大火灾、触电伤亡、坠落伤亡、货物严重损失。
(2)B类紧急情况:除了A类的。
2、应急处理程序应急物资:消毒用品、急救物品(绷带、无菌敷料)及各种常用小夹板、担架、止血袋、氧气袋。
医院救护中心:120报警:110火警:119为了有效的防范盗窃、火灾等恶性事故的发生,打击犯罪活动,XX制定了紧急事件处理流程及应急服务承诺,使每一位工作人员熟悉了解紧急作战方案,当紧急事件发生时,迅速有序的采取措施,处理程序及承诺措施如下:1、无条件配合及接受甲方各方面的监督及检查,保洁方案根据甲方实际生产情况及临时需求做出安排。
2、配备安全管理组织体制如:安全管理的领导、各级安全员、各工种的安全操作规程、特种作业工人的审证考核制度及安全检查制度,确保作业过程中的安全及规范。
3、严格遵守国家相关法律、法规,保证作业的各个环节符合国家及行业安全标准,同时承担由于自身原因导致的法律责任和经济赔偿责任。
4、我方在服务过程中对工作人员签署严格的保密协议,绝不将相关信息披露给第三方。
5、对我司人员进行培训及教育,在按照甲方要求按时按量完成清洁工作的同时杜绝从业人员发生任何违法和妨碍治安的行为。
6、若期间我方因工作质量不合格而导致甲方不能正常作业从而造成的一切损失由我方承担,我方将对作业现场负全部责任,且遵守及完成劳动合同及安全管理协议书中提及相关内容、条例。
7、若我方因自身问题造成以下安全隐患的,甘愿被甲方扣除全额履约保证金。
1)被甲方在单位内查出同一重大安全隐患三次以上;2)特重大安全隐患未在规定时间内整改完毕;3)因我方原因造成火灾或其他安全事故;4)因我方原因造成人员伤亡事故;5)期间发生施工机械、生产主设备严重损坏事故;8、若我方期间发生以下违章行为,则按处罚条款处罚或扣除履约保证金。
1)甲方对我方的保洁工作进行验收后,若半年累计扣分在5分以上,则我方每多一分接受处罚300元整;2)作业人员在生产区内流动吸烟、施工车辆堵塞消防通道、作业人员未佩带防护用具、乱接电源等其他可能形成安全隐患的操作,接受扣除履约保证金500元整的处罚;3)未办理动火证擅自动火等违规行为,形成隐患未酿成事故,接受扣除履约保证金1000元整处罚;4)发生重大违规或屡次发生违规现象,可能造成事故的严重隐患,接受扣除履约保证金2000元整处罚;5)其他合同、投标文件及安全管理协议未提及的违规行为,可按照相关人员合法商议后得出的处理方法进行处理;处理情况结果报监控室做好记录一、火灾应急预案:为全面贯彻烟草醇化仓储中心火灾预防,我司实行“安全第一,预防为主,防消结合”的消防工作方针,在突发事故发生时,能够快速作出反应,正确、迅速、有序地应对和处置办公区域内应急疏散事故发生,落实消防安全责任,提高我公司、员工的消防安全意识和自防自救能力,保障企业和员工的人身、财产安全。
1、火灾预防1.1、成立保洁工作应急预案小组,由主管直接负责,保洁过程中火灾预防、处理及监察将由主管进行直接监管。
1.2、积极配合响应烟草醇化中心相关防火规定。
1.3、仓库清洁员应当熟悉储存物品的性质、业务知识和防火安全制度,掌握消防器材的操作方法。
1.4、对新职工进行全方位的消防知识和作业操作培训。
1.5、严格把控易燃清洁物品的发放及使用。
2、火灾疏散方案2.1、如果发生火灾且火势无法控制,主管须发布撤离疏散命令,且第一时间通知甲方火势情况,拟定临时撤离方案,照此方案迅速组织疏散。
2.2、发布撤离火场的疏散命令后,立即通知醇化仓储中控室及时通过紧急广播系统进行楼层疏散广播,各工作人员组织现场疏散。
2.3、疏散工作应首先由着火层开始,然后是着火部位的相临楼层。
2.4、现场人员要积极配合及引导其他人员沿最近的消防楼梯和消防通道撤离,并避免因拥挤和人流堵塞造成人员伤害。
2.5、撤离楼层后,在条件允许情况下由相关负责人检查房间,XX将配合及帮助确认无人在现场逗留。
3、火灾后清理3.1、清理现场时应注意安全,防止烫伤。
3.2、打扫地面积水,用拖把清拖地面。
3.3、用垃圾车清运火灾遗留残物。
3.4、检查火灾现场户外周围,如有残留杂物一并清运。
3.5、火灾后遗留的干净物,应及时进行清理。
3.6、保洁人员应加大对本管理区域的清洁力度,消除卫生死角,全力配合防疫工作,做好疫情防控工作。
3.7、灾后协助调查火灾发生原因、落实灾后处理办法,追究事故责任,对工作人员进行安全方面的教育。
二、触电应急预案:1、重点部位:仓库半裸露轨道排线、配电房、办公区、中心机房、辅料间、预作用报警房。
2、触电事故的规律:2.1、触电事故多发生在二、三季度,主要原因是天气潮湿、多雨加上天气炎热,人体多汗穿衣单薄,人体电阻大大下降。
这些都增加了触电的危险性。
2.2、低压设备上发生触电事故多。
2.3、单相触电事故多。
2.4、手持和携带式移动式设备上发生的触电事故多。
2.5、电气的连接部位发生触电事故多。
2.6、误操作造成的触电事故多。
3、触电急救:3.1、自救当自己触电时,如果神志清醒,则首先要保持冷静,迅速设法摆脱电源。
如跨步电压触电,应立即单脚跳出危险区域,另外,还要防止摔伤、撞伤等二次事故。
3.2、互救发现有人触电时,应迅速使人脱离电源,一般可以采用如下方法:3.2.1 如果电源的闸刀开关或插销就在附近,应迅速切断电源。
3.2.2 如果闸刀开关等不在附近则应声速用绝缘良好的电工钳或有干燥木把的利器(如刀、斧、等)把电线砍断。
3.2.3 若现场附近无任何合适的绝缘可利用,而触电者的衣服又是干的,这时救护人员可用干燥毛巾、衣服包在手上去拉触电者的衣服,使其脱离电源。
以上抢救办法不适用于高压触电,如遇高压触电时,应及时通知有关部门停电。
3.3、立即就地诊断当触电者脱离电源后,应立即就地进行诊断,但建筑工地条件复杂,往往医生不能及时赶到现场,因此有必要使每个施工人员都具有一定的急救常识,以免贻误时机。
触电者脱离电源后一般有以下几种情况:3.3.1 触电者的伤势不重,神志清醒,但心慌、四肢发麻、全身无力,或者触电过程中曾发生过一时昏迷,但已清醒过来,应使触电者在通风场所平卧安静休息,不要走动,派专人监护,闲杂人员应离去不得围观,同时应请医生来,对触电者血压、呼吸、心率等方面进行检查,或将触电者抬往医院检查治疗。
3.3.2 触电者的伤势较重,已经昏迷失去知觉,但心跳和呼吸暂时还正常,这时应将触电者平卧,四周空气流通,衣服适当解开,已利呼吸,如天冷要注意保温,并应速请医生来诊治或送到医院抢救,同时对其心跳和呼吸要加强观察,并做好准备,一旦其心脏停跳或停止呼吸,立即做进一步抢救。
3.3.3 触电者伤势严重,已处于“假死”状态,既人已昏迷,心脏停止跳动或呼吸停止,或心跳、呼吸全停止。
以上情况一旦出现,除应呼救外,应分秒必争,针对上述情况正确地施以不同的抢救方式。
抢救能否成功,时间是关键,切不可无视现场条件,讲究如量血压、数脉搏、测呼吸等正规诊断方法,也不能采用摇晃身体、将身体埋入黄土中,用木板压、用水泼或架着触电者跑步等不科学的方法来处理。
因为这样做只会给触电者带来不幸的结果。
3.3.4 正确连续抢救,人体遭受电击致死的原因较多,但是大多数是由于电流刺激人体心脏引起心室的纤维性颤动而导致死亡的。
触电者心跳和呼吸其中有一停止工作,这只能是一个暂时的现象,因为心跳停止,心脏散失排血功能,血液循环必然中断,呼吸中枢很快就会因为没有血液供应而散失呼吸功能。
如果呼吸停止,全身的各个部分包括心脏就会严重缺氧,心脏必然很快停止跳动。
所以有此现象时,在抢救中要密切观察触电者,一旦情况有变,立即对症抢救。
3.4、对于触电后出现假死的人,应立即在现场采用人工的方法帮助其建立血液循环和呼吸,以此来恢复对全身各器官的氧供给,尽快地使其能自主地恢复心跳和呼吸。
往往抢救工作需要很长时间,抢救者应充满信心,动作准确、果断、有力、有节奏,抢救工作要连续不断,在送往医院的途中也不能中止急救。
现场急救方法主要由口对口人工呼吸法和胸外心脏挤压法两部分组成:对口(鼻)人工呼吸法:3.4.1使触电者仰卧,并使其头部充分后仰(可用一只手托在其其颈后),使鼻孔朝上,张开其嘴,迅速取出触电者口腔内妨碍呼吸的食物、等杂物,使呼吸道畅通。
同时解开衣领,松开紧身衣物,排除影响胸部自然扩张的障碍。
3.4.2用一手紧捏其鼻子(避免漏气),救护人员深吸一口气后紧贴触电者的口(或鼻)向内吹气,约为2秒钟。
吹完气后立即让其自行将气呼出,约为3秒钟。
照此步骤连续不断地进行下去,每分钟11#、13次,每5秒一次。
胸外心脏挤压法:3.4.3 将已脱离电源的触电者直接(不要用软垫)仰卧在木板或又较坚实的地方,姿势与口对口(鼻)人工呼吸法基本相同;3.4.4 抢救者骑跨在触电人的腰部或跪在腰部一侧;3)抢救者两手相叠,手掌根部放在心窝上方、胸骨下三分之一至二分之一处;3.4.5 抢救者肘关节伸直,然后依靠体重和手臂力量向下垂直用力,向脊椎方向挤压,对于成人使胸骨下陷3-4CM,间接挤压心脏达到排血的目的;3.4.6 向下挤压到位后,掌根突然放松,让触电者胸部自动复原,血液充满心脏。
掌根放松时应注意不能完全离开胸部,以免发生挤压点位移后造成伤害。
按照上述步骤连续不断地进行,对于成人每分钟挤压60次。
对儿童可以有一只手的掌根压,用力适当轻些,以免损伤胸骨,每分钟100次左右。
4、触电应急预案的实施4.1 内部:由触电事故的第一发现人员口头或电话向应急值班室报告。
4.2对外急救联络电话:110、1204.3急救:由主管及以上人员负责指挥,其余应急小组人员参加。
4.4应急小组成员会同公司相关人员参与事故调查并提出处理意见。
4.5 善后处理:由公司应急领导小组组长指定相关部门负责。
三、人员伤亡紧急预案:1、员工在服务区域内发现人员伤亡情况,应及时准确的通知项目经理或责任主管。
2、接到人员伤亡的报警后,接警值班人员须及时与相关负责人取得联系,相关负责人接到人员受伤报告后,拨打120急救电话,并携带急救箱及专业人员赶赴予以应急救护。
3、了解伤者受伤的经过,检查落实伤亡原因并采取相应措施。
4、视情况决定是否需要联系伤者的家人。
5、对重伤人员要及时送往医院。
6、对意外伤害,在积极救治的同时还要认真查明伤害地点、时间、伤害物及属于受何种情况的伤害查清疑点,详细记录,必要时请公安机关协助处理。
7、对于人员伤残,除报告甲方及项目负责人外,未经批准不得对外泄露事件有关情况。