高岭土的矿山开采方法
- 格式:doc
- 大小:24.00 KB
- 文档页数:5
书山有路勤为径,学海无涯苦作舟高岭土的开采高岭土是景德镇陶瓷坯体的主要原料之一,约占全部坯体原料的30%。
高岭土是一种疏松的土质原料,容易开采。
采矿工艺比瓷石简单,主要是露天开采,至一定深度后改用巷道开采。
高岭土矿床表面一般都覆盖有一层黄土,厚度不等,浅者有1 米左右,甚至有矿体外露出地表;厚者可达10 米以上。
露天开采高岭土必须将矿体表面的黄土剥去,俗称剥山皮。
剥山皮在开采高岭土的过程中工作量较大,是影响高岭土生产成本的重要因素。
剥去山皮之后,矿体表面仍有黄土和其他杂物,必须进一步对矿床进行清理。
高岭土矿体结合松散的,可直接进行冲浆采矿。
矿体结合紧密的,必须人工挖掘破碎或爆破,使矿体呈松散状态。
高岭土矿体一般在地面表土的1 米-5 米下面,尤其是再生高岭土经雨水冲刷顺山坡流下,沉积在低洼处,只要用锄掘取,多系露天开采。
景德镇明砂高岭和大洲高岭、星子高岭等矿属山坡露天开采。
露天开采尽后,顺山坡矿体挖洞掘进,人们用坑木沿巷道搭起撑架,防止松土塌方。
但高岭土矿巷道周围均系松土,故难以进行深巷道掘进。
凹陷露天开采抚州砂子岭矿体深藏地下,采取剥离余土,开辟堑沟及阶梯护坡,沿矿体设置轻轨,斜坡轨道采用卷扬机提升。
水力开采大洲矿在山顶建造储水池蓄水,利用自然落差形成一定水压,人持水龙头冲采高岭土,使其分散顺山坡流人到浆池进行淘汰加工。
以后改进为支架式水枪,喷枪可循环性旋转,既节省人力,又改善了劳动条件。
tips:感谢大家的阅读,本文由我司收集整编。
仅供参阅!。
高岭土生产工艺高岭土生产工艺流程目前,工业上高岭土常见的选矿工艺有干法和湿法两种。
干法工艺一般包括破碎、干燥(通常在旋转干燥器中进行)、细磨和空气浮选等几道工序。
该工艺可将大部分砂石除去,适用于加工那些原矿白度高、砂石含量低、粒度分布适宜的矿石。
干法加工生产成本低,一般适用于干燥地区,产品通常用于橡胶、塑料及造纸等工业的低价填料。
国内外高岭土选矿工艺多半选择湿法,湿法工艺包括浆料的分散、分级、杂质分选和产品处理等几个阶段。
一般流程为:原矿→破碎→捣浆→除砂→旋流器分级→剥片→离心机分级→磁选(或漂白)→浓缩→压滤→干燥→包装。
煤系(硬质)高岭土是我国特有的高岭土资源,目前生产上基本采用先超细后煅烧或先煅烧后超细加工工艺。
先超细后煅烧工艺流程一般为:原矿→破碎→粉碎→捣浆→湿式超细研磨或剥片→干燥→煅烧→解聚→分级→包装。
先煅烧后超细工艺流程一般为:原矿→破碎→粉碎→煅烧→湿式超细→干燥→包装。
以中国高岭土公司为例,高岭土生产工艺分采矿、选矿两部分。
采矿工艺流程:回采工作面凿岩→爆破→装卸运输→提升→地面运输→手选→高岭石原矿。
选矿工艺流程:高岭土原矿→破碎→制浆→旋流分级→浓缩→压滤→自然干燥→块状高岭土,若要生产含水量低、高品位的粉末状高岭土则要经过磨粉、烘干工艺流程。
每吨块状高岭土成品综合能耗约0.064t标煤/吨产品,耗电量约65.64度/吨产品,耗水量约7.5t/吨产品,坑木消耗量约0.8M3/百吨产品,排放废水和选矿废渣约0.56t/吨产品。
高岭土的加工工艺随着原矿性质、产品用途及产品质量要求的不同而不同。
总体来说,高岭土的加工技术包括:提纯增白、超细加工、改性等。
高岭土1、提纯高岭土的主要矿物是高岭石和多水高岭石,除高岭石族矿物外,亦常伴生有蒙脱石、伊利石、叶腊石等黏土矿物,石英、长石、铁矿物、钛矿物等非黏土矿物及有机质。
为生产出能满足各工业领域需求的高岭产品,常采用物理法、化学法及高温煅烧法对高岭土进行提纯除杂。
高岭土矿开采方法及其矿压研究金明【摘要】结合高岭土矿开采的特点介绍了其开采方法,分析了导致冲击地压的因素.以阳西矿为例,总结了高岭土矿的具体开采方法和预防事故发生采取的措施.【期刊名称】《中国矿山工程》【年(卷),期】2017(046)004【总页数】4页(P50-53)【关键词】高岭土矿;开采工作面;开采方法;矿压【作者】金明【作者单位】中国高岭土有限公司,江苏苏州215163【正文语种】中文【中图分类】TD873+.2通过资料收集与调研考察,不难看到国外对于较高难度的矿层开采一般采用的是长壁崩落法,主要工作方式是机械化采矿。
如美国的阿连德天然碱矿以及前苏联的恰图拉锰矿,不管是工作面的落矿,矿层顶板的管理方法亦或是矿石运输的方式全部以综合机械方式进行,这主要是长壁式崩落方法所采用的管理形式相对其他方法要简单得多,大部分采用的是综合工作队的劳动方式。
我国高岭土矿资源相当丰富,目前已经探明的矿产地有260多处,排名在世界上居于前列,非煤建造高岭土资源重点分布在湖南、江苏、福建、广东等省,大约占我国总储量的85%;而含煤建造高岭土则集中分布于陕西、内蒙古、山西等地[1]。
目前,开采高岭土的方法主要采用单层崩落采矿法,这种方法主要根据开采工作面长度或形式的差异,灵活地采取长壁崩落法或短壁式崩落法。
长壁式工作面在开采过程中主要靠倾斜的角度进行开采,由于倾斜的方向有所不同,所以要根据方向划分阶段。
短壁工作面就是在划分出来的阶段中进行设置。
长壁式工作面的长度大部分在30~60m之间,短壁式工作面的长度大概在15~30m之间。
有些矿体的顶板不稳定且矿体形式为缓倾斜层状薄矿体,这种矿体采用的开采方式是单层长壁式崩落法。
其特征是根据阶段进行矿体划分,根据阶段的倾斜角度进行全长工作面布置,根据倾斜的走向进行推进,一次采全高,根据工作面进行开采,按照预先的规划进行回柱放顶,使脱落或者崩落的顶板能安全地填满采空区[2]。
技术一文了解高岭土选矿加工技术及其研究进展!除铁增白是提高高岭土附加值和应用效果的重要手段,为了去除高岭土原矿中的铁、钛矿物及有机质等着色物,提高其白度,必须要对其进行选矿提纯。
1、高岭土选矿加工工艺近年来由于用户对产品质量要求越来越高,大大推动了高岭土选矿工艺和相关技术的发展。
工业上高岭土的选矿加工工艺主要分为干法和湿法。
(1)干法工艺干法工艺主要采用风选,是一种简单、经济的加工工艺。
采出的原矿经过锤式破碎机碎至25mm后,给入笼式破碎机,使粒度减小到6.35mm,笼式破碎机内的热空气将高岭土的水分由采出的20%降至10%左右。
碎后的矿石则经配有离心分离机和旋风除尘器的吹气式雷蒙磨进一步磨细。
该工艺可将大部分砂石除去,用于造纸工业时,该产品可作为填料层灰分含量小于10%或12%处的填料,此时产品的亮度要求不高。
通常硬质高岭土采用干法生产,可省掉产品脱水和干燥过程,减少微粉流失,工艺流程短,生产成本低,适宜于干旱和缺水地区。
(2)湿法工艺湿法工艺包括矿石准备、选矿加工和产品处理三个阶段。
准备阶段包括配料、破碎和捣浆等作业。
选矿阶段包括水力分级、浮选、选择性絮凝、磁选、化学处理(漂白)等作业,以除去不同的杂质。
漂白的粘土用高速离心机、旋转式真空过滤机或压滤机脱水。
滤饼经再分散成55%-65%固体的矿浆,然后喷雾干燥制成松散的干品。
部分干品被混入到分散的矿浆中制成70%固体,再运至造纸厂。
软质高岭土用湿法生产。
造纸涂布用高岭土,对物质组成、白度、粒度组成、粘浓度和含砂量等方面都有较高的要求,一般采用湿法工艺。
2、高岭土选矿提纯技术研究进展(1)分散剂降粘分散剂可以改善高岭土悬浮液的分散状况和流变性,能明显地改善洗选、水力旋流器分级、高梯度磁选等分选效果,显著提高生产能力,且易于控制和操作。
加入分散剂改善高岭土粘度特性是目前最常用的一种有效方法,应用最广的是加入聚丙烯酸盐、聚磷酸盐等负电性分散剂来调节料浆的粘度。
第30卷增刊 非金属矿 V ol.30 Sp. Issue 2007年9月 Non-Metallic Mines Sep, 2007中国高岭土公司现有三座地下开采的矿山,三个高岭土精加工厂,二条尾矿综合利用生产线,一个专门从事高岭土选矿技术与新品开发的研究所。
年开采高岭土矿石25万t ,年选矿能力18万t 。
公司拥有国内最先进的高岭土选矿技术,但针对软质高岭土的地下开采,几代采矿技术人员也一直为寻求理想的高岭土开采方法而进行艰难尝试。
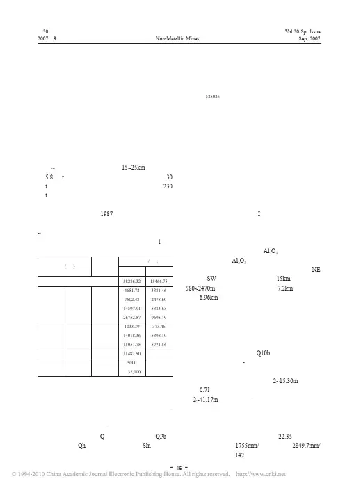
1 分层崩落采矿法的应用高岭土矿体松软,坚固性系数仅为0.07~0.17,节理裂隙发育。
矿体赋存的基本形态为倾斜状,厚度大多大于20m ,走向延展较长。
公司三座地下矿山从上世纪六十年代至今,一直采用分层崩落法进行高岭土的开采。
1.1 主要技术参数开采技术条件:矿体厚度30~40m ,矿体倾角40o ~50o ,矿石极不稳固,允许暴露面积约4~7m 2,黏结性强,遇水膨胀、崩解,发生底鼓,采场压力大。
底板为大理岩,f =5~6,中等稳固;顶部为砂页岩,不稳固。
采区构成要素:矿体长40m ,宽20~ 30m ,阶段高35m ,分层高3~3.5m 。
采准切割布置:矿块沿走向布置,采用脉外采准为主, 每个采区布置二个天井,采区天井之间用联络巷道沟通,以形成采区的二个安全出口(图1)。
1.2 回采顺序和工艺 ①采场回采按分层自上而下逐层回采,每分层自采区天井开门,垂直矿体走向掘进横向进路。
掘至采区边界或矿体边界后,垂直横向进路掘进回采进路,掘至采区边界后退式回采。
进路间距4m 。
随进路掘进及时铺设竹笆人工假顶,以利形成再生顶板。
②各采场应保持均衡下降,相邻采场之间应以分层联络巷道连通,以作为采场的第二安全出口。
③回采进路掘到边界后,后退回收矿柱。
先采完侧柱,然后拆柱放顶,每次两架,矿石自然崩落,从支架下出矿。
④工作面用G10风镐落矿,紧跟梯形木支架,矿石用耙子、畚箕和手推车运至采区天井卸入0.32m 3箕斗内,用11.4kW 绞车下放,装入0.55m 3的矿车。
高岭土的矿山开采方法中国所产高岭土70%~80%用于陶瓷及耐火材料,大部分直接利用原矿,低档的作耐火材料。
江苏苏州高岭土矿为软质高岭土,品位高,可直接在工业上利用,其手选1号泥比手选4号泥价格高10多倍,因此开采时要求保护优质土,保护原矿的纯度并使其不变成碎屑状,过去多在回采工作面进行人工选别回采,现在开采规模大了,但为与手选厂的衔接,仍然要注意选别回采。
高岭土的原矿价格相差较大,例如:苏州中国高岭土原矿价为230元/t,福建龙岩高岭土公司原矿价为90元/t,吴县青山白泥矿原矿价为203.5元/t,原矿售价影响采矿方法和开采工艺的选择。
广东茂名高岭土为砂性高岭土,水采水运,主要生产造纸涂料级高岭土,不存在原矿出售问题,其低档产品作陶瓷用、填料用。
近年来煅烧高岭土在国内外市场很受欢迎,国内一般是煤系硬质高岭岩(土)经深加工处理而得,硬质高岭岩(土)由于是和煤共伴生,其开采是按煤的开采情况及其本身的赋存情况来定,现由煤炭部综合利用部门管理,国内尚未单独开采,以下将不述及。
(一)开采方法和开采规模的划分高岭土矿的开采方法有露天开采和地下开采。
风化残积型高岭土矿多露天开采,如茂名的砂性高岭土。
其他热液蚀变型和沉积型矿床浅部用露天开采,深部用地下开采。
采用露天开采的矿点多,但多数是中小型矿山,大型的有福建龙岩高岭土公司、广东茂名高岭土公司、广东茂名南方高岭土公司。
原苏州中国高岭土公司所属阳西矿区、阳东矿区都曾用过露天开采。
地下开采规模较大的有:江苏苏州阳西竖井、观山竖井、阳东的白善岭矿和吴县青山白泥矿等。
开采规模的划分,采用二种办法:一是按矿石量计;二是按精矿量计。
(二)开拓运输高岭土矿露天开采的开拓运输用得较多的有3种:一为铁路窄轨开拓,用7t,或10t,或14t电机车牵引1m3矿车。
原苏州中国高岭土公司所属阳东、阳西的露天开采都曾用过。
二是配合水枪开采用砂泵进行水力输送,将矿浆从设于矿块中的集浆池用砂泵输送至精选厂,如广东茂名高岭土公司和广东茂名南方高岭土公司。
高岭土的矿山开采方法第一篇:高岭土的矿山开采方法高岭土的矿山开采方法中国所产高岭土70%~80%用于陶瓷及耐火材料,大部分直接利用原矿,低档的作耐火材料。
江苏苏州高岭土矿为软质高岭土,品位高,可直接在工业上利用,其手选1号泥比手选4号泥价格高10多倍,因此开采时要求保护优质土,保护原矿的纯度并使其不变成碎屑状,过去多在回采工作面进行人工选别回采,现在开采规模大了,但为与手选厂的衔接,仍然要注意选别回采。
高岭土的原矿价格相差较大,例如:苏州中国高岭土原矿价为230元/t,福建龙岩高岭土公司原矿价为90元/t,吴县青山白泥矿原矿价为203.5元/t,原矿售价影响采矿方法和开采工艺的选择。
广东茂名高岭土为砂性高岭土,水采水运,主要生产造纸涂料级高岭土,不存在原矿出售问题,其低档产品作陶瓷用、填料用。
近年来煅烧高岭土在国内外市场很受欢迎,国内一般是煤系硬质高岭岩(土)经深加工处理而得,硬质高岭岩(土)由于是和煤共伴生,其开采是按煤的开采情况及其本身的赋存情况来定,现由煤炭部综合利用部门管理,国内尚未单独开采,以下将不述及。
(一)开采方法和开采规模的划分高岭土矿的开采方法有露天开采和地下开采。
风化残积型高岭土矿多露天开采,如茂名的砂性高岭土。
其他热液蚀变型和沉积型矿床浅部用露天开采,深部用地下开采。
采用露天开采的矿点多,但多数是中小型矿山,大型的有福建龙岩高岭土公司、广东茂名高岭土公司、广东茂名南方高岭土公司。
原苏州中国高岭土公司所属阳西矿区、阳东矿区都曾用过露天开采。
地下开采规模较大的有:江苏苏州阳西竖井、观山竖井、阳东的白善岭矿和吴县青山白泥矿等。
开采规模的划分,采用二种办法:一是按矿石量计;二是按精矿量计。
(二)开拓运输高岭土矿露天开采的开拓运输用得较多的有3种:一为铁路窄轨开拓,用7t,或10t,或14t电机车牵引1m3矿车。
原苏州中国高岭土公司所属阳东、阳西的露天开采都曾用过。
二是配合水枪开采用砂泵进行水力输送,将矿浆从设于矿块中的集浆池用砂泵输送至精选厂,如广东茂名高岭土公司和广东茂名南方高岭土公司。
高岭土及其选矿工艺概述高岭土及其选矿工艺概述一、高岭土概述高岭土是一种以高岭石族粘土矿物为主的粘土或粘土岩。
高岭石因首先发现于江西省景德镇的高岭山而得名。
高岭石族粘土矿物包括高岭石、埃洛石、地开石、珍珠陶土等。
组成高岭土的矿物有粘土矿物和非粘土矿物两类。
粘土矿物主要是高岭石族矿物,非粘土矿物为石英、长石、云母等矿物。
高岭石的化学式为:Al4[Si4O10](OH)8,其理论化学成份:Al2O3:39.5%,SiO2:46.54%,H2O:13.96%。
高岭石为单斜或三斜晶系,粒度小,通常由<2μm的片状或管状晶体组成。
纯净者为白色,光泽暗淡,硬度近于1,密度2.6g/cm3左右。
具有可塑性、易分散、悬浮和良好的成型、干燥以及烧结性能,以及阳离子交换低,耐火度、电阻、击穿电压高等性能。
二、高岭土用途高岭土主要用于陶瓷、造纸和耐火材料工业。
其次用于涂料、橡胶填料、搪瓷釉料和白水泥。
少量用于塑料、油漆、颜料、医药、纺织、石油、化工、建材、国防等工业部门。
主要用途见下表:三、矿床类型与实例高岭土矿床有三类:风化型、热液蚀变型和沉积型。
矿床实例:福建龙岩东宫下高岭土矿床为花岗岩风化型高岭土矿床。
矿体产于花岗岩风化带之中,呈似层状、被盖状。
矿石呈灰白色、白色、土黄色、砂状、土状。
矿物组成为埃洛石、高岭石、伊利石、石英等。
主要化学成份:SiO2:65~73%、Al2O3:15~24%、Fe2O3、TiO2含量较低。
四、高岭土矿石测试项目1、化学分析:Al2O3、Fe2O3、TiO2、SiO2、MgO、CaO、Na2O、K2O、TSO3(含硫矸)的含量。
2、物性测定:粒度组成(如76μm、43μm、10μm、5μm、2μm的百分含量)、白度(含烧成白度)、可塑性、干燥收缩率、耐火度。
四、选矿方法及工艺流程1、选矿加工方法:为了分离高岭土矿中的石英、长石、云母、铁矿物、钛矿物等非粘土矿物及有机物等,生产出能满足各应用领域需求的高岭土产品。
高岭土主要选矿提纯技术及特点2022-12-27对高岭土进行提纯的目的一方面主要是去除其中的铁矿物、钛矿物和有机质等有害的染色杂质,以提高产品的白度;另一方面是去除石英、长石等砂质矿物,以提升高岭土产品的品质,进而拓展其应用的广度及深度,在充分利用高岭土资源的同时获得更好的经济效益。
目前,高岭土采用的提纯工艺主要包括重选、磁选、浮选、浸出、化学漂白和焙烧等。
1、重选重选提纯工艺主要是利用高岭土与脉石矿物之间的密度和粒度差异,去除轻质的有机质和含铁、钛和锰等元素的高密度杂质,以达到提纯高岭土的目的,减少或去除杂质对其白度的负面影响。
以小锥角旋流器组或离心机替代高岭土提纯流程中的洗涤和筛分作业,既能实现洗涤和分级的目的,还可以去除部分杂质,具有较好的应用价值,但同时也要考虑仅通过重选工艺很难得到符合要求的最终高岭土产品,重选提纯后仍要通过煅烧、磁选和浸出等方法以得到最终合格产品。
2、磁选磁选工艺用于去除高岭土中的赤铁矿、菱铁矿、黄铁矿和金红石等弱磁性染色杂质。
磁选不需要使用化学药剂,对环境无污染,因而在非金属矿的提纯过程中使用较为广泛。
去除高岭土中的弱磁性杂质颗粒需要较高的磁场磁感应强度和磁场梯度,而磁选技术的发展及设备的升级,使高岭土等非金属矿的磁选提纯得以有效实现。
高性能的强磁选设备SLon立环高梯度磁选机,新兴的磁分离设备超导磁选机,磁选提纯工艺解决了因含铁量高而不具备商业开采价值的低品质高岭土资源的开发利用问题,但单一的磁选作业也难以获得高品质的高岭土产品,目前还需要配合化学漂白等其他工艺来进一步降低高岭土产品的含铁量。
3、浮选浮选提纯工艺可以有效去除高岭土中的含铁、钛和碳杂质,实现回收再利用煤系高岭土等低品级高岭土资源。
高岭土颗粒较细,比脉石矿物更难上浮,因此高岭土浮选提纯工艺多采用反浮选以达到较好的去除杂质的效果,如反浮选除碳、脱硫和除铁。
煤油为捕收剂,松醇油为起泡剂,水玻璃为抑制剂,浮选提纯工艺多用来处理杂质较多和白度较低的高岭土原矿,以实现对低品级高岭土资源的综合利用。
高岭土选矿提纯技术简述高岭(岩)土原矿中程度不同地存在石英、长石和云母以及铝的氧化物和氢氧化物、铁矿物(褐铁矿、白铁矿、磁铁矿、赤铁矿和菱铁矿)、铁的氧化物(钛铁矿、金红石等)以及有机物(植物纤维、有机泥炭及煤)等杂质。
在要求较高的应用领域必需对其进行选矿提纯。
高岭土的选矿方法依原矿中拟除去杂质的种类、赋存状态、嵌布粒度及所要求的产品质量指标而定。
对于原矿杂质含量较少、白度较高、含铁杂质少、重要杂质为砂质(石英、长石等)的高岭土,可采纳简单的粉碎后风选分级的方法除去(即干法选矿);对与杂质含量较多、白度较低、砂质矿物及铁质矿物含量较高的高岭土,一般要综合采纳重选(除砂)、强磁选或高梯度磁选(除铁、钛矿物)、化学漂白(除铁质矿物并将三价铁还原为二价铁)、浮选(与含铝矿物,如明矾石分别或除去锐钛矿)等方法;对于有机质含量较高的高岭土,除了前述方法之外,还要采纳打浆后筛分(除植物纤维)和煅烧(除机泥炭及煤)等方法。
高岭土的选矿工艺依矿石类型而定。
以下实在介绍软质高岭土和砂质高岭土、硬质高岭土(高岭石岩)这二种不同类型高岭土矿的选矿方法。
①软质高岭土和砂质高岭土软质高岭土和砂质高岭土一般采纳湿法选矿工艺。
其原则工艺流程如下:原矿堆存或混匀制浆除植物纤维分级除砂磁选漂白压滤脱水干燥原矿或堆存混匀后的原矿按设定好的浓度要求加入水和分散剂在搅拌机或捣浆机中制浆。
制浆的目的是使高岭土分散并与砂质矿物、植物纤维分别以便为下续除杂和除砂作业准备合适浓度的浆料。
制备好的矿浆用振动筛去除植物纤维及粗颗粒砂,再采纳水力旋流器组、卧式螺旋卸料沉降式离心分级机去除细砂。
假如除砂后的产品能充足某一领域的应用要求,可以加入絮凝剂(如明矾)使其凝集后进行压滤和干燥。
如需得到优质或高品质的高岭土,绝大多数情况下还需要进行强磁选或高梯度磁选、化学漂白、甚至于浮选和选择性絮凝等。
目前工业上大多采纳强磁选或高梯度磁选和化学漂白。
高岭土中的染色矿物杂质如褐铁矿、赤铁矿、菱铁矿、黄铁矿、锐钛矿、金红石等均具有弱磁性,因此,除砂后的高岭土可进一步用强磁选机或高梯度磁选机中进行磁选。
高岭土选矿工艺高岭土是一族粘土矿物的总称,其基本组成为高岭石组和多水高岭石组,主要由高岭石、埃洛石组成,含量可达90%以上,其次还有水云母,常混有黄铁矿、褐铁矿、锐钛矿、石英、玉髓、明矾等,有时还有少量的有机质。
高岭土具有可塑性、粘结性、烧结性及耐火性等优良的工艺特性,所以被广泛应用于陶瓷、造纸、橡胶、塑料和耐火材料等工业。
高岭土矿床的成因类型主要有三类:风化型、沉积型和热液蚀变型。
高岭土原矿的加工工艺取决于原矿的性质及产品的最终用途。
在工业生产中应用的工艺有两种:干法工艺和湿法工艺,通常硬质高岭土采用干法生产,软质高岭土采用湿法生产。
2 干法选矿工艺干法工艺是一种简单经济的加工工艺。
采出的原矿经过锤式破碎机碎至25.4mm后,给入笼式破碎机,使粒度减小到6.35mm,笼式破碎机内的热空气将高岭土的水分由采出的20%降至10%左右。
碎后的矿石则经配有离心分离机和旋风除尘器的吹气式雷蒙磨进一步磨细[2]。
该工艺可将大部分砂石除去,产品通常用于橡胶、塑料及造纸工业的低价填料。
用于造纸工业时,该产品可作为填料层灰分含量小于10%或12%处的填料,此时产品的亮度要求不高。
当干法对产品的白度等要求较高时,必须对雷蒙磨产出的产品进行干式除铁。
干法工艺的优点是可省掉产品脱水和干操过程,减少灰粉流失,工艺流程短,生产成本低,适宜于干旱和缺水地区。
但要得到高纯优质高岭土还得靠湿法工艺。
3 湿法选矿工艺湿法工艺包括矿石准备、选矿加工和产品处理三个阶段。
准备阶段包括配料、破碎和捣浆等作业。
捣浆是将高岭土原矿与水、分散剂混合在捣浆机内制浆,捣浆作业可使原矿分散,为选别作业制备适当细度的高岭土矿浆,并同时去掉大粒的砂石。
选矿阶段可能包括水力分级、浮选、选择性絮凝、磁选、化学处理(漂白)等作业,以除去不同的杂质。
准备好的矿浆先经耙式洗箱、浮槽分级机或旋流器除砂,然后用连续式离心机、水力旋流器、水力分选器或振动细筛(325目)将其分为粗细两个粒级。
高岭土的开采与应用高岭土是一种非金属矿产,是一种以高岭石族粘土矿物为主的粘土和粘土岩。
因江西省景德镇高岭村而得名。
质纯的高岭土呈洁白细腻、松软土状,具有良好的可塑性和耐火性等理化性质。
其矿物成分主要由高岭石、埃洛石、水云母、伊利石、蒙脱石以及石英、长石等矿物组成。
高岭土用途十分广泛,主要用于造纸、陶瓷和耐火材料,其次用于涂料、橡胶填料、搪瓷釉料和白水泥原料,少量用于塑料、油漆、颜料、砂轮、铅笔、日用化妆品、肥皂、农药、医药、纺织、石油、化工、建材、国防等工业部门。
高岭土是主要成分为高岭石的粘土矿物,作为一种重要的非金属矿产,被广泛应用于油漆、涂料、造纸、橡胶、塑料、电缆、陶瓷、搪瓷、耐火材料、纺织、水泥、汽车、化学、环保及农业等领域。
高岭土除含高岭石外,一般还含有埃洛石、石英、明矾石和少量黄铁矿、赤铁矿、褐铁矿及金红石或锐钛矿等有害杂质。
目前,全世界约有五十多个国家出产高岭土,主要集中在美国、巴西、中国、英国和捷克,总产量占到世界市场的一半以上。
高岭土早期主要为制作陶瓷的矿物原料,中国是世界上最早使用高岭土制作陶瓷的国家。
高岭土的主要矿物,高岭石,化学分子式Al4[Si4O10](OH)。
,为含氧盐大类层状结构硅酸盐高岭石族矿物。
之所以称之为高岭石,渊源于我国江西省东北部景德镇市东面的高岭村产出质地优良高岭石资源,海内外享有盛名。
高岭土属于粘砂物,是我国“十五”期间重点开发的无机非金属矿物,价值和广阔的发展前景。
其构造简单,储量丰富,品位优良,质纯的高岭土具有白度高、质软、易分散悬浮于水中、良好的可塑性和高的粘结性、优良的电绝缘性能;具有良好的抗酸溶性、很低的阳离子交换量、较好的耐火性等理化性质。
因此高岭土已成为造纸、陶瓷、橡胶、化工、涂料、医药和国防等几十个行业所必需的矿物原料。
有报道称,日本还有将高岭土用于代替钢铁制造切削刀具、车床钻头和内燃机外壳等方面应用。
特别是最近几年,现代科学技术飞速发展,使得高岭土的应用领域更加广泛,一些高新技术领域开始大量运用高岭土作为新材料,甚至原子反应堆、航天飞机和宇宙飞船的耐高温瓷器部件,也用高岭土制成。
(综述)2021年04月Ceramics•15•富曬土ST迭fiTfl]工方诺槁述王明俊(咸阳非金属矿研究设计院有限公司陕西咸阳712021)摘要笔者综合了目前国内和国外的高岭土矿的选矿加工方法,系统地从各个不同的方面阐述了含有各种伴生矿物的高岭土矿的选矿加工方法。
从物理方面、化学方面和物理化学方面探究并总结了高岭土的选矿加工方法,并简要介绍了高岭土的主要应用和发展情况。
关键词高岭土选矿加工方法中图分类号:TQ174.4文献标识码:B文章编号:1002-2872(2021)04-0015-03Summary of Kaolin Mineral Processing MethodWANG Mingjun{Xianyang Non—metallic Mineral Research And Design Institute Co.Ltd,Shaanxi,Xianyang,712021,China)Abstract:This paper combines the current domestic and foreign kaolin ore dressing processing method,the paper expounds systematically from different with various associated minerals,kaolin ore mineral processing methods,from physics,chemistry and physical chemistry to explore and summarize the kaolin mineral processing method,and briefly introduces the main application and development situation of kaolin.Key words:Kaolin;Ore dressing;Processing;Methods前言高岭土(又称观音土、白鳍泥、膨土岩、斑脱石、甘土、皂土、陶土、白泥)是一种含铝的硅酸盐矿物,颗粒细腻,呈白色软泥状,多无光泽。
目录1.概述 (2)1.1.矿山位置与交通 (2)1.2.矿区自然地理、气象条件 (2)1.3.矿山概况 (2)2.设计编制依据和编制原则 (6)2.1.编制依据 (6)2.2.编制原则 (6)3.地质资源概况 (8)3.1.矿床地质特征 (8)3.2.矿山开采技术条件 (10)4.开采方案 (11)4.1.开采境界及储量计算 (11)4.2.矿山工作制度、生产能力及服务年限 (14)4.3.矿床开采、开拓方式和采矿方法 (15)5.精选 (21)6.总图运输 (23)6.1.概况 (23)6.2.总平面布置 (23)6.3.道路及运输设备 (24)6.4.绿化 (24)6.5矿区主要工程量 (24)7.生产辅助设施 (26)7.1.供电与通讯 (26)7.2.给排水及消防 (26)7.3.机修 (27)8.安全专篇 (28)8.1.设计依据 (28)8.2.工程概况 (28)8.4.采矿作业安全措施 (29)8.5.采矿场防排水措施 (30)8.6防尘与噪声 (30)8.7.运输安全措施 (31)8.8.用电设备安全及采场的防雷电 (32)8.9.泥石流的防治措施 (32)8.10.矿山防火 (33)8.11.防高温中暑措施 (33)9.劳动安全与工业卫生机构 (34)9.1.建立和健全矿山安全生产管理制度 (34)9.2.建立和健全应急预案制度 (34)9.3.建立和健全安全生产岗位责任制 (35)9.4.建立和健全各工种安全技术操作规程 (35)9.5.建立和健全安全救护组织措施 (35)9.6.劳动定员与培训 (36)9.7.安全专项资金 (37)10.开采方案简要结论 (38)10.1.开采矿量、设计规模及服务年限 (38)10.2.开采方式及开拓运输方案 (38)10.3.采剥工艺方案 (38)10.4.粗选工艺 (38)10.5.综合利用 (38)10.6.总平面布置 (39)10.7.技术经济 (39)10.8.评价与结论 (40)10.9.综合技术经济指标 (40)附件:1、企业营业执照2、采矿许可证3、设计委托书附图:1、总平面布置图2、地形地质图、采场现状图3、开拓终了图、采场防、排水系统图4、开采终了图5、A—A′开采终了剖面图6、采矿工艺示意图1.概述1.1.矿山位置与交通xxxx瓷土公司xxx高岭土矿位于茂南区山阁镇,行政隶属山阁镇管辖。
浅析煤系硬质高岭土机械化开采的技术方法张伟(淮北朔里矿业有限责任公司;安徽淮北 235052)摘要:浅析高岭土矿赋存情况、开采过程中存在的问题、开采方案分析、开采技术参数选择,以及开采效果等。
关键词:煤系高岭土;开采;方案;选择1 综述在当前高岭土需求和销售价格不断攀升情况下,朔里矿业也加大了开采的力度,将人工开采转向机械化开采。
改变了破岩效率差、机械化装运程度低、采场支护落后等问题,切实实现了安全高效开采。
2 高岭土矿赋存情况该矿五层煤下部含有一层厚度为3.92m的优质高岭土矿层,倾角6°~12°,其顶板自下而上依次为铝质泥岩;粉砂质泥岩,平均厚度4.66m;炭质泥岩,平均厚度4.12m。
炭质泥岩是已采完的五层煤的底板,上为三、五层煤采空区。
3 开采过程中的问题1)开采总体上遇到的问题。
自1993年开始,该矿已实现了小规模的开采。
由于当时没有相应的理论和技术为指导,并缺乏实验经验,所以在开采过程中曾遇到了许多技术难题,主要在:①工作面支护采用金属磨擦支柱、铰接顶梁配套使用。
由于金属磨擦支柱不能适应顶板来压的要求,回采时顶板铝质泥岩极不稳定,易冒落,工作面经常发生冒顶,支护条件差。
工作面高度一般只有1.5m左右,工人工作条件也很差。
②两巷超前支护基本为金属磨擦支柱、木支柱等混合使用,使用效果不好,两巷超前支护经常发生损坏,并导致巷道破坏,影响正常生产。
③采区运输方式:工作面采用刮板运输机,运输平巷采用转载机和矿车,运矿、运料及行人共用一条斜巷,相互影响。
④回采面采用五花眼炮眼布置方式,从机巷开始沿工作面向上分组,顺序起爆,一组两个炮眼。
这种爆破方式不仅导致放炮时间过长,工人劳动强度大,生产效率低,且还常常出现顶板跨落和爆破飞行、冲击波过大而推倒支架,推翻链板机现象,给生产带来很大的安全隐患。
⑤高岭土回采技术措施基本参照采煤面作业规程编写,缺乏相应的理论和技术依据。
2)开采方法与运输系统中的问题。
高岭土选矿方法
高岭土是一种重要的工业原料,广泛应用于陶瓷、造纸、涂料、橡胶、塑料等行业。
高岭土选矿方法主要有以下几种:
1. 重选法:利用高岭土和杂质之间的比重差异,通过重选设备将高岭土和杂质分离。
2. 浮选法:利用高岭土和杂质之间的表面性质差异,通过浮选药剂将高岭土和杂质分离。
3. 磁选法:利用高岭土和杂质之间的磁性差异,通过磁选设备将高岭土和杂质分离。
4. 化学选矿法:利用化学药剂对高岭土进行处理,改变其表面性质,使其与杂质分离。
5. 生物选矿法:利用微生物对高岭土进行处理,改变其表面性质,使其与杂质分离。
不同的选矿方法适用于不同的高岭土矿石,具体的选矿方法需要根据矿石的性质和用途来确定。
高岭土的矿山开采方法
中国所产高岭土70%~80%用于陶瓷及耐火材料,大部分直接利用原矿,低档的作耐火材料。
江苏苏州高岭土矿为软质高岭土,品位高,可直接在工业上利用,其手选1号泥比手选4号泥价格高10多倍,因此开采时要求保护优质土,保护原矿的纯度并使其不变成碎屑状,过去多在回采工作面进行人工选别回采,现在开采规模大了,但为与手选厂的衔接,仍然要注意选别回采。
高岭土的原矿价格相差较大,例如:苏州中国高岭土原矿价为230元/t,福建龙岩高岭土公司原矿价为90元/t,吴县青山白泥矿原矿价为203.5元/t,原矿售价影响采矿方法和开采工艺的选择。
广东茂名高岭土为砂性高岭土,水采水运,主要生产造纸涂料级高岭土,不存在原矿出售问题,其低档产品作陶瓷用、填料用。
近年来煅烧高岭土在国内外市场很受欢迎,国内一般是煤系硬质高岭岩(土)经深加工处理而得,硬质高岭岩(土)由于是和煤共伴生,其开采是按煤的开采情况及其本身的赋存情况来定,现由煤炭部综合利用部门管理,国内尚未单独开采,以下将不述及。
(一)开采方法和开采规模的划分
高岭土矿的开采方法有露天开采和地下开采。
风化残积型高岭土矿多露天开采,如茂名的砂性高岭土。
其他热液蚀变型和沉积型矿床浅部用露天开采,深部用地下开采。
采用露天开采的矿点多,但多数是中小型矿山,大型的有福建龙岩高岭土公司、广东茂名高岭土公司、广东茂名南方高岭土公司。
原苏州中国高岭土公司所属阳西矿区、阳东矿区都曾用过露天开采。
地下开采规模较大的有:江苏苏州阳西竖井、观山
竖井、阳东的白善岭矿和吴县青山白泥矿等。
开采规模的划分,采用二种办法:一是按矿石量计;二是按精矿量计。
(二)开拓运输
高岭土矿露天开采的开拓运输用得较多的有3种:一为铁路窄轨开拓,用7t,或10t,或14t电机车牵引1m3矿车。
原苏州中国高岭土公司所属阳东、阳西的露天开采都曾用过。
二是配合水枪开采用砂泵进行水力输送,将矿浆从设于矿块中的集浆池用砂泵输送至精选厂,如广东茂名高岭土公司和广东茂名南方高岭土公司。
三是公路开拓汽车运输,如福建龙岩高岭土矿,是风化残积型高岭土矿砂性高岭土,但由于水资源不丰富,因此仍用一般露天开采方法公路开拓,用17t自卸汽车将矿石由回采工作面运至选矿厂。
又如广东潮州飞天燕瓷土矿也是用公路开拓汽车运输。
地下开采的开拓运输按主要开拓巷道的类型来划分:一是竖井开拓,如苏州中国高岭土公司所属阳西竖井是采用下盘竖井,正在建设中的观山矿是采用上盘竖井;吴县青山白泥矿的深部开采是采用下盘竖井。
二是斜井开拓如苏州中国高岭土公司原阳西主斜井工程采用底盘斜井开拓;吴县青山白泥矿的浅部开采也用底盘斜井。
三是联合开拓,如苏州中国高岭土公司所属阳东白善领矿采用平硐-盲斜井联合开拓。
地下开采主运输巷道通常设于底板内,离矿体20~40m,矿体边部设通风斜井,形成对角式通风系统,阶段高度一般为25~40m。
地下开采的井巷工程高岭土矿山有很大的特殊性,矿石坚固性系数f=1~2,软松易碎,具有可塑性,自然状态时塑性指数较大,遇水后有吸水性和膨胀性,同时还具有隔水性,是典型的塑性介质,属塑性体。
地下开采活动基本上是在塑性区和似塑性区范围内进行。
矿体中巷道开掘后的地压特征。
1)围岩变形量大,有流变性。
例如,苏州中国高岭土公司所属地下矿,采场采用间隔木棚支护,断面1.6m×1.8m,木棚间距0.6~0.8m,7~12d顶板下沉量达50~60cm,差不多7~15d就需翻修一次。
要求巷道开掘后立即支护。
2) 在变形活动中,还伴随着由于高岭土的吸水性能而引起的体积膨胀。
随着其含水量的不断增加,又引起其物态变化,由固态到半固态而纷纷片落,因此,除塑性外又有“松”的特点。
3) 高岭土矿体有的含蒙脱石,而蒙脱石吸水后容易膨胀,在高岭土的变形中也有蒙脱石吸水膨胀的影响,应该重视蒙脱石的含量。
4) 采场动压对下部采准巷道的影响可以不考虑。
动压的局部作用往往消耗于高岭土的变形,而没有传递下去。
脉内巷道应采取封闭支护。
按弹塑性理论,在塑性区内侧压与顶压相等,这种情况从最佳受力性能的角度出发,应当采取圆形支护。
但是实测证明塑性介质中侧压一般是略小于顶压的,设计成椭圆形或似椭圆形巷道是可以的。
采区中分层巷道,由于采场地压特别大,采用一种柔性的圆形料石支护在苏州中国高岭土公司的矿山应用得较成功,料石支护时不用砂浆,料石间垫以1~1.5cm厚的木板块,支护后由于木块的可压缩性使地压峰值消耗在支护的变形能上,从而使地压稳定下来,国内外,在地压特别大的区域也有用这种柔性支护的,但不是用料石而是用混凝土预制块或钢筋混凝土的装配式预制件。
(三)开采工艺
露天开采矿山规模小的多用手镐或风镐挖掘,工作面运输用窄轨铁路,由于矿车车帮矮,可用人工装车,剥离仍用凿岩爆破进行,原苏州中国高岭土公司所属阳东、
阳西矿区的浅部开采都曾用过。
大型矿山矿石直接用挖掘机挖掘,例如福建龙岩矿用WK-2型挖掘机,湛江山岱矿用WY-32型电动液压挖掘机。
挖后装入自卸汽车送至选矿厂,例如福建龙岩矿用17t的自卸汽车,湛江山岱矿用10t自卸汽车。
硬性岩石剥离用凿岩爆破法,例如福建龙岩矿用CLQ-80A型履带式潜孔凿岩机凿岩,硝铵炸药爆破,然后用挖掘机装上自卸汽车外运至排土场。
表土层的剥离,有用挖掘机反铲挖掘及装车也有用推土机先集堆,再用挖掘机装车的。
砂质高岭土可利用矿石松软含砂率高遇水易崩解的特点采用水采水运,例如广东茂名高岭土公司和广东茂名南方高岭土公司,鉴于当地无冰冻期,水资源又丰富,都采用水采水送。
矿石经水枪冲采,矿浆通过冲矿沟至集浆池。
集浆池布置在矿块中部,一个矿块一个。
矿浆输送用碴浆泵通过直径为250mm塑料管输送至粗选厂。
高岭土矿的水采水运在英国用的也较多,它的主要优点:开采工艺简单,设备简单,劳动生产率高,将选矿厂的制浆工序提前进行,采选一体化。
其上部覆盖物的剥离是采用干剥干运。
地下开采矿山如苏州中国高岭土公司所属各矿和吴县青山白泥矿,按松软厚矿体的特点,多年来一直采用分层崩落法,每一分层由顶板向底板、由采区边界或矿块边界向放矿天井布置进路后退回采,矿块面积控制在800~1 000m2,每分层开采时间为3~4个月,这样可减少巷道的维修量。
分层采完后,考虑再生顶板的形成,要停1~2个月再开采下一分层。
回采时不用爆破方法而是用风镐及手镐,国外有用沿进路自动前进的刮刀采装联合机进行回采的。
高岭土矿底板大理岩中含有纯氮气,在天井掘进时会从裂隙中喷出,所以在风量计算中要考虑稀释氮气问题,要采取预防措施,快速确定工作面的空气成分并设自动报警装置,选择效果好的混合通风方式。
关于崩
落问题,与一般采用分层崩落法的矿山相比也有特殊性。
一般使用分层崩落法的矿山,地表形成陷坑,积聚雨水和地面水,回采工作面是水淋淋的,高岭土矿山地表也形成陷坑并积水,但回采后遗留的残积矿物所产生的再生顶遇水膨胀能起隔水作用,一般回采工作面很少有水。
但有时放矿使再生顶松动,下沉不均匀,会使上部积水呈泥浆状冲出,这种事故屡有发生。
因此高岭土矿山必须对地表的塌陷坑采取综合性的防水措施,并注意崩落放顶问题。