1动物检疫监督检查流程图
- 格式:doc
- 大小:60.00 KB
- 文档页数:13
动物产地检疫流程图动物屠宰检疫流程图动物检疫管理办法(全文)中华人民共和国农业部令2010 年第6 号《动物检疫管理办法》已经2010年1月4日农业部第一次常务会议审议通过,现予发布,自2010年3月1日起施行。
2002年5月24日农业部发布的《动物检疫管理办法》(农业部令第14 号)同时废止。
部长韩长赋二0—0年一月二十一日动物检疫管理办法第一章总则第一条为加强动物检疫活动管理,预防、控制和扑灭动物疫病,保障动物及动物产品安全,保护人体健康,维护公共卫生安全,根据《中华人民共和国动物防疫法》(以下简称《动物防疫法》), 制定本办法。
第二条本办法适用于中华人民共和国领域内的动物检疫活动。
第三条农业部主管全国动物检疫工作。
县级以上地方人民政府兽医主管部门主管本行政区域内的动物检疫工作。
县级以上地方人民政府设立的动物卫生监督机构负责本行政区域内动物、动物产品的检疫及其监督管理工作。
第四条动物检疫的范围、对象和规程由农业部制定、调整并公布。
第五条动物卫生监督机构指派官方兽医按照《动物防疫法》和本办法的规定对动物、动物产品实施检疫,出具检疫证明,加施检疫标志。
动物卫生监督机构可以根据检疫工作需要,指定兽医专业人员协助官方兽医实施动物检疫。
第六条动物检疫遵循过程监管、风险控制、区域化和可追溯管理相结合的原则。
第二章检疫申报第七条国家实行动物检疫申报制度。
动物卫生监督机构应当根据检疫工作需要,合理设置动物检疫申报点,并向社会公布动物检疫申报点、检疫范围和检疫对象。
县级以上人民政府兽医主管部门应当加强动物检疫申报点的建设和管理。
第八条下列动物、动物产品在离开产地前,货主应当按规定时限向所在地动物卫生监督机构申报检疫:(一)出售、运输动物产品和供屠宰、继续饲养的动物,应当提前 3 天申报检疫。
(二)出售、运输乳用动物、种用动物及其精液、卵、胚胎、种蛋,以及参加展览、演出和比赛的动物,应当提前15 天申报检疫。
(三)向无规定动物疫病区输入相关易感动物、易感动物产品的,货主除按规定向输出地动物卫生监督机构申报检疫外,还应当在起运 3 天前向输入地省级动物卫生监督机构申报检疫。
生猪屠宰检疫(验)程序流程图
动物检疫员向畜(货)主索取
核对动物种类、数量 无证者 需补检 收取 产地 检疫费 后入场
按进场日期顺序登记货主、来源(畜
主姓名、乡、场)、 数量、 动物产地检疫合格证明、出 县
境动物检疫合格证明号码和补检情况
“瘦肉精”抽检不合格的销毁处理
“瘦肉精”抽检合格
进场检疫
动 物 免 疫 证
动物产地检疫合格证明
准 宰
经检疫合格发放
《准
宰证》进入屠宰间
缓 宰
观察后确认为健康的准宰;
急 宰 送急宰间处理
禁 宰
采取不流血的
方法扑杀后销毁
“瘦肉精”宰前抽检 宰前检疫
出区境动物检疫合格证明 运载工具消毒证明
群体:静、动、饮水三个环节检查,个体::视、听、摸、检四个步骤
登录市肉品质量安全管理网站,做好
检疫相关。
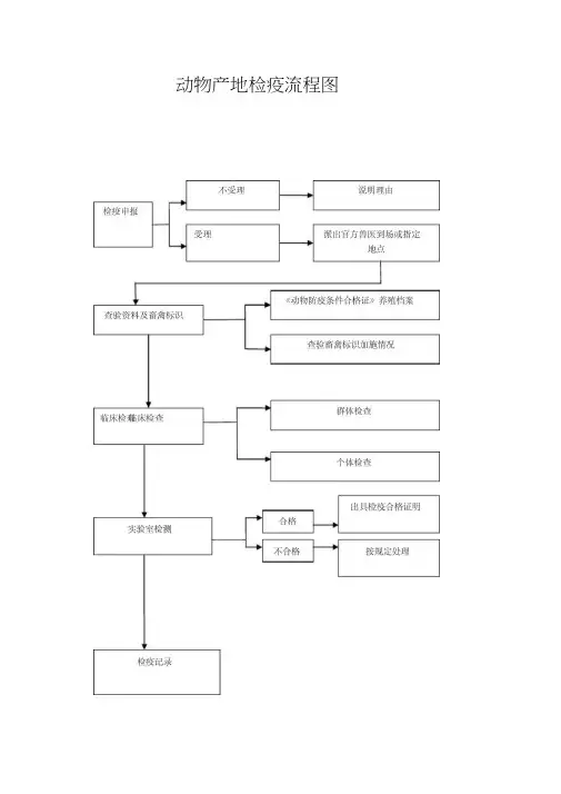
动物检疫流程一、饲养单位或农户的家畜家禽因种用、上市或调运离开产地前的动物、动物产品实施的检疫开饲养地时,要提前向当地动物卫生监督机构或其设立的动物产地检疫报检点报告,提出检疫申请。
无产地检疫证明的动物一律禁止交易、屠宰和运输。
二、动物产地检疫实行报检制度。
养殖户向当地动物防疫监督机构申请进行产地检疫,1、申请方式:到点申请、电话申请、书面申请2、申请时间:(1)供屠宰或育肥的动物提前3天;(2)种用、乳用或役用动物提前15天;(3)特殊情况需要出售、调运或携带的动物可随报随检。
临床现场检疫:1)群体检查与个体检查:①查物:核对被检动物、动物产品的种类、品种、数量,是否有免疫耳标②三观一察“三观”是指临床检查中对动物群体的静态、动态和饮食状态的观察。
一察”是指个体检疫:通过对个体动物的问诊、视诊、触诊、叩诊、听诊和嗅诊等,分辨出健康家畜和病畜。
对种用、乳用、实验动物及役用动物除临床检查外,按检疫要求进行特定项目的实验室检验, 2)实验室检疫:主要有病原学检查、免疫学检查、病理组织学检查等。
养殖户凭防疫员出具的免疫证到报检点办理产地检疫证。
《动物免疫证》的适用范围:用于证明已经免疫后的动物,由实施免疫的人员填写,在免疫后发给畜主保存。
三、动物防疫监督机构可以根据实际情况,在牲畜运输的交通要道设立动物产地检疫报检点,依法对运输的动物及产品进行检疫,按规定收费。
四、出具产地检疫证明经检疫符合出证条件的出具检疫证明动物检疫的结果: ①合格, ②不合格合格动物、动物产品的处理①对在县境内进行交易的动物,出具《动物产地检疫合格证明》②对运出县境的动物,出具《出县境动物检疫合格证明》③对运载动物的车辆、装载用具,官方兽医要监督货主或承运人在装货前或卸货后进行清扫、冲洗、消毒后出具《动物或动物产品运载工具消毒证明》,对污染的场地进行装前或卸后消毒。
1)经检疫不合格的不予出证;2)发现动物传染病时,要隔离动物,并立即向当地兽医管理部门报告;按规程对患病动物实施生物安全处理;对污染场地、用具实行严格消毒。
家禽屠宰检验检疫流程图
适用范围 宰前按标准检疫 检疫标准 进场查验 生猪进入屠宰场监督查验、检疫申报、宰前检查、同步检疫、检疫结果处理、记录。
检疫对象 高致病禽流感、新城疫、禽白血病、鸭瘟、禽痘、小鹅瘟、马立克氏病、鸡球虫病、禽结核病。
1、入场时具备有效的《动物检疫合格证明》; 2、无规定的传染病和寄生虫病;
3、按规程检测、检疫结果合格。
家禽
进
场
点
检
验
检
疫 查验《动物检疫合格证明》;了解运输途中情况;按《家禽产地检疫规程》抽检。
不合格按国家规定处理
合格的回收《动检证明》按批次分类待宰。
不合格按国
家规定处理 合格的,准予屠宰
按国家规定,实施同步检疫 屠 宰 不合格的按规定处理 合格的出具《证明》加施检疫标志,库存或销售。
60*90的适用规范:《畜禽屠宰卫生检疫规范》(NY467—2001),《生猪屠宰操作规程》(GB/T17236—1998)适用办法:《公路动物防疫监督管理办法》适用法规:《中华人民共和国动物防疫法》、《动物防疫条件审核管理办法》固原市动物卫生监督证、章、标志管理制度一、动物卫生监督证、章、标志的管理工作,要坚持逐级领用、规范使用、严格管理的原则。
二、动物卫生监督证、章、标志是指动物及动物产品检疫合格证明、动物及动物产品运载工具消毒证明、动物检疫专用章及检疫标识等。
三、动物卫生监督证章、标识实行专人、专帐、专库管理。
四、动物卫生监督证、章、标志采取逐级领用的方式:即市级到自治区动物卫生监督机构领取,县(区)级到市级动物卫生监督机构领取,任何单位和个人不得私自订购和印制。
五、建立健全监督证、章、标志领取、发放手续,设立证、章、标志台帐和财务专帐,详细登记领取单位、时间、名称、数量、起止号码等信息。
六、监督证、章、标志收费标准执行农业部的有关规定,不得拖欠证、章、标志的工本费用,其工本费用一律不得向执法相对人收取。
七、严禁倒卖、转让动物卫生监督证、章和标志。
要加强监督管理力度,严格责任追究制度,严厉打击转让、涂改、伪造证、章、标志的违法行为。
八、动物卫生监督证、章、标志管理纳入年度目标管理考核。
隆德县动物卫生监督所工作职责一、负责动物防疫法及其配套法规的宣传和贯彻实施。
二、负责对全县动物饲养、运输、销售及动物产品的生产、经营、加工、仓贮、运输等环节的监督检查。
三、负责对全县动物卫生监督执法案件的监督管理。
四、负责全县动物产地检疫、屠宰检疫工作的监督管理。
五、负责全县动物防疫条件及动物诊疗机构行政许可工作的监督检查。
六、负责全县动物卫生监督执法人员和兽医从业人员的业务培训、考核及管理。
七、负责全县动物卫生监督证章、标志的计划、订购、组织供应和监督管理工作。
八、负责公路动物防疫监督检查站的监督管理工作。