二次装修巡查记录表
- 格式:docx
- 大小:18.15 KB
- 文档页数:1
门窗工程巡视检查记录表一、巡检要求、违章事项及重点巡查内容使用《装修巡检记录》,每天或两天入户巡查一次,在装修巡查时应将现场情况做详细记录,发现问题及时与装修负责人沟通,要求其整改,如屡次不改的或巡查中发现拆承重结构、封阳台露台等重大问题,及时以内部联系单形式通知装修管理员,并及时与客服部沟通。
重点巡查事项:1、燃气管道及燃气表是否移位,壁挂炉及其排烟管是否移位。
2、与否拆毁厨房排烟道、卫生间排气道,移动排烟口、排气口,与否翻建阳台,与否翻建排烟道、排气口。
3、是否窗外加装防护栏/网。
4、与否拆毁房屋旧有的防水栏杆。
5、户门外移,即楼道加装防盗门。
6、暖气片移位,翻建地摊制。
7、上水管暗埋,拆改排水管道,卫生间扩大。
8、翻建钢架结构。
9、安装太阳能热水器。
其它违章事项参见《翻新管理细则》。
二、违章处理1、辨认出违章立即阻止并记录,巡查完通报翻新审核组,其中,轻微违章的,立即通报翻新审核组。
2、发放《违章整改通知书》,将违章事项及整改要求电话通知业主,并做记录。
3、通告翻新主管联系保安对关键性违章户实行停建处置,并及时与客户服务部沟通交流事情经过,协商处置方案。
三、《装修巡检记录》填写要求1、辨认出违章事项及重点巡查事项,详尽记录在《翻新县丞记录》上,并全文记录在《翻新县丞记录全文》上,其它翻新事项不记录。
2、未发现违章事项及重点巡查事项的,根据现场实际情况记录正在进行的装修事项,如剔凿、铺砖、粉刷、安装橱柜、铺装木地板等,以表示装修进度。
3、无人的核对“无人”,不进门的核对“欲不进门”。
翻新完或基本完的核对“竣工”或“基本竣工”。
4、一天的巡查内容尽量填写在一行内。
5、《翻新县丞记录》表用回去的,再次申领《翻新县丞记录》表中。
6、每次巡查均填写年月日,并签字。
7、用签字笔核对。
四、每天到装修巡检组通报违章情况,并领取《装修巡检记录》表。
一目的规范客服人员日常巡查工作内容。
二适用范围客服人员的日常物业巡查工作。
装修巡检制度
1 管理处秩序部人员负责对装修人员的治安、消防、车辆停放、现场施工等进
行管理,凭《装修许可证》和《装修人员临时出入证》放行;
2 装修期间,二装管理人员、秩序员、水电工均须对装修现场每日进行至少1
次巡查,填写《装修日巡记录表》。
发现违规现象,要立即纠正,并将情况记录在《装修违章处理意见表》上。
若现场不能纠正或纠正无效,应上报管理处主任批准发出《整改通知书》,并对整改结果进行验证;
3 装修单位需动火作业的,应填写《临时动火作业申请表》后报管理处主任批
准,二装管理人员或秩序员或水电工还须到现场监督。
巡查主要要求:
1 核实装饰装修工程及施工人员有无超出申报范围。
超出申报范围但不属违章
的,应要求装修人、装修单位及时到管理处补办手续;
2 督促、检查施工人员有无违章操作,有无违规行为,是否遵守装修规定。
页眉内容施工单位聘用书装修表格(1)致:万德大厦客户服务中心* 本人/本公司是万德中心层单位商户/租户。
现委托公司为上述单元之装修承建商。
* 本人/本公司已详阅装修守则,已明白并承诺该等装修工人会绝对遵守本大厦的有关规定及服从贵客服中心管理人员的管理,并对公共地方(包括走廊、厕所及电梯大堂等)之设施进行保护性的措施。
如因该装修公司之装修工人引起的一切事故及损失,本人/本公司愿意承担一切责任。
* 本人/本公司承诺在装修期内保持公共地方清洁及每天负责将装修物料弃置于由客服中心指定的垃圾收集处。
签署/公司印章日期姓名:(请用正楷签署)日期经办人:日期:万德大厦装修/施工防火责任书装修表格(2)兹任命先生为万德中心写字楼层单元,工程项目防火责任人,负责范围包括等区域,按照国家有关消防法规及商场管理规定的防火安全守则,切实做好区域内的防火安全工作,对所管辖区域因防火安全工作不力而导致火灾造成的严重后果,商场客服中心将直接追究该公司及其防火责任人的一切刑事法律责任及交消防局处理。
有效期:从签发进场许可证开始生效至完工现场日自然失效。
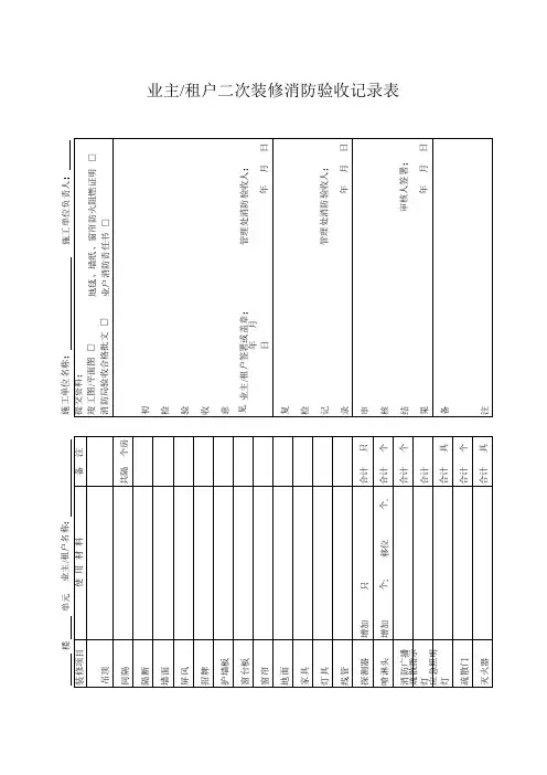
装修公司签署及盖章防火责任人签署日期日期抄送:物业部* 请把不适用者删除万德大厦装修申请表装修表格(3)* 万德大厦 No. 日期:年月日申请人(业户/租户)资料商户/租户名称:联络人:联络电话:装修单元:层单元建筑面积:装修队资料名称:执照号:负责人:紧急联系电话:装修日期:自年月日至年月日申请装修项目:估算造价:提交图纸资料:工程部审批意见:总经理意见:万德大厦装修工人登记表装修表格(4)单元:商户/租户名称:装修公司名称:装修负责人:联络电话:装修限期:(需复印身份证副本、照片)姓名身份证号码工作证号码发证日期* 请把不适用者删除万德大厦二次装修完工验收装修表格(5)* 申请商户/租户姓名电话:* 写字楼首层单元装修施工单元:装修负责人:电话:业户报装修完工日期:年月日检查日期:年月日检查内容□消防□茶水间□电气□洗手间□空调□地面□装修□天花□电梯□隔墙□公共走廊□给排水设施其他□□* 租户签字:日期:安管部签字:日期:工程部签字:日期:物业部签字:日期:工程部检查人员:电气空调消防弱电消防施工单位人员签名:日期:注:装修保证金将于单元装修检查合格日期起一个月后,无息发还。
装修巡查记录表装修巡查记录表的物业管理工作知识。
在停车场管理实践中,我注意到需要建立完善管理制度以规范员工行为(礼貌用语、仪容仪表)和提高服务质量;日常的巡视工作和完善的设施设备能够保证车辆的安全。
这次实习我感觉到时间很短,还没能更多、更全面的接触物业管理工作,今后在从事物业管理工作中,还需要不断积累经验,学习新的知识,做一个合格的物业管理员。
随着物业管理的不断发展,我认为今后的物业管理学习更要理论联系实际,在理论学习过程中更多的进行各种具体工作实习,可以多设几项专题实习,并就这种专题实习进行学习讨论,集思广益。
通过各种物业管理的案例分析,把当前先进的物业管理知识传输给学生,同时也传输了实际解决问题的方法。
物业实习报告本人于20x x年7月至20x x年12月在广东省东莞市中信物业管理有限公司实习,其中秩序维护员4个月,客服2个月。
短短的半年一晃眼便过去了,在这期间有欢笑、也有汗水。
喜的是作为中信的一员,与公司同甘苦、共患难,在工作中学到了许多有关物业管理的知识和实践操让我对物业管理有了更加全面透彻的了解;苦的是我也在工作中经历了大大小小的难以处理的事情和与公司一线员工一起工作,体会到了作为秩序维护员的那份艰辛与劳累。
忘不了的是将要实习工作、离开集体、离开父母、离开同学的那份难以割舍和留恋的情怀;忘不了的是与同学告别,相互拥抱、流泪、挥手告别的场面;忘不了的是我终于正式迈入社会、独立生活、将要成就属于自己的那份梦想激动的心情20x x年7月1日,经过一天一夜的长途跋涉终于到达了东莞,这个让我渴望而又懵懂的城市,大家最初那份将要踏向异乡的兴奋心情也随着漫长的列车颠簸而渐渐消退。
可当大家下火车的那一刻,看到人力资源部古经理热情的帮我们提行李、发面包、递水,我们的疲惫转眼又一消而退,被这个公司的热情而打动。
陕西「昌达昌物业」二次装修流程及表格(建议稿)陕西昌达昌物业有限公司路则修谨呈二○○八年十一月二十六日二次装修流程及表格(建议稿)目录页码二次装修(报批)程序指南 1 业户二次装修收费通知书 3 装修申请表(表格一) 4 装修承诺书(表格二) 5 装修期间临时(三相)电力供应申请表(表格三) 6 装修工人登记表(表格四)7 装修期间加班申请表(表格五)8 货物出入放行申请表(表格六)9 大件货物出入放行/使用电梯申请表(表格七)10 住宅/商场装修完工检视表(表格八)11二次装修(报批)程序指南【注释】1. 业户向管理处提出室内装修申请,填写并提交以下表格:- 装修申请表- 装修改造工程消防审核申报表- 装修承诺书- 装修期间临时电力供应申请表2. 业户亦要向管理处提交以下资料:- 装修单位营业执照副本- 装修单位资质等级证- 装修图则一式三份- 已办理之装修保险文件3a) 管理处可为业户的报批提供有限的服务3b) 工程部审批装修图则3c) 交图则及装修改造工程消防审核申报表予消防局审批(更改消防设施)4. 再将所有批文交管理处用于办理装修许可证5. 所有政府批文发放后,业主需向财务部交付:(管理处将向业户提交二次装修收费通知书)- 装修按金- 装修垃圾清运费- 工人出入证按金- 工人出入证工本费- 临时供电安装费(若有需要) - 租用/购置灭火器费用6. 物业部发放:- 装修许可证- 工人出入证7. 施工期间,由物业部/工程部/保安部等部门共同监督及检查整个工程,另消防局及质量监督站会视情况定期到场检查,业户/装修单位可按需要向管理处递交:- 货物出入放行申请表- 大件货物出入放行/使用电梯申请表- 装修期间加班申请表8. 施工完毕,装修单位申报完工:i)物业部/工程部进行验收/填写验收表ii)消防局盖章验收合格iii)施工单位提交竣工图iv)施工单位或业主向管理处申报完工,当各部门完成公共地方损坏报告及填写验收合格报告后,施工单位或业主可持报告到财务部办理退款。
房屋二次装修管理规定一、住宅装修管理规定:1、根据《住宅装修管理规定》执行。
2、根据实际情况制定适合于本小区的“装修管理规定”; 在内容上应强调以下几项内容,尽量附简图说明:A.拆墙、移墙和重新分隔墙体;B.改、封管道;C.重新敷设线路;D.改移卫生间、厨房内设施;E.阳台封闭;F.防盗网、窗花的式样和颜色;G.空调架的规格、材料、安装位置和空调水的排放等;H.入户门装饰;3、管理服务中心应将《住户装修指南》给住户每户一份,并按《住户二次装修管理流程》为住户办理装修手续。
二、商业网点(裙房)装修管理规定:1、50平方米以上的商店装修,装修图必须经市消防公安局的批准后,送管理服务中心审批;设计图纸应包括以下内容:* 室内平面布置设计图* 立面布置图* 商铺之招牌设计图* 天花吊顶安装设计图* 空调安装设计图* 消防设施安装设计图* 电器线路设计图及用电量* 管道安装设计图2、招牌设计方案:安装位置、霓红灯等不影响住户正常生活,安装方式无安全隐患;3、饮食类行业:油烟之排放、车辆停放、音乐噪音和垃圾排污等应有明确规定;4、安装中央空调系统,安装位置不得影响住户正常生活;5、装修范围必须在商场店铺内进行;6、按消防公安局的规定配备灭火器;7、增加电力负荷,由装修者向市供电局申请;三、装修施工管理:1、住户施工管理:(1)装修施工应安排在上午8:00—12:00,下午14:00—18:00进行,节假日应安排在上午10:00—下午14:00—20:00进行。
未经管理服务中心批准不得在夜间施工,未经批准施工人员不得留宿;(2)装修垃圾必须袋装好及时清运或堆放在指定地点,由管理处统一清运,其中废弃材料应用绳全部扎成捆。
A.不得封堵消防通道;B.大厦装修户搬运材料或装修垃圾以不影响公共设施的正常作业为前提;2、商业网点施工管理:(1)装修户必须委派一名负责人,负责监督施工及管理工人,并与管理处合作,确保地盘管理适当及装修工人行为良好。
二装巡查工作方案一、目的为高效、有序地实施二装装修管理,有效管控装修施工单位,确保南充王府井购物中心的商家装修施工活动安全、正常、有序地进行,尽量减少或杜绝违章装修情况,避免重大安全事故.特此成立南充王府井购物中心二装巡查工作小组:组长:杨青山副组长:兰学仕陈牟忠组员:工程部人员安保部人员二、基本要求1、巡查装修施工单位时,物业工作人员务必着工作服,戴安全帽,做到应有基本礼仪。
2、所有巡查表格记录完善、清晰,做到有椐可查.3、按时间节点、巡查频次实施现场巡查;4、所有资料收集齐全,并做好归档工作。
三、二装主要巡查内容(见以下表格)1、《四川省房屋装修结构安全管理规定》.2、王府井购物中心《商户装修施工手册》。
3、原始设计平面图。
4、《商户装修安全管理手册》四、巡查管理1、巡查a.根据已经办理装修手续户数,安排人员对进行装修的现场进行巡查并填写《装修巡查记录表》;b.当日下午17:30前收回《装修巡查记录表》进行统计;c.分别统计违章装修、网络改动等情况,填写好《装修违章统计表》(存档);d.将每日《装修巡查记录表》整理归档,最后按商家户归档.2、违章处理a.查到责任人及联系电话。
b.安排人员到场拍照,查看取样;c.视其情节的严重性,给于口头警告或开《违章通知》并要求整改(存档);d.若遇不配合处理,劝解不听者,经主管领导批准后可停水、停电,并责令其恢复;e.定时复查恢复整改情况.3、违章界定a.擅自开工.b.乱拉电线,超负荷用电。
c.擅自改动、公共设施、设备。
d.随意改动外墙立面外观。
e.随意改动图纸要求.f.随意拆改墙体,在承重墙、梁、柱上穿孔、剃槽.g.擅自在室外张贴广告牌.h.堵塞地漏和排水管道.i.擅自动火作业。
j.不按规定施工,制造噪音.k.擅自在施工现场留宿.五、工程部岗位职责1、工程部配合招商、运营部进行装修前验铺工作。
2、工程部主管负责审核由运营部转来的装修工程图纸。
3、工程部文员负责工程资料的整理、装订成册、归档。