产品检验状态标识工作流程
- 格式:docx
- 大小:37.85 KB
- 文档页数:2
1 目的Objective为防止误用不合格品,对原材料、协配件、半成品、成品检验和试验中不同状态进行标识,特制定本程序。
The objective of this procedure is to label the different inspection and test status of raw materials, accessory parts, semi-finished products and finished products, so as to avoid using unacceptable products.2 适用范围Applicable Scope适用于产品生产全过程的检验和试验状态的标识。
This is applicable to the identification of inspection and test status for the whole production process.3 职责Responsibility3.1 质量部负责检验和试验状态标识监督和管理。
The Quality Department is responsible for supervising and managing the identification of inspection and test status.3.2 仓库管理员负责入库产品的检验和试验状态的标识。
The storekeeper is responsible for identifying the inspection and test status of the products in warehouse.3.3 制造部负责生产过程半成品或成品检验和试验状态的标识。
The Manufacturing Department is responsible for identifying the inspection and test status of the semi-finished products or the finished products in production process.3.4 技术工程部负责产品试验状态的标识。
1.目的规范生产在导入、装配、出货等各阶段的标示要求,确保前工序向后工序提供的产品是唯一正确的产品,同时满足可追溯之要求。
2.适用范围本文件适用于公司所有物料及产品。
3.定义(无)4.职责和权限4.1品控部(主职部门)4.1.1对物料或产品的检测品质状态并进行正确标识;4.1.2满足可追溯性的要求。
4.2仓库4.2.1负责核对及确保库存的物料或成品有正确标识;4.2.2满足可追溯性的要求。
4.3生产部4.3.1负责对生产线上物料或产品进行正确标识;4.3.2满足可追溯性的要求。
4.4销售中心4.4.1负责产品出厂后可追溯资料的收集、建立;4.4.2负责已出货产品整机资料的存档及需要时进行追溯。
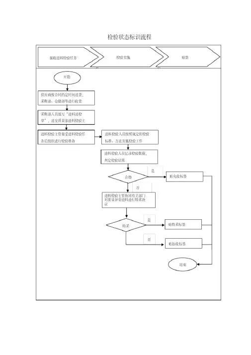
5.工作流程图(见附件1)6.工作程序和内容6.1仓库物料标识卡:6.2物料检验状态标识:6.3半成品的标识6.4成品的标识6.5追溯记录6.5.1原材料的追溯记录:(A类物料)1)供货商在交货时需在包装箱或产品上标注产品规格型号、批号、数量等信息,提供出货检验报表;仓库管理员根据收到的实物与《收料通知单/请检单》进行核对,无误后审核《收料通知单/请检单》并组织送检;2)IQC根据《进料检验管理程序》进行检验,根据检验状况,在所检物的包装上后进行标识,检验合格粘贴“合格标签”,不合格粘贴“不合格标签”。
3)仓库管理员根据检验结果,对验合格的物料收料入库,并按不同的批次进行分开摆放管理;不合格的放置在仓库不合格品区,按《不合格品管理程序》处理。
6.5.4成品的追溯记录:1)生产部领料时根据《生产任务单》填写《领料单》到仓库领料,仓库管理员根据《生产任务单》核对《领料单》无误后,按先入先出的原则发料;2)生产部在产品加工过程中把物料批次号填写在《随工单》上,根据成品机身编码规则在《随工单》上编制机身SN编码,并把机身SN编码粘贴在产品指定的位置上,送检时需提供对应的《领料单》和《随工单》供品质检验人员核对,并随同《成品检验报告》一同存档;3)检验人员经核对无误后进行产品检验,并把合格入库的SN号附在《成品检验报告》后面,一份留底存档,一份交物料部办理入库手续;4)仓库管理员根据检验结果对检验合格的成品进行入库作业,按不同的批次进行分开堆放管理;5)发货出库时仓库管理员根据批准的《销售订单》或《产品领用单》,填写《出库单》进行出库作业;发货时注意不要让货物混乱,必须按照单据记录内容一一对应发往指定的用户;6)客户换货、退货、维修时,客服部应核对客户信息和对应的产品SN号是否是与销售《出库单》记录的信息一致,核对无误后根据《不合格品管理程序》办理相关手续;6.6追溯方法1)利用产品机身SN编码追溯到订单号、产品规格、客户、出货数量、出货时间以及《成品检验报告》等信息;2)根据产品机身SN编码可以追查到《随工单》,根据《随工单》可以追溯到生产现况以及产品生产时使用的A类物料的批次号等信息;3)根据物料批次号可以追溯到物料的出入库时间和供应商来料信息及来料检验信息;7.相关文件7.1进料检验管制程序7.2制程检验管制程序7.3成品检验及可靠性试验管理程序7.4不合格品控制程序8.相关记录8.1随工单8.2领料单8.3出库单8.4产品领用单8.5收料通知单/请检单9.附件9.1附件1:产品标识和可追溯性管制工作流程图附件1:产品标识和可追溯性管制工作流程图。
产品状态标识的方法范文产品状态标识是指在产品生命周期中,对产品的不同状态进行标识和记录,以便于生产、销售和售后等环节的管理和控制。
在现代企业中,对产品状态进行标识已成为一种必要的管理手段。
本文将介绍产品状态标识的方法,并分析其应用价值和实际效果。
一、产品状态标识的方法1. 引入标识码:通过为不同产品状态分配特定的标识码,可以方便地对产品状态进行区分和管理。
标识码可以采用数字、字母或者符号等形式,并根据实际需要进行组合和排列,以达到对产品状态进行准确标识和识别的目的。
2. 设立状态识别器:在产品生产过程中,可以设置状态识别器,用来自动识别和记录产品的状态。
状态识别器可以使用传感器或者其他自动化设备,通过感应产品的特定特征或者指标,来判断产品的状态,并将状态信息进行记录和传输。
3. 建立状态数据库:通过建立状态数据表或者数据库,可以方便地对产品状态进行记录和查询。
状态数据库可以包含产品的各种状态信息,如生产状态、质检状态、库存状态等,通过对状态数据进行分类和整理,可以提高对产品状态的管理和控制效果。
4. 制定标识规范:为了确保产品状态标识的准确性和一致性,可以制定相应的标识规范。
标识规范可以包括标识码的分配原则、识别器的配置要求、数据库的管理规范等,通过规范的制定和执行,可以提高产品状态标识的标准化程度和可操作性。
5. 信息共享和协同:在企业内部,不同部门之间应建立信息共享和协同机制,以便于及时获取产品状态信息,并进行有针对性的管理和控制。
通过共享和协同,可以避免信息的重复录入和传递,提高工作效率和减少误操作。
6. 引入信息化系统:借助信息化技术,可以实现对产品状态的自动化记录和管理。
企业可以建立和应用专门的产品状态管理系统,通过系统的集成和优化,实现对产品状态的实时监控和追踪,提高对产品状态的管理效果和决策支持。
二、产品状态标识方法的应用价值1. 提高生产管理效率:通过对产品状态进行标识,可以及时掌握产品的生产进度和状态,实现对生产过程的有效管理和调度。
IPQC工作流程IPQC(In Proces s Qualit y Contro l)中文意思为制程控制,是指产品从物料投入生产到产品最终包装过程的品质控制。
(属品质保证部)1.负责首检和部分过程检查、制程中不良品的确认,标识及统计;2.负责巡检,对整个生产过程物料使用、装配操作、机器运行、环境符合性等全方位的定时检查确认。
IPQC工作流程简单的说:工作内容包括:首件检查、各类变更文件的跟踪。
4M1E的巡查。
发现异常的提出、跟踪与验证。
详细的说:过程检验(IPQC,in proces s qualit y contrl):目的是为了防止出现大批不合格品,避免不合格品流入下道工序去继续进行加工。
因此,过程检验不仅要检验产品,还要检定影响产品质量的主要工序要素(如 4MIE)。
实际上,在正常生产成熟产品的过程中,任何质量问题都可以归结为4M1E中的一个或多个要素出现变异导致,因此,过程检验可起到两种作用:1. 根据检测结果对产品做出判走,即产品质量是否符合规格和标准的要求;2. 根据检测结果对工序做出判定,即过程各个要素是否处于正常的稳定状态,从而决定工序是否应该继续进行生产。
为了达到这一目的,过程检验中常常与使用控制图相结合。
过程检验通常有三种形式:(1)首件检验:首件检验也称为“首检制”,长期实践经验证明,首检制是一项尽早发现问题、防止产品成批报废的有效措施。
通过首件检验,可以发现诸如工夹具严重磨损或安装定位错误、测量仪器精度变差、看错图纸、投料或配方错误等系统性原因存在,从而采取纠正或改进措施,以防止批次性不合格品发生。
通常在下列情况下应该进行首件检验:一,一批产品开始投产时;二,设备重新调整或工艺有重大变化时;三,轮班或操作工人变化时;四,毛坯种类或材料发生变化时。
德信诚培训网
产品检验状态标识作业指导书
(IATF16949-2016/ISO9001-2015)
1.0目的
产品各检验状态的标识是识别产品特性或状态的标志(或标记),实施产品标识的目的是通过对产品以适当方式进行标示,防止发生产品混淆,并对有可追溯性要求的产品进行控制和追溯。
2.0适用范围
适用于产品各状态下的标识和可追溯性活动。
3.0职责
1)仓库负责对待检物品及仓库中产品标识的维护。
2)生产部协同品管部负责产品生产全过程中标识有效性的监督,当发生需要追溯的情况时,组织并直接对追溯工作进行控制。
3)生产部、各车间负责在制品、半成品、成品的标识,负责保护标识在流传过程中的有效性。
4.0工作程序
4.1产品标识
4.1.1标识方式
按以下所列方式选择应用:
——铭牌,标牌,标签;
——产品型号,图号,工号;
——区域划分;
更多免费资料下载请进:好好学习社区。
IPQC工作流程IPQC(In Process Quality Control)中文意思为制程控制,是指产品从物料投入生产到产品最终包装过程的品质控制。
(属品质保证部)1.负责首检和部分过程检查、制程中不良品的确认,标识及统计;2.负责巡检,对整个生产过程物料使用、装配操作、机器运行、环境符合性等全方位的定时检查确认。
IPQC工作流程简单的说:工作内容包括:首件检查、各类变更文件的跟踪。
4M1E的巡查。
发现异常的提出、跟踪与验证。
详细的说:过程检验(IPQC,in process quality contrl):目的是为了防止出现大批不合格品,避免不合格品流入下道工序去继续进行加工。
因此,过程检验不仅要检验产品,还要检定影响产品质量的主要工序要素(如 4MIE)。
实际上,在正常生产成熟产品的过程中,任何质量问题都可以归结为4M1E中的一个或多个要素出现变异导致,因此,过程检验可起到两种作用:1. 根据检测结果对产品做出判走,即产品质量是否符合规格和标准的要求;2. 根据检测结果对工序做出判定,即过程各个要素是否处于正常的稳定状态,从而决定工序是否应该继续进行生产。
为了达到这一目的,过程检验中常常与使用控制图相结合。
过程检验通常有三种形式:(1)首件检验:首件检验也称为“首检制”,长期实践经验证明,首检制是一项尽早发现问题、防止产品成批报废的有效措施。
通过首件检验,可以发现诸如工夹具严重磨损或安装定位错误、测量仪器精度变差、看错图纸、投料或配方错误等系统性原因存在,从而采取纠正或改进措施,以防止批次性不合格品发生。
通常在下列情况下应该进行首件检验:一,一批产品开始投产时;二,设备重新调整或工艺有重大变化时;三,轮班或操作工人变化时;四,毛坯种类或材料发生变化时。
首件检验一般采用“三检制”的办法,即操作工人实行自检,班组长或质量员进行复检,检验员进行专检。
首件检验后是否合格,最后应得到专职检验人员的认可,检验员对检验合格的首件产品,应打上规定的标记,并保持到本班或一批产品加工完了为止。
产品标识及追溯管理制度1、目的公司建立并实施可追溯性系统,以确保能够识别产品批次及其与原料批次、生产和交付记录的关系。
根据终产品标志和批次编码,及产品生产储存和交付过程中的记录,确保产品的可追溯性,以便对体系进行评估,使潜在不安全产品得以处理,并确保不安全产品的及时和完整撤回,证实可追溯性。
2、范围适用于原材料批次、半成品、终产品的标志和批次编号及产品生产、储存和交付等可追溯性的标识、记录等过程的可追溯性控制与管理。
3、职责(1)质检部门负责进厂产品和过程产品的检验和试验状态状况标识并负责指导、监督,进厂产品和过程产品的终产品标识及批号等相关记录,对产品的可追溯性进行管理。
(2)仓储部负责本公司原辅料及库存产品的标识,并保证产品销售过程的追溯工作。
(3)原料、在制品、终产品由生产部负责标识。
生产部、仓库、化验室可按可追溯性控制要求负责实施并维护可追溯性的各种标志、批号、记录管理(4)由销售部按文件的要求终产品标志、批次及相关记录,通知相关方并实施对有问题的产品召回。
按召回措施要求组织实施。
4、工作程序组织应根据终产品的标志和批次编码、产品生产、储存和交付过程中的记录,确保产品的可追溯性。
标准要求可追溯系统能够识别原料、辅料和包装材料的直接供应方,以及终产品的直接顾客。
为确保该系统的有效性,可在可追溯性记录的有效期内对其进行评估。
可采取定期演练的方式或对实际发生的问题进行追溯,来评估可追溯系统。
可追溯性记录的保存期限应符合法律法规、保质期和顾客要求,以确保不安全产品的及时和完整撤回,并证实可追溯系统的有效性。
(1)采购产品标识①标识种类a.标签:指挂牌或贴签b.记录:记录本、台帐、流程卡C.记号②质管部负责原辅材料质量状态的标识,内容主要有:合格、不合格、待检等。
标识可用产品本身的标识,如原标识不清或不易被辨认的,可由仓管员挂产品标识卡,填写相应的内容。
一般包括品名、编号、规格、型号、重量、数量、进厂时间和供应商。
1.0目的:
本程序规定了对产品及其检验、试验状态进行适当、有效的标识防止混淆和误用,并确保在需要时对产品质量的形成过程实现可追溯性。
2.0范围:
适用于本公司从接收、生产到交付的所有阶段的产品标识及其检验、试验状态标识。
3.0定义:
3.1标识:是在产品或包装上标记或悬挂标签。
3.2可追溯性:根据记载的标识,追溯所考虑对象的历史,应用情况或所处场所的
能力。
3.3可疑材料或产品:任何检验和试验状态不确定的材料或产品。
3.4待处理品:已经检验或试验但尚待进一步判定的原物料、半成品、成品。
4.0职责:
4.1物料课:负责来料的标识;
4.2各生产单位:负责生产在制品的标识;
4.3品管课:负责产品检验与试验状态的标识。
5.0绩效指标:
(无)
第 3 页共6 页
7.1《不合格品管制程序》8.0使用表单:
8.1标识卡
8.2印章样版
8.3月度标识
8.4领料单
附件一
附件二
附件三
印章样版
红色印章:
第 5 页共6 页
蓝色印章:
附件四
镇威汽配有限公司
领料单
成品名称:订单号码:编号:成品数量:制令单号:部门:
仓管:审核:制单:
UPC-FM-319-A。
GJB9001产品的标识和可追溯性控制程序1 范围规范产品实现的全过程的识别方法,防止产品混淆。
便于实现产品追溯性要求。
适用于本公司产品的标识和可追溯性。
本程序适用于公司对顾客财产(包括原材料、半成品、仪器和顾客的知识产权、个人信息等)的控制和管理。
2 引用文件GB/T19000-2008 质量管理体系基础和术语GB/T19001-2008 质量管理体系要求GJB9001B-2009 质量管理体系要求GJB1405A-2006 装备质量管理术语3 职责3.1 技术部是产品标识和可追溯性的归口管理部门,负责制定产品标识的内容和方法,并对产品标识和可追溯性及技术状态进行控制。
3.2 计划生产部负责公司生产过程标识的实施及管理工作。
3.3 销售部负责成品出厂的标识和管理工作。
3.4 各生产单位负责本单位产品标识的实施和管理工作。
3.5 物资供应部负责易燃、易爆品及各种物资的标识管理工作。
3.6 检验员负责办理产品的检验状态标识,并办理合格质量证明文件。
4 控制要求4.1 工作流程4.2 采购件的标识4.2.1 通用原材料、外购件在物资供应部总库和分库存放过程中用“入库材料合格证”和“材料标签”进行标识。
4.2.1.1 采购产品到货后,入选待验,库管员查验合格后,通知检验员检验。
在此期间,库管员应按不同的检验状态区域对产品进行隔离存放。
4.2.1.2 经检验合格的采购产品,检验员填写“入库材料合格证”。
库管员根据合格的检验标识,填写“材料标签”并对材料挂标签或喷字、涂色。
填写时应注明名称、型号、规格、产地、批号、进厂日期、数量、合格证号等。
同时做好批次、数量、日期的记录,出库时经检验员复验合格出具“出库材料合格证”后方可出库。
4.2.2 外协件、电镀件的标识4.2.2.1 外协件在计划生产部和使用部门存放过程中用“外协零件到库标识签”进行标识。
“外协零件到库标识签”由库管员注明外协件的名称、图号、批次、采购产品的标识 过程产品 的标识 最终产品 的标识可追溯 性控制 随同卡 归 档数量、协作厂名、入库日期。
IQC和ipqc的流程职责IPQC流程IPQC⼯作流程是,稽核-发现问题--通知品管⼯程师确认--找现场(制造)主管确认--发⾏异常单--现场回复改善对策--结案--追踪改善状况.职责IPQC就是制程控制,1、核对⾸件,⽣产线⽣产出的第⼀件OK产品,IPQC需根据BOM单进⾏核对,⾸件确认后⽣产线才可以正常⽣产2、制程巡检,产品的所有在制过程IPQC有权监督、跟踪、反馈问题。
在制过程包含的⽐较多,如⼯艺⽅法、作业指导、静电防护、⽣产流程、物料使⽤等。
IQC流程IQC⼯作流程:供应商送产品→仓库收料报检→IQC检验产品→判定→OK盖章⼊库/NG按照不合格作业办法进⾏处理。
职责:主要是控制公司所有的外购物料和外协加⼯物料的质量,保证不满⾜公司相关技术标准的产品不进⼊公司库房和⽣产线,确保⽣产使⽤产品都是合格品。
ISO9001质量管理体系ISO9001标准共有⼋章,前三章⼏乎没有什么实质性内容;第四章是质量管理体系,包括⽂件控制和记录控制;第五章是管理职责,包括质量⽅针⽬标、职责权限和沟通,第六章是资源管理,包括⼈⼒资源管理,基础设施管理;第七章是产品实现,包括新产品策划和采购、⽣产、服务等活动;第⼋章是测量分析和改进,包括内审、管理评审、不合格品控制等活动。
质量管理是采⽤过程⽅法,从⼈、机、料、法、环、测等⼏个⽅⾯来控制产品质量。
ISO9001质量控制既适⽤于产品⼜适⽤于服务。
ISO9001质量管理体系IQC模块来料控制1 收到物料后是否对包装上的信息标识及包装状况做检查2 针对每⼀种部品的检验是否都有作业指导书,作业指导书是否明确、清楚,版本控制及相应的创建信息3 检验规范是否包括了关键参数,尺⼨,功能外观检测,并且是否对RoHs的原材料,成品都有相应的标准规格,及检验⽅法4 检验标准或检验规范是否在⽣产前作成、检查⽅式及项⽬是否明确5 物料变更时是否有明确的检验依据6 是否有相关的流程规定来确保来料的RoHS符合性7 检查员是否按检验标准或规范进⾏检查8 是否检验标准中要求的检验项⽬均有检验记录9 IQC是否有分析测量的仪器及能⼒10 是否收集了供应商的RoHS情况声明书及第三⽅检测机构出具的监测报告,并是否定期对检测报告进⾏更新11 ⽬检条件是否满⾜,适当12 检验使⽤的样品是否经过认证和处于受控状态13 对检查员是否考核和定期的培训,是否有明确的培训计划14 对检查员是否实⾏认证制度,认定的标准是什么15 是否对进货⽬标达成状况进⾏分析16 是否按品质状况进⾏检查⽔准调整17 如有免检或委托检查,是否定义了满⾜条件,是否有相关资料证明18 对供应商提供的检验资料是否进⾏审查,是否满⾜检验标准和相应的技术规格要求19 对客户提供的物料是否进⾏检验不合格物料处理 20 不合格品是如何进⾏识别的,及其处理⽅式是否得到资格⼈审批21 是否有降低标准或让步接收物料情况,如何进⾏批准的22 对不合格批次是否有分析报告23 对分析报告中纠正和预防措施是如何跟踪的24 是否有明确的RMA流程处理客户退品客户投诉处理流程 25 对客诉问题点有否进⾏由专⼈分析或召开检讨会议.拟定有效对策并有进⾏对策导⼊确实性追踪并与客户建⽴固定沟通窗⼝?26 客诉问题点对策是否确实发落到各相关单位标准化执⾏(相关SOP&SIP&图⾯等⽂件有否修订)?27 有否统计客诉问题点之对策改善前后品质状况⽐较及进⾏检讨结案处理?28 是否有建⽴客户投诉⼀览表?环境管理体系 29 是否建⽴环境管理体系30 是否制定了环境⽅针并能保证⽅针的实施31 组织内部是否制定环境⽬标和指标的⽂件32 对环境管理⼯作的职责和权限是否有明确规定33 对于供应商的ROHS变更是否管控34 供应商的物料变理、场地变更等变更信息是否书⾯通知客户35 是否要求供应商提供材料的“物质材料宣告表”和SGS报告36 ROHS物料使⽤是否具有可追溯性。
产品标识和可追溯性管理程序1 目的为防止生产过程中从原材料到半成品、成品及不合格品的混用或误用,确保产品符合顾客要求,并可追溯产品及过程的质量问题,特制定本程序。
2 适用范围本公司所有原材料、半成品、成品及不合格品的标识与追溯均适用。
3 定义3.1产品标识:指用适当的方法在生产、服务运作全过程中对采购产品/材料、半成品、成品或包装物上做出适当的标记或标签。
3.2可追溯性:指根据或利用记载标识的记录,追溯一个项目或产品的生产加工过程、应用情况、用途或所处场所的能力。
3.3检验与试验状态:指材料或产品有无进行检验/试验,以及经检验/试验之后合格与否的状态。
4 职责4.1产品追溯性及追溯性标识由技术中心设计人员负责将标准(国标、铁标、国外标准)、法律法规和客户对产品标识的要求转化为产品标识和可追溯性标识要求;4.2需要模具上体现标识和追溯性的技术中心负责将规定的标识转化在相应的模具上,并定期更新模具标识;负责采购定额输出,明确标识工艺路线;特殊工艺标识要求在设计评审阶段就进行论证;负责在包装方案中明确产品发出时包装箱上的标识要求;负责公司内工艺布局区域划分标识的制定。
4.3质保部负责产品状态标识中检验状态标识的制定和监督实施情况;负责检验状态标识印刷申请的提出。
4.4物资管理部、库房负责对购入的仓储产品进行标识;物资管理部负责按照产品定额进行标识的采购;4.5生产车间负责按设计、工艺和质量管理的要求对车间存放的原材料、在制品、半成品、成品的标识,负责产品状态标识中生产状态标识在生产过程中产品的识别性标识方式、方法和标识的维护,负责保护标识在流转过程中的有效性;负责生产状态标识的打印或印刷申请的提出;车间主任负责建立所管辖人员工位号的建立与时时更新。
6、工作内容7、附加说明7.1 仓库、车间以待检品、合格品、不合格品等标识牌进行区域标示,使之一目了然,并按《库房管理程序》实施管理,置于合格品区的成品、物料才允许出库。
产品的标识规定一、产品标识和检验状态标识工作的要求1、在产品生产过程中,从原材料投入到最终产品的形成全过程,均要对产品实施相应的产品标识及检验状态标识。
2、产品标识应位于产品或包装物的醒目的位置,标识的图案及代号要求清晰,易于识别和追溯,标识在产品规定的储存期、使用期内不应消失和模糊不清。
3、外购原材料(如铜棒、铝棒、不锈钢棒、化工原料)的总体产品标识,在外购原材料分批发放的过程中,可按原标识内容移植。
移植后的标识内容与原标识内容一致。
二、标识的方法及具体要求1、产品标识可用产品的图号来表示,其标识方法如下:(1)将标识直接制作在产品上;(2)随产品周转的有关记录或文件上标识,如合格证、工序流程卡等作为标识物。
2、检验状态标识除有以上两种标识方法之外,还可有区域性标识。
3、标识须具有唯一性标识(如产品的批次号)4、外购原材料及产品零部件标识的内容一般包括:生产单位或代号、材料牌号或代号、生产批号、化验单号、入厂检验者姓名或代号、质量状态等相关信息5、半成品、成品标识内容:型号与规格、生产单位名称或代号、生产批次或日期、质量状态6、生产过程中的产品质量标识:经检验验收的成品、半成品和在制品均应有检验部门验收并盖章的工艺记录卡或合格证7、首件检验应经操作者、班组长、检验员的签8、产品验收应做好原始记录及标记9、产品试验要有试验的原始记录,并记录产品试验结论10、不合格品要表示清楚,放置相应的不合格品区11、凡关键过程、特殊过程应进行标识并记录12、生产过程中的标识应能识别追溯出生产批次或日期;生产部门;生产者、检验者13、出厂产品应能识别产品代号、生产单位、生产批次(或日期)等标识、并附有合格证,合格证必须有检验人员签字或印章的标识三、标识的追溯性检查1、当产品在使用或服务中发现不合格品,应根据产品履历本或标识查出产品出厂年月2、按批次号查找不合格产品的加工者直至原材料的型号、规格等3、按产品分配单或出库单查出不合格产品的去向和所在场所四、区域性产品检验状态标识1、区域性产品检验状态标识的基本原则:(1)凡在生产现场存放的产品,都必须对产品检验状态加以标识(2)产品检验状态以产品检验结论为依据予于区别(3)产品检验状态由质量部门会同生产部门、供应部门进行2、区域性产品检验状态标识的实施程序:(1)生产部门、供应部门在存放产品的现场划出各类检验状态区域,并用检验状态标识加以表明(2)检验状态可分为:“待检”、“合格”、“不合格”、“待处理”等几类(3)除进入加工或进入检验工作状态的产品外,其余产品按实际状态,分别由生产部和检验人员负责放入不同的状态区域。