自动控制原理试题库(含参考答案)
- 格式:doc
- 大小:1.35 MB
- 文档页数:20
课程名称: 自动控制理论 (A/B 卷 闭卷)一、填空题(每空 1 分,共15分)1、反馈控制又称偏差控制,其控制作用是通过 与反馈量的差值进行的。
2、复合控制有两种基本形式:即按 的前馈复合控制和按 的前馈复合控制。
3、两个传递函数分别为G 1(s)与G 2(s)的环节,以并联方式连接,其等效传递函数为()G s ,则G(s)为 (用G 1(s)与G 2(s) 表示)。
4、典型二阶系统极点分布如图1所示,则无阻尼自然频率=n ω ,阻尼比=ξ ,该系统的特征方程为 ,该系统的单位阶跃响应曲线为 。
5、若某系统的单位脉冲响应为0.20.5()105t t g t e e --=+,则该系统的传递函数G(s)为 。
6、根轨迹起始于 ,终止于 。
7、设某最小相位系统的相频特性为101()()90()tg tg T ϕωτωω--=--,则该系统的开环传递函数为 。
8、PI 控制器的输入-输出关系的时域表达式是 , 其相应的传递函数为 ,由于积分环节的引入,可以改善系统的 性能。
二、选择题(每题 2 分,共20分)1、采用负反馈形式连接后,则 ( )A 、一定能使闭环系统稳定;B 、系统动态性能一定会提高;C 、一定能使干扰引起的误差逐渐减小,最后完全消除;D 、需要调整系统的结构参数,才能改善系统性能。
2、下列哪种措施对提高系统的稳定性没有效果 ( )。
A 、增加开环极点;B 、在积分环节外加单位负反馈;C 、增加开环零点;D 、引入串联超前校正装置。
3、系统特征方程为 0632)(23=+++=s s s s D ,则系统 ( )A 、稳定;B 、单位阶跃响应曲线为单调指数上升;C 、临界稳定;D 、右半平面闭环极点数2=Z 。
4、系统在2)(t t r =作用下的稳态误差∞=ss e ,说明 ( )A 、 型别2<v ;B 、系统不稳定;C 、 输入幅值过大;D 、闭环传递函数中有一个积分环节。
一、填空题(每空 1 分,共15分)1、反馈控制又称偏差控制,其控制作用是通过 给定值 与反馈量的差值进行的。
2、复合控制有两种基本形式:即按 输入 的前馈复合控制和按 扰动 的前馈复合控制。
3、两个传递函数分别为G 1(s)与G 2(s)的环节,以并联方式连接,其等效传递函数为()G s ,则G(s)为G 1(s)+G 2(s)(用G 1(s)与G 2(s) 表示)。
4、典型二阶系统极点分布如图1所示,则无阻尼自然频率=n ω 1.414 ,阻尼比=ξ 0.707 , 该系统的特征方程为 2220s s ++= ,该系统的单位阶跃响应曲线为 衰减振荡 。
5、若某系统的单位脉冲响应为0.20.5()105t t g t e e --=+,则该系统的传递函数G(s)为1050.20.5s s s s +++。
6、根轨迹起始于 开环极点 ,终止于 开环零点 。
7、设某最小相位系统的相频特性为101()()90()tg tg T ϕωτωω--=--,则该系统的开环传递函数为 (1)(1)K s s Ts τ++。
1、在水箱水温控制系统中,受控对象为水箱,被控量为 水温 。
2、自动控制系统有两种基本控制方式,当控制装置与受控对象之间只有顺向作用而无反向联系时,称为 开环控制系统 ;当控制装置与受控对象之间不但有顺向作用而且还有反向联系时,称为 闭环控制系统 ;含有测速发电机的电动机速度控制系统,属于 闭环控制系统 。
3、稳定是对控制系统最基本的要求,若一个控制系统的响应曲线为衰减振荡,则该系统 稳定 。
判断一个闭环线性控制系统是否稳定,在时域分析中采用劳斯判据;在频域分析中采用 奈奎斯特判据。
4、传递函数是指在 零 初始条件下、线性定常控制系统的 输出拉氏变换 与 输入拉氏变换 之比。
5、设系统的开环传递函数为2(1)(1)K s s Ts τ++,则其开环幅频特性为2222211K T τωωω++; 相频特性为arctan 180arctan T τωω--(或:2180arctan 1T T τωωτω---+) 。
一、 单项选择题(每小题1分,共20分)1. 系统和输入已知,求输出并对动态特性进行研究,称为( C )A.系统综合B.系统辨识C.系统分析D.系统设计2. 惯性环节和积分环节的频率特性在( A )上相等。
A.幅频特性的斜率B.最小幅值C.相位变化率D.穿越频率3. 通过测量输出量,产生一个与输出信号存在确定函数比例关系值的元件称为( C )A.比较元件B.给定元件C.反馈元件D.放大元件4. ω从0变化到+∞时,延迟环节频率特性极坐标图为( A )A.圆B.半圆C.椭圆D.双曲线5. 当忽略电动机的电枢电感后,以电动机的转速为输出变量,电枢电压为输入变量时,电动机可看作一个( B )A.比例环节B.微分环节C.积分环节D.惯性环节6. 若系统的开环传 递函数为2)(5 10+s s ,则它的开环增益为( C ) A.1 B.2 C.5 D.107. 二阶系统的传递函数52 5)(2++=s s s G ,则该系统是( B ) A.临界阻尼系统 B.欠阻尼系统 C.过阻尼系统 D.零阻尼系统8. 若保持二阶系统的ζ不变,提高ωn ,则可以( B )A.提高上升时间和峰值时间B.减少上升时间和峰值时间C.提高上升时间和调整时间D.减少上升时间和超调量9. 一阶微分环节Ts s G +=1)(,当频率T1=ω时,则相频特性)(ωj G ∠为( A ) A.45° B.-45° C.90° D.-90°10.最小相位系统的开环增益越大,其( D )A.振荡次数越多B.稳定裕量越大C.相位变化越小D.稳态误差越小11.设系统的特征方程为()0516178234=++++=s s s s s D ,则此系统 ( A )A.稳定B.临界稳定C.不稳定D.稳定性不确定。
12.某单位反馈系统的开环传递函数为:())5)(1(++=s s s k s G ,当k =( C )时,闭环系统临界稳定。
一、 单项选择题(每小题1分,共20分)1. 系统和输入已知,求输出并对动态特性进行研究,称为( C )A.系统综合B.系统辨识C.系统分析D.系统设计2. 惯性环节和积分环节的频率特性在( A )上相等。
A.幅频特性的斜率B.最小幅值C.相位变化率D.穿越频率3. 通过测量输出量,产生一个与输出信号存在确定函数比例关系值的元件称为( C )A.比较元件B.给定元件C.反馈元件D.放大元件4. ω从0变化到+∞时,延迟环节频率特性极坐标图为( A )A.圆B.半圆C.椭圆D.双曲线5. 当忽略电动机的电枢电感后,以电动机的转速为输出变量,电枢电压为输入变量时,电动机可看作一个( B )A.比例环节B.微分环节C.积分环节D.惯性环节6. 若系统的开环传 递函数为2)(5 10+s s ,则它的开环增益为( C ) A.1 B.2 C.5 D.107. 二阶系统的传递函数52 5)(2++=s s s G ,则该系统是( B ) A.临界阻尼系统 B.欠阻尼系统 C.过阻尼系统 D.零阻尼系统8. 若保持二阶系统的ζ不变,提高ωn ,则可以( B )A.提高上升时间和峰值时间B.减少上升时间和峰值时间C.提高上升时间和调整时间D.减少上升时间和超调量9. 一阶微分环节Ts s G +=1)(,当频率T1=ω时,则相频特性)(ωj G ∠为( A ) A.45° B.-45° C.90° D.-90°10.最小相位系统的开环增益越大,其( D )A.振荡次数越多B.稳定裕量越大C.相位变化越小D.稳态误差越小11.设系统的特征方程为()0516178234=++++=s s s s s D ,则此系统 ( A )A.稳定B.临界稳定C.不稳定D.稳定性不确定。
12.某单位反馈系统的开环传递函数为:())5)(1(++=s s s k s G ,当k =( C )时,闭环系统临界稳定。
一、填空(每空1分,共18分)1.自动控制系统的数学模型有 、 、 、共4种。
2.连续控制系统稳定的充分必要条件是 。
离散控制系统稳定的充分必要条件是 。
3.某统控制系统的微分方程为:dtt dc )(+0.5C(t)=2r(t)。
则该系统的闭环传递函数 Φ(s)= ;该系统超调σ%= ;调节时间t s (Δ=2%)= 。
4.某单位反馈系统G(s)=)402.0)(21.0()5(1002+++s s s s ,则该系统是 阶 型系统;其开环放大系数K= 。
5.已知自动控制系统L(ω)曲线为:则该系统开环传递函数G(s)= ;ωC = 。
6.相位滞后校正装置又称为 调节器,其校正作用是 。
7.采样器的作用是 ,某离散控制系统)()1()1()(10210TT e Z Z e Z G -----=(单位反馈T=0.1)当输入r(t)=t 时.该系统稳态误差为 。
二. 1.求图示控制系统的传递函数.求:)()(S R S C (10分)R(s)2.求图示系统输出C (Z )的表达式。
(4分)四.反馈校正系统如图所示(12分)求:(1)K f =0时,系统的ξ,ωn 和在单位斜坡输入下的稳态误差e ss . (2)若使系统ξ=0.707,k f 应取何值?单位斜坡输入下e ss .=?T五.已知某系统L(ω)曲线,(12分)(1)写出系统开环传递函数G(s)(2)求其相位裕度γ(3)欲使该系统成为三阶最佳系统.求其K=?,γmax=?六、已知控制系统开环频率特性曲线如图示。
P为开环右极点个数。
г为积分环节个数。
判别系统(1)(2)(3)七、已知控制系统的传递函数为)1005.0)(105.0(10)(0++=s s s G 将其教正为二阶最佳系统,求校正装置的传递函数G 0(S )。
(12分)一.填空题。
(10分)1.传递函数分母多项式的根,称为系统的2. 微分环节的传递函数为3.并联方框图的等效传递函数等于各并联传递函数之4.单位冲击函数信号的拉氏变换式5.系统开环传递函数中有一个积分环节则该系统为型系统。
自动控制原理试题及答案一、单项选择题(每题2分,共20分)1. 自动控制系统中,开环系统与闭环系统的主要区别在于()。
A. 是否有反馈B. 控制器的类型C. 系统是否稳定D. 系统的响应速度答案:A2. 在控制系统中,若系统输出与期望输出之间存在偏差,则该系统()。
A. 是闭环系统B. 是开环系统C. 没有反馈D. 是线性系统答案:B3. 下列哪个是控制系统的稳定性条件?()A. 所有闭环极点都位于复平面的左半部分B. 所有开环极点都位于复平面的左半部分C. 所有闭环极点都位于复平面的右半部分D. 所有开环极点都位于复平面的右半部分答案:A4. PID控制器中的“P”代表()。
A. 比例B. 积分C. 微分D. 前馈答案:A5. 在控制系统中,超调量通常用来衡量()。
A. 系统的稳定性B. 系统的快速性C. 系统的准确性D. 系统的鲁棒性答案:C6. 一个系统如果其开环传递函数为G(s)H(s),闭环传递函数为T(s),则闭环传递函数T(s)是()。
A. G(s)H(s)B. G(s)H(s)/[1+G(s)H(s)]C. 1/[1+G(s)H(s)]D. 1/G(s)H(s)答案:B7. 根轨迹法是一种用于()的方法。
A. 系统稳定性分析B. 系统性能分析C. 系统设计D. 系统故障诊断答案:B8. 一个系统如果其开环传递函数为G(s)H(s),闭环传递函数为T(s),则T(s)的零点是()。
A. G(s)的零点B. H(s)的零点C. G(s)和H(s)的零点D. G(s)和H(s)的极点答案:A9. 一个系统如果其开环传递函数为G(s)H(s),闭环传递函数为T(s),则T(s)的极点是()。
A. G(s)的零点B. H(s)的零点C. 1+G(s)H(s)的零点D. G(s)和H(s)的极点答案:C10. 一个系统如果其开环传递函数为G(s)H(s),闭环传递函数为T(s),则系统的稳态误差与()有关。
自动控制原理考试试卷及答案一、选择题(每题2分,共20分)1. 下列哪项不是自动控制系统的基本组成部分?A. 控制器B. 被控对象C. 执行机构D. 操作人员答案:D2. 在自动控制系统中,下列哪项属于反馈环节?A. 控制器B. 执行机构C. 被控对象D. 反馈元件答案:D3. 下列哪种控制方式属于闭环控制?A. 比例控制B. 积分控制C. 微分控制答案:D4. 下列哪种控制方式属于开环控制?A. 比例控制B. 积分控制C. 微分控制D. 比例-积分控制答案:A5. 在自动控制系统中,下列哪种控制规律不会产生稳态误差?A. 比例控制B. 积分控制C. 微分控制D. 比例-积分-微分控制答案:B6. 下列哪种控制方式适用于一阶惯性环节?A. 比例控制B. 积分控制C. 微分控制答案:A7. 在自动控制系统中,下列哪种环节不会产生相位滞后?A. 比例环节B. 积分环节C. 微分环节D. 比例-积分环节答案:A8. 下列哪种控制方式可以使系统具有较好的稳定性和快速性?A. 比例控制B. 积分控制C. 微分控制D. 比例-积分-微分控制答案:D9. 在自动控制系统中,下列哪种环节可以使系统具有较好的阻尼效果?A. 比例环节B. 积分环节C. 微分环节D. 比例-积分环节答案:C10. 下列哪种控制方式可以使系统具有较好的跟踪性能?A. 比例控制B. 积分控制C. 微分控制D. 比例-积分-微分控制答案:D二、填空题(每题2分,共20分)1. 自动控制系统的基本组成部分有:控制器、被控对象、执行机构、________。
答案:反馈元件2. 在自动控制系统中,反馈环节的作用是________。
答案:减小系统的稳态误差3. 闭环控制系统的特点有:________、________、________。
答案:稳定性好、快速性好、准确性高4. 开环控制系统的缺点有:________、________、________。
第 1 页一、填空(每空1分,共18分)1.自动控制系统的数学模型有 、 、 、共4种。
2.连续控制系统稳定的充分必要条件是 。
离散控制系统稳定的充分必要条件是 。
3.某统控制系统的微分方程为:dtt dc )(+0.5C(t)=2r(t)。
则该系统的闭环传递函数 Φ(s)= ;该系统超调σ%= ;调节时间t s (Δ=2%)= 。
4.某单位反馈系统G(s)=)402.0)(21.0()5(1002+++s s s s ,则该系统是 阶 型系统;其开环放大系数K= 。
5.已知自动控制系统L(ω)曲线为:则该系统开环传递函数G(s)= ;ωC = 。
6.相位滞后校正装置又称为 调节器,其校正作用是 。
7.采样器的作用是 ,某离散控制系统)()1()1()(10210TT e Z Z e Z G -----=(单位反馈T=0.1)当输入r(t)=t 时.该系统稳态误差为 。
二. 1.求:)()(S R S C (10分)R(s)第2页2.求图示系统输出C(Z)的表达式。
(4分)四.反馈校正系统如图所示(12分)求:(1)K f=0时,系统的ξ,ωn和在单位斜坡输入下的稳态误差e ss.(2)若使系统ξ=0.707,k f应取何值?单位斜坡输入下e ss.=?第 3 页(1) (2) (3)五.已知某系统L (ω)曲线,(12分)(1)写出系统开环传递函数G (s ) (2)求其相位裕度γ(3)欲使该系统成为三阶最佳系统.求其K=?,γmax =?六、已知控制系统开环频率特性曲线如图示。
P 为开环右极点个数。
г为积分环节个数。
判别系统闭环后的稳定性。
第 4 页七、已知控制系统的传递函数为)1005.0)(105.0(10)(0++=s s s G 将其教正为二阶最佳系统,求校正装置的传递函数G 0(S )。
(12分)一.填空题。
(10分)1.传递函数分母多项式的根,称为系统的2. 微分环节的传递函数为3.并联方框图的等效传递函数等于各并联传递函数之4.单位冲击函数信号的拉氏变换式5.系统开环传递函数中有一个积分环节则该系统为 型系统。
. 专业资料可编辑 .一、填空(每空1分,共18分)1.自动控制系统的数学模型有 、 、 、共4种。
2.连续控制系统稳定的充分必要条件是 。
离散控制系统稳定的充分必要条件是 。
3.某统控制系统的微分方程为:dtt dc )(+0.5C(t)=2r(t)。
则该系统的闭环传递函数 Φ(s)= ;该系统超调σ%= ;调节时间t s (Δ=2%)= 。
4.某单位反馈系统G(s)=)402.0)(21.0()5(1002+++s s s s ,则该系统是 阶 型系统;其开环放大系数K= 。
5.已知自动控制系统L(ω)曲线为:则该系统开环传递函数G(s)= ;ωC = 。
6.相位滞后校正装置又称为 调节器,其校正作用是 。
7.采样器的作用是 ,某离散控制系统)()1()1()(10210TT e Z Z e Z G -----=(单位反馈T=0.1)当输入r(t)=t 时.该系统稳态误差. 专业资料可编辑 .为 。
二. 1.求图示控制系统的传递函数.求:)()(S R S C (10分)R(s). 专业资料可编辑 .2.求图示系统输出C (Z )的表达式。
(4分)四.反馈校正系统如图所示(12分)求:(1)K f =0时,系统的ξ,ωn 和在单位斜坡输入下的稳态误差e ss . (2)若使系统ξ=0.707,k f应取何值?单位斜坡输入下e ss .=?T五.已知某系统L(ω)曲线,(12分)(1)写出系统开环传递函数G(s)(2)求其相位裕度γ(3)欲使该系统成为三阶最佳系统.求其K=?,γmax=?. 专业资料可编辑.. 专业资料可编辑 .(1)(2) (3)六、已知控制系统开环频率特性曲线如图示。
P 为开环右极点个数。
г为积分环节个数。
判别系. 专业资料可编辑 .七、已知控制系统的传递函数为)1005.0)(105.0(10)(0++=s s s G 将其教正为二阶最佳系统,求校正装置的传递函数G 0(S )。
专业知识分享一、填空(每空1分,共18分)1.自动控制系统的数学模型有 、 、 、共4种。
2.连续控制系统稳定的充分必要条件是 。
离散控制系统稳定的充分必要条件是 。
3.某统控制系统的微分方程为:dtt dc )(+0.5C(t)=2r(t)。
则该系统的闭环传递函数 Φ(s)= ;该系统超调σ%= ;调节时间t s (Δ=2%)= 。
4.某单位反馈系统G(s)=)402.0)(21.0()5(1002+++s s s s ,则该系统是 阶 型系统;其开环放大系数K= 。
5.已知自动控制系统L(ω)曲线为:则该系统开环传递函数G(s)= ;ωC = 。
6.相位滞后校正装置又称为 调节器,其校正作用是 。
7.采样器的作用是 ,某离散控制系统)()1()1()(10210T T e Z Z e Z G -----=(单位反馈T=0.1)当输入r(t)=t 时.该系统稳态误差为 。
二. 1.求:)()(S R S C (10分)R(s)2.求图示系统输出C(Z)的表达式。
(4分)四.反馈校正系统如图所示(12分)求:(1)K f=0时,系统的ξ,ωn和在单位斜坡输入下的稳态误差e ss.(2)若使系统ξ=0.707,k f应取何值?单位斜坡输入下e ss.=?专业知识分享(1)(2)(3)五.已知某系统L (ω)曲线,(12分)(1)写出系统开环传递函数G (s ) (2)求其相位裕度γ(3)欲使该系统成为三阶最佳系统.求其K=?,γmax =?六、已知控制系统开环频率特性曲线如图示。
P 为开环右极点个数。
г为积分环节个数。
判别系统闭环后的稳定性。
(要求简单写出判别依据)(12专业知识分享七、已知控制系统的传递函数为)1005.0)(105.0(10)(0++=s s s G 将其教正为二阶最佳系统,求校正装置的传递函数G 0(S )。
(12分)一.填空题。
(10分)1.传递函数分母多项式的根,称为系统的2. 微分环节的传递函数为3.并联方框图的等效传递函数等于各并联传递函数之4.单位冲击函数信号的拉氏变换式5.系统开环传递函数中有一个积分环节则该系统为 型系统。
第 1 页 共 41 页《自动控制原理》试卷(一)A一、)(/)(s R s C二、 系统结构图如图所示,τ取何值时,系统才能稳定 ?(10分)三、已知负反馈系统的开环传递函数为,42)2()(2+++=s s s K s W k(1) 试画出以K 为参数系统的根轨迹;(2) 证明根轨迹的复数部分为圆弧 。
(15分)四、已知一单位闭环系统的开环传递函数为)15.0(100)(+=s s s W K ,现加入串联校正装置:101.011.0)(++=s s s W c ,试: (20分)(1) 判断此校正装置属于引前校正还是迟后校正?(2) 绘制校正前、后系统及校正装置的对数幅频特性。
(3) 计算校正后的相位裕量。
始点在0)0(,1)0(00==>=c cc c 的c c -平面上的相轨迹。
(15分)C )(s )(s o第 2 页 共 41 页六、采样控制系统如图所示,已知s T K 2.0,10==: (15分)1.求出系统的开环脉冲传递函数。
2.当输入为)(1*)(1*)(1)(221t t t t t t r ++=时,求稳态误差ss e 。
七、用奈氏稳定判据判断如下图所示系统的稳定性。
其中,(1)─(3)为线性系统,(4)─(6)为非线性系统。
(15分)s e sT --1 2s K s 5.0 )(s R)(s E )(s C c21ser _ u12《自动控制原理》试卷(一)B一、 控制系统的结构如下图。
(1) 当F (s )=0时,求系统闭环传递函数)()()(s R s C s =Φ;(2) 系统中H 2(s )应满足什么关系,能使干扰F (s )对输出C (s )没有影响?(10分)二、. 设某控制系统方框图如图所示,要求闭环系统的特征值全部位于s =-1垂线之左,试确定参数K 的取值范围。
(10分)三、.一单位负反馈系统的开环传函为)15.0()125.0()(++=s s s K s W ,欲使该系统对单位阶跃函数的响应为一振幅按指数规律衰减的简谐振荡时间函数,试用根轨迹法确定K 值范围(要求首先绘制根轨迹,求出并在图上标注主要的特征点参数)。
自动控制原理试题库20套和答案详细讲解word 格式文档一、填空(每空 1 分,共 18 分)1.自动控制系统的数学模型有、、、共 4种。
2.连续控制系统稳定的充分必要条件是。
离散控制系统稳定的充分必要条件是。
dc(t )3.某统控制系统的微分方程为:+0.5C(t)=2r(t) 。
则该系统的闭环传递函数dtΦ(s)= ;该系统超调σ %= ;调节时间 ts( =2%)= 。
4.某单位反馈系统G(s)=100(s 5)阶(0.1s,则该系统是s22)(0.02s 4)型系统;其开环放大系数K= 。
5.已知自动控制系统L(ω)曲线为:L( ω)dB40 [-20]则该系统开环传递函数G(s)= ;ωCω0.1ωC = 。
6.相位滞后校正装置又称为调节器,其校正作用是。
7 .采样器的作用是,某离散控制系统(1e 10T )(单位反馈T=0.1 )当输入r(t)=t 时.该系统稳态误差G(Z)2 (Ze 10T(Z 1) )为。
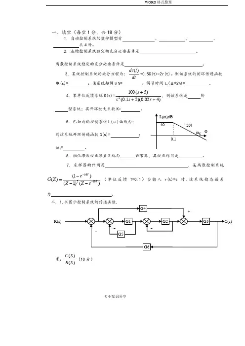
二 . 1. 求图示控制系统的传递函数 .G4+R(s) G1 G2 G3 C(s )-- -G5G6求:C(S)(10 分)R(S)专业整理2.求图示系统输出C ( Z)的表达式。
( 4 分)R( s)TG1 G2 G3 C(s)-TH1 H2四.反馈校正系统如图所示(12 分)求:( 1) Kf=0 时,系统的ξ,ω n 和在单位斜坡输入下的稳态误差 e ss.(2)若使系统ξ =0.707 ,k f应取何值?单位斜坡输入下e ss.= ?R(s) 8 c(s)S(S 2)k f s专业整理五.已知某系统 L(ω)曲线,(12 分)(1)写出系统开环传递函数 G ( s)(2)求其相位裕度γ( 3)欲使该系统成为三阶最佳系统.求其 K=?,γ=?maxL(ω)[-20]100ω10 25 ωc[-40]六、已知控制系统开环频率特性曲线如图示。
P 为开环右极点个数。
г为积分环节个数。
课程管理第1题:开环控制方式是按()进行控制的,反馈控制方式是按()进行控制的。
A. 偏差;给定量B. 给定量;偏差C. 给定量;扰动D. 扰动;给定量第2题:自动控制系统的是系统正常工作的先决条件。
A. 稳定性B. 动态特性C. 稳态特性D. 精确度第3题:系统的微分方程为c(t)=r(t)coswt+5 , 则系统属于()。
A. 离散系统B. 线性定常系统C. 线性时变系统D. 非线性系统第4题:时域中常用的数学模型不包括。
A. 微分方程B. 差分方程C. 传递函数D. 状态方程第5题:适合于应用传递函数描述的系统是。
A. 线性定常系统B. 线性时变系统C. 非线性时变系统D. 非线性定常系统第6题:传递函数的零初始条件是指tA. 输入为零B. 输入、输出及各阶导数为零C. 输入、输出为零D. 输出及各阶导数为零第7题:传递函数的拉氏反变换是()。
A. 单位阶跃响应B. 单位加速度响应C. 单位斜坡响应D. 单位脉冲响应第8题:系统自由运动的模态由()决定。
A. 零点B. 极点C. 零点和极点D. 增益第9题:信号流图中,()的支路称为源节点。
A. 只有信号输入B. 只有信号输出C. 既有信号输入又有信号输出D. 任意第10题:信号流图中,()的支路称为阱节点。
A. 只有信号输入B. 只有信号输出C. 既有信号输入又有信号输出D. 任意第11题:信号流图中,()的支路称为混合节点。
A. 只有信号输入B. 只有信号输出C. 既有信号输入又有信号输出D. 任意第12题:分析系统的动态性能时常用的典型输入信号是()。
A. 单位阶跃函数B. 单位速度函数C. 单位脉冲函数D. 正弦函数第13题:一阶系统的单位阶跃响应曲线的输出值为 0.632 时对应的 t=()。
A. TB. 2TC. 3TD. 4T第14题:一阶系统的单位阶跃响应曲线的输出值为 0.95 时对应的t=()。
A. TB. 2TC. 3TD. 4T第15题:一阶系统的单位阶跃响应曲线的输出值为 0.982 时对应的t=()。
一、填空题(每空1分,共15分)1、反馈控制又称偏差控制,其控制作用是通过给定值与反馈量的差值进行的。
2、复合控制有两种基本形式:即按输入的前馈复合控制和按扰动的前馈复合控制。
3、两个传递函数分别为G1(s)与G2(s)的环节,以并联方式连接,其等效传递函数为()G s,则G(s)为G1(s)+G2(s)(用G1(s)与G2(s)表示)。
4、典型二阶系统极点分布如图1所示,ω,则无阻尼自然频率=n7其相应的传递函数为,由于积分环节的引入,可以改善系统的稳态性能。
1、在水箱水温控制系统中,受控对象为水箱,被控量为水温。
2、自动控制系统有两种基本控制方式,当控制装置与受控对象之间只有顺向作用而无反向联系时,称为开环控制系统;当控制装置与受控对象之间不但有顺向作用而且还有反向联系时,称为闭环控制系统;含有测速发电机的电动机速度控制系统,属于闭环控制系统。
3、稳定是对控制系统最基本的要求,若一个控制系统的响应曲线为衰减振荡,则该系统稳定。
判断一个闭环线性控制系统是否稳定,在时域分析中采用劳斯判据;在频域分析中采用奈奎斯特判据。
4、传递函数是指在零初始条件下、线性定常控制系统的输出拉氏变换与输入拉氏变换之比。
5、设系统的开环传递函数为2(1)(1)K s s Ts τ++arctan 180arctan T τωω--。
6、频域性能指标与时域性能指标有着对应关系,开环频域性能指标中的幅值穿越频率c ω对应时域性能指标调整时间s t ,它们反映了系统动态过程的。
1、对自动控制系统的基本要求可以概括为三个方面,即:稳定性、快速性和准确性。
是指闭环传系统的性能要求可以概括为三个方面,即:稳定性、准确性和快速性,其中最基本的要求是稳定性。
2、若某单位负反馈控制系统的前向传递函数为()G s ,则该系统的开环传递函数为()G s 。
3、能表达控制系统各变量之间关系的数学表达式或表示方法,叫系统的数学模型,在古典控制理论中系统数学模型有微分方程、传递函数等。
4、判断一个闭环线性控制系统是否稳定,可采用劳思判据、根轨迹、奈奎斯特判据等方法。
5、设系统的开环传递函数为12(1)(1)K s T s T s ++,则其开环幅频特性为相频特性为01112()90()()tg T tg T ϕωωω--=---。
6、PID 控制器的输入-输出关系的时域表达式是0()()()()t pp p i K de t m t K e t e t dt K T dtτ=++⎰,其相应的A C C 、非单位反馈系统;D 、根轨迹方程(标准形式)为1)()(+=s H s G 。
6、开环频域性能指标中的相角裕度γ对应时域性能指标(A )。
A 、超调%σB 、稳态误差ss eC 、调整时间s tD 、峰值时间p t7、已知开环幅频特性如图2所示,则图中不稳定的系统是(B )。
系统①系统②系统③图2A、系统①B、系统②C、系统③D、都不稳定8、若某最小相位系统的相角裕度0γ>,则下列说法正确的是(C)。
A、不稳定;B、只有当幅值裕度1gk>时才稳定;C、稳定;D、不能判用相角裕度判断系统的稳定性。
9、若某串联校正装置的传递函数为1011001ss++,则该校正装置属于(B)。
A、超前校正B、滞后校正C、滞后-超前校正D、不能判断10、下列串联校正装置的传递函数中,能在1cω=处提供最大相位超前角的是(B):A、1011ss++B、1010.11ss++C、210.51ss++D、0.11101ss++ 1、关于传递函数,错误的说法是(B)A传递函数只适用于线性定常系统;B传递函数不仅取决于系统的结构参数,给定输入和扰动对传递函数也有影响;C传递函数一般是为复变量s的真分式;D闭环传递函数的极点决定了系统的稳定性。
2、下列哪种措施对改善系统的精度没有效果(C)。
A、增加积分环节B、提高系统的开环增益KC、增加微分环节D、引入扰动补偿3、高阶系统的主导闭环极点越靠近虚轴,则系统的(D)。
A、准确度越高B、准确度越低C、响应速度越快D、响应速度越慢4、已知系统的开环传递函数为50(21)(5)s s++,则该系统的开环增益为(C)。
A、50B、25C、10D、55、若某系统的根轨迹有两个起点位于原点,则说明该系统(B)。
A、含两个理想微分环节B、含两个积分环节C、位置误差系数为0D、速度误差系数为06、开环频域性能指标中的相角裕度γ对应时域性能指标(A)。
A 、超调%σB 、稳态误差ss eC 、调整时间s tD 、峰值时间p t7、已知某些系统的开环传递函数如下,属于最小相位系统的是(B )A 、(2)(1)K s s s -+B 、(1)(5K s s s +-+)C 、2(1)K s s s +-D 、(1)(2)K s s s -- 8、若系统增加合适的开环零点,则下列说法不正确的是(B )。
A 、可改善系统的快速性及平稳性;B 、会增加系统的信噪比;C 、会使系统的根轨迹向s 平面的左方弯曲或移动;D 、可增加系统的稳定裕度。
9、开环对数幅频特性的低频段决定了系统的(A )。
3 4、非单位负反馈系统,其前向通道传递函数为G(S),反馈通道传递函数为H(S),当输入信号为R(S),则从输入端定义的误差E(S)为(D )A 、()()()E S R S G S =⋅B 、()()()()E S R S G S H S =⋅⋅C 、()()()()E S R S G S H S =⋅-D 、()()()()E S R S G S H S =-5、已知下列负反馈系统的开环传递函数,应画零度根轨迹的是(A )。
A 、*(2)(1)K s s s -+B 、*(1)(5K s s s -+)C 、*2(31)K s s s +-D 、*(1)(2)K s s s -- 6、闭环系统的动态性能主要取决于开环对数幅频特性的(D ):A 、低频段B 、开环增益C 、高频段D 、中频段7、已知单位反馈系统的开环传递函数为2210(21)()(6100)s G s s s s +=++,当输入信号是2()22r t t t =++时,系统的稳态误差是(D )A 、0;B 、∞;C 、10;D 、208、关于系统零极点位置对系统性能的影响,下列观点中正确的是(A )A 、如果闭环极点全部位于S 左半平面,则系统一定是稳定的。
稳定性与闭环零点位置无关;B 、如果闭环系统无零点,且闭环极点均为负实数极点,则时间响应一定是衰减振荡的;C 、超调量仅取决于闭环复数主导极点的衰减率,与其它零极点位置无关;D 、如果系统有开环极点处于S 右半平面,则系统不稳定。
2(B )。
6A 、可使系统开环传函的型别提高,消除或减小稳态误差;B 、积分部分主要是用来改善系统动态性能的;C 、比例系数无论正负、大小如何变化,都不会影响系统稳定性;D 、只要应用PI 控制规律,系统的稳态误差就为零。
8、关于线性系统稳定性的判定,下列观点正确的是(C )。
A 、线性系统稳定的充分必要条件是:系统闭环特征方程的各项系数都为正数;B 、无论是开环极点或是闭环极点处于右半S 平面,系统不稳定;C 、如果系统闭环系统特征方程某项系数为负数,系统不稳定;D 、当系统的相角裕度大于零,幅值裕度大于1时,系统不稳定。
9、关于系统频域校正,下列观点错误的是(C )A 、一个设计良好的系统,相角裕度应为45度左右;B 、开环频率特性,在中频段对数幅频特性斜率应为20/dB dec -;C 、低频段,系统的开环增益主要由系统动态性能要求决定;D 、利用超前网络进行串联校正,是利用超前网络的相角超前特性。
10、已知单位反馈系统的开环传递函数为2210(21)()(6100)s G s s s s +=++,当输入信号是2()22r t t t =++时,系统的稳态误差是(D )A 、0B 、∞C 、10D 、20三、(8分)试建立如图3所示电路的动态微分方程,并求传递函数。
图3解:1、建立电路的动态微分方程00i 0i )t (u )]t (u )t (d[u )t (u )t (u --2条前向通道:11231()()(), 1P G s G s G s =∆=;三、(16分)已知系统的结构如图1所示,其中(0.51)()(1)(21)k s G s s s s +=++,输入信号为单位斜坡函数,求系统的稳态误差(8分)。
分析能否通过调节增益k ,使稳态误差小于0.2(8分)。
稳态误差为 11ss v e K K ==。
) 要使0.2ss e < 必须 150.2K >=,即K 要大于5。
但其上限要符合系统稳定性要求。
可由劳斯判据决定其上限。
系统的闭环特征方程是32()(1)(21)0.523(10.5)0D s s s s Ks K s s K s K =++++=++++=构造劳斯表如下3210210.5330.5030s K s K K s s K +-为使首列大于0, 必须 06K <<。
综合稳态误差和稳定性要求,当56K <<时能保证稳态误差小于0.2。
三、写出下图所示系统的传递函数()()C s R s (结构图化简,梅逊公式均可)。
解:传递函数G(s):根据梅逊公式1()()()n i ii P C s G s R s =∆==∆∑(2分)3条回路:111()()L G s H s =-,222()()L G s H s =-,333()()L G s H s =-(1分)1对互不接触回路:131133()()()()L L G s H s G s H s =(1分)3131122331133111()()()()()()()()()()i i L L L G s H s G s H s G s H s G s H s G s H s =∆=-+=++++∑(2分)1条前向通道:11231()()(), 1P G s G s G s =∆=(2分)(2分)四、(共20分)系统结构图如图4所示:1、写出闭环传递函数()()()C s s R s Φ=表达式;(4分) 2、要使系统满足条件:707.0=ξ,2=n ω,试确定相应的参数K 和β;(4分)图43、求此时系统的动态性能指标s t ,00σ;(4分)4、t t r 2)(=时,求系统由()r t 产生的稳态误差ss e ;(4分)5、确定)(s G n ,使干扰)(t n 对系统输出)(t c 无影响。
(4分)解:1、(4分)22222221)()()(n n n s s K s K s K sK s K s Ks R s C s ωξωωββ++=++=++==Φ⎧221、0.2ξ=2、4.0=ξp t 。