次性使用冲洗器生产工艺规程
- 格式:doc
- 大小:45.00 KB
- 文档页数:7
目的:建立一个生产用小工具、容器具的清洗规程,以确保其清洁卫生,符合工艺要求。
范围:适用于生产用小工具、容器具如生产用品、取样和配料容器,搅拌用具,不锈钢周转桶等的清洗全过程。
职责:车间主任、岗位操作人员、质监员
程序:
1将生产用小工具、容器具移到器具清洗间洗涤槽内清洗,取去上一批生产标识。
容器内外分别按以下程序清洗。
2先用饮用水清洗或刷洗必要时加清洁剂。
3用纯化水淋洗。
4用洁净干布擦干。
5用75%乙醇喷洒消毒。
6生产用小工具及容器具放入工具间或器具存放间内保存,容器应倒置保存。
7本操作应于本批生产结束后3小时内开始进行。
8清洗有效期为72小时。
清洗设备的操作规程清洗设备是保持设备运行效率和延长设备使用寿命的关键步骤之一。
正确的操作规程能够确保清洗设备的安全性和有效性。
以下是清洗设备的操作规程:1. 准备工作在开始清洗设备之前,需要进行一些准备工作。
首先,确定清洗设备的类型和需要清洗的部件。
其次,阅读设备的操作手册,了解设备的清洗要求和注意事项。
最后,准备所需的清洗工具和清洗剂。
2. 关闭设备在进行清洗之前,必须确保设备已经完全关闭并断开电源。
这是为了防止意外开启或电击风险。
此外,还需等待设备完全冷却,避免热表面对操作人员造成伤害。
3. 拆卸部件根据设备操作手册的指示,逐步拆卸需要清洗的部件。
在拆卸过程中,应注意记录拆卸顺序和组件之间的连接方式。
这有助于在重新组装时准确安装。
4. 清洗工具和清洗剂的选择选择适合设备的清洗工具和清洗剂非常重要。
根据设备的材质和污染程度,选择合适的清洗工具,如刷子、海绵或布。
选择合适的清洗剂时,应根据设备的表面特性和污染物种类考虑。
确保清洗剂对设备表面无腐蚀性,并且能有效去除污染物。
5. 清洗步骤根据设备操作手册的指引,按照以下步骤进行清洗:- 先使用清水预洗,去除表面的大部分污染物;- 使用适当的清洗剂浸泡或涂抹在需要清洗的表面上;- 用清洗工具轻轻刷洗表面,确保清洗剂能充分作用于污染物;- 再次用清水冲洗表面,彻底清除清洗剂和污染物的残留。
6. 装配部件在清洗完毕后,根据操作手册的指导,按照之前记录的顺序重新组装设备部件。
确保每个部件正确安装,并检查紧固件是否牢固。
7. 其他注意事项清洗设备过程中,还需注意以下事项:- 穿戴适当的个人防护装备,如手套、安全眼镜和防护服,以确保操作人员的安全;- 遵循设备操作手册中的清洗时间和温度要求,避免在过高温度或过长时间下进行清洗;- 对于需要特殊处理的部件,如电子元件或密封件,应遵循制造商提供的指导进行清洗;- 清洗后,对设备进行彻底的检查,确保没有遗漏任何污染物。
清洗机工艺规程1目的确保清洗机下正常工作,清洗工作质量符合要求,保证生产需要。
2适用范围LBQC-125清洗机的清洗工作,机器的日常维护和保养。
3职责3.1生产工厂设备操作工负责清洗工作并负责清洗机的日常维护和保养。
3.2化验室化验员负责制测定清洗液浓度。
4工作细则4.1清洗对象4.1.1清洗零件名称:离合器分泵;总泵。
4.1.2被清洗零件材质:HT200。
4.1.3清洗污物:铁屑;切削液;油污等。
4.2清洗工艺清洗温度:50-60℃。
清洗速度:100件/h。
每件清洗时间为20min。
吹干温度:55-70℃。
4.3工艺配方(保密)4.4操作规程4.4.1操作者须知1)本机应的专人负责保管和使用。
2)开机进行运转情况检查。
3)操作过程中,操作者因故离开时,需切断电源和压缩空气气源。
4)严格按规定顺序操作,以防发生意外。
5)工作中发生故障,应及时停机,待处理人员排除故障后方能继续使用。
4.4.2准备工作1)上班前5分钟将清洗箱、排渣机和凝水箱加或换水至允许范围。
2)每天早晨8:30后由化验室开机取样,测定清洗液的浓度,11:00把报告单送回。
3)根据化验报告单,调整清洗液浓度至允许范围。
4)按工艺条件调定清洗液和热风温度计。
5)将Q拨到“合ON”,逐个按下FS1、FS2、…FS7的“合ON”按钮。
4.4.3启动1)当清洗液升温至设定值时,打开压缩空气进气阀,再打开空气压缩机,最后将SA7旋至“通(加热)”位置。
2)按“自动启动”按钮SN9,再将SA8旋至“通”位置。
4.5维护和保养1)每周六在需加润滑油部位加润滑油。
2)每天下班前10-20min停机,清除滤网上的油污,清除集油箱里的渣子。
3)每周六全面清理一次。
4)每月末,清理水箱沉积物,检查各部位有无损坏。
5质量记录1)清洗液浓度化验报告单(保存于化验室,保存期一年)2)清洗机工艺参数监控记录(保存于生产工厂,保存期一年)。
冲洗机操作流程规范下载温馨提示:该文档是我店铺精心编制而成,希望大家下载以后,能够帮助大家解决实际的问题。
文档下载后可定制随意修改,请根据实际需要进行相应的调整和使用,谢谢!并且,本店铺为大家提供各种各样类型的实用资料,如教育随笔、日记赏析、句子摘抄、古诗大全、经典美文、话题作文、工作总结、词语解析、文案摘录、其他资料等等,如想了解不同资料格式和写法,敬请关注!Download tips: This document is carefully compiled by the editor. I hope that after you download them, they can help yousolve practical problems. The document can be customized and modified after downloading, please adjust and use it according to actual needs, thank you!In addition, our shop provides you with various types of practical materials, such as educational essays, diary appreciation, sentence excerpts, ancient poems, classic articles, topic composition, work summary, word parsing, copy excerpts,other materials and so on, want to know different data formats and writing methods, please pay attention!冲洗机是一种用于清洗物体表面的设备,通常广泛应用于工业、实验室以及医疗领域。
2.性能指标2.1物理性能2.1.1导管2.1.1.1外观与结构冲洗器的导管应塑化均匀,无外来物质,明显擦痕,飞边挤结。
外表面应透明或足够透明,当有气泡通过时,用正常或矫正视力可以发现水和空气的分界面。
2.1.1.2 耐弯曲试验按 3.1.1.2 的试验方法试验,软管不应该打折。
2.1.2滴斗与滴管滴斗应可以连续观察液滴。
液体应经过一插入滴斗的滴管进入滴斗。
滴管的端部至滴斗出口的距离应不小于 40mm,或滴管和药液过滤器间的距离应不小于 20mm,滴斗壁与滴管终端的距离应不小于 5mm,在(23±2)℃、流速为(50±10)滴/min 的条件下,滴管滴出 20 或 60 滴蒸馏水应为(1±0.1)mL[(1±0.1g)]。
2.1.3 液体流速冲洗器在 1m 静压头,对于滴管为 20 滴/ml,在 10min 内输出自来水应大于1500ml。
2.1.4进气器件2.1.4.1进气器件应有一个空气过滤器,以防微生物进入它所插入的容器。
2.1.4.2进气器件与瓶塞穿刺器连为一体。
2.1.4.3当进气器件插入硬质输液容器时,进入容器的空气应不进入到流出液中。
2.1.4.4空气过滤器的安装应使所有进入硬质容器的空气都通过它。
按 GB8368-2005 第 A.4 章试验时,相对于从自由进气的容器中流出液体的流量应不降低 20%。
2.1.5 流量调节器流量调节器应能调节药液流速,从零至最大。
并应不损伤软管。
2.1.6 穿刺器穿刺器应能刺透未穿刺过的液体容器瓶塞,在穿刺过程中应不引起落屑。
2.1.7 泄漏冲洗器应无气体泄漏现象。
2.1.8 拉伸强度冲洗器液体通道各组件间的连接,不包括保护套,应能承受不少于 15N 的静态轴向力,持续 15s,各部分不得有分离和断裂现象。
2.1.9 连接头冲洗器的连接头应能与一次性使用无菌导尿管和一次性使用体外引流袋相配套。
2.1.10 保护套冲洗器终端的保护套宜牢固,但要易于拆除。
使用洗涤器的工艺流程1. 准备工作•确认待洗涤的物品种类和数量•确保洗涤器处于正常工作状态•准备所需的洗涤剂和其他辅助工具2. 操作步骤2.1. 上料准备•将待洗涤的物品分类,并按照洗涤要求分别放入洗涤器的不同区域•确保物品放入洗涤器时不会相互缠绕或损坏2.2. 添加洗涤剂•根据待洗涤物品的种类和程度选择合适的洗涤剂•将洗涤剂按照使用说明添加到洗涤器的洗涤剂槽中•注意不要超量使用洗涤剂,防止过度起泡和残留2.3. 设置洗涤参数•根据物品的特性和洗涤要求,在洗涤器的控制面板上设定合适的洗涤参数•可以根据需要调整洗涤时间、温度、漂洗次数等参数•确保设置的参数符合物品的洗涤要求和洗涤器的使用限制2.4. 启动洗涤器•确认所有操作都已完成,关闭洗涤器的门•按下洗涤器控制面板上的启动按钮,开始洗涤过程•监控洗涤器工作状态,确保运行正常2.5. 洗涤完成•洗涤器完成洗涤后,自动停止工作并发出提示音•打开洗涤器的门,将洗涤完成的物品取出•检查物品洗涤效果,如有问题再次进行洗涤或其他处理3. 清洁和维护•洗涤器使用后,及时清理洗涤槽和过滤器,防止杂质积累导致洗涤效果下降•定期检查洗涤器的运行状态和各个部件的工作功能,如有故障及时维修或更换4. 安全注意事项•在使用洗涤器时,要遵守相关的安全操作规程和注意事项•避免将手指或其他物品放入洗涤器的旋转部件中•使用洗涤剂时要注意个人防护,避免接触到皮肤或眼睛以上是使用洗涤器的工艺流程的基本步骤和注意事项。
根据实际情况,可能还需要针对不同物品的洗涤要求进行适当调整和处理。
务必保持洗涤器的清洁和维护,以确保洗涤效果和设备的寿命。
温馨小提示:本文主要介绍的是关于冲洗的操作流程及操作要求的文章,文章是由本店铺通过查阅资料,经过精心整理撰写而成。
文章的内容不一定符合大家的期望需求,还请各位根据自己的需求进行下载。
本文档下载后可以根据自己的实际情况进行任意改写,从而已达到各位的需求。
愿本篇冲洗的操作流程及操作要求能真实确切的帮助各位。
本店铺将会继续努力、改进、创新,给大家提供更加优质符合大家需求的文档。
感谢支持!(Thank you for downloading and checking it out!)阅读本篇文章之前,本店铺提供大纲预览服务,我们可以先预览文章的大纲部分,快速了解本篇的主体内容,然后根据您的需求进行文档的查看与下载。
冲洗的操作流程及操作要求(大纲)一、冲洗操作概述1.1冲洗的目的1.2冲洗的适用范围1.3冲洗的基本原理二、冲洗操作流程2.1准备工作2.1.1检查设备2.1.2准备冲洗液2.1.3准备工具和材料2.2操作步骤2.2.1连接冲洗设备2.2.2开启冲洗液2.2.3开始冲洗2.2.4观察冲洗效果2.2.5调整冲洗参数2.2.6结束冲洗2.3冲洗后的处理2.3.1检查冲洗效果2.3.2清理现场2.3.3归还工具和材料三、冲洗操作要求3.1操作人员要求3.1.1培训要求3.1.2安全意识3.1.3操作技能3.2设备要求3.2.1设备性能3.2.2设备维护3.2.3设备安全防护3.3冲洗液要求3.3.1冲洗液的选择3.3.2冲洗液的配制3.3.3冲洗液的储存和运输3.4操作环境要求3.4.1环境温度3.4.2环境湿度3.4.3环境清洁度3.5安全要求3.5.1防止触电3.5.2防止机械伤害3.5.3防止化学伤害3.5.4防止火灾和爆炸四、冲洗操作注意事项4.1常见问题及处理方法4.2紧急情况处理4.3定期检查和维护一、冲洗操作概述冲洗操作概述:1.1 冲洗的目的冲洗是一种清洁和保养设备、管道和容器等的过程,其主要目的是去除内部的污垢、沉积物和微生物等,确保其清洁卫生,防止污染和腐蚀,延长使用寿命,提高工作效率和产品质量。
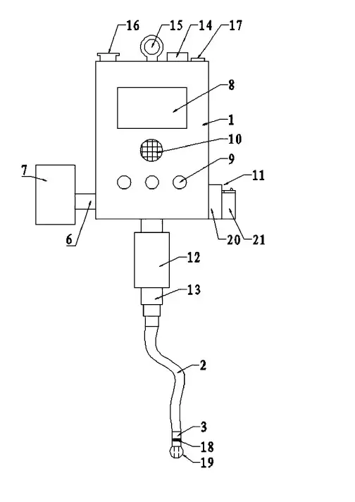
本技术新型涉及医疗器械技术领域,具体涉及普外科用冲洗装置,包括储水箱、冲洗软管和冲洗头,储水箱底部通过出水管连接冲洗软管上端,冲洗软管下端连接冲洗头,其特征在于:储水箱内设置多级滤芯和液位传感器,储水箱侧壁下端设置臭氧消毒管,臭氧消毒管连接臭氧发生器;储水箱表面设置显示屏、温度设定按钮、声光报警器和消毒盒子;储水箱下方设置加热室,加热室内设置温度传感器和电热片;储水箱、加热室与冲洗软管之间通过连接管连接;储水箱顶部设置电控盒、挂环、注水孔和排气孔。
本技术新型便于使用,能够有效保护创口,且具有设定温度自动加热功能,同时具有便于使用的消毒盒子用于清理创口杂质。
技术要求1.一种普外科用冲洗装置,包括储水箱(1)、冲洗软管(2)和冲洗头(3),所述储水箱(1)底部通过出水管连接所述冲洗软管(2)上端,所述冲洗软管(2)下端连接所述冲洗头(3),其特征在于:所述储水箱(1)内设置多级滤芯(4)和液位传感器(5),所述储水箱(1)侧壁下端设置臭氧消毒管(6),所述臭氧消毒管(6)连接臭氧发生器(7);所述储水箱(1)表面设置显示屏(8)、温度设定按钮(9)、声光报警器(10)和消毒盒子(11);所述储水箱(1)下方设置加热室(12),所述加热室(12)内设置温度传感器和电热片;所述储水箱(1)、所述加热室(12)与所述冲洗软管(2)之间通过连接管(13)连接;所述储水箱(1)顶部设置电控盒(14)、挂环(15)、注水孔(16)和排气孔(17)。
2.根据权利要求1所述的普外科用冲洗装置,其特征在于,所述电控盒(14)内设置微处理器和控制模块;所述微处理器连接所述液位传感器(5)、压力传感器、所述温度传感器、所述显示屏(8)、所述温度设定按钮(9)和所述控制模块,所述控制模块连接所述电热片和所述声光报警器(10)。
3.根据权利要求1所述的普外科用冲洗装置,其特征在于,所述多级滤芯(4)自上而下依次为PP熔喷滤芯层、颗粒碳层、压缩碳层、RO反渗透膜层或超滤膜层、后置活性炭层。
二次清洗
1 开工前准备
2上道工序质量控制
零部件经研磨等加工作业或二次污染严重。
3 二次清洗
3.1通过操作面板上的温度控制器设置工作温度值,须在40-50°之间,按下“加热”按钮,清洗机在未到达设定温度值前不得进行下一步操作。
3.2待清洗机加热至设定温度后,通过操作面板上的时间控制器设置工作时间,不得低于180s。
3.3把待清洗的工件随清洗篮一起放入1#超声波清洗槽,关上上盖,按下“超声波清洗”和“过滤”按钮,进行超声波清洗。
3.4清洗完成后,超声波和水泵自动停止工作,人工打开上盖,把1#槽的清洗篮提起,放入2#气泡漂洗槽,关上2#上盖,按下“吹气”按钮,进行气泡漂洗。
3.5气泡漂洗完成后,漂洗自动停止工作,人工打开上盖,把2#槽的清洗篮提起,放入3#吹干槽,关上3#上盖,按下“烘干”按钮,进行烘干。
3.6烘干完成后,人工打开上盖,把3#槽的清洗篮提起,完成清洗工作。
3.7按“原阀原装”原则,将清洗前取下的磁性票筒吸附在清洗完毕的主阀体上
4 质量检查
检查零部件表面、内腔,不得有目视可见的污垢、灰砂、水分、纤维物和其他污物,并使用风枪吹干槽孔内部残留水分。
5 配件处置
操作流水线将零部件清洗篮送至检修工位。
6 质量反馈信息处置
7 设备故障处置
8 完工整理
作业定置示意图。
1.目的去除硅片表面的磷硅玻璃;去掉硅片背面及周边p-n结。
2.适用范围适用于125、156多晶硅片二次清洗工位。
3.责任3.1本工艺说明由电池事业部工艺人员制定修改。
3.2本工位员工需严格依工艺文件操作。
3.3质量部负责按文件要求对工艺检查、监督。
4.设备RENA清洗机、冷却系统。
5.环境要求温度20±2℃,洁净度一万级。
6.工具125×125片盒(PVDF材料)、156×156片盒(PVDF材料)、围裙、长袖防护手套、防护面具、防毒面具、洁净服、PE手套、乳胶手套、汗布手套、一次性口罩。
7.原辅料16MΩ.cm去离子水(DI water)、硝酸(65.0~68.0%)、氢氟酸(48.0~50.0%)、氢氧化钾溶液(45%)、硫酸(98.0%)、压缩空气、自来水。
9.二次清洗9.1操作规程9.1.1开机准备9.1.1.1机器准备9.1.1.1.1打开电控柜电源,然后打开主机及PLC电源。
9.1.1.1.2打开灯,开关位于灰色的电气箱“0”—“1”,并打开机器上的显示器。
9.1.1.1.3打开冷却系统,外围冷却水温不能高于18℃,进出水压差不少于3 kg.9.1.1.2配液9.1.1.2.1将各工艺槽内的碎片清理干净,并清洗配液箱和各工艺槽(点击各槽位控制界面的“System Rinsing”按钮)。
9.1.1.2.2进入相应槽位的控制界面,点击相应配液按钮,系统将按照工艺参数自动配液。
9.1.1.2.3配液过程中如发现储液柜中药品用完(此时系统会报警),应及时换好。
9.1.2物料准备9.1.2.1戴好手套,手套的戴法为:内层汗布手套 + 中间层乳胶手套 + 外层汗布手套。
9.1.2.2从硅片周转车中取出硅片,并整齐地放在上料台。
如有跟踪单或流程卡,将其一起取出放在跟踪片处。
9.1.2.3在跟踪单或流程卡上记录要求填写的内容(如:时间、碎片、返工片等)。
9.1.3开机9.1.3.1开始登录程式。
水洗工序操作规程 SOP ABC有限公司
水洗工序操作规程
1目的:提高洗涤效果,确保产品质量。
2范围:冰片车间水洗岗位。
3责任:水洗操作人员,车间主任。
4内容:
4.1穿戴好防静电工作服、鞋、帽、手套,按规定时间进入工作岗位,准备生产所需物
品。
4.2认真仔细检查冷却水阀,蒸汽阀门是否正常,水流量是否满足生产用水需求。
4.3对压到水洗罐内反应物先放1:1约300公斤的冷水并用蒸汽加热到70℃,开搅拌洗
涤15分钟。
4.4停止搅拌静置45分钟,使之分层,放出下层水,如此反复水洗3次,并用PH试纸
检查酸碱度呈中性。
洗涤合格做好记录。
4.5如分层不清,可加盐使之分层。
4.6洗涤合格后将油投入到高位罐内,再放入蒸轻油罐内。
5注意事项:
5.1在放出洗涤水时,注意不要把油层漏放掉,以免造成损失。
第 1 页共 1 页生产质量管理文件。
一次性使用膀胱冲洗器2.性能指标2.1外观冲洗器各组件表面应光滑平整、塑化应均匀、无毛刺、飞边,黑点、机械杂质、气泡及扭结。
冲洗器管路和助推器应透明或足够透明,当有气泡通过时可以分辨水和空气的分界面。
2.2尺寸冲洗器管路有效长度以 L 表示,单位为 cm,误差应为±5cm;管路外径以Φ表示,单位为 mm,误差应为±0.1mm,详见图 1、2、3 所示,其中 CXQ-Ⅲ冲洗器管路长度由 L1 和L2 组成即 L=L1+L2。
冲洗器的管路尺寸要求如下表:表 1 冲洗器管路尺寸表2.3物理性能2.3.1抗断裂力冲洗器管路应能承受 15N 的静态轴向拉力,持续 15s,不应断裂。
2.3.2连接牢固性冲洗器各连接处应能承受 15N 轴向静拉力,持续 15s,应无断裂和脱离现象。
2.3.3泄漏性冲洗器应无气体泄漏现象。
2.3.4圆锥接头冲洗器的圆锥接头应符合 GB/T 1962.1-2015 和 GB/T 1962.2-2001 的要求。
2.3.5通畅性按3.3.5 试验时,液体应能从冲洗器管路出口流出,管路内的液体应能流出和进入助推器。
2.3.6微粒污染按 3.3.6 试验时,应不超过污染指数。
2.4化学性能2.4.1酸碱度冲洗器溶出液与同批对照液相比,pH 值之差不得超过 1.5。
2.4.2重金属冲洗器溶出液所呈颜色不得超过质量浓度ρ(Pb2+)=1µg/ml 的标准对照液。
2.4.3还原物质冲洗器溶出液与同批对照液相比,0.002mol/L 高锰酸钾消耗量不应超过2.0ml。
2.4.4环氧乙烷残留量采用环氧乙烷灭菌,出厂时,环氧乙烷残留量应不大于10µg/g。
2.5生物学性能2.5.1经环氧乙烷灭菌后应无菌。
2.5.2应无热原反应。
2.5.3细菌内毒素限量应不超过 20EU/件。
清洗工艺操作规程清洗工艺操作规程一、目的和范围1. 目的:本操作规程的目的是保证清洗过程的安全、高效和合理,确保清洗工作的质量。
2. 范围:本操作规程适用于所有需要进行清洗操作的工作环境。
二、工艺流程清洗工艺流程应根据实际情况进行调整,但一般包括以下几个步骤:1. 准备工作:准备所需的清洗设备、清洗剂和耐高温手套等个人防护装备。
2. 清洗前检查:对待清洗设备进行外观检查,确保无损伤、松动或其他异常情况。
3. 清洗剂选择:根据待清洗设备的特点和污垢情况,选择合适的清洗剂。
4. 清洗操作:将清洗剂与适量水混合,按照一定比例倒入清洗容器中。
将待清洗设备放入清洗容器中,确保完全浸泡。
注意事项:a. 清洗容器应使用耐腐蚀材料制成,并具备耐高温性能。
b. 清洗过程中要避免直接接触清洗剂和皮肤,应佩戴耐高温手套。
c. 清洗时间根据清洗剂的要求进行控制,一般为15-30分钟。
d. 清洗后应使用清水将设备进行冲洗,以去除残留的清洗剂。
5. 干燥处理:将清洗后的设备晾干或使用专用的烘干设备进行处理。
6. 检查结果:对清洗后的设备进行外观检查,确保清洗效果良好。
7. 记录和总结:将清洗工艺操作中的关键参数和操作记录进行整理和汇总,以便今后参考和改进。
三、安全注意事项1. 在清洗操作过程中,应严格遵守安全操作规程,注意个人防护,避免直接接触清洗剂和皮肤。
2. 清洗剂应储存在防腐蚀的容器中,放置在通风良好的区域。
3. 遇到清洗剂溅入眼睛、皮肤或吸入时,应立即用大量清水冲洗,并就医检查。
4. 清洗容器应定期清洗和消毒,防止污染和交叉感染。
5. 清洗剂的使用和储存要符合相关法律法规的要求,避免在非指定区域使用和储存。
四、操作规范1. 清洗工艺操作应由经过培训和具备相应资质的人员进行,不得擅自操作。
2. 操作人员应熟悉清洗设备的结构和工作原理,并了解清洗剂的性质和使用方法。
3. 清洗剂的配制和使用要按照操作规程进行,不得随意更改。
目的:规范一次性使用冲洗器生产工艺;使生产操作过程具有稳定性;保证产品质量。
责任:生产技术部组织制定,并遵照执行;质量管理部负责监测。
范围:适用于一次性使用冲洗器的生产、监视和测量。
目录
1.产品名称及规格
2.产品概述
3.产品标准、配件组成
4.工艺流程图、关键工序和特殊过程
5.操作过程(作业指导书)及工艺条件
6.原辅料规格(等级)、质量标准和检验方法
7.过程产品的质量标准和检验方法
8.成品的质量标准和检验方法
9.包装材料、包装规格和质量标准
10.说明书、标签和包装标识
11.工艺卫生要求
12.设备一览表及主要设备生产能力
13.技术安全和劳动保护
14.物料平衡
15.原辅料、零配件、组件及包装材料消耗定额
16.生产过程控制管理制度
17.产品留样观察
1. 产品名称及规格
1.1产品名称一次性使用冲洗器
1.2规格型号如下表
2.产品概述
一次性使用冲洗器(以下简称冲洗器)主要供鼻腔冲洗。
该产品由球体、导管、鼻塞等组成,球体由硅橡胶或PVC制成,导管由医用PVC制成,冲洗球容量为75ml,导管为F16、F18。
冲洗器属于经灭菌的一次性使用医疗用品。
3.产品标准、配件组成
医疗器械注册产品标准:YZB/苏(通)0002-2008
配件组成:由球体、导管、鼻塞等组成,配件原料为PVC粒料和
硅橡胶。
4.工艺流程图、关键工序和特殊过程
工艺流程图
注:□为十万级净化车间,★为关键工序,▲为特殊过程
关键工序:装配;
特殊过程:环氧乙烷灭菌。
5.操作过程(作业指导书)及工艺条件
放料、裁剪规格及长度见下表
装配
将导管L1和鼻塞用环已酮黏合剂粘合起来,后将L1与输出接头相连接,再与球的一端连接,球另一端连接输入接头和导管L2。
包装
一次性使用冲洗器1只为1个小包装,10只为一中包装,120只为一箱,小包装上打有生产日期、生产批号,用自动封口机封口,在中包装内放入合格证,用脚踏式封口机完成。
灭菌
按环氧乙烷灭菌标准操作程序执行。
过程检验
每道工序由操作工根据过程检验规程进行自检,并由质检部抽检。
关键工序的控制
装配时要注意输出和输入接头的区分,不得接反,否则药液不能吸入球中。
整个生产过程在10万级洁净区内进行。
6.原辅料规格(等级)、质量标准和检验方法
输血(液)粒料执行GB 15593-1995 标准;硅橡胶执行GB/T 以及GB/标准。
输血(液)粒料、硅橡胶料检验标准操作规程。
7.过程产品的质量标准和检验方法
球体、导管、鼻塞的质量标准;
球体、导管、鼻塞检试验标准操作规程;
8.成品的质量标准和检验方法
一次性使用冲洗器质量标准;
一次性使用冲洗器检验标准操作规程;
9.包装材料、包装规格和质量标准
包装材料质量标准;
包装材料检验标准操作规程;
10.说明书、标签和包装标识
说明书内容见附件;
标签和包装标识见附件和图片;
11.工艺卫生要求
生产厂房内应保持清洁、整齐;洁净生产车间为10万级,温度控制在18-26℃、相对湿度控制在45-65%、照明度为300勒克斯、洁净室与室外大气的静压应大于10帕。
设备应保持清洁,每天或换批时都要进行彻底清洁。
与医疗器械直接接触的设备表面应光洁、平整、易清洗或消毒、耐腐蚀,不与医疗器械发生化学变化或;设备所有的润滑剂、冷却剂等不得对医疗器械或工位器具造成污染。
车间各班组在生产过程中,要保持工作室清洁,物品摆放整齐;生产操作时,保持地面清洁,无杂物。
生产过程中出现的废弃物应及时用塑料袋装号,送入清洁工具存放室,严禁在工作室内堆放绳头、牛皮纸等与生产无关的杂物,不允许有与正在生产的品种无关的物品同时堆放在同一工作台上。
任何与生产无关的私人用品不得带入工作室。
洁净区仅限于该区域生产操作人员和经批准的人员进入。
设备、桌椅表面不允许有灰尘、杂物。
门窗、水池应经常擦洗,不允许留有污渍、水渍,地面不允许有积水。
每一品种生产完毕后,都应进行一次全面、彻底的清场,严格执行清场制度,检查合格后,方可投入下一品种的生产。
下班后,应将工作室打扫干净,工具摆放整齐,擦净设备表面,物品放在规定的位置。
凡有各种传染病、皮肤病患者和体表有伤口者,不得从事医疗器械生产。
12.设备一览表及主要设备生产能力
13.技术安全和劳动保护
技术安全:
13.1.1 各工序操作时必须严格执行岗位操作程序及设备操作程序,应注意生产安全。
13.1.2 生产设备、动力设备不得超负荷运转,设备必须实行计划检修,专人维护保养,保证设备处于完好状态,车间设备应由专人负责,使用人员应了解设备的性能,做到会使用、会保养。
13.1.3 封口机运行时,严防烫伤或压伤。
13.1.4 生产中应严格执行水、电、汽管理制度。
劳动保护:进入洁净区的操作人员必须按规定穿戴好工作服、帽、
手套、口罩。
14.合格品率
合格品率≥98%
15.产品留样观察
按留样观察控制程序执行。