质量体系运行工作流程
- 格式:docx
- 大小:56.26 KB
- 文档页数:1
建立质量管理体系的流程建立管理体系,无论是 ISO9001质量管理体系、ISO14000环境管理体系,还是HACCP 食品安全管理体系,或者是其他管理体系,一般来说,流程相似,但不同的管理体系还是略有区别。
下面仅以建立ISO9001质量管理体系为例,说明建立管理体系的流程。
1 总体流程划分建立ISO9001质量管理体系的流程,依据PDCA原理(PLAN:策划;DO:实施;CHECK:检查;ACTION:改进),通常包括四个阶段。
通俗一点,也就是包括人们通常所说的“写我所做,做我所写,记我所做,持续改进”的内容。
这四个阶段为:准备阶段、策划质量管理体系阶段、体系运行阶段和认证审核阶段。
总体完成时间大约需要四个月左右。
不同的管理体系时间要求上略有差别。
下图所示为质量管理体系流程图:1.1 准备阶段 :体系策划时间:一周左右。
企业成立贯标小组,通常由企业最高管理者担任组长,组员包括由最高管理者任命的管理者代表、各级管理人员和技术骨干。
贯标小组与咨询顾问讨论、拟定建立质量管理体系的计划草案。
1.2 体系策划阶段时间:一个月左右。
本阶段包括企业调研、诊断,标准培训,体系文件的编写、修订,文件发布等过程。
1.3 体系运行阶段时间:一般管理体系标准都要求运行三个月以上。
本阶段包括:文件培训,质量管理体系运行指导,内部审核培训、指导,管理评审培训、指导等过程。
1.4 认证审核阶段时间:半个月左右本阶段包括:符合性审核(模拟审核),认证前准备,认证机构现场审核,指导关闭不符合项,获得证书等过程。
现场审核由独立的第三方认证机构实施,评价企业的质量管理体系与标准的符合程度,以确定是否颁发认证证书。
2 各阶段工作重点2.1 成立贯标小组贯标小组最好由公司总经理担任组长,最大限度地发挥体系建立所需的领导作用,实现“运筹帷幄、决胜千里”。
管理者代表的主要作用是代表总经理全权负责 ISO9001相关事宜,最好由主管业务的副总经理担任,一方面,其对组织内各个部门的运作较为熟悉,另一方面,在进行管理决策时,有足够的权力和影响力。
质量体系运行审核记录质量体系是指企业在生产过程中,通过建立一套完整的质量管理体系,来控制产品或服务质量的一种管理方式。
为了确保质量体系的有效运行,每年都需要对其进行审核。
以下是一份质量体系运行审核记录,包括审核目的、审核范围、审核流程、审核结果和改进计划。
一、审核目的本次质量体系运行审核的目的是评估企业当前的质量管理体系是否符合相关国际标准(如ISO9001)的要求,以及是否有效地运行。
二、审核范围本次质量体系运行审核的范围涵盖了整个企业的质量管理体系,包括质量政策、质量目标、质量手册、程序文件、工作指示、记录等。
三、审核流程1.准备阶段:审核组成员准备相关文件和资料,并制定审核计划。
2.召开启动会议:审核组成员与企业管理人员共同召开启动会议,明确审核流程、目标和时间安排。
5.审核结果总结:审核组成员根据实地审核的结果和文档审核的结果,总结出审核意见和结论。
6.召开审核结果通报会议:审核组成员与企业管理人员共同召开会议,通报审核结果,并就存在的问题进行详细讨论和交流。
7.编制审核报告:审核组成员根据审核结果和讨论的内容,撰写审核报告,包括存在的问题、整改意见和改进计划等。
8.监督评价:对企业在一定时间内采取的改进措施进行监督评价,确保质量体系的持续有效运行。
四、审核结果根据本次质量体系运行审核的结果,企业的质量管理体系存在以下问题:1.质量目标设定不具体、可衡量性差:企业制定的质量目标缺乏明确的指标和衡量方法,难以评估其是否达成。
2.质量管理责任不明确:企业管理层对质量管理的责任和义务没有明确分工,导致质量问题发生时难以追究责任。
3.培训和教育不足:企业员工的培训和教育体系薄弱,导致操作不规范和质量问题频发。
4.过程管理不完善:企业对关键过程的控制和管理不完善,无法及时发现和解决潜在的问题。
5.内部沟通不畅:企业内部各部门之间的沟通不畅,信息传递不及时,导致问题未能及时解决。
五、改进计划基于审核结果1.重新制定质量目标:企业将制定具体的质量目标,并建立相应的指标和衡量方法,以便对其进行评估。
如何做好质量管理体系的运行与维护在当今激烈竞争的市场环境下,企业想要立足市场并获得长足发展,关键在于建立并不断完善质量管理体系。
一个稳定、高效的质量管理体系可以帮助企业提高产品质量、降低成本、提升客户满意度,从而在竞争中脱颖而出。
那么,如何做好质量管理体系的运行与维护呢?1. 设立质量政策和目标企业要首先确立明确的质量政策和目标,这是质量管理体系的基础。
质量政策应该由企业领导层制定,并确保被全员理解和遵守。
质量目标应该具体、可衡量,能够引导全体员工朝着共同的方向努力。
2. 制定质量手册和程序文件建立完善的质量手册和程序文件,明确规定各项质量管理工作的流程和要求。
质量手册是企业质量管理体系的核心文件,应包含管理体系的结构、职责分工、流程控制等内容。
3. 组建质量管理团队设立专门的质量管理团队,负责质量管理体系的运行和维护工作。
团队成员应具备相关专业知识和经验,能够有效地协调各部门间的沟通和协作。
4. 进行员工培训定期开展质量管理相关的培训,帮助员工提升质量意识和专业技能。
通过培训,员工能够更好地理解和遵守企业的质量政策和程序要求,提高工作质量和效率。
5. 进行内部审核和管理评审定期进行内部审核和管理评审,发现和解决质量管理体系中存在的问题和不足。
通过内部审核,可以及时发现潜在的质量风险,保障质量管理体系的稳定和持续改进。
6. 实施持续改进质量管理体系是一个持续改进的过程,企业应不断寻求提升质量的机会和方法。
可以通过开展质量管理工具如PDCA(Plan-Do-Check-Act)循环、推行6σ、Kaizen等方法,提高产品质量和服务水平。
7. 加强供应链管理建立健全的供应链管理体系,确保供应商提供的原材料和服务符合质量要求。
与供应商建立长期稳定的合作关系,共同致力于提升整个供应链的质量水平。
8. 强化客户关系管理客户是企业的生命线,建立良好的客户关系对于企业至关重要。
定期与客户沟通,了解客户需求和反馈,及时处理投诉和意见,确保客户满意度和忠诚度。
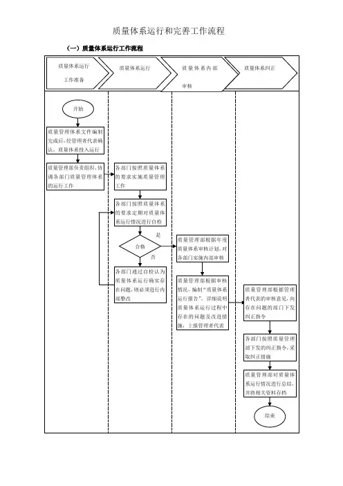
质量体系运行 工作准备
质量体系运行
质量体系内部
审核
质量体系纠正
质量管理部负责组织、协调各部门质量管理体系的运行工作
质量管理体系文件编制完成后,经管理者代表确认,质量体系投入运行 开始
各部门通过自检认为质量体系运行确实存在问题,则必须进行内部整改
否
是
合格
各部门按照质量体系的要求定期对质量体系运行情况进行自检
各部门按照质量体系的要求实施质量管理工作
质量管理部根据审核情况,编制“质量体系运行报告”,详细说明质量体系运行过程中存在的问题及改进措施,上报管理者代表
质量管理部根据年度
质量体系审核计划,对各部门实施内部审核
结束
质量管理部对质量体系运行情况进行总结,并将相关资料存档 各部门按照质量管理部下发的纠正指令,采取纠正措施
质量管理部根据管理者代表的审核意见,向存在问题的部门下发纠正指令
建立质量管理体系
实施质量管理体系
完善质量管理体系
开 始
各部门执行改善方案
质量管理部编写“质量管理体系实施报告”
质量管理部门对质量管理体系提出改善方案,并报总经理审批
结 束
质量管理部根据相关质量体系标准和企业实际需要设计质量管理体系,并报总经理审批
质量管理部根据总经理审批意见建立企业质量体系
质量管理部在全企业范围内对质量管理体系实施培训
各部门按照质量体系要求实施质量管理体系
质量管理部对各部门质量管理体系实施情况进行监督
质量管理部根据收集到的信息和各部门质量管理体系实施情况的反馈结果,对质量管理体系进行分析和评价
质量管理部对相关文件进行存档处理。
建立质量管理体系的流程建立管理体系,无论是 ISO9001质量管理体系、ISO14000环境管理体系,还是HACCP 食品安全管理体系,或者是其他管理体系,一般来说,流程相似,但不同的管理体系还是略有区别。
下面仅以建立ISO9001质量管理体系为例,说明建立管理体系的流程。
1 总体流程划分建立ISO9001质量管理体系的流程,依据PDCA原理(PLAN:策划;DO:实施;CHECK:检查;ACTION:改进),通常包括四个阶段。
通俗一点,也就是包括人们通常所说的“写我所做,做我所写,记我所做,持续改进”的内容。
这四个阶段为:准备阶段、策划质量管理体系阶段、体系运行阶段和认证审核阶段。
总体完成时间大约需要四个月左右。
不同的管理体系时间要求上略有差别。
下图所示为质量管理体系流程图:1.1 准备阶段 :体系策划时间:一周左右。
企业成立贯标小组,通常由企业最高管理者担任组长,组员包括由最高管理者任命的管理者代表、各级管理人员和技术骨干。
贯标小组与咨询顾问讨论、拟定建立质量管理体系的计划草案。
1.2 体系策划阶段时间:一个月左右。
本阶段包括企业调研、诊断,标准培训,体系文件的编写、修订,文件发布等过程。
1.3 体系运行阶段时间:一般管理体系标准都要求运行三个月以上。
本阶段包括:文件培训,质量管理体系运行指导,内部审核培训、指导,管理评审培训、指导等过程。
1.4 认证审核阶段时间:半个月左右本阶段包括:符合性审核(模拟审核),认证前准备,认证机构现场审核,指导关闭不符合项,获得证书等过程。
现场审核由独立的第三方认证机构实施,评价企业的质量管理体系与标准的符合程度,以确定是否颁发认证证书。
2 各阶段工作重点2.1 成立贯标小组贯标小组最好由公司总经理担任组长,最大限度地发挥体系建立所需的领导作用,实现“运筹帷幄、决胜千里”。
管理者代表的主要作用是代表总经理全权负责 ISO9001相关事宜,最好由主管业务的副总经理担任,一方面,其对组织内各个部门的运作较为熟悉,另一方面,在进行管理决策时,有足够的权力和影响力。
质量管理体系管理评审工作流程和主要内容管理评审是法人组织的级别最高的质量会议,文中分8个方面,全方位详细介绍评审工作流程和核心内容要点。
一、概述详细介绍一下标准关于质量管理体系管理评审的要求。
标准第9.3.1条规定“最高管理者应按照策划的时间间隔对组织的质量管理体系进行评审,以保证其持续的适宜性、充分性和有效性,并与组织的战略大方向保持一致。
”让我们来对标准做一个解读。
考虑到时间关系,也就不一一对着条文进行诠释了,直接详细介绍标准要求。
第一,管理评审应由最高管理者(即法人代表、大BOSS)来主持管理评审的工作。
管理评审通常是以会议的方式开展的。
因此,企业老板组织召开管理评审会议。
第二,管理评审的主要工作是对质量管理体系进行评价,目的是保证体系的适宜性、充分性和有效性。
许多人始终搞不请楚管理评审和内部审核的区别。
内部审核侧重点是看有效性,评价体系能否有效运转。
内审有符合性、有效性的问题。
管理评审是将体系作为讨论和审查对象,体系的规定能否完全满足法规标准,能否充分全方位,能否对企业预期目标有促进,能否存在阻碍,能否存在可以持续改进、提高的地方。
管理评审工作属于体系的PDCA的A环节,是持续提高的阶段。
管理评审的侧重点是在未来,判断体系能否适宜未来的发展环境。
综上所述,管理评审首要是法人代表和部门负责人的事,等同于广开言路,听听建议,及早发现、处理问题,调整大方向。
尽管它跟通常质量管理人员关系不大,但部门的报告还不是由咱们底下的人写。
更何况,总有一天你会当上部门负责人甚至法人的。
因此,了解管理评审的工作流程及主要内容,还是很有必要的。
管理评审是法人组织的级别最高的质量会议,评价适宜性、有效性充分性,可以和行政总结搞在一起,评审一定要有结论。
通常单位第一肯定三性是符合的,但也有欠缺,之后提出改进要求。
接下来,让我们侧重点了解一下管理评审的首要工作流程及工作要点。
二、计划第一,通常是由质量管理部门制定管理评审计划(有的企业以通知方案等方式),明确本年度管理评审工作的相关安排,经过管理者代表审核,由法人签字批准。
质量管理体系工作制度及职责质量管理体系是企业为保证产品、服务以及相关流程的质量而建立的一套规范和管理体系。
质量管理体系工作制度是指在质量管理体系下制定的一系列规章制度和工作流程,以确保质量管理体系的有效运行和质量目标的实现。
下面是质量管理体系工作制度的一些主要内容和相应职责:1. 质量方针的制定:质量管理体系应有明确的质量方针,制定和修订质量方针的职责通常由企业的高层领导担任。
2. 质量目标的设定:质量管理体系应设定明确的质量目标,以满足客户和利益相关方的需求。
质量目标的设定通常由质量部门或质量管理代表负责。
3. 工作流程的规范:针对各个工作环节和流程,制定相应的工作规程和作业指导书,明确每个环节的质量要求和操作方法。
制定工作流程的职责通常由相关部门的负责人或工艺工程师负责。
4. 质量手册的编制和管理:质量手册是质量管理体系的核心文件,主要包含质量方针、组织结构、工作流程等内容,负责编制和管理质量手册的通常是质量管理代表。
5. 质量培训和教育:质量管理体系的有效运行需要员工具备相应的质量意识和技能。
负责组织和进行质量培训和教育的通常是质量部门或培训部门。
6. 内部审核和管理评审:定期开展内部审核和管理评审,以评估质量管理体系的有效性和符合性。
内部审核通常由独立于被审核部门的审核员负责,管理评审通常由企业高层领导主持。
7. 不合格品的处理和纠正措施:对于发现的不合格品和质量问题,应及时采取相应的纠正和预防措施,确保问题不再重复发生。
负责不合格品处理和纠正措施的通常是质量管理代表或相关部门的负责人。
8. 客户投诉处理:对于客户的投诉和意见,应及时进行调查和处理,并进行相应的改进措施。
负责客户投诉处理的通常是客户服务部门或质量管理代表。
9. 外部认证和认可的申请和管理:对于希望获得外部认证和认可的企业,负责申请和管理这些认证和认可的通常是质量管理代表或质量部门。
以上是质量管理体系工作制度及相应职责的一些主要内容,不同企业根据实际情况和需求,可能会有一些具体的变化和调整。
IS09001质量体系认证流程的22个步骤介绍IS09001质量体系认证,看上去有点虚,尤其对新进入的品质人来说,理解和操作起来都比较头疼。
下而这批文章按条款的罗列步骤,从制泄推行计划到最后拿证,中间究竟有哪些流程,每个流程又要注意什么?希望对广大品质人有帮助。
第1步:制泄IS09001质量管理体系推行计划推行计划一般包括以下内容:体系诊断(现状调查、识别)、成立ISO推行小组并组织相关培训、体系文件结构策划、程序文件编写、质量手册编写、三阶文件编写、体系文件审查发布、体系文件宣传培训、系统试运行、内部审核培训、第一次内部审核会议、管理审查会议、补审(关于内部审核和管理评审)、质量体系完善和改进、认证申请、现场审核、外审不合格项纠正、拿到证书。
第2步:成立IS09001质量管理体系推行小组确定小组人员及各成员的职能分工。
特别是确左''管理者代表"和''ISO推行小组组长"。
管理者代表一般由IS09001质屋管理体系的实际运作者担任,职位在组织架构图中仅排在总经理之下,管代可兼职第3步:组织IS09001质量管理体系培训对ISO小组的成员进行培训,由管代或ISO推行小组组长对成员进行培训。
中鸿认证服务认为通过培训宣传,让全公司上下都感受到推行ISO现在已经开始,形成一种氛围。
同时让成员淸楚ISO推行过程中所做哪些工作,每个人的工作内容,怎么配合总体进度,遇到问题通过什么途径解决等等。
第4步:IS09001质量管理体系文件结构策划策划内容包括:一是确圧整个体系文件的编写计划及进度,二是确定质虽管理体系文件内容(要编哪些程序,哪些规范,有什么表单等)。
一般情况下,已经成立有一段时间的公司,各类表单及流程都已经完善,收集起来即可。
但如果刚成立的公司则需全部整套文件进行编写,这样任务很重,最好的办法就是参照同行业中其它企业的体系文件。
第5步:确定IS09001质量管理体系条款删减删减的原则是:不能影响满足客戸的要求和保证产品质戢的责任。
质量体系程序文件培训——各部门工作流程及说明各部门工作流程及说明1、文件控制程序4.2.31)审批流程过程说明相关表单主责部门编制或委托相关部门编制文件编制职责依据:质量手册中的“质量职能分配矩阵表”或主责部门进行更改或委托相关部门更改文件更改文件更改申请单职责依据:质量手册中的“质量职能分配矩阵表” 文件修订履历表管理者代表审核:质量手册、程序文件文件审核文件评审记录相关部门会审:其他文件,跨部门的,需相关部门进行会审总经理:质量手册、程序文件、重要技术资料或机密文件文件批准管理者代表:其他文件2)管理:质检部对发放文件登记,经部门经理批准后,进行文件发放,文件的发放文件发放记录领用部门在《文件发放记录》签字确认。
职责依据:质量手册中的“质量职能分配矩阵表”质检部回收作废文件盖作废章,填写《文件销毁清单》,部门经理批准后,执行销毁,原版文件归档并确定保存期限。
需进文件的换版与文件销毁清单行换版的文件,原版文件作废,换发新文件。
作废职责依据:质量手册中的“质量职能分配矩阵表”。
质检部将拟制、审核、批准后列入《归档文件目录》,受控文归档文件目录件及时填入《受控文件清单》中;存入软盘的文档均应有备份文件的管理受控文件清单并进行标识。
外来文件清单职责依据:质量手册中的“质量职能分配矩阵表”质检部按“技术文件编号规定”确定分类图号的登录,建立“制制图/整理编号图号控制图/整理编号登记表”。
登记表3)文件有效性:受控章:体系有效文件受控章+日期日期:发放日期2、质量记录控制程序4.2.4 1) 工作流程过程说明相关表单质检部对当前的质量记录编制《质量记录一览表》,规质量记录一览表质量记录的编目定记录的保存期限;主责部门确保质量记录字迹清晰、内容完整准确,有质量记录的标识明确标识易于检索,并署名签字;职责依据:质量手册中的“质量职能分配矩阵表”主责部门经理保管质量记录,按《质量记录一览表》归档保存期限;同时把质量记录分类、次序整理、编质量记录的保存制目录,妥善保存在安全适宜的环境;职责依据:质量手册中的“质量职能分配矩阵表”2) 管理:质检部对到达保存期限的质量记录填写《质量记录销质量记录的处理质量记录销毁申请表毁申请表》,批准后,进行销毁.主责部门新增加的质量记录,经部门经理确认,质检新增加的质量记部将新增记录列入《质量记录一览表》质量记录一览表录职责依据:质量手册中的“质量职能分配矩阵表”3) 文件有效性:负责人:签字署名签字+日期日期:实施日期3、内部质量审核控制程序8.2.21) 审核流程过程说明相关表单年度内部质量体系审核计划审核组依据质检部编制的《年度内部质量体系审核计划》年度3C审核计划制定《审核时间表》和《审核检查表》,发放《审核时间表》审核准备审核时间表、 3C审核时间表到受审部门。
建立质量管理体系的步骤和方法在建立质量管理体系的过程中,有一些基本步骤和方法是必不可少的。
下面将为您详细介绍。
第一步:确立质量管理体系的目标和范围在开始建立质量管理体系之前,首先需要明确质量管理的目标和范围。
这可以通过制定质量方针和目标来实现。
质量方针是组织对质量管理的整体方向和原则的表述,而质量目标则是具体的、可衡量的、可追踪的目标,以确保质量管理体系的有效运行。
第二步:编制质量手册和程序文件质量手册是组织对质量管理体系的总体安排和描述,应包括质量方针、组织结构、职责和权责、程序文件等。
程序文件是质量管理体系运行所必需的文件,包括操作规程、操作指导书等。
这些文件是建立质量管理体系的基础和依据。
第三步:培训人员和宣传质量要求培训是建立质量管理体系的关键步骤之一。
通过培训,可以提高员工的质量意识和技能,使他们能够有效地参与质量管理体系的运行和维护。
同时,还需要向员工宣传质量要求,让他们明确质量目标,并理解如何在工作中实施质量管理。
第四步:制定质量程序和流程制定质量程序和流程是确保质量管理体系运行的关键步骤之一。
这些程序和流程应该涵盖组织各个环节和工作的要求和控制措施,包括质量计划、质量检查、纠正和预防措施等。
通过明确的程序和流程,可以确保质量管理的一致性和可追踪性。
第五步:实施质量管理体系实施质量管理体系是将质量管理的理念和要求转化为组织实际工作的过程。
这包括质量目标的设定和跟踪、工作过程的控制和监督、质量结果的评估和改进等。
通过全面、系统地实施质量管理体系,可以提高组织的整体质量水平。
第六步:监督和评审质量管理体系监督和评审是质量管理体系运行的持续过程,旨在确保质量管理体系的有效性和符合性。
这包括对质量目标的跟踪和评估、对工作过程和质量结果的监督和检查、定期的管理评审等。
通过监督和评审,可以及时发现问题并采取纠正和改进措施,促进质量管理体系的不断提升和完善。
第七步:持续改进质量管理体系持续改进是质量管理体系的核心原则之一。
ISO9001:2000质量管理体系流程图建立和实施质量管理体系工作流程:第一阶段:策划与准备一、体系策划准备1、顾客需求和期望分析2、质量管理体系/业务流程诊断3、推行工作准备二、体系策划4、质量方针和目标的策划5、业务流程/过程的设计策划6、职能分配/职责/组织结构的策划7、体系文件的策划第二阶段:体系建立三、基础培训8、ISO9000族标准理解与实施培训9、体系文件编写培训10、审员培训四、文件编写11、体系文件编写12、体系文件审批和发布第三阶段:体系运行五、体系运行13、体系运行动员与宣布实施14、确定和提供必需的资源15、体系实施运行第四阶段:体系评价和完善六体系评价和完善16、部质量审核17、管理评审18、体系纠正及改进应用过程方法是实施ISO9001:2000标准的关键《ISO/TC176/SC2/N474R2》明确指出,"在经过广泛咨询1994版ISO9000标准的使用者的意见后,数项重要变化已被引入到2000版标准中,尤其是标准所依据的概念与标准的结构……这些变化将要求使用者把质量管理体系作为一系列的过程来看,而不只是橡ISO9001:1994安20个不连续的要素建立质量管理体系结构。
过程管理方法已被广泛用于当今世界的工商业界,这个事实引导开发了一个以过程为基础的结构用于修订标准。
"该指南的3.1.5条款还明确指出,"所有标准与咨询机构应意识到过程管理方法是应用ISO9001:2000的关键。
"可见,,应用过程方法ISO9001:2000标准结构改变、管理思路改变、管理方法改变的基本因素。
ISO9001:2000标准的0.2条款用较大篇幅阐明了过程方法在质量管理体系中的应用,强调了过程方法的重要性,并提出了具体要求。
4.1"总要求"的"注"指出,"质量管理体系所需的过程应当包括与管理活动、资源提供、产品实现和测量有关的过程。
ISO9001:2008质量管理体系程序文件《编写导则与指引》质量管理体系程序可以是质量手册的一部分,也可以是质量手册的具体展开,对于较小的企业,有一本包括质量管理体系程序的质量手册足矣;而对于大中型企业,则宜按程序文件所示的具体结构,来安排质量管理体系程序。
建立文件特别注意各层次文件之间的相互街接关系,下一层文件应有力地支撑上一层文件。
1.程序文件编制导则程序文件是质量管理体系的重要组成部分,文件编写8个方面的注意事项:为统一程序文件的内容,体例、格式、编写原则、编号方法以及编写注意事项等,宜由组织根据实际需要自行编写一个《程序文件编制导则》纳入企业标准.有这样一个“导则”可使程序文件的编制工作有章可循。
程序文件宜由熟悉业务的主管责任部门主要负责人编写;与顾客有关的过程控制程序,宜由销售部门负责人编写;设计、开发程序宜由设计部门负责人编写。
这样做的好处,是在编写过程中较易了解标准要求与组织的实际有多少差异,因而可从实际出发提出相应的管理措施。
其弊端是易各自为政,“一人一把号,各吹各的调”。
由此可见,“导则"可发挥重要作用。
2.质量管理体系程序的内容质量管理体系程序是描述涉及到体系全局的过程文件。
它对有关职能部门需要解决的在质量管理体系方面的问题作出统一的规定,所以指导所有部门的质量管理体系工作。
按ISO9001:2008标准的规定,质量管理体系程序应至少包括下列6个程序文件清单:1)文件控制程序。
2)记录控制程序。
3)内部质量审核程序。
4)不合格品控制程序。
5)纠正措施程序。
6)预防措施程序.在贯标初期多搞一些程序,多立一些规矩,便于在开展各项活动时有章可循,是有好处的。
文件适于动态管理,随着标准的深入贯彻,标准所要求的活动已扎根时,则可大大简化文件。
1)明确组织及其供方的要求.2)以与所要求的活动相关的文字描述和(或)以流程图的方式描述过程。
3)明确做什么、由谁或哪个职能部门来做,为什么、何时、何地以及如何做。
建立和实施质量管理体系工作流程:第一阶段:策划与准备一、体系策划准备1、顾客需求和期望分析2、质量管理体系/业务流程诊断3、推行工作准备二、体系策划4、质量方针和目标的策划5、业务流程/过程的设计策划6、职能分配/职责/组织结构的策划7、体系文件的策划第二阶段:体系建立三、基础培训8、ISO9000族标准理解与实施培训9、体系文件编写培训10、内审员培训四、文件编写11、体系文件编写12、体系文件审批和发布第三阶段:体系运行五、体系运行13、体系运行动员与宣布实施14、确定和提供必需的资源15、体系实施运行第四阶段:体系评价和完善六体系评价和完善16、内部质量审核17、管理评审18、体系纠正及改进建立质量管理体系的流程建立管理体系,无论是 ISO9001质量管理体系、ISO14000环境管理体系,还是HACCP食品安全管理体系,或者是其他管理体系,一般来说,流程相似,但不同的管理体系还是略有区别。
下面仅以建立ISO9001质量管理体系为例,说明建立管理体系的流程。
1 总体流程划分建立ISO9001质量管理体系的流程,依据PDCA原理(PLAN:策划;DO:实施;CHECK:检查;ACTION:改进),通常包括四个阶段。
通俗一点,也就是包括人们通常所说的“写我所做,做我所写,记我所做,持续改进”的内容。
这四个阶段为:准备阶段、策划质量管理体系阶段、体系运行阶段和认证审核阶段。
总体完成时间大约需要四个月左右。
不同的管理体系时间要求上略有差别。
下图所示为质量管理体系流程图:1.1 准备阶段 :体系策划时间:一周左右。
企业成立贯标小组,通常由企业最高管理者担任组长,组员包括由最高管理者任命的管理者代表、各级管理人员和技术骨干。
贯标小组与咨询顾问讨论、拟定建立质量管理体系的计划草案。
1.2 体系策划阶段时间:一个月左右。
本阶段包括企业调研、诊断,标准培训,体系文件的编写、修订,文件发布等过程。
1.3 体系运行阶段时间:一般管理体系标准都要求运行三个月以上。
质量管理体系(架构)及相关管理制度文件一、质量管理体系架构为确保产品和服务的质量能够持续改进和符合客户期望,公司特制定以下质量管理体系架构,以确保质量管理工作的有效开展。
1. 质量管理体系的基本原则质量管理体系的实施应遵循以下基本原则:(1)客户导向:以满足客户需求为中心,不断提高产品和服务的质量水平;(2)全员参与:所有员工都应对质量管理体系进行有效的参与和支持;(3)过程管理:从流程和过程入手开展管理,不断优化和改进流程;(4)持续改进:质量管理体系应不断进行改进和提升,以适应市场和客户需求的变化;(5)数据驱动:以数据和事实为依据进行决策和改善;(6)系统性管理:将质量管理作为一个系统来进行规划和管理。
2. 质量管理体系的组成部分质量管理体系主要包括以下组成部分:(1)质量方针和目标:明确公司质量管理的基本方向和目标;(2)质量手册:包括质量管理体系的相关文件和流程说明;(3)程序文件:包括各项质量管理程序的编写和实施文件;(4)记录文件:包括各项质量管理活动的记录和信息。
3. 质量管理的主要流程公司的质量管理体系主要包括以下主要流程:(1)需求管理:通过市场调研和客户需求分析,确定产品和服务的需求;(2)设计和开发:确保产品和服务的设计和开发符合客户需求和标准;(3)采购和供应:确保原材料和服务的采购和供应符合质量管理体系的要求;(4)生产和运营:确保生产和运营过程中的质量控制和改进;(5)检验和测试:确保产品和服务在交付前进行有效的检验和测试;(6)客户服务和投诉处理:确保客户在使用过程中的服务质量和投诉处理的效率。
二、质量管理制度文件基于以上质量管理体系的架构,公司特制定以下管理制度文件,以确保质量管理工作的规范和有效开展。
1. 质量方针和目标文件公司应明确质量管理的基本方向和目标,包括:(1)质量方针:明确公司质量管理的基本原则和指导思想;(2)质量目标:明确公司质量管理的具体目标和指标。
国外质量体系操作规程sop国外质量体系操作规程(SOP)一、引言国外质量体系操作规程(SOP)是一种标准化的操作指导文件,用于确保质量管理体系的有效运行。
本文将介绍SOP的基本概念、重要性以及编写SOP的步骤和注意事项。
二、SOP的基本概念SOP是指国外企业为规范操作流程、确保产品质量和服务质量而制定的一套文件。
它详细描述了各个环节的操作步骤、所需资源、质量控制要求等内容,以确保企业能够按照标准化的流程进行工作。
三、SOP的重要性1. 提高工作效率:SOP规范了操作流程,使员工能够按照统一的标准进行工作,减少了操作错误和重复工作,提高了工作效率。
2. 确保产品质量:SOP明确了质量控制要求,确保产品符合国际标准,提升产品质量。
3. 简化培训过程:SOP作为培训材料,能够帮助新员工快速了解工作流程,减少培训时间和成本。
4. 便于持续改进:SOP规定了标准操作流程,有助于发现问题和改进机会,促进持续改进。
四、编写SOP的步骤1. 确定编写范围:根据企业的实际情况,确定编写SOP的范围和目标。
2. 收集资料:收集相关的操作流程、工作指导和质量控制要求等资料。
3. 制定框架:根据收集到的资料,制定SOP的框架,包括标题、引言、操作步骤、质量控制要求等内容。
4. 编写操作步骤:根据实际操作流程,编写清晰、简洁的操作步骤,要求语句通顺、表达准确。
5. 添加质量控制要求:根据质量管理要求,添加相应的质量控制要求和检查点,确保操作符合标准。
6. 审核和修订:对编写完成的SOP进行审核,确保内容准确无误,并根据实际操作情况进行修订。
7. 发布和培训:将修订后的SOP发布给相关人员,并进行培训,确保员工能够正确理解和执行SOP。
8. 定期更新:根据实际操作情况和质量管理要求,定期对SOP进行更新和修订,以保持其有效性。
五、编写SOP的注意事项1. 简洁明了:操作步骤要简洁明了,避免使用复杂的词汇和句式,确保员工易于理解和执行。
质量体系运行工作流程
质量体系运行
工作准备
质量体系运行质量体
系内部审核
质量体系纠正开始
质量管理体系文件编制
完成后,经管理者代表确
认,质量体系投入运行
质量管理部负责组织、协调各部门质量管理体系的运行工作各部门按照质量体系
的要求实施质量管理
工作
各部门按照质量体系
的要求定期对质量体
系运行情况进行自检
合格
是
否
各部门通过自检认为
质量体系运行确实存
在问题,则必须进行内
部整改
质量管理部根据年度
质量体系审核计划,对
各部门实施内部审核
质量管理部根据审核
情况,编制“质量体系
运行报告”,详细说明
质量体系运行过程中
存在的问题及改进措
施,上报管理者代表
质量管理部根据管理
者代表的审核意见,向
存在问题的部门下发
纠正指令
各部门按照质量管理
部下发的纠正指令,采
取纠正措施
质量管理部对质量体
系运行情况进行总结,
并将相关资料存档
结束。