水利工程流程图
- 格式:doc
- 大小:418.00 KB
- 文档页数:84
水利工程建设项目办理流程图1.项目准备阶段初步论证:根据水利工程建设项目的需求和可行性进行初步论证,确定项目的可行性。
立项申请:提交项目立项申请,包括项目背景、目标、范围等信息,经相关部门审批后批准立项。
2.前期工作阶段勘察设计:进行项目的勘察和设计工作,包括地质勘察、水文勘察、土壤分析等工作。
环评审批:提交环境影响评价报告,经环保部门审批后取得环境评价批复。
土地征用:根据项目的土地需求进行土地征用手续办理,包括土地调查、评估、协商等。
3.施工准备阶段施工组织设计:根据项目特点和工程要求,制定施工组织设计方案,包括施工组织设计图纸、施工方案、施工计划等。
施工许可证:申请施工许可证,经建设主管部门审批后获得施工许可证。
材料采购:根据项目需求进行材料采购,包括预算编制、招标、评标、合同签订等。
4.施工阶段施工过程监管:对施工过程进行监管和检查,确保施工质量和安全。
变更管理:根据实际情况,对项目进行变更管理,包括变更申请、评估、审批等。
项目验收:施工完成后进行项目验收,确保工程质量符合要求,满足验收标准。
5.运维阶段运维管理:对水利工程进行日常维护和管理,保障工程的正常运行。
故障排除:及时处理水利工程出现的故障和问题,保证工程的稳定性和可靠性。
修缮维护:定期对水利工程进行修缮和维护,延长工程的使用寿命。
以上是水利工程建设项目的办理流程图。
根据项目不同的特点和要求,具体的流程可能会有所调整和变化。
在项目办理的过程中,需要与相关部门进行协调和沟通,确保项目顺利进行,并达到预期目标。
水利工程项目建设流程图水利工程项目建设流程图:一:项目立项1.1 确定项目背景及需求1.2 调查评估1.3 可行性研究报告编制1.4 项目立项批准二:前期准备2.1 组织编制项目计划2.2 确定项目组成员及职责2.3 确定项目预算和资金申请2.4 确定项目进度计划2.5 开展前期调研和勘测三:初步设计3.1 编制初步设计方案3.2 完善设计方案3.3 绘制初步设计图纸3.4 编制初步设计报告3.5 评审初步设计报告四:施工准备4.1 编制施工组织设计4.2 确定施工图纸4.3 确定施工计划4.4 确定施工材料及设备 4.5 开展施工前的准备工作五:施工实施5.1 施工开工5.2 施工过程管理5.3 施工质量控制5.4 施工安全保障5.5 施工进度控制六:验收与交付6.1 完成工程验收准备6.2 进行工程验收6.3 修正及整改6.4 完成工程交付手续 6.5 完成竣工档案整理七:运维与管理7.1 设施运行与维护7.2 监测与数据分析7.3 定期检修与更新7.4 工程管理与升级7.5 风险管理与应急预案本文档涉及附件:附件一:项目可行性研究报告附件二:初步设计图纸附件三:施工组织设计附件四:竣工档案法律名词及注释:1. 水利工程:指通过改造大自然的水文运动、综合利用水域资源、改善水文环境,满足人民生产、生活的水资源服务设施和水利设施,以及与之有关的防洪、农田水利、水电建设等工程。
2. 项目立项:指根据国家和地方相关规定,对水利工程项目进行初步论证,明确项目建设的必要性、可行性和重要性,并取得相关部门批准的过程。
3. 可行性研究报告:是指对水利工程项目进行综合评估和论证,包括项目建设的目标、需求、技术方案、经济效益等方面的分析和研究成果的报告。
4. 初步设计:是指根据项目可行性研究报告和相关技术要求,对水利工程项目进行初步设计,包括设计方案、设计图纸和初步设计报告的编制。
5. 施工准备:是指根据初步设计的要求,进行施工组织设计、施工图纸的制定、施工计划的确定以及施工所需材料和设备的准备等工作。
水利工程项目实施流程表
项目启动阶段:
1. 确定项目目标和范围。
2. 进行项目可行性研究,包括技术、经济和环境方面的评估。
3. 确定项目的可行性报告,并提交相关部门审批。
项目规划阶段:
1. 制定项目计划,包括项目的时间表、预算和资源分配。
2. 进行水资源调查和水文地质勘察,了解项目所处地区的水资源情况。
3. 进行环境影响评价,评估项目对自然环境的影响。
4. 开展社会影响评价,评估项目对当地居民和社区的影响,并采取合适的措施减轻负面影响。
5. 制定详细设计方案,包括水利工程的设计和施工方案。
项目实施阶段:
1. 开展工程施工,包括采购材料和设备,组织施工人员进行施工。
2. 进行工程监理,确保施工过程按照设计方案进行,并达到相
应的质量标准。
3. 进行工程验收,对已完成的工程进行检查和测试,确保其符
合设计要求和合同约定。
4. 开展运维管理,包括设备维修和养护,水资源管理和监测等,确保项目的正常运行和有效利用。
项目收尾阶段:
1. 进行项目验收,由相关部门对整个项目进行评估和审批。
2. 开展项目总结和评估,总结项目的经验教训和成功经验,并
提出改进措施。
3. 完成项目结算和报账工作,确保项目的资金使用合规和清晰。
4. 归档整个项目文档,包括设计文件、合同和相关报告,并进
行合理的存档管理。
以上是水利工程项目的实施流程表,每个阶段都有不同的任务
和目标,确保项目的顺利进行和高质量的实施。
水利工程招投标管理流程图水利工程招投标管理流程图1.引言本文档旨在详细介绍水利工程招投标的管理流程,包括招标准备、招标文件编制、投标准备、投标报名、评标、中标及合同签订等环节。
2.招标准备2.1 确定招标需求2.2 组织招标工作组2.3 制定招标计划2.4 调研市场情况2.5 验证预算2.6 资格预审3.招标文件编制3.1 编写招标公告3.2 编写招标文件3.3 安排招标文件审查3.4 最终招标文件修订4.投标准备4.1 审查招标文件4.2 确定投标策略4.3 确定投标人员4.4 准备投标文件4.5 准备投标保证金4.6 进行投标文件评审5.投标报名5.1 根据招标文件要求提交报名材料5.2 缴纳投标保证金5.3 完成投标报名手续6.评标6.1 组织评标委员会6.2 进行投标文件评审6.3 执行投标文件评审结果6.4 确定中标人7.中标及合同签订7.1 通知中标人7.2 进行中标谈判7.3 确定合同内容7.4 完成合同签订手续附件:4.投标保证金缴纳证明5.合同范本法律名词及注释:1.招标:指根据规定的标准和程序,公开向各方面或特定人或机构发出请求,以使有意愿和能力的人或机构提交报价或投标的活动。
2.招标文件:指招标人为了进行招标活动,已经编制好的文件,包括招标公告、招标说明书、技术规范和合同条款等内容。
3.投标:指投标人向招标人提交报价或投标文件,并做出相关承诺。
4.中标:指评标委员会或招标人确定了最终获得合同的投标人。
5.合同签订:指中标人和招标人在确定中标后,根据双方达成的协议,签署正式合同文件。
水利工程流程图水利工程流程图1.引言本文档旨在介绍水利工程流程图的制作方法和步骤。
水利工程是指利用水资源进行水利设施建设、水资源管理和水环境保护的工程。
水利工程流程图是描述水利工程项目的各个阶段和主要工作内容的图表,通过流程图可以清晰地展现工程项目的整体架构和流程。
2.工程规划阶段2.1 调研和论证2.2 制定工程目标和任务书2.3 编制工程可行性研究报告2.4 确定工程范围和关键节点3.设计阶段3.1 确定设计标准和技术要求3.2 进行水量计算和水质分析3.3 绘制工程平面图和剖面图3.4 设计水利设施和结构3.5 编制初步设计和施工图纸4.施工准备阶段4.1 编制施工组织设计方案4.2 确定施工方法和工艺4.3 采购设备和材料4.4 制定施工计划和进度安排4.5 筹备施工人员和技术队伍5.施工阶段5.1 土建施工5.2 设备安装和系统调试5.3 水利设施的建设和安装5.4 进行工程质量检验和验收5.5 完成工程竣工报告和资料归档6.运维阶段6.1 建立工程运维管理体系6.2 进行设备维护和升级6.3 监测水利设施的运行状态6.4 进行事故应急处理和维修6.5 定期进行设施评估和更新7.工程竣工阶段7.1 编制工程竣工验收报告7.2 办理工程竣工验收手续7.3 完成工程结算和资产交接工作7.4 编制工程竣工档案及技术说明书7.5 召开工程竣工汇报会议8.附件本文档涉及的附件包括:- 设计图纸和工程平面图- 工程施工计划和进度安排表- 工程质量检验和验收报告- 工程竣工验收报告- 工程竣工档案和技术说明书9.法律名词及注释- 水利设施:指用于水资源调控、利用和保护的工程设施,包括水库、水渠、防洪设施等。
- 可行性研究报告:对工程可能性进行研究、评价和论证的报告。
- 竣工验收:对已经完工的工程进行验收,确保工程达到设计要求和技术标准,具备正常运行和使用条件的程序。
10.结束语本文档介绍了水利工程流程图的制作步骤和内容,通过了解水利工程的各个阶段和工作内容,能够更好地理解和管理水利工程项目。
水利工程项目建设流程图水利工程项目建设流程图:一、项目规划阶段:1:确定项目建设目标2:开展项目可行性研究3:确定项目范围和工期4:编制项目初始计划5:制定项目管理机构和责任二、前期准备阶段:1:进行环境评估和土地评估2:进行项目融资筹备3:获取土地和水资源使用许可4:进行前期调查和勘察工作5:编制项目建议书和初步设计方案三、项目设计阶段:1:根据初步设计方案编制施工图纸2:进行设计审核和评审3:编制投标文件和招标公告4:进行设计变更和调整5:确定施工、监理和勘察单位四、招标和合同签订阶段:1:发布招标公告和邀请投标2:接受投标文件并进行评审3:确定中标单位并进行合同谈判 4:签订施工、监理和勘察合同 5:进行合同备案和审批五、项目实施阶段:1:开展施工、监理和勘察工作 2:进行施工现场管理和监督3:进行工程质量检查和验收4:进行工程变更和调整5:推进工程进度和资金支付六、工程竣工阶段:1:进行工程竣工验收2:完成工程竣工报告3:办理工程竣工验收手续4:开展工程维护和保养5:完善工程档案和资料归档附件:1:初步设计方案2:施工图纸3:招标文件4:合同文件5:工程验收报告法律名词及注释:1:可行性研究:对项目建设的经济、技术和环境等各方面进行综合评价的研究。
2:勘察:对工程项目建设地点进行详细调查和研究,收集必要的土地、地质和水文等信息。
3:设计变更:在项目实施过程中,根据实际情况对设计方案进行调整和修改。
4:中标单位:通过招标评审后,被确定为承担项目施工或监理工作的单位。
5:竣工验收:对已完成的工程项目进行检查和评估,确保其达到规定的质量和安全标准。
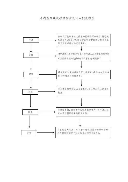
水利基本建设项目初步设计审批流程图
申请 省水利厅收到申请人提出的行政许可申请后,转厅规划计划处。
规划计划处自收到申请材料之日起3个工
作日内对申请材料进行审查。
审查 受理 对申请材料进行初步审查,向申请人出具加盖本处室印章并注明日期的受理或者不受理申请书面凭证。
聘请专家对申请材料进行全面审查,提出由本人签名的初审意见并进行复审。
决定 经处务会研究形成本处室意见,报主管厅长决定是否批复。
批复 决定批复的,由主管厅长签署批复文件,向申请人核发加盖水利厅印章的批复文件。
公告 在水利厅网站上对水利基本建设项目初步设计行政许可的发放情况予以公告(涉密项目除外)。
水利工程建设基本程序一、水利工程基本建设程序概念1998年1月7日水利部发布《水利工程建设程序管理暂行规定》(水建[1998]16号),进一步明确水利工程建设程序按《水利工程建设项目管理规定》(水建[1995]128号)执行。
水利工程建设程序一般分为:项目建议书可行性研究后评价初步设计竣工验收施工准备(包括招标设计)生产准备建设实施水利工程项目建设程序中,通常将项目建议书、可行性研究和初步设计作为一个大阶段,称为项目建设前期阶段或项目决策阶段;初步设计以后到投产运行期间的建设活动作为另一个大阶段,称为项目建设实施阶段;最后从投产运行后是生产阶段。
我国水利工程建设程序流程图投资估算规划及建设前设计概算施工准备工程招标设计建设实施阶段项目招标移民征地生产准备年度投资计划生产阶段水利部《转发国家发展改革委关于印发中央政府投资项目后评价管理办法(试行)的通知》(办规计[2008]348号)。
二、前期立项决策阶段工作一般要求1.项目建议书、可研、初设阶段勘测设计工作,要求项目应符合国民经济和社会发展长远规划、流域综合规划、区域综合规划、专业规划,应符合国家产业政策和国家有关投资建设方针。
2.三阶段工作应按照相应阶段的编制规程的深度要求编制。
3.勘察设计工作应由具有相应资格的设计单位承担,原则上要采取招投标的方式择优选择;大型: 设计资质为甲级的水利设计院中型: 设计资质为乙级及以上的水利设计院小型: 设计资质为丙级及以上的水利设计院4、设计报告按国家现行规定权限向主管部门申报审批。
设计报告批复前,须委托有资质的咨询评估和审查单位对设计报告进行审查。
目前审查单位有:国家发展改革委:2004年37家,2009年取消12家增加21家,目前有46家。
水电:中咨公司、水电总院、水规总院3家水利:中咨公司、水电总院、中水北方3家水利部:水规总院、流域机构(委托事业单位)地方水利厅:有关技术支撑单位经批准的设计文件,是项目建设实施的重要的基础性技术文件。
1、水利工程占用审批流程图2、河道范围开采地下资源审批流程图3、河道采砂许可流程图4、市管河道管理范围内建设项目审批流程图5、水资源费征收流程图6、扩大取水批准7、取水项目批准8、入河排污口设置审批流程图9、占用流域重点区域防洪规划保留区土地审核流程图10、防洪规划同意书审核流程图11、水利工程开工审批流程图12、农用桥梁及农水配套建筑物的设计施工等流程图13、擅自占用河道行政处罚流程图14、擅自凿井行政处罚流程图15、妨碍行洪的行政处罚流程图16、擅自围垦河道的行政处罚流程图17、破坏水利工程的政处罚流程图18、末经批准擅自占用河道行政处罚流程图19、破坏水利工程设施的行政处罚流程图20、末办采砂许可证行政处罚流程图21、末按照采砂许可证规定的行政处罚流程图22、采砂船离开指定地点的行政处罚流程图23、伪造采砂许可证的行政处罚流程图24、在饮用水保护区内设置排污口的行政处罚流程图25、未经批准擅自新建、改建、扩大排污口的行政处罚流程图26、未经批准擅自取水或者未依照批准的取水许可规定条件取水的行政处罚的流程图27、拒不缴纳、拖延缴纳或者拖欠水资源费的行政处罚流程图28、对在建筑物密集的地区开采浅层地下水用于水温空调的行政处罚流程图29、对混合、串通开采地下水的行政处罚流程图30、在地下水禁止开采区内开凿深井的行政处罚流程图31、对报废、闭置或者施工未成的深井、未采取封填措施行为的行政处罚流程图32、对未安装计量设施或者安装的取水计量设施不正常使用的或者擅自拆除更换取水计量设施行为的行政处罚流程图33、未经批准擅自扩大取水的行政处罚流程图34、未取得取水申请批准文件擅自建设取水工程或者设施的行政处罚流程图35、对取水申请人隐瞒有关情况或者提供虚假材料骗取取水申请批准文件或者取水许可证的行政处罚流程图36、对拒不执行审批机关作出的取水量限制决定或者未经批准擅自转让取水权的行政处罚流程图37、对不按照规定报送年度取水情况;拒不接受监督检查或弄虚作假的;退水水质达不到规定要求的行为之一的行政处罚流程图。
1、监理单位工作程序图
2、工序或单元工程质量控制监理工作程序图
3.质量评定监理工作程序图
15•质量监督部门提出工程项目质量评定报告,向竣工验收
委员会提出工程项目质量等级的建议
4.进度控制监理工作程序图 冋意 2.监理机构审批 不同意
5.监理机构审批
6.调整和修改施 工进度计划 同意 不同意 乙承包人实施施工进度计划,按月编报施工进度报 4.承包人编报年、季、月施工进度计划 3 .调整和修改施 工总进度计划 1.承包人提交施工总进度计划 9.发生实际进度与计划进度不符(拖后) 8.监理机构监督、检 查施工进度 10,。
是否影响总工 期、后续安排工作 14.继续施工 11.承包人调整进度计划 12.监理机构审批是 否满足要求
13.修订进度计划
5.工程款支付监理工作程序图。
第十章第十章水利工程图表达水工建筑物及其施工过程的图样称为水利工程图,简称水工图.水工图的内容包括水工图分类、视图、尺寸标注、图例符号和技术说明等,它是反映设计思想、指导工程施工的重要技术资料。
第一节水工图的一般分类水利工程的兴建一般需要经过勘测、规划、设计和施工、验收等几个阶段,每个阶段都要绘制出相应的图样,水工图主要有工程位置图(包括流域规划图和灌区规划图)、枢纽布置图、结构图、施工图和竣工图。
一、工程位置图工程位置图主要表示水利枢纽所在的地理位置,与枢纽有关的河流、公路、铁路、重要的建筑物和居民区等。
工程位置图的特点是:表示范围大,图形比例小,一般采用比例为1:5000~1:10000甚至更小,建筑物则一般用示意图表示。
图10-1 工程位置图二、枢纽布置图枢纽布置图主要表示整个水利枢纽在平面和立面的布置情况。
它的主要作用是:作为各建筑物定位、施工放线、土石方施工以及绘制施工总平面图的依据。
枢纽布置图一般包括以下内容:(1)水利枢纽所在地区的地形、河流名称及流向、地理方位(指北针)、测量坐标网和方要建筑物的控制点坐标、绘图比例等。
(2)(2)各建筑物的平面形状、相应位置关系及对外交通。
(3)(3)建筑物与地面的交线、填挖方坡边线。
(4)(4)建筑物的主要高程和主要轮廓尺寸。
枢纽布置图的特点:(1)(1)枢纽布置图必须画在地形图上。
(2)(2)为了使图形主次分明,结构上的细部构造和次要轮廓线一般均省略不画,或采用示意图表示这些构造的位置、种类和作用。
(3)(3)图中尺寸一般只标注建筑物的外形轮廓尺寸以及定位尺寸、主要部位的高程、填挖方坡度等。
图10—2 枢纽布置图三、建筑物结构图建筑物结构图是表达建筑物物形状、大小、结构及建筑材料的工程图样。
建筑物结构图一般包括以下内容:(1)(1)建筑物整体和各组成部分的结构、形状、尺寸和材料。
(2)(2)建筑物基础的地质情况及建筑物与地基的连接方式。
(3)(3)建筑物的工作条件,如上下游设计水位、水面曲线等。
1、水利工程占用审批流程图
2、河道范围开采地下资源审批流程图
3、河道采砂许可流程图
4、市管河道管理范围内建设项目审批流程图
5、水资源费征收流程图
6、扩大取水批准
7、取水项目批准
8、入河排污口设置审批流程图
9、占用流域重点区域防洪规划保留区土地审核流程图
10、防洪规划同意书审核流程图
11、水利工程开工审批流程图
12、农用桥梁及农水配套建筑物的设计施工等流程图
13、擅自占用河道行政处罚流程图
14、擅自凿井行政处罚流程图
15、妨碍行洪的行政处罚流程图
16、擅自围垦河道的行政处罚流程图
17、破坏水利工程的政处罚流程图
18、末经批准擅自占用河道行政处罚流程图
19、破坏水利工程设施的行政处罚流程图
20、末办采砂许可证行政处罚流程图
21、末按照采砂许可证规定的行政处罚流程图
22、采砂船离开指定地点的行政处罚流程图
23、伪造采砂许可证的行政处罚流程图
24、在饮用水保护区内设置排污口的行政处罚流程图
25、未经批准擅自新建、改建、扩大排污口的行政处罚流程图
26、未经批准擅自取水或者未依照批准的取水许可规定
条件取水的行政处罚的流程图
27、拒不缴纳、拖延缴纳或者拖欠水资源费的行政处罚流程图
28、对在建筑物密集的地区开采浅层地下水
用于水温空调的行政处罚流程图
29、对混合、串通开采地下水的行政处罚流程图
30、在地下水禁止开采区内开凿深井的行政处罚流程图
31、对报废、闭置或者施工未成的深井、未采取封填措施
行为的行政处罚流程图
32、对未安装计量设施或者安装的取水计量设施不正常使用的或
者擅自拆除更换取水计量设施行为的行政处罚流程图
33、未经批准擅自扩大取水的行政处罚流程图
34、未取得取水申请批准文件擅自建设取水工程
或者设施的行政处罚流程图
35、对取水申请人隐瞒有关情况或者提供虚假材料骗取取水申请
批准文件或者取水许可证的行政处罚流程图
36、对拒不执行审批机关作出的取水量限制决定或者未经
批准擅自转让取水权的行政处罚流程图
37、对不按照规定报送年度取水情况;拒不接受监督检查或弄虚作假的;退水水质达不到规定要求的行为之一的行政处罚流程图
38、对伪造、涂改、冒用取水申请批准文件、
取水许可证的行政处罚流程图
39、擅自占用河道搞建设行政强制流程图
40、强行拆除饮用水源保护区内设置的排污口的流程图
41、强制封填报废、闭置或者施工未成的深井的流程图
42、强制拆除或者封闭擅自建设的取水工程或者设施流程图
43、河道采砂管理费行政征收流程图
44、水士流失防治费行政征收流程图
45、水士保持设施补偿费行政征收流程图
46、河道堤防占用补偿费行政征收流程图
47、水资源费征收流程图
48、农业灌溉水源、灌排工程设施补偿费征收流程图
49、自备水源污水处理费征收流程图
50、水资源的统一管理和监督。