区级公共服务设施配建标准表
- 格式:doc
- 大小:312.00 KB
- 文档页数:19
3 公共服务设施配建3.1 分类分级3.1.1【公共服务设施分类】郑州市公共服务设施分为教育设施、医疗卫生、文化设施、体育设施、养老设施、社区服务、生活服务、市政公用和行政管理共9类。
3.1.2【公共服务设施分级】郑州市公共服务设施按市级、区级、居住区、居住小区和居住组团五级配置。
居住区的人口规模为3~5万人,居住小区的人口规模为1~1.5万人,居住组团的人口规模为0.1~0.3万人。
3.2 市、区两级公共服务设施配建3.2.1【市级公共服务设施】市级公共服务设施应根据城市总体规划的要求,与城市功能定位相适应,在符合相关标准的条件下,合理布置,统筹安排。
3.2.2【区级公共服务设施】区级是指中心城区范围内的市内五区、各开发区、上街区、荥阳市、航空港试验区及相关新城组团。
区级公共服务设施应包括以下14项设施:区级图书馆、区级艺术中心、区级青少年宫、区级老年活动中心、区级养老院、区级妇幼保健所、区级疾病预防控制中心、区级残疾人康复中心、区级人民医院、区级中医院、区级社区服务中心、区级体育馆、区级运动场地和区级公园。
除医院外,功能相近的公共服务设施宜相对集中设置,形成区级市民活动中心。
各项须配建的公共服务设施建设标准如表3.2.2。
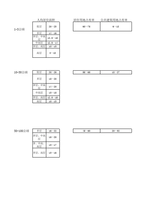
区级公共服务设施配建标准表表3.2.23.2.3【区级养老院】各区应按20万人一处进行配建,每处养老院的规模为200~300床。
养老院应独立设置,集中绿地面积应按每位老年人不低于2㎡计算,活动场地应有1/2的活动面积在标准的日照阴影线以外。
3.2.4【区级运动场地】各区应集中建设一处区级室外运动场,用地面积不得小于2.5公顷,应包括:标准400m跑道、标准足球场1处,篮球场、羽毛球场、网球场和乒乓球场各5~10处,也可酌情配建其他专项体育场地,3.2.5【区级公园】在新区建设中应规划设置区级市民公园,用地面积不得小于10公顷。
3.3 居住区公共服务设施配建3.3.1【分级配建】居住区、居住小区和居住组团级公共服务设施的设置水平,必须与居住人口规模相适应,各项设施配建标准应按附录A中附表一执行。
公共服务设施分级配建表
类别项 目
居 住
区
小
区
组
团
教育托儿所--▲△幼儿园--▲--小学--▲--中学▲----
医疗卫生医院(200-300床)▲----门诊所▲----卫生站--▲--护理院△----
文化体育文化活动中心(含青少年活动中心、老
年活动中心)
▲----文化活动站(含青少年、老年活动站)--▲--居民运动场、馆△----居民健身设施(含老年户外活动场地)--▲△
商业服务综合食品店▲▲--综合百货店▲▲--餐饮▲▲--中西药店▲△--书店▲△--市场▲△--便民店----▲其它第三产业设施▲▲--
金融邮电银行△----储蓄所--▲--电信支局△----邮电所--▲--
社社区服务中心(含老年人服务中心)--▲--养老院△----
区服务托老所--△--残疾人托养所△----治安联防站----▲居(里)委会(社区用房)----▲物业管理--▲--
市政公用供热站或热交换站△△△变电室--▲△开闭所▲----路灯配电室--▲--燃气调压站△△--高压水泵房----△公共厕所▲▲△垃圾转运站△△--垃圾收集点----▲居民存车处----▲居民停车场、库△△△公交始末站△△--消防站△----燃料供应站△△--
行政管理及其它街道 办事处▲----市政管理机构(所)▲----派出所▲----其它管理用房▲△--防空地下室△②△②△②
注:①▲为应配建的项目;△为宜设置的项目。
②在国家确定的一、二类人防重点城市,应按人防有关规定配建防空地下室。
公共服务设施配置标准公共服务设施是指为社会公众提供服务的基础设施,包括但不限于交通设施、教育设施、医疗设施、文化设施等。
公共服务设施的配置标准直接关系到社会公众的生活质量和社会发展的可持续性。
因此,建立科学合理的公共服务设施配置标准至关重要。
首先,交通设施是城市公共服务设施的重要组成部分。
合理的交通设施配置标准可以有效缓解交通拥堵,提高交通效率。
例如,城市道路的规划应根据城市规模和人口密度确定车道数量、路口设置、公交站点等。
同时,城市地铁的建设也应根据城市人口规模和出行需求确定站点设置和线路规划,以满足不同区域居民的出行需求。
其次,教育设施是关系到社会未来发展的重要公共服务设施。
合理的教育设施配置标准可以保障每个孩子接受良好的教育。
例如,学校的建设应根据学生人数和教学资源确定教室数量、实验室设施、图书馆资源等。
同时,学校的位置也应考虑到学生的居住分布,方便学生的上下学。
再次,医疗设施是关系到公众健康的重要公共服务设施。
合理的医疗设施配置标准可以保障每个人都能及时获得医疗服务。
例如,医院的建设应根据人口规模和疾病类型确定病床数量、医疗设备配置、医生护士比例等。
同时,医院的位置也应考虑到患者的就医需求,方便患者就医和就诊。
最后,文化设施是关系到公众精神生活的重要公共服务设施。
合理的文化设施配置标准可以丰富公众的文化生活。
例如,图书馆、博物馆、剧院等文化设施的建设应考虑到人口规模和文化需求确定馆藏数量、展览空间、演出场地等。
同时,文化设施的位置也应考虑到公众的文化需求,方便公众的文化参与和享受。
综上所述,公共服务设施的配置标准是城市规划和社会发展中至关重要的一环。
科学合理的配置标准可以提高公共服务设施的利用效率,满足公众的实际需求,促进社会的健康稳定发展。
因此,政府部门和相关规划机构应根据城市规模和人口需求,建立健全的公共服务设施配置标准,为社会公众提供更好的服务和保障。
重庆市工程建设标准DBJ/T50- -2009社区公共服务设施配置标准Standard for community public facilities(报批稿)重庆市建设委员会2009年3月前言根据宜居重庆建设的统一部署,结合《“十一五”社区服务体系发展规划》(国家发展改革委、民政部2007版)、《国务院关于加强和改进社区服务工作的意见》(国发[2006]14号)和《中共重庆市委、重庆市人民政府关于加强城市社区建设的意见》(2007年11月1日)的精神,本标准编制组深入调查研究,认真总结实践经验,参考借鉴了国家和其它省市的相关标准,通过组织专家论证,在广泛征求规划、科研、管理等方面专家意见的基础上,制定本标准。
本标准的主要技术内容有:1 总则;2 术语;3 社区公共服务设施的定义与分级;4社区公共服务设施配置原则与依据;5 标准街道社区;6 标准基层社区;7 农村社区。
本标准由重庆市建设委员会负责管理,由重庆市规划研究中心负责具体技术内容解释。
在标准实施、应用过程中,希望各单位注意收集资料,总结经验,并将需要修改、补充的意见和有关资料交重庆市规划研究中心(重庆市渝中区朝东路1号,邮编:400011,电话:63737611),以便今后修订时参考。
本标准主编单位、主要起草人和审查专家主编单位:重庆市规划研究中心主要起草人:余颖刘利宋智王华淳魏英何丹杨李宁审查专家:孟东方周顺元陶坤宏黄天其黄安会董世永廖百茫(按姓氏笔画)目次1 总则 (5)2 术语 (6)3 社区公共服务设施分级 (7)4 社区公共服务设施配置原则与依据 (8)4.1 社区公共服务设施配置原则 (8)4.2 社区公共服务设施配置依据 (8)5 标准街道社区 (9)5.1 标准街道社区公共服务设施的分类 (9)5.2 标准街道社区公共服务设施的选址 (9)5.3 标准街道社区公共服务设施配置标准 (9)6 标准基层社区 (12)6.1 标准基层社区公共服务设施的分类 (12)6.2 标准基层社区公共服务设施的选址 (12)6.3 标准基层社区公共服务设施配置标准 (12)7 农村社区 (15)7.1 农村社区公共服务设施的分类 (15)7.2 农村社区公共服务设施的选址 (15)7.3 农村社区公共服务设施配置标准 (15)本标准用词说明 (18)CONTENTS1 General Principle (5)2 Definition and Translation of Professional Language (6)3 Classification of Public Community Facilities (7)4Lawful Background for making the Standard of Public Community Facilities and Principles for Making Adjustments (8)4.1 Principles for Making the Standard of Public Community Facilities (8)4.2 Lawful Background for making the Standard (8)5Public Facility Arrangement for a Standard Community in the Urban Area (9)5.1 Sub-classification of Public Facility Arrangement for a Standard Community in the Urban Area (9)5.2 Identification of Suitable Locations for a Standard Community in the Urban Area (9)5.3 Detailed Requirement of Public Facility Arrangement for a Standard Community in the Urban Area (9)6 Public Facility Arrangement for a Standard Community Cellin the Urban Area (12)6.1 Sub-classification of Public Facility Arrangement for a Standard Community Cell in the Urban Area (12)6.2 Identification of Suitable Locations for a Standard Community Cell in the Urban Area (12)6.3 Detailed Requirement of Public Facility Arrangement for a Standard Community Cell in the Urban Area (12)7 Public Facility Arrangement in the Rural Area (15)7.1 Sub-classification of Public Facility Arrangement for the Rural Area (15)7.2 Identification of Suitable Locations for the Rural Area (15)7.3 Detailed Requirement of Public Facility Arrangement for the Rural Area (15)Appendix Explanation for the Usage of Specific Order (18)1.0.1 为实现构建社会主义和谐社会的目标,促进“五个重庆”的建设,加强社区服务的能力和水平,提供建设“宜居城市”的管理依据,保证重庆市经济建设、经济和社会的健康发展,制定本标准。
附件
街道、社区公共服务设施配置指引(修订版)
表E-1 街道级公共服务设施配置项目指标表
- 3 -
- 4 -
的中等城市,可视情况选择适宜的街道规模体系。
2、街道辖区内设有市、区级文体设施的,可替代街道级别的文体设施。
3、其它营利性设施依据市场需求配置,其他公用设施按相关专项规划的规定进行配置。
- 5 -
- 6 -
- 7 -
间的中等城市,可视情况选择适宜的社区规模体系。
2、其它营利性设施依据市场需求配置。
其他公用设施按相关专项规划的规定进行配置。
- 8 -
表E-3 居住用地项目公共服务设施配置项目指标
注:本表适用于城市更新中未达到社区规模的居住用地项目。
- 9 -。
天津市工程建设标准DB D B29-7-2008 J11250--2008天津市居住区公共服务设施配置标准Standard for Public Facilities of Urban ResidentialDistrict of Tianjin2008-07-15发布 2008-09-01实施天津市建设管理委员会天津市工程建设标准天津市居住区公共服务设施配置标准DB29-7-2008J 11250-2008主编单位:天津市城市规划设计研究院批准部门:天津市建设管理委员会实施日期:2008年09月01日2008 天津前言本标准依据天津市建委《关于下达2007年度天津市建设系统第一批工程建设标准编制计划的通知(建科教〔2007〕1243号)要求,对《天津市新建居住区公共服务设施定额指标》(DB29-7-2000)进行修订,并更名为《天津市居住区公共服务设施配置标准》。
本标准修订工作是在广泛调查研究及认真总结我市近年来居住区公共服务设施配套建设的经验基础上,结合我市的经济发展和人们对生活质量的不断追求,依据现行有关规定、规范,对原标准项目内容和定额指标进行了修改。
主要包括中、小学、幼儿园等教育类,街道办事处、公安派出所等行政管理类,社区文化活动中心、室内健身场馆等文体类,养老设施、物业管理等社区服务类,以及居民机动车停车等市政公用类几个方面。
本标准主要内容有:总则、术语、公共服务设施的项目分类与一般规定、公共服务设施分级与配置标准、公共服务设施的布局与配置要求、附则、分级分类附表等内容。
各单位在使用本标准过程中,如发现有需要修改和补充之处,请将意见和有关资料反馈主编单位。
主编单位:天津市城市规划设计研究院参编单位:市规划局、市教委、市容委、市国土房管局、市卫生局、市公安局、市民政局、市电力公司、市商务委。
批准单位:天津市建设管理委员会主要起草人:李春梅、刘瑞光、李金铎、姜玉芝、宋志英、石坚、陈冀霞、吴静雯、高斌、滕人瑶、龚祥兴、宋慧颖、李楠目次1 总则 (1)2 术语 (2)3 公共服务设施的项目分类与一般规定 (3)4 公共服务设施分级与配置标准 (3)5 公共服务设施的布局与配置要求 (4)附录 A 附表 A.0.1—A.0.6 (5)附录B 用词说明 (11)1.0.1坚持以人为本,满足居民日益提高的物质和精神文化的需求,建设美丽、和谐、宜居的家园,科学合理地配置城市居住区公共服务设施资源,有效利用土地资源,依据国标GB50180-93《城市居住区规划设计规范》(2002年版),结合本市当前和今后的发展实际,将2000年版《天津市新建居住区公共服务设施定额指标》(DB29-7-2000)修订为本标准。
武汉市新建地区公共设施配套标准指引(试行)武汉市新建地区公共设施配套标准指引(试行稿)1.总则1.0.1(目的)为在城市新建地区建立完备、安全、便捷、高效、舒适的公共服务设施配套体系,全面提升武汉城市新建地区的规划建设水平和生活环境质量,实现新建地区城市规划编制和管理的标准化、规范化,根据相关法律和法规规定,制定本规划指引(以下简称指引)。
1.0.2(依据)本指引以国家、省、市和部门的有关规范及标准为依据,参照同类城市技术标准与准则,并结合武汉市城市发展的目标要求和实际情况制定。
1.0.3(适用范围和应用)本指引主要用于指导城市新建设地区的规划编制和建设管理。
新建地区编制规划时应依据本指引提出的标准和布局形式安排各类公共设施用地。
新建地区进行具体建设管理时,应按编制的规划和本指引控制的预留用地,保证公共设施的配套建设。
在进行已建成区的更新改造时,可参照本指引考虑公共设施的优化完善配套,保证设施配套的标准和服务水平,对设施的布局形式不做硬性规定。
1.0.4(应用原则)在具体的规划编制和建设管理中应用本指引时,应综合考虑用地规模、现状及周边用地情况、地形地貌、周边设施条件、行政管理要求等因素的制约和影响,中心的功能和配套标准可略作调整。
1.0.5(开发强度控制)本指引提出的公共设施配套标准中涉及用地的为刚性规定,新建地区规划建设时必须予以保证。
用地上配套公共设施的开发建设强度可根据服务范围内住宅的开发强度做适当调整。
1.0.6新建地区进行规划编制和管理除执行本指引外,还应符合国家、省和市现行的有关法律、法规及其它强制性标准的规定。
2.公共设施的分类和分级2.1公共设施的分级2.2.1公共设施按市级、地区级、居住区级、居住小区级四级配置。
2.2.2地区是指功能相对完整、由自然地理边界和交通干线等分割形成的、人口规模为15~25万人左右的功能型片区;2.2.3居住区是以综合服务中心为核心、服务半径800-1000米、由城市干道或自然地理边界围合的以居住功能为主的片区,人口规模为3~5万人左右;2.2.4居住小区是由城市支路以上道路围合、规划半径200-300米的城市最小社区单元,人口规模为0.5~1.2万人。
区级公共服务设施配建标准表表1分类序号名称每处最小规模(万㎡/处)备注建筑面积用地面积文化娱乐设施1区级图书馆0.6~1.0 0.5~0.9 宜独立设置,每个行政区不少于一所。
2区级文化中心0.6~1.0 0.6~1.0 含歌舞剧院,每个行政区不少于一所。
3区级青少年宫0.5~1.0 -为少年儿童专用活动场所,应符合相关安全防护要求,每个行政区不少于一所。
体育设施4区级体育馆0.6~1.0 1~1.2宜独立设置,含室内游泳池。
每个行政区不少于一所。
5区级运动场地- 2.5包含标准足球,网球场、篮球场、羽毛球场、乒乓球场等。
每20万人规划设置一处。
公园与绿地6区级公园- 5 每10km²应规划不少于一处。
医疗卫生7区级妇幼保健所0.3~0.5 -区级妇幼保健所、区级卫生监督所以及区级健康教育机构可合并建设。
每个行政区不少于一所。
8 区级0.12 -卫生监督所9区级疾病预防控制中心0.3~0.6 0.4~0.7每个行政区不少于一所,应独立设置,不宜毗邻学校、市场、交通干线、公共娱乐场所,不宜远离居民区。
10区级残疾人康复中心0.3~0.5 -为残疾人提供康复、医疗、教育、职业等服务的公益性服务机构。
原则每个行政区一所。
11区级人民医院5.46.9一般不宜少于600床。
新区建设可按5床/千人的标准计算规模,用地规模按115㎡/床, 建筑规模按90㎡/床。
每20万人设置一处。
12区级中医院2.43.3一般不宜少于300床。
区级中医院用地规模按110㎡/床, 建筑规模按80㎡/床。
每20万人设置一处。
养老福利13特殊教育学校0.4 1.0 弱智、盲、聋哑教育等,每20万人设置一处。
14 养老院0.6 0.6达到5万人的居住区应配建养老院一处,一般规模为150-200床位,应独立设置。
用地面积应不小于40㎡/床,建筑面积应不小于40㎡/床。
15 儿童福-0.8 每个行政区不少于1所,宜选址在环境较好的利设施地段,临近居住区选址。
班级数用地面积(㎡)建筑面积(㎡)4≧1800≧12006≧2700≧18009≧3700≧250012≧4700≧3200班级数用地面积(㎡)建筑面积(㎡)12≧9700≧290018≧11800≧430024≧13600≧510030≧15700≧6200班级数用地面积(㎡)建筑面积(㎡)18≧15500≧630024≧18100≧820030≧31700≧910036≧37000≧11700规模等级设置规定用地面积(㎡)建筑面积(㎡)医院10万人左右12000~1800015000~25000门诊所30000~50000人2000~30003000~5000卫生站10000~15000人300左右500左右各类公共服务设施建设标准中小学幼儿园: 每4000居民以上的住宅区应配小学及幼儿园,每8000居民应配中 学。
每千人口按40名儿童配建幼儿园。
每千人口按80名小学生配 建小学。
每千人口按80名中学生配建中学。
幼托:小学:中学:医院:加油站:城市公共加油站服务半径宜为0.9~1.2 km,进出口宜设在次干路上, 并附设车辆等候加油的停车道,加油站布局应大、中、小相结合,以小 型规模等级标准车数量用地面积(㎡)小型站10~20100~2000中型站21~402000~4000大型站41~504000~5000规模等级用地面积(㎡)建筑面积(㎡)一级消防站3900~56002300~3400二级消防站2300~38001600~2300站为主,其用地面积按照昼夜加油站车次确定,附设机械化洗车的加 油站,应增加用地面积160~200 ㎡。
昼夜加油次数用地面积(㎡)≤3001200500~8001800800~10002500≧10003000公共停车场:城市公共停车场应分为外来机动车公共停车场、市内机动车公共停车场和自行车公共停车场三类,其用地总面积可按规划城市人口每人0.8—1.0平方米计算。
北京市人民政府关于印发本市新建改建居住区公共服务设施配套建设指标的通知京政发〔2002〕22号各区、县人民政府,市政府各委、办、局,各市属机构:为适应城市住宅商品化进程,确保居住区公共服务设施的合理配置,提供适宜的居住环境,不断满足居民的物质和精神生活需要,结合本市实际情况,市城市规划设计研究院修订了《北京市新建改建居住区公共服务设施配套建设指标》并已经第130次市长办公会讨论通过,现印发给你们。
此次修订的指标自2002年9月1日起施行,京政发〔1994〕72号文件同时废止。
执行中的具体问题由市规划委负责协调解决。
北京市人民政府二〇〇二年八月五日北京市新建改建居住区公共服务设施配套建设指标一、总则(一)本指标适用于北京旧城以外地区新建改建城市居住区公共服务设施(以下简称配套公建)的规划设计和规划管理。
乡镇居住区配套公建可参照本指标执行。
危旧房改造区、历史文化保护区等特殊地区居住区配套公建应因地制宜,具体研究。
(二)本指标所指居住区人口规模一般为4万至6万人左右,居住小区人口规模一般为1万至2万人左右。
每户平均居住人口2.8人,平均每户(套)商品住宅建筑面积按实际建筑面积标准计算。
(三)居住区配套公建的配置水平,必须与居住人口规模相对应。
在符合规定配套公建面积总指标的条件下,可根据规划组织结构类型统一安排、合理布置配套公建。
按配套指标配建的配套公建建成后,不得改变使用性质。
(四)居住区配套公建分类:按使用性质分为教育、医疗卫生、文化体育、商业服务、金融邮电、社区服务、行政管理和市政公用等八类配套公建。
按效益分为公益性配套公建和盈利性配套公建。
公益性配套公建,即非盈利性设施,以指令性指标控制该类配套公建的建设。
盈利性配套公建,即居住区日常生活必须的商业服务性设施,以指导性指标引导该类配套公建的建设。
(五)居住区各级配套公建项目应按照本指标(详见附表1、附表2)的规定,并遵循下列要求:1.规划用地内的居住人口达到居住区级的,应按表1配建设置项目,居住人口达到居住小区级的,应按表2配建设置项目。
注:①▲为应配建的项目;△为宜设置的项目。
公共加油站
8.2.1 城市公共加油站的服务半径宜为0.9~1.2km。
8.2.2 城市公共加油站应大、中、小相结合,以小型站为主,其用地面积应符合表8.2.2的规定。
公共加油站的用地面积(万m2)表8.2.2
电力
35-110kV变电所规划用地面积控制指标表7.2.7-1
220-500kV变电所规划用地面积控制指标表7.2.7-2
给水
表8.0.6 水厂用地控制指标
表9.0.5 泵站用地控制指标
注:1建设规模大的取下限,建设规模小的取上限。
2加压泵站设有大容量的调节水池时,可根据需要增加用地。
3本指标未包括站区周围绿化带用地。
污水
表6.0.1-2 污水泵站规划用地拍标(m2·s/L)
注:1.用地指标是按生产必须的土地面积。
2.污水泵站规模按最大秒流量计。
3.本指标未包括站区周围绿化带用地。
6.0.2 排水泵站结合周围环境条件,应与居住、公共设施建筑保持必要的防护距离。
区级公共服务设施配建标准表表1分类序号名称每处最小规模(万㎡/处)备注建筑面积用地面积文化娱乐设施1区级图书馆0.6~1.0 0.5~0.9 宜独立设置,每个行政区不少于一所。
2区级文化中心0.6~1.0 0.6~1.0 含歌舞剧院,每个行政区不少于一所。
3区级青少年宫0.5~1.0 -为少年儿童专用活动场所,应符合相关安全防护要求,每个行政区不少于一所。
体育设施4区级体育馆0.6~1.0 1~1.2宜独立设置,含室内游泳池。
每个行政区不少于一所。
5区级运动场地- 2.5包含标准足球,网球场、篮球场、羽毛球场、乒乓球场等。
每20万人规划设置一处。
公园与绿地6区级公园- 5 每10km²应规划不少于一处。
医疗卫生7区级妇幼保健所0.3~0.5 -区级妇幼保健所、区级卫生监督所以及区级健康教育机构可合并建设。
每个行政区不少于一所。
8 区级0.12 -卫生监督所9区级疾病预防控制中心0.3~0.6 0.4~0.7每个行政区不少于一所,应独立设置,不宜毗邻学校、市场、交通干线、公共娱乐场所,不宜远离居民区。
10区级残疾人康复中心0.3~0.5 -为残疾人提供康复、医疗、教育、职业等服务的公益性服务机构。
原则每个行政区一所。
11区级人民医院5.46.9一般不宜少于600床。
新区建设可按5床/千人的标准计算规模,用地规模按115㎡/床, 建筑规模按90㎡/床。
每20万人设置一处。
12区级中医院2.43.3一般不宜少于300床。
区级中医院用地规模按110㎡/床, 建筑规模按80㎡/床。
每20万人设置一处。
养老福利13特殊教育学校0.4 1.0 弱智、盲、聋哑教育等,每20万人设置一处。
14 养老院0.6 0.6达到5万人的居住区应配建养老院一处,一般规模为150-200床位,应独立设置。
用地面积应不小于40㎡/床,建筑面积应不小于40㎡/床。
15 儿童福-0.8 每个行政区不少于1所,宜选址在环境较好的利设施地段,临近居住区选址。
行政管理16区级社区服务中心0.5~0.6 -统筹社区管理,构建社区公共服务平台。
每个行政区不少于一所。
机动车停车场(库)配建标准表表2类型计算单位机动车(下限)住宅建筑商品房车位/户(144㎡及以上) 1.2车位/户(100㎡(含)—144㎡) 1.0车位/户(60㎡(含)—100㎡)0.7车位/户(60㎡以下)0.5 保障性住房车位/百平米建筑面积0.5 办公建筑车位/百平米建筑面积 1.0商业服务宾馆、招待所车位/客房0.5 综合商业设施、批发交易市场、独立农贸市场、餐饮、居住区配套、商业设施车位/百平米建筑面积 1.0医院(社区卫生服务中心)车位/百平米建筑面积 1.5文体展览馆、博物馆及图书馆车位/百平米建筑面积 1.0公 共 设施影剧院及 会议中心 车位/百座位 4.0 体育场馆车位/百座位 5.0 游览场所 风景公园 车位/公顷占地面积 3.0 主题公园车位/公顷占地面积 10.0 交通枢纽 火车站 车位/千旅客设计量 4.0 汽车站 车位/千旅客设计量2.0 学校(含托幼)车位/百师生 3.0 科 研车位/百平米建筑面积 1.0 社会福利 老年公寓 车位/百平米建筑面积 0.4 社会救济 车位/百平米建筑面积 0.2 工业 仓储厂 房车位/百平米建筑面积0.4非机动车停车配建标准表 表3 类 型计算单位 非机动车 住宅建筑商品房车位/百平米建筑面积1.0 保障性住房车位/百平米建筑面积 1.5 办公建筑对外服务窗口 车位/百平米建筑面积4.0 机关事业单位 车位/百平米建筑面积 2.0 商业 服务 宾馆、招待所 车位/客房 0.2 综合商业设施、 居住区配套商业设施、 独立农贸市场 车位/百平米建筑面积8.0 批发交易市场 车位/百平米建筑面积12.0 餐 饮 车位/百平米建筑面积4.0 医院(社区卫生服务中心) 车位/百平米建筑面积6.0 文体公 共 展览馆、 博物馆及图书馆 车位/百平米建筑面积2.0 影剧院及会议中心、体育场馆车位/百座位20.0设 施游览场所风景公园车位/公顷占地面积 0.2 主题公园车位/公顷占地面积 0.4 交通枢纽 火车站、汽车站、车位/千旅客设计量0.5 学校 幼儿园及小学车位/百师生20.0 中学、中专及技校、大专院校 车位/百师生 80.0 科 研车位/百平米建筑面积 2.0高层塔式住宅平行布置时控制间距 表4 高度(米) 主朝向 24<H ≤45 45<H ≤60 60<H <100 南北向(米) 25 30 35 东西向(米) 202530高层板式住宅平行布置时控制间距 表5高度(米) 主朝向24<H ≤4545<H ≤6060<H <100南北向(米)30 35 40东西向(米)25 30 35高层住宅垂直布置时控制间距表6高度(米)24<H≤45 45<H≤60 60<H<100 最小距离(米)15 20 25高层住宅与高层住宅并列布置时控制间距表7高度(米)24<H≤45 45<H≤60 60<H<100板式最小间距(米)13.5 15 18 点式最小间距(米)15 18 20建筑物退离建筑基地边界距离控制指标表表8文教卫建筑居住建筑其他建筑最小距离最小距离最小距离主要朝向低层6米 6 米 5 米多层10 米9 米 6 米建筑朝向离界距离建筑类别高层18 米15 米12 米次要朝向低层 3.5 米 3 米 5 米多层 6 米 5 米 6 米高层10 米9 米9 米各类建筑退道路红线距离表表9主干道L≥40次干道(40-25)支路(25-15)交叉口(H<24米)10米7米5米15米(24米≤H<45米)15米12米10米20米(45米≤H<60米)20米15米12米25米(60米≤H<100米)30米25米18米30米附件1各类建设用地适建范围表建设项目用地类别居住公共管理与公共服务用地A商业服务业设施用地B工业用地M物流仓储用地W交通设施用地S供应设施(市政公用设绿地G 区域交通设施用地H2 R行政文化教科体育医疗社会文物外事宗教商业商务娱乐公用一类二类三类一类二类三类城市轨道综合交通公共生产广场铁路H21公路港口机场管道H25 建筑高度退线距离红线宽度办公A1A 2 A 3 A4 A 5 福利A 6A 7 A 8 A 9 设施B 1 设施B 2 康体B 3 设施营业网点B 4工业米1 工业米2 功业米3 物流仓储W 1 物流仓储W 2 物流仓储W 3道路S 1 交通S 2 交通枢纽S 3场站S4 施)用地U G 1 G 2 G 3 H22 H 23 H 24住宅 ● × × × × × × × × × × × × × × × × × × × × × × × × × × × × × × × × 幼托 ● × ● ○ × × ● × × × × × × × × × × × × × × × × × × × × × × × × × × 小学 ● × × ● × × × × × × × × × × × × × × × × × × × × × × × × × × × × ×普通中学● × × ● × × × × × × × × × × × × × × × × × × × × × × × × × × × × ×市场 ● × × × × × × × × × ● ○ ○ × × × × ○ ○ ○ × × × × × × × × × × × × ×社区集中商业服务网店 ● × × × × × × × × × ● ○ ○ ○ × × × × × × × × × × × × × × × × × × ×社区卫生服务● ○ ○ ○ ○ ● ○ × × × ○ ○ ○ × ○ ○ ○ ○ ○ ○ × × × × × × × × × × × × ×中心、社区卫生服务站、门诊部、诊所青少年活●○●○○×○×××○○○××××××××××××○×○×××××站、老年活动站社区健身●○●○●×××××○○○××××××××××××○×○×××××活动场所变配××××××××××××××○○○○○○××○○●○○○○○○○×电所公共厕所、●●●●●○×○○○●●●○●●●●●●××○○●○○○○○○○×垃圾转运站燃气××××××××××××××○○○○○○××××●○○○××××○站公共停车场库、○○○○○○××××●●○○●○○●○○○○○●○○○○○○●●×公交首末站社区服务●○××××××××○○○××××××××××××××××××××中心(居委会)绿化、环卫管理●○××××××××●●○○○○○○○○××××○○○○○○○○×点、市场管理房行政×●○○××××××●●○×○○×○○○××××○×××○○○○×办公一般办公建筑、商务×○××××××××●●○×○××○○○××○○×××××××××办公综合楼综合○×××××××××●●○×○××○○○×××××××××××××商场银行、证券交易○○×●××××××●●○×○××××××××××××××××××所及保险公司旅馆、○××●××××××●●○×○××○○○×××××××××××××宾馆独立农贸××××××××××●○××○××○○○×××××××××××××市场、批发及附属仓库电信、邮政、供水、燃气、供电、供热等其○×××××××××●●○●○○×○○○××××○××××××××他公用设施营业网店用地图书馆、博物馆、○○●×●×××××●●○××××××××××××××××××××美术馆、厅、影剧院、游乐场、○○○×○×××××●●●××××××××××××××××××××俱乐部、歌舞厅、广电中心、报社、○○○○××××××●●○××××××××××××××××××××出版社、通讯社、体育场馆及训练基○○○○●×××××○○○××××××××××××××××××××地、业余体校专科医院、急救中心、血库 ○ ○ × ○ × ● ○ × × × ○ ○ × × ○ × × ○ × × × × × × × × × × × × × × ×对环境有轻度干扰、污染的工厂 × × × × × × × × × × × × × × ○ ● ○ × × × × × × × × ○ × ○ ×× × × × 对环境有严重干扰、污染的工厂 × × × × × × × × × × × × × × × × ● × × × × × × × ×× × × ×× × × ×普通储运× × × × × × × × × × ○ × × × ○ ○ ○ ● ● ○ × × × × × × × × ○○○○ ×危险品仓×××××××××××××××××××●×××××××××××××库露天××××××××××××××○○○●●●××××××××○○○××堆场物流××××××××××○×××○○○●●●××××××××○○○○×仓库社会○○○○○○××××●●●○○○○○○○○○○●○○○○○○○○×停车场库加油××××○×××××○○○●○○○●○○○○○○○○○○○○○○×站、加气站汽车修理、保养厂、机××××××××××××○●○○×○○○××○●○××××○×××动车训练场客、货××××××××××○×××○○○○○○××○●○×××○○○××司站场注:1.表中“●”为允许建设,“○”规划部门根据具体情况确定是否允许建设,“×”为不允许建设。