纪检监察查处案件流程图
- 格式:doc
- 大小:19.50 KB
- 文档页数:1
流程名称:纪检监察信访举报工作流程
举报信、接访电话 记录、举报登记卡 呈报阅批,确定承办形式 受理信访举报办理 单
结束 调查流程 一 ----------------- 信访转办函、登记 表、调查处理报告丄1 二一一 =----- ------ 草拟处理意见 案件线索办结审 批表、结案案件登 记表 执行处理意见,反馈给举 报人和有关部门 调整处理意见 1 r 部门批示意见 书记审核 是否需纪委 是否通过审 责任主体
外部、内部
纪检监察岗 纪检部门负责人 纪委书记 党委书记 开始 步骤 外部、内部 举报
接到违反党纪、政纪的举报 信息,登记
流程名称:案件检查工作流程
流程名称:案件检查工作流程(续)
流程名称:案件审理工作流程
流程名称:案件申诉复查工作流程
流程名称:效能监察工作流程
欢迎您的下载,
资料仅供参考!
致力为企业和个人提供合同协议,策划案计划书,学习资料等等
打造全网一站式需求。
纪检监察查处案件流程图
(案件审理)
案件审理助辩基本程序流程图(试行)
聘请助辩人
表二、表三
助辩人资格审查
表三、表四
助辩人了解案情
预约谈话
实施助辩 做好记录
审理部门(审理小组) 集体研究违纪党员
及助辩人意见
向违纪党员及助辩人
反 馈 意 见
注:对情况紧急需要尽快作出处理意见的案件,可采取口头告知预约等方法实施助辩,并记录在案。
纪检监察信访举报件办理流程图
上级转办或交办
本
级受理
录
入
领导批示
结案呈批表
初 核
办结结案呈批表
领导审阅
要情况要结果
领导审批
信访件来源。
7个流程图+审查调查工作事项一览表市纪委监委机关审查调查工作流程图如下:一、审查调查工作全流程图二、线索处置工作流程图向XXX报告线索及处置情况。
范围为:管干部、委委员纪委常委、监委委员、街镇、部门主要负责人。
定期汇总线索处置情况向XXX机关主要领导报告。
三、谈话函询工作流程图四、初步核实工作流程图以纪委办公室名义发函被反映人。
五、立案审查工作流程图六、使用工作流程图七、线索分办工作流程图市纪委监委机关审查调查工作事项一览表如下:一)初核阶段1.召开室务会,集体研究线索处置方案。
2.组建初步核实组,明确组长和分工。
3.分析研判线索来源(属实名举报的,与举报人联系,进一步了解举报内容)。
4.分析线索反映的问题、主要疑点和核查难点。
5.了解被反映人的主体身份,是否是党员、监察对象,是否是“两代表一委员”。
6.了解被反映人的基本情况,包括家庭情况、婚姻状况等。
7.查阅被反映人的体检报告,了解其身体状况。
8.了解被反映人的工作经历、职责范围,以及举报、纪律处分、组织处理、年度考核、群众口碑等情况。
9.集体研究初步核实的时间、步骤、方法和措施。
10.起草初步核实方案报批。
方案包括:1.线索来源、被核查人基本情况、反映的问题和可能涉嫌违纪违法犯罪的问题;2.初步核实的目的、方向、范围,以及需要重点查明的问题;3.初步核实的时间、步骤、方法和措施;4.核查组组成人员及组织领导;5.初步核实期间安全防范措施以及突发、重大情况处置预案;6.其他需载明的事项。
11.调取被反映人的个人有关事项报告。
12.XXX分管领导报委主要领导审批。
13.核查组部门负责人。
14.需要开展审计工作,或者调取审计资料的,交案管室协调办理。
15.收集行政执法专项检查、经责审计、巡察中涉及被举报人的问题线索。
16.涉及资产重组、资金运用、资源配置、资本运作和重大项目的问题线索,需要协调核查组、调专业人员参与的,交案管室协调办理。
查调查措施和时间节点;5.审查调查组成员名单。
纪检监察岗
开始
外部、内部
结束
纪检组长 支部书记
责任主体 步骤
呈报阅批,确定承办形式
受理信访举报办理单
调查流程
草拟处理意见
接到违反党纪、政纪的举报信息,登记
举报信、接访电话记录、举报登记卡
信访转办函、登记表、调查处理报告
案件线索办结审批表、结案案件登记表
调整处理意见
部门批示意见
否
是否需纪检组长审核
是
执行处理意见,反馈给举报人和有关部门
是否通过审核
否
是否通过审
核
是
否
是否需党支部书记审核
是
外部、内部
举报
曾都区实验小学纪检监察工作责任分配网络图。
流程名称:纪检监察信访举报工作流程厶1: /外部、内部、:开始“< 举报>4—►接到违反党纪、政纪的举报 信息,登记I' 1 = 1 1 r-1 1 r1 1举报信、接访电话 记录、举报登记卡.I1 1 1__ -----呈报阅批,确定承办形式受理信访举报办理 单I调查流程草拟处理意见结束责任主体; 外部、内部纪检监察岗纪检部门负责人 纪委书记 党委书记调整处理意见是否通过审 核部门批示意见执行处理意见,反馈给举 稈报人和有关部门步骤信访转办函、登记 表、调查处理报告U-案件线索办结审 批表、结案案件登 记表否是是否需纪委书记审核是否通过审 核是■是否需党委 书记审核流程名称:案件检查工作流程责任主体步骤纪委监察处纪委书记党委书记开始收到需要进行调查的违规违纪*问题初步核实初步核实结果材料草拟处理意见彳分管(畐U)处长审批初步核实情况报告对有轻微违规违纪问题者执行处理意见纪检监察建议书、案件线索办结审批表-_____ ----~f是是否需要调查取证立案调查否审批*是是否需主要负责人审批B立案调查结果材料否审批流程名称:案件检查工作流程(续)流程名称:案件审理工作流程流程名称:案件申诉复查工作流程流程名称:效能监察工作流程。
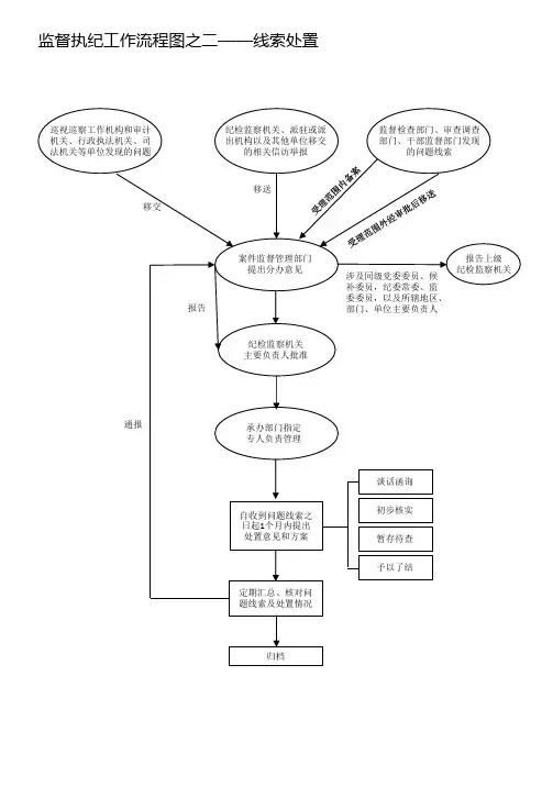
监督执纪工作流程图之二——线索处置
巡视巡察工作机构和审计机关、行政执法机关、司法机关等单位发现的问题纪检监察机关、派驻或派
出机构以及其他单位移交
的相关信访举报
监督检查部门、审查调查
部门、干部监督部门发现
的问题线索
案件监督管理部门
提出分办意见
纪检监察机关
主要负责人批准
承办部门指定
专人负责管理
报告上级
纪检监察机关
自收到问题线索之
日起1个月内提出
处置意见和方案
定期汇总、核对问
题线索及处置情况
归档
谈话函询
初步核实
暂存待查
予以了结
通报
报告
涉及同级党委委员、候
补委员,纪委常委、监
委委员,以及所辖地区、
部门、单位主要负责人移交
移送。