隐蔽工程验收监理工作流程图说明
- 格式:doc
- 大小:36.00 KB
- 文档页数:9
监理工作程序流程图(通用)监理工作程序流程图(通用)1、施工阶段进度控制计划在工程承包合同中,确定工期总目标。
承包单位和建设单位根据工期总目标编制施工总进度计划,应附有编制材料设备采购计划、劳动力使用计划、施工机械使用计划。
监理工程师审批施工总进度计划并编制年、季、月度计划。
编制说明中应包括上月实际完成工程量、当月(年)计划完成工程量、计划提前或拖后的原因分析以及拟采取的对策。
审批年、季、月度计划后,按计划组织实施,监理工程师检查计划执行情况,基本符合计划要求的继续施工,否则签发严重偏差计划通知书,纠正计划偏差,向建设单位建议调整,直至更换施工队伍,最终实现工期总目标。
2、施工阶段投资控制程序签定施工合同后,业主、施工、监理三方进行施工图纸会审,设计、施工、业主、监理四方进行工程预付款申请,承包单位施工图纸实施,材料、设备采购,业主、监理、施工单位联合考察厂家材料、设备等。
监理工程师审核预付款申请,审定设计变更及工程洽商申请,审核已完分项工程报验单、计量申请、索赔申请,否认可的申请不予审核。
最终监理工程师审批并签认付款认证,否则进行索赔审批,最终报送业主付款。
3、月工程款支付监理核签程序工程项目施工合格后,承包单位报月支付申请,监理工程师审定工程变更费用、技术洽商费用、工程索赔费用、其他各项费用,并确定计量项目合格、计量部位、工程量及工作量。
如果不同意,则由XXX组织协调。
最终总监理工程师签发月支付证书,建设单位审核并签字支付给承包单位。
4、施工阶段质量控制程序承包单位申报分项分部工程方案并经监理审批后,申报材料合格证、复验单,如不合格则加倍复试或换材料,进行整改。
各分项隐蔽工程自检,如不合格则填报工程报验单,并附上隐蔽工程检验单、预检单、质量保证资料、分项工程质量评定表。
最终监理工程师进行现场检查及审查实验报告。
在签证单上签字认可后,向监理方申报工程报验单并附上地基处理质量验收记录、质评表及相关资料。
监理工作验收制度编制人审核人四川万峰建设工程项目管理有限公司二零一六年三月一、编制目的为进一步加强现场土建工程的质量管控,对分部分项、隐蔽工程及竣工验收进行管理控制,确保经过验收后的工程质量达到规范及设计要求,公司特制订监理工作验收制度。
二、适用范围适用于各项目分部分项、隐蔽工程的验收及竣工验收。
三、管理控制程序1、材料进场验收按照现行国家规范、标准规定,建筑材料(含构配件、设备等)进入施工现场必须进行验收,确保设备材料质量、数量、规格符合要求。
1.1、施工单位应严格按照合同、设计文件规定的材料及设备的名称、规格、型号、质量进行购买;1.2、项目材料、设备进场验收,应邀请建设单位和监理单位有针对性地制定设备、材料进场验收要求、验收程序和验收方法,明确各环节具体负责人;1.3、材料、设备进场时,建设方、施工方和监理方必须依照国家相关规范规定,按照设备材料进场验收程序,认真查阅出厂合格证、质量合格证明等文件的原件,进口材料、设备进场时,应确保质量证明文件符合国家有关规定,要对进场实物与证明文件逐一对应检查,严格甄别其真伪和有效性,必要时可向原生产厂家追溯其产品的真实性。
发现实物与其出厂合格证、质量合格证明文件不一致或存在疑义的,应立即向主管部门报告;1.4、材料、设备供应单位要制作并提供标的样品。
建设方、施工方和监理方应按照相关技术标准对进场材料、设备进行封样,在施工现场封存。
供应商提供的产品运到施工现场后,要严格执行报验程序,对封样与到场产品进行比对,与封样不一致的不得使用;1.5、重要设备应按照供货合同中约定的厂内初检的相关内容,于发货前在生产厂内进行初检。
厂内初检由建设单位组织专业监理工程师、供货合同双方共同监督设备重要参数出厂检验的全过程,确认产品是否符合合同约定的技术要求;1.6、材料、设备进场时,施工单位要提前通知监理单位,监理人员对进场的材料必须严格审查全部质量证明文件,按规定进行见证取样和送检,对不符合要求的不予签认。
监理工作验收制度编制人审核人四川万峰建设工程项目管理有限公司二零一六年三月一、编制目的为进一步加强现场土建工程的质量管控,对分部分项、隐蔽工程及竣工验收进行管理控制,确保经过验收后的工程质量达到规范及设计要求,公司特制订监理工作验收制度。
二、适用范围适用于各项目分部分项、隐蔽工程的验收及竣工验收。
三、管理控制程序1、材料进场验收按照现行国家规范、标准规定,建筑材料(含构配件、设备等)进入施工现场必须进行验收,确保设备材料质量、数量、规格符合要求。
1.1、施工单位应严格按照合同、设计文件规定的材料及设备的名称、规格、型号、质量进行购买;1.2、项目材料、设备进场验收,应邀请建设单位和监理单位有针对性地制定设备、材料进场验收要求、验收程序和验收方法,明确各环节具体负责人;1.3、材料、设备进场时,建设方、施工方和监理方必须依照国家相关规范规定,按照设备材料进场验收程序,认真查阅出厂合格证、质量合格证明等文件的原件,进口材料、设备进场时,应确保质量证明文件符合国家有关规定,要对进场实物与证明文件逐一对应检查,严格甄别其真伪和有效性,必要时可向原生产厂家追溯其产品的真实性。
发现实物与其出厂合格证、质量合格证明文件不一致或存在疑义的,应立即向主管部门报告;1.4、材料、设备供应单位要制作并提供标的样品。
建设方、施工方和监理方应按照相关技术标准对进场材料、设备进行封样,在施工现场封存。
供应商提供的产品运到施工现场后,要严格执行报验程序,对封样与到场产品进行比对,与封样不一致的不得使用;1.5、重要设备应按照供货合同中约定的厂内初检的相关内容,于发货前在生产厂内进行初检。
厂内初检由建设单位组织专业监理工程师、供货合同双方共同监督设备重要参数出厂检验的全过程,确认产品是否符合合同约定的技术要求;1.6、材料、设备进场时,施工单位要提前通知监理单位,监理人员对进场的材料必须严格审查全部质量证明文件,按规定进行见证取样和送检,对不符合要求的不予签认。
监理工作验收制度目录一、编制目的 (2)二、适用范围 (2)三、管理控制程序 (2)1、材料进场验收 (2)2、隐蔽工程验收 (3)3、分项、分部、单位工程验收制度 (7)4、竣工验收 (8)一、编制目的为进一步加强现场土建工程的质量管控,对分局部项、隐蔽工程及竣工验收进行管理控制,确保经过验收后的工程质量到达标准及设计要求,公司特制订监理工作验收制度。
二、适用范围适用于各工程分局部项、隐蔽工程的验收及竣工验收。
三、管理控制程序1、材料进场验收按照现行国家标准、标准规定,建筑材料〔含构配件、设备等〕进入施工现场必须进行验收,确保设备材料质量、数量、规格符合要求。
1.1 、施工单位应严格按照合同、设计文件规定的材料及设备的名称、规格、型号、质量进行购置;1.2 、工程材料、设备进场验收,应邀请建设单位和监理单位有针对性地制定设备、材料进场验收要求、验收程序和验收方法,明确各环节具体负责人;1.3 、材料、设备进场时,建设方、施工方和监理方必须依照国家相关标准规定,按照设备材料进场验收程序,认真查阅出厂合格证、质量合格证明等文件的原件,进口材料、设备进场时,应确保质量证明文件符合国家有关规定,要对进场实物与证明文件逐一对应检查,严格甄别其真伪和有效性,必要时可向原生产厂家追溯其产品的真实性。
发现实物与其出厂合格证、质量合格证明文件不一致或存在疑义的,应立即向主管部门报告;1.4 、材料、设备供给单位要制作并提供标的样品。
建设方、施工方和监理方应按照相关技术标准对进场材料、设备进行封样,在施工现场封存。
供给商提供的产品运到施工现场后,要严格执行报验程序,对封样与到场产品进行比对,与封样不一致的不得使用;1.5 、重要设备应按照供货合同中约定的厂内初检的相关内容,于发货前在生产厂内进行初检。
厂内初检由建设单位组织专业监理工程师、供货合同双方共同监督设备重要参数出厂检验的全过程,确认产品是否符合合同约定的技术要求;1.6 、材料、设备进场时,施工单位要提前通知监理单位,监理人员对进场的材料必须严格审查全部质量证明文件,按规定进行见证取样和送检,对不符合要求的不予签认。
建设项目隐蔽工程质量验收实施细则(试行)第一章总则1.1 为强化建设项目隐蔽工程质量验收管理工作,保证工程质量,特制定本细则。
1.2本实施细则依据我国《建设工程质量管理条例》、《建筑工程施工质量验收统一标准》(GB/T50300-2001)、《建筑工程施工质量评价标准》(GB/T50375-2006)以及《市政道路工程质量检验评定标准》(CJJ1-90)、《市政排水管渠工程质量检验评定标准》(CJJ3-90)等行业标准,和现行国家、省、市有关工程质量的法律、法规、管理标准和有关技术标准制定。
1.3建设项目指挥部(以下简称指挥部)建设项目各参建单位必须贯彻执行本实施细则,做好隐蔽工程验收,确保工程质量。
第二章一般规定2.1隐蔽工程是指将被其后工程施工所隐蔽的分项、分部工程,在隐蔽前所进行的检查验收。
它是对一些已完工序、分项、分部工程质量的最后一道检查,由于检查对象要被其后续工程覆盖,给以后的检查整改造成困难,它是质量控制的一个关键环节。
2.2隐蔽工程往往直接影响工程的使用安全和使用功能,是施工过程的一项重要质量管理工作,如有质量隐患问题将直接影响建筑物的正常使用。
隐蔽工程验收记录同时又是工程竣工验收和竣工结算的重要依据。
2.3隐蔽工程验收必须确保隐蔽工程质量,并认真做好验收记录为工程质量验收提供依据。
2.4 隐蔽工程验收范围:市政道路工程、市政排水管渠工程、园林绿化工程、基础工程、混凝土结构、钢结构、砌体结构、屋面工程、建筑给水排水及采暖工程、建筑电气工程、通风与空调工程、电梯工程、智能建筑工程等结构中间检查验收且工程竣工后不能再进行质量检查评定的分部分项(工序)均属隐蔽工程,均应根据相关验收规范进行隐蔽工程验收。
第三章隐蔽工程验收程序和组织3.1隐蔽工程验收的程序:分部分项(工序)工程检验批完工后班组自检、互检、项目部质检工程师检查→项目经理部申请监理核检→监理单位组织验收(施工单位、监理单位、设计单位、指挥部参加)→关键部位、关键工序隐蔽验收工程管理部抽查→合格并签章(见附件2)。
监理工作验收制度编制人审核人四川万峰建设工程项目管理有限公司二零一六年三月一、编制目的为进一步加强现场土建工程的质量管控,对分部分项、隐蔽工程及竣工验收进行管理控制,确保经过验收后的工程质量达到规范及设计要求,公司特制订监理工作验收制度。
二、适用范围适用于各项目分部分项、隐蔽工程的验收及竣工验收。
三、管理控制程序1、材料进场验收按照现行国家规范、标准规定,建筑材料(含构配件、设备等)进入施工现场必须进行验收,确保设备材料质量、数量、规格符合要求。
1.1、施工单位应严格按照合同、设计文件规定的材料及设备的名称、规格、型号、质量进行购买;1.2、项目材料、设备进场验收,应邀请建设单位和监理单位有针对性地制定设备、材料进场验收要求、验收程序和验收方法,明确各环节具体负责人;1.3、材料、设备进场时,建设方、施工方和监理方必须依照国家相关规范规定,按照设备材料进场验收程序,认真查阅出厂合格证、质量合格证明等文件的原件,进口材料、设备进场时,应确保质量证明文件符合国家有关规定,要对进场实物与证明文件逐一对应检查,严格甄别其真伪和有效性,必要时可向原生产厂家追溯其产品的真实性。
发现实物与其出厂合格证、质量合格证明文件不一致或存在疑义的,应立即向主管部门报告;1.4、材料、设备供应单位要制作并提供标的样品。
建设方、施工方和监理方应按照相关技术标准对进场材料、设备进行封样,在施工现场封存。
供应商提供的产品运到施工现场后,要严格执行报验程序,对封样与到场产品进行比对,与封样不一致的不得使用;1.5、重要设备应按照供货合同中约定的厂内初检的相关内容,于发货前在生产厂内进行初检。
厂内初检由建设单位组织专业监理工程师、供货合同双方共同监督设备重要参数出厂检验的全过程,确认产品是否符合合同约定的技术要求;1.6、材料、设备进场时,施工单位要提前通知监理单位,监理人员对进场的材料必须严格审查全部质量证明文件,按规定进行见证取样和送检,对不符合要求的不予签认。
为了规范项目部隐蔽工程验收管理,合理有效地控制工序进展,确保工程质量,特制定本制度。
一、隐蔽工程质量验收办法及流程1、项目部负责本项目隐蔽工程验收的管理,监督总包方完成相关验收资料准备、隐蔽工程验收,并完成验收后的消缺整改。
2、项目施工分包方负责完成隐蔽工序的施工、相关验收资料准备和内部自检,负责按照约定时间通知项目部及监理组织隐蔽工程验收,并负责验收后的消缺整改.3、隐蔽工程验收项目 ,由总包方在编制《项目质量保证体系方案》及《项目施工组织设计》予以明确,具体范围一般参考《建筑工程施工质量验收统一标准》质量验评范围表中所列出的隐蔽工程项目.4、项目施工总包方必须在隐蔽工程项目完成施工,并具备验收的基本条件时,且自检合格后方可进行隐蔽工程项目验收的申请报验。
5、项目施工总包方需填写“隐蔽工程质量检查记录表” ,提前24 小时书面向项目部及监理报验 ,各有关单位应派人员按时到达现场,共同检查。
6、隐蔽验收的参加单位应包括:总承包、勘测设计单位代表、监理单位/业主、必要的检测单位等,重要部位的隐蔽验收应当邀请业主代表和质量监督部门代表参加。
7、总包方应做好隐蔽工程的验收准备工作,做好自检记录,并提供相关检验试验记录等技术资料。
8、总承包方按照设计图纸和相关规程、规范,对照分包单位自检记录和施工记录进行现场实物抽查,抽查时分包方应出具有关技术资料.9、经验收签证后的隐蔽工程项目,施工总包方不得自行变动 ; 验收合格后经参加验收各方签证后方可隐蔽,进行下道工序作业。
10、若经检查验收发现问题,按不合格品处理制度执行。
若总包方不按要求消缺处理的,不能进行隐蔽,不能进行下道工序作业。
11、质量问题处理完后必须通知监理和甲方重新检查,否则甲方及监理方有权通知施工总包方返工或停工。
12、施工总包方未按规定向监理报验而自行隐蔽,甲方及监理有权要求施工总包方对已隐蔽完部位进行开挖、剥露或解体,施工总包方必须按要求办理,其检查费用和有关的施工费用由总包方承担。
工程验收流程图(总10页)--本页仅作为文档封面,使用时请直接删除即可----内页可以根据需求调整合适字体及大小--工程验收程序一、程序概况:1、程序目的:明确工程验收程序,规范工程验收过程,保证工程验收全面、有效、合法。
2、适用范围:本程序适用于本公司项目工程的验收管理。
3、定义:3、1:中间验收:指工程项目实施过程中对各分部、分项工程的质量验收,如基础、主体结构、装修、电气安装等分部验收,钢筋、模板、混凝土、抹灰、砌体等分项工程验收。
3、2:交接验收:指不同工序间的工作面移交时(亦即不同施工队伍配合施工)的检查验收。
3、3:单项工程验收:指独立施工的,需政府相关主管部门参与的,具有垄断性质的工程验收,如永久供水、永久供电、消防、电梯、环保、人防等。
3、4:竣工验收:指工程完工后具备交付适用条件时,由建设方(开发商)组织的,有施工方、监理方、设计方(含地质勘察)以及政府监督部门参与的工程验收。
3、5:竣工综合验收:指各单位单项工程验收合格后,由建设方组织的,有施工方、监理方、设计方(含地质勘察)以及政府监督部门参与的工程验收,并签署综合验收文件、报告,该项验收完成后即可进行档案备。
4、验收组织成员:4、1:中间验收:项目部质量技术管理负责人(或项目工程质量监理工程师),施工单位负责人,外部监理单位工程师,工程技术部工程师、设计单位(必要时)和政府质量监督部门(必要时)。
4、2:交接验收:交接双方施工单位负责人,项目部质量技术管理负责人(或项目工程质量监理工程师),项目部专业工程师。
4、3:单项工程验收:施工单位负责人,项目部质量技术管理负责人(或项目工程质量监理工程师),项目部专业工程师,工程技术部工程师、成本部造价工程师、物业管理人员(或客服)、设计单位和政府相关主管部门。
4、4:竣工验收和竣工综合验收:施工单位负责人(指总承包单位),项目部质量技术管理负责人(或项目工程质量监理工程师),项目部专业工程师,工程技术部工程师、成本部造价工程师、物业管理人员(或客服)、设计单位和政府相关主管部门。
监理工作流程图(全套)施工阶段监理工作总程序:1.项目监理组进驻现场,熟悉图纸有关资料,编制监理实施细则,并通知监理人员名单和监理工程师权限。
2.进行施工现场调查,检查施工现场的安全保护和文明设施,并通知监理程序送施工单位。
3.进行图纸会审和施工组织设计审批,并召开第一次工地会议投资控制,签发开工指令。
4.实施监督与管理,使用报表通知分包单位资格审查、审核工程量、审核预算、签发工程付款单、处理索赔,督促施工单位严格按规范、图纸及工艺标准施工,按规定及要求报验,分析查明原因,监督返不合格修、返工,合格质量控制和进度控制。
5.审核上岗人员资格,预控原材料、构配件和设备,质量预控及验收分部分项与单位工程,组织竣工初验,协助业主组织竣工验收,参与质检部门核定质量等,审核总进度计划和年、季、月施工进度计划实际进度与计划进度对比分析、调整,签发竣工移交证书,施工阶段监理总结安全控制。
施工准备阶段监理程序:1.监理人员进场,协助业主进行施工招标投标,办理建筑、开工、施工许可证,办理施工临时用电、临建报批手续,办理拆迁、消防、交通、环保、绿化、通讯等手续。
2.进行现场复查施工放线、测量原始地面线,现场交桩,图纸会审、技术交底、施工组织设计、方案审查,召开第一次工地会议,工程开工,进入施工阶段监理。
开工申请核签程序:1.施工单位提出申报,总监室提出意见,与业主及各方面协调会,初审意见转发现场监理工程师。
2.现场监理工程师协调会议纪要签发程序,主持协调会,指定有关人员拟订会议纪要文稿,审查、核定,征求有关方面包括业主意见,修改后签章、行文外发。
图纸会审及技术交底程序:1.熟悉施工图纸,初审提出问题,各专业监理工程师监理组内部会审,总监主持,整理列出问题清单。
2.清单问题审核,总监理工程师清单问题补充,各专业监理工程师清单问题汇总,汇总清单问题报业主,列出设计要点、施工重点及难点。
3.设计院各专业监理工程师召开技术交底会,在业主、施工单位、设计单位、监理单位四方图纸会审会上,由设计院交底并就准备好的问题进行答疑,业主、设计单位、监理单位、施工单位整理设计会审纪要发有关单位。
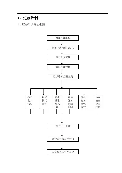
1、进度控制
1、准备阶段流程框图
2、施工阶段进度控制工作流程框图
3、总体/阶段/月工程进度计划审批流程框图
4、进度计划审批工作流程框图
5、工程延期及工程延误的处理程序框图
2、工程质量控制
1、施工阶段质量控制工作流程框图
2、材料控制工作流程框图
5、分项工程开工审批程序框图
6、审查施工组织设计(方案)的监理工作程序框图
注:施组方案有重大调整时,施工单位应重新编制施工组织设计(方案)并按程序报审
7、分包单位资格审查程序框图
8、隐蔽工程检查验收程序框图
9、工序验收程序
10、分项工程验收流程图
13、工程质量缺陷、质量隐患处理程序框图
14、质量事故工作流程框图
3、工程造价控制
1、施工阶段计量支付工作流程
2、费用索赔与反索赔的处理程序图
注:1、费用索赔与工期相关时,应一并考虑作出索赔决定。
2、建设单位向承包单位提出反索赔时,亦应按此程序处理。
隐蔽工程验收工作制度范文一、总则本制度是为规范和指导隐蔽工程验收工作而制定,旨在确保隐蔽工程质量达到标准要求,保障工程质量和安全。
本制度适用于所有从事隐蔽工程验收工作的相关人员。
二、工作职责1. 施工单位:负责隐蔽工程施工过程的质量控制,按照规范要求进行隐蔽工程验收工作,确保施工过程中的质量合格。
2. 监理单位:负责对隐蔽工程的验收过程进行监督和管理,依据相关规范和标准进行验收,并及时报告施工单位和业主单位。
3. 业主单位:负责对隐蔽工程的验收结果进行确认和审批,并及时通知监理单位和施工单位。
三、工作流程1. 隐蔽工程验收前准备1.1 施工单位应在隐蔽工程施工之前,按照设计文件和相关规范,编制隐蔽工程验收计划,并报监理单位备案。
1.2 监理单位应审查并确认隐蔽工程验收计划,及时向施工单位提出修改意见或建议。
1.3 施工单位按照监理单位的要求进行修改并重新编制隐蔽工程验收计划,监理单位确认后,方可进行施工。
2. 隐蔽工程验收过程2.1 施工单位应于隐蔽工程施工完成后,及时通知监理单位进行验收。
2.2 监理单位按照隐蔽工程验收计划,对隐蔽工程的施工质量进行检查。
检查内容包括但不限于材料符合要求、施工工艺正确、安全防护措施到位等。
2.3 监理单位在验收过程中发现不合格问题,应及时向施工单位提出整改要求,并记录整改情况。
2.4 施工单位按照监理单位的整改要求进行整改,并定期向监理单位报告整改进度。
2.5 监理单位在检查发现隐蔽工程质量达到要求后,将验收结果告知施工单位和业主单位。
3. 隐蔽工程验收后工作3.1 业主单位应审查并确认隐蔽工程的验收结果。
3.2 如发现隐蔽工程存在质量问题,业主单位应及时通知监理单位和施工单位,并要求整改。
3.3 施工单位按照业主单位的要求进行整改,并定期向业主单位报告整改情况,直至问题完全解决。
四、工作纪律1. 施工单位和监理单位应严格按照隐蔽工程验收计划进行工作,不得随意调整和变动。
隐蔽工程监理工作程序流程图: 不合格
合格 不合格
合格 不合格
合格 隐蔽工程报验
承包商 应附: 1、 工程报验单;
2、 自检记录;
3、 质评表;
4、 其他有关资料。
施工现场检查验收
专业监理工程师
下达监理通知并提出整改要求
承包商
整改后再次检查验收
承包商、监理工程师
下达不合格项目通知,限期整改
监理工程师
监理验收结果
下令停产整顿或签发更换施工队伍的通知
监理工程师 下道工序
监理验收结果
监理验收结果
整改后第三次检查验收
承包商、监理工程师
在隐蔽记录上签字认可 监理工程师。
监理作业程序1.监理作业程序1.1.施工监理的前期准备作业经与业主协商一致后签署监理委托协议,接受监理任务。
设立项目监理机构,委派总监理工程师.总监代表.各专业监理工程师,并明确岗位责任。
配备监理设施及检测设备,熟悉施工图纸,编制项目监理规划及实施细则。
业主有需求时,可协助业主组织施工协议的招标.评标.优选中标单位。
1.2.施工准备阶段的监理作业参与由业主组织的设计交底;审定施工组织设计.施工方案;审查施工测量结果;对施工现场周围环境的调查;检查承包单位技术管理及质量保障体系的落实;检查施工现场的安全防护.消防卫生设备.文明施工措施,提出意见并监督执行;召开第一次工地会议,进行施工监理交底;检查开工条件,批准开工。
1.3.施工过程中的三控.二管.一协调的作业程序1.质量控制作业程序(1)分包单位资质审查选择分包单位→总承包填写“分包单位资质报审单”→总监理工程师审查(总监同意)→总承包方与分包单位签署施工分包协议→分包单位进场施工。
(2)工程材料.构配件和设备进场检验程序承包单位填写“工程物资进场报验表”,监理工程师进行审核,合格后同意进场;不合格另选。
(3)隐蔽验收。
所有隐蔽工程必须经施工方自检合格并报监理验收合格后方能进行下道工序。
(4)分项.分部工程监理作业程序承包单位达到分项工程报验条件进行自检合格后填写“分项/分部工程施工报验表”报监理工程师审核,若不合格,承包单位进行纠正后重新报验;若合格监理工程师签认分项工程报验单,施工单位可进入下道工序施工。
达到分部工程验收条件时,施工单位先自检,然后填写“分部工程施工报验表”报监理工程师审核,若不合格,承包单位进行纠正后重新报验;若合格,监理工程师签认分部工程报验表2.进度控制作业程序(1)承包单位编制施工总进度计划,经总监理工程师批准后执行。
(2)承包单位应按年.季.月编制进度计划报总监审批后执行;监理工程师对实施情况进行检查.分析,若严重偏离计划目标则应指示承包单位采取措施及时纠偏。
紫宸居项目一期隐蔽工程质量验收制度1 总则隐蔽工程质量验收的目的,在于使工程项目质量控制做到工序控制,内部层层把关,把质量问题消除在隐蔽之前,从而有效地控制施工质量,求得工程项目整体质量得到保证,使用户得到一个质量上放心的工程。
2 隐蔽工程的概念隐蔽工程是指那些在上一道工序结束,被下一道工序所掩盖,正常情况下无法进行复查的项目。
例如:地下基础工程;钢筋工程;建筑工程的防水工程和地下与水下结构的防水、防腐工程;设备封闭前的内部质量验收;以及埋入设备、结构内部及保温、防腐层的焊接工程等。
3 隐蔽工程验收程序3。
1 施工单位应提前一个工作日向监理部提交“隐蔽工程报验单”,并同时提供以下资料:3.1.1 与隐蔽工作有关的设备消缺、设计变更、不合格项处理的签证记录;3。
1.2 经过复核的隐蔽部件材质检验报告;3。
1.3 经过复核的隐蔽项目施工自检原始记录;3.1。
4 隐蔽工作报告(含施工作业质量与标准的差异,遗留问题的处理意见)。
3。
2 监理部决定验收的时间(原则上不得超过收到验收申请后48小时),通知施工单位。
按照质量计划应有业主方人员参加的项目,应通知质检站.3.3 隐蔽工程验收内容3.3。
1 检查隐蔽工作项目已施工完备,并具备验收的基本条件。
3。
3。
2 现场实地抽查施工记录。
抽查时施工单位应认真配合。
3。
3.3 工程验收合格并签证后方可隐蔽,进行下道工序作业。
隐蔽项目一经签证,不得自行变动部件尺寸、位置。
3。
3。
4 经查验隐蔽工作项目未全部完成,主要技术记录不完整或失真时,隐蔽验收工作暂缓,待施工单位整改自检后重新申报。
4 隐蔽工程验收表格隐蔽工程验收签证所用表格,施工单位根据《工程质量检验评定统一表格》提出样式报监理部认可。
5 隐蔽验收工作出现下列情况的处理原则:5。
1 被确定为见证点的项目,监理部未按约定的检查时间按时派员到场检查验收,施工单位在等候八小时后可自行隐蔽,但必须作好记录。
被确定为停工待检点的项目,必须等待监理工程师检查验收后方可隐蔽。
地下隐蔽工程施工流程表地下隐蔽工程是指在地表上进行的工程活动,其中的活动主要包括地下施工、施工建筑物的支撑工程、地下排水及其他地下工程活动等,从而避免对地表的影响。
地下隐蔽工程在城市建设和基础设施建设中起着非常重要的作用,因此对其施工过程的规范和流程非常重要。
本文将详细介绍地下隐蔽工程施工流程,以帮助读者了解地下隐蔽工程施工的阶段和步骤。
一、前期准备1、了解工程情况:在进行地下隐蔽工程前需要充分了解工程要施工的区域、有关方案、工程范围和契约内容。
2、积极联系相关方:与施工单位、设计单位、监理单位等相关方积极联系,准备施工需要的材料和设备。
3、规划施工方案:对地下隐蔽工程进行规划,包括工程的总体设计、施工图纸的制定、材料和设备的准备等。
4、采购材料和设备:根据施工方案,及时采购所需要的材料和设备,保证施工过程需用。
5、组织施工人员:对施工人员进行培训和组织,做好人员调配和岗位安排。
6、确定质量和安全标准:制定工程的质量和安全标准,保证施工过程中得到有效的监管和控制。
二、实施地下隐蔽工程1、测量和定位:先对工程区域进行测量和定位,便于施工人员准确定位工程点位。
2、挖掘和开挖:对地下隐蔽工程区域进行挖掘和开挖,确保开挖时保证工地安全。
3、辅助施工:在地下隐蔽工程的挖掘和开挖过程中需要进行一些辅助作业,例如用挖掘机进行辅助开挖。
4、支护施工:在挖掘和开挖完毕后,需要进行支护工程,确保施工现场的安全和工程的正常进行。
5、放线和布放排水:根据设计要求对地下隐蔽工程进行放线和布放排水,确保地下隐蔽工程的排水通畅。
6、施工管理:对地下隐蔽工程施工现场进行管理,规范施工人员的施工行为。
7、质量检查:对施工完成的工程进行质量检查,保证工程的质量符合标准。
8、验收和交接:工程施工完毕后进行验收,确保施工工程符合相关标准要求,然后对工程进行交接。
三、收尾工作1、清理现场:对施工现场进行清理,清除施工现场上的垃圾和杂物。
隐蔽工程验收监理工作流程实施要点:1、凡施工中经后道工序遮盖后不宜或不能再检查的工程内容均属隐蔽工程验收范围。
2、专业监理工程师应在承包商的隐蔽工程验收单上签署验收意见,并备份。
隐蔽工程验收各程序说明隐蔽工程是指在施工过程中上道工序被下道工序所掩盖,无法再次进行其自身的质量检查的部位。
对隐蔽工程进行检查,并通过表格的形式将工程隐蔽检查项目的隐蔽内容、质量情况、检查意见、复查意见等记录下来,形成隐蔽工程检查记录,作为以后各项建筑安装工程合理利用、维护、改造、扩建等重要的技术资料。
隐蔽工程不可以逆向作业,隐蔽工程被后续工序隐蔽后,其施工质量很难检验及认定,如果不认真做好隐蔽工程的验收检查,就容易给工程留下隐患,为了做好隐蔽工程的检查,保证前后工序顺利进行,凡未经隐蔽工程检查或检查不合格的工程,不得进行下道工序的施工,隐蔽工程检查记录要做到内容简练、明了,数据准确、可靠,隐蔽工程检查的程序明确。
隐蔽工程检查程序隐蔽工程施工完成后,由现场专业工程师进行自检,填写自检记录,自检合格报专职质检工程师进行检查,专职质检工程师检查合格填写隐蔽工程检查记录表,由项目技术负责人组织,监理工程师及有关分包单位、企业内的质量检查员、施工员参加验收。
监理工程师验收提出整改要求,整改后需复验的必须通知监理工程师复验。
地基基础和结构分部所含分项工程及重大或特殊部位还要邀请有关设计人员、质量监督人员、企业技术负责人、专业技术负责人共同参加验收。
自检不合格不得报验。
未经监理工程师验收不得进行下一道工序施工。
监理工程师验收不合格的不得进行下一道工序施工。
若检查存在问题,则在验收结论中给予明示。
对存在的问题,必须按处理意见进行处理。
隐蔽工程检查的依据资料:(1)施工图纸、设计说明;(2)图纸会审记录、设计变更材料;(3)施工及验收规范、质量检验评定标准以及有关设计施工规程;(4)材料、构件、设备出厂合格证、检验报告或材料复试报告;(5)有关分项工程质量验收记录。
隐蔽工程具体包括:建筑地基基础工程一、土方工程:基槽、房心回填前检查基底清理、基底标高、基底处理情况等。
二、混凝土灌注桩地下防水工程隐蔽内容一、防水混凝土工程1、检查混凝土的结构厚度,迎水面钢筋保护层厚度;2、混凝土的变形缝、施工缝、后浇带、穿墙螺栓,预埋件等设置的位置、形式和构造等;3、人防出口止水做法;二、水泥砂浆防水层三、卷材防水层1、防水层基层、防水材料规格、厚度、铺设方式、阴阳角处理、搭接密封处理等;2、变形缝、穿墙管道等细部构造等情况。
四、涂料防水层五、细部构造检查变形缝、施工缝、后浇带、穿墙管道、预埋件等设置的形式和构造情况。
六、渗排水、盲沟排水1、渗排水层的构造、铺设2、盲沟的构造情况建筑结构工程隐蔽内容一、结构工程1、结构钢筋绑扎:检查钢筋绑扎规格、数量、位置、间距、锚固和接头位置、搭接长度、保护层厚度、钢筋及垫块绑扎和钢筋除锈情况。
2、结构钢筋连接:检查钢筋连接形式、连接种类、接头位置、数量和连接质量,若是焊接,还要检查焊条、焊剂的产品质量,检查焊口形式、焊缝长度、厚度、表面清渣情况。
3、柱、梁、楼梯、板钢筋(包括数量、规格、品种、搭接长度、焊接情况、保护层厚度、箍筋间距、预埋件等,每层一次)。
4、雨篷、阳台、空调板等悬臂部位钢筋(每层一次)。
5、屋顶水箱钢筋(包括数量、规格、品种、搭接长度)。
6、女儿墙压顶钢筋(包括数量、规格)。
二、配筋砌体工程配筋砌体主筋,配筋砌体箍筋,砌体拉结筋、构造筋,与基体连接方式。
建筑装饰装修工程一、楼地面工程:检查各构造层(垫层、找平层、隔离层、填充层)的材料品种、规格、铺设厚度、铺设方式、坡度、标高、表面情况、节点密封处理等情况;变形缝的处理;防净电地板的接地处理。
二、浴厕工程:检查基层含水率、地漏、套管、卫生器具根部、阴阳角等部位的处理情况,防水层墙面的涂刷情况。
三、抹灰工程:界面剂情况,抹灰厚度大于或等于35mm时的加强措施;不同材料基体交接处的加强措施,抹灰前基层表面的清洁度;当底灰抹平后,暖气、电气设备的箱、槽、孔洞口周边的抹灰情况;外墙和顶棚抹灰层与基层之间,各抹灰层之间的黏结质量情况等。
四、门窗工程:1、预埋件和锚固件的埋设:数量、位置、间距、防腐处理、埋设方式、与框和墙体的连接方式等。
2、门窗安装:安装位置、与墙体连接方式;缝隙防腐、填嵌及密封处理等。
3、固定玻璃的钉子或钢丝卡的数量、规格、位置及玻璃垫块的设置,数量、规格、位置安装方法以及橡胶垫的设置应符合有关标准的规定。
4、木门窗与砖石砌体、混凝土或抹灰层接触处应进行防腐处理并应设防潮层;埋入砌体或混凝土中的木砖的防腐处理。
5、金属门窗防雷装置的设置应符合设计和有关标准的规定。
五、吊顶工程:木龙骨防火、防腐处理;预埋件或拉结筋;吊杆安装;龙骨安装;填充材料设置。
六、轻质隔墙工程:1、预埋件、连墙件、拉结筋埋设:数量、位置、间距、与周边墙体(基体结构)的连接方法及牢固性、铁件防锈防腐处理等。
2、龙骨安装:龙骨材质、规格、安装间距、连接方式,门窗洞口等部位加强龙骨安装;边框龙骨安装与基体结构连接;木龙骨防火、防腐处理等。
3、填充材料的铺置:品种、规格、铺设厚度、固定情况等。
4、轻质隔墙与顶棚和其他墙体交接处的防开裂措施。
七、饰面板(砖)工程:1、连接节点:连接件之间的连接、连接件与墙体的连接、连接件与饰面板的连接、防腐处理等。
2、预埋件(后置埋件)、连接件:品种、规格、数量、位置、连接方法和防腐、防锈、防火处理等。
3、找平、防水层铺置:材料品种、规格、铺设方法及厚度。
4、抗震缝、伸缩缝、沉降缝等部位的处理应符合设计要求。
5、湿贴石材的背涂处理:石材板与基层之间的灌注材料应饱满、密实。
八、裱糊、软包工程1、裱糊饰面工程用的腻子、基底封闭底漆。
2、软包工程的龙骨、底板、边框或压条应安装牢固、无翘曲、拼缝平直。
内衬、填充构造、防火处理应符合设计要求及有关规范、规程规定。
九、幕墙工程:1、预埋件(或后置埋件)、连接件、紧固件连接:各种埋件、连接件、紧固件的数量、规格、位置、锚固深度和防腐处理等。
2、连接节点处理:幕墙顶部(女儿墙部位)、幕墙底部、立柱、梁柱等的连接情况。
3、变形缝及墙面转角处的构造节点处理:幕墙的抗震缝、伸缩缝、沉降缝等部位的处理(宜采用详图示意),墙角的连接节点(宜采用详图示意)应符合设计要求和技术标准的规定;变形缝罩面与两侧幕墙结合处不得参透。
4、幕墙防雷装置设置:幕墙应形成自身的防雷体系,并与主体结构的防雷体系可靠地连接,严禁串联;女儿墙部位的连接节点(宜采用详图示意)应符合设计规定等。
5、幕墙防火、保温及防潮层构造处理。
十、细部工程:1、木制品的防潮、防腐、防火处理。
2、预埋件(或后置埋件)埋设及节点的连接,橱柜、护栏和护手预埋件或后置埋件的数量、规格、位置、防锈处理以及护拦与预埋件的连接点。
屋面工程隐蔽内容一、卷材、涂膜防水层的基层二、.密封防水处理部位三、.天沟、檐沟、泛水和变形缝等细部作法四、.卷材、涂膜防水层的搭接宽度和附加层五、.刚性保护层与卷材、涂膜防水层之间的隔离层建筑给水、排水及采暖工程隐蔽内容一、直埋于地下或结构中,暗敷设于沟槽内、管井、不进入顶内的给水、排水、雨水、采暖、消防管道和相关设备,以及有防水要求的套管:检查管材、管件、阀门、设备的材质与型号、安装位置、标高、坡度;防水套管的定位及尺寸;管道连接做法及质量;附件使用,支架固定,以及是否已按照设计要求及施工规范规定完成强度严密性、冲洗等试验。
二、有保温隔热、防腐要求的给水、排水、采暖、消防、喷淋管道和相关设备:检查绝热方式、绝热材料的材质与规格、绝热管道与支吊架之间的防结露措施、防腐处理材料及做法等。
三、埋地的采暖、热水管道,在保温层、保护层完成后,所在部位进行回填之前,应进行隐检:检查安装位置、标高、坡度;支架做法;保温层、保护层设置等。
四、埋地管道穿卫生间门口或墙体应设置套管,在垫层施工之前也应对该套管进行隐检。
通风与空调工程隐蔽内容一、敷设于竖井内,不进人吊顶内的风道(包括各类附件、部件、设备等):检查风道的标高、材质、接头、接口严密性,附件、部件安装位置,支、吊、托架安装、固定,活动部件是否灵活可靠、方向正确,风道分支、变径处理是否合理,是否符合要求,是否已按照设计要求及施工规范规定完成风管的漏光、漏风检测、空调水管道的强度严密性、冲洗等试验。
检查风道、风管穿过变形缝处的补偿装置。
二、有绝热、防腐要求的风管、空调水管及设备:检查绝热形式与做法、绝热材料的材质和规格、防腐处理材料及做法。
绝热管道与支架之间应垫以绝热衬垫或经防腐处理的木衬垫,其厚度应与绝热层厚度相同,表面平整,衬垫接合面的空隙应填实。
建筑电气工程隐蔽内容一、埋于结构内的各种电线导管:检查导管的品种、规格、位置、弯扁度、弯曲半径、连接、跨接地线、防腐、管盒固定、管口处理、敷设情况、保护层、需焊接部位的焊接质量等。
二、利用结构钢筋做法的避雷引下线:检查轴线位置、钢筋数量、规格、搭接长度、焊接质量、与接地极、避雷网,均压环等连接点的焊接情况等。
三、等电位及均压环暗埋:检查使用材料的品种、规格、安装位置、连接方法、连接质量、保护层厚度、防腐处理等。
四、接地极装置埋设:检查接地极的位置、间距、数量、材质、埋深、接地极的连接方法、连接质量、防腐处理等。
五、外金属门窗、幕墙与避雷引下线的连接:检查连接材料的品种、规格、连接位置和数量、连接方法和质量等。
六、不进入吊顶内的电线导管:检查导管的品种、规格、位置、弯扁度、弯曲半径、连接、跨接地线、防腐、需焊接部位的焊接质量、管盒固定、管口处理、固定方法、固定间距等。
七、不进入吊顶内的线槽:检查材料品种、规格、位置、连接、接地、防腐、固定间距及与其他管线的位置关系等。
八、直埋电缆:检查电缆的品种、规格、埋设方法、埋深、弯曲半径、标桩埋设、电缆接头情况等。
九、不进人的电缆沟敷设电缆:检查电缆的品种、规格、弯曲半径、固定方法、固定间距、标识情况等。
十、有防火要求时,桥架、电缆沟内部的防火处理。
智能建筑工程隐蔽内容一、埋在结构内的各种电线电管:检查导管的品种、规格、位置、弯扁度、弯曲半径、连接、跨接地线、防腐、需焊接部位的焊接质量、管盒固定、管口处理、敷设情况、保护层等。
二、不能进人吊顶内的电线导管:检查导管的品种、规格、位置、弯扁度、弯曲半径、连接、跨接地线、防腐、需焊接部位的焊接质量、管盒固定、管口处理、固定方法、固定间距等。
三、不能进人吊顶内的线槽:检查员其品种、规格、位置、连接、防腐、固定方法、固定间距等。
四、直埋电缆:检查电缆的品种、规格、埋设方法、埋深、弯曲半径、标桩埋设情况等。
五、不进人的电缆沟敷设电缆:检查电缆的品种、规格、弯曲半径、固定方法、固定间距、标识情况等。