进度控制流程度进度计划的编制流程a
- 格式:docx
- 大小:399.69 KB
- 文档页数:2
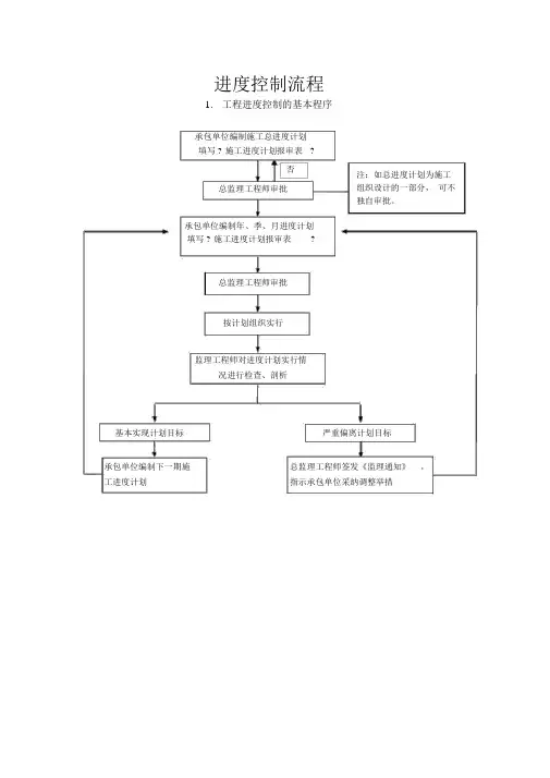
进度控制流程1.工程进度控制的基本程序承包单位编制施工总进度计划填写 ? 施工进度计划报审表?否总监理工程师审批承包单位编制年、季、月进度计划填写 ? 施工进度计划报审表?总监理工程师审批按计划组织实行监理工程师对进度计划实行情况进行检查、剖析基本实现计划目标注:如总进度计划为施工组织设计的一部分,可不独自审批。
严重偏离计划目标承包单位编制下一期施总监理工程师签发《监理通知》,工进度计划指示承包单位采纳调整举措2.监理工作程序1.承包人提交施工总进度计划3.调整和改正不一样意施工总进度计2.监理机构审批划赞同4.承包人编报年、季、月施工进度计划不一样意6.调整和改正施5.监理机构审批工进度计划赞同7.承包人实行施工进度计划,按月编报施工进度报告9.发生实质进度与计划进度不符(拖后)8.监理机构监察、检查施工进度10 能否影响总工是11.承包人拟订赶工计划,调整期、后续工作安排进度计划并采纳有效举措追长进否14.连续施工是 12 .能否知足要求否13.订正进度计划附录 C.4进度控制监理工作程序图1.工程量及累计数2.工作量及累计值3.各工种用工数及周期需要量总工日数4.劳动效率5.大型资料需要量6.主要资料需要量7.上期对照状况3.年(月)度进度计划的编制监理工作流程研究赞同的施工进度计划成长周期的生产计划项目剖析列出各项目计划施工的工程量工作量、用工人数、工作时间缓期事件能否连续切合编制初始施工生产计划不切合检查切合编制正式施工生产计划计算各项计划指标编制计划说明书编制现场工料机报表报监理工程师审察不一样意审察结果赞同赞同实行不切合考虑应采纳的举措1.工程能否切合要求2.工作能否连续作业3.劳动力平衡况状4.资源供给时间5.各工程之间的逻辑关系6.重点线路1.上期现场工、料、机数目2.本期现场计划的工、料、机数目4. 施工总进度计划的编制监理工作程序图熟习合同、图纸、说明等检查现场条件、当地技术经济资料作出基本假想(区分人力、施工方法、施工机械安排)进行技术经济比较有改正必需无进行项目分解计算工程量计算劳动量计算各分部分项工程施工连续时间编制施工进度计划草案工期、工程花费剖析有改正必需无施工准备编制劳动力主要机构设备主要资料构件暂时设备工作计划需要量计划需要量计划需要量计划需要量计划编制工作量达成计划履前进度计划赞同报监理工程师审察不一样意5.索赔办理经理程序1.索赔事件发生2.承包人向监理机构提交索赔意愿通知3.监理机构核查索赔项目记录和资料4.承包人提交中期/ 最后索赔申请报告5.监理机构审察索赔申请报告是7.承包人提交增补资6.能否需提交增补资料料监理机构审察否8.监理机构做出索赔办理决定9.发包人、承包人能否接受是否11.索赔建立10.进入争议解决程序附录 C.7索赔办理监理工作程序图6.工程款完工结算基本程序工程经各方完工查收承包单位提交完工结算资料监理工程师审察三方磋商总监理工程师签发完工结算《工程款支付证书》建设单位审察、赞同建设单位向承包单位支付7.工程款支付基本程序监理工程师对分项、分部工程已签认承包单位填写?()月工程进度款报审表?工程更改花费、索赔花费等监理工程师审察月工程量和月工程进度款并签认承包单位汇总已审察款项填写 ?工程款支付申请表?监理工程师审察三方磋商总监理工程师签发? 工程款支付证书?建设单位负责人审批建设单位向承包单位支付8.工程支付基本程序1.单元工程查收合格2.承包人申请工程计量3.监理机构进行工程计量、复核4.承包人与监理机构共同进行计量汇总5.承包人编制并提交工程价款月支付申请6.监理机构审察否7.能否经过是8.监理机构签发工程价款月付款证书9.报发包人审批10.发包人支付附录 C.5工程款支付监理工作程序图9.月工程计量和支付基本程序监理工程师对分项、分部工程已签认承包单位填写?月达成工程量报审表?双方协商监理工程师审批设计更改花费、合同更改花费、索赔花费等承包单位按审批的工程量填写? 月付款报审表 ? 和 ?月支付汇总表?三方协监理工程师审察商修改总监理工程师签发? 工程款支付证书?建设单位负责人审批建设单位向承包单位支付。
进度控制的程序和内容进度控制的程序项目监理机构应按下列程序进行工程进度控制:1.总监理工程师审批承包单位报送的施工总进度计划;2.总监理工程师审批承包单位编制的年、季、月度施工进度计划;3.专业监理工程师对进度计划实施情况检查、分析;4.当实际进度符合计划进度时,应要求承包单位编制下一期进度计划;当实际进度滞后于计划进度时,专业监理工程师应书面通知承包单位采取纠偏措施并监督实施。
进度控制的内容施工阶段进度控制的主要内容包括施工前、施工过程中和施工完成后的进度控制。
1.施工前进度控制的内容(1)编制施工阶段进度控制方案施工阶段进度控制方案是监理工作计划在内容上的进一步深化和补充,它是针对具体的施工项目编制的,是施工阶段监理人员实施进度控制的更详细的指导性技术文件,是以监理工作计划中有关进度控制的总部署为基础而编制的,应包括:1)施工阶段进度控制目标分解图;2)施工阶段进度控制的主要工作内容和深度;3)监理人员对进度控制的职责分工;4)进度控制工作流程;5)有关各项工作的时间安排;6)进度控制的方法(包括进度检查周期、数据收集方式、进度报表格式、统计分析方法等);7)实现施工进度控制目标的风险分析;8)进度控制的具体措施(包括组织措施、技术措施、经济措施及合同措施等);9)尚待解决的有关问题等。
(2)审核或编制施工总进度计划审核的内容包括:1)进度安排是否满足合同工期的要求和规定的开竣工日期;2)项目的划分是否合理,有无重项或漏项;3)项目总进度计划是否与施工进度分目标的要求一致,该进度计划是否与其他施工进度计划协调;4)施工顺序的安排是否符合逻辑,是否满足分期投产使用的要求,是否符合施工程序的要求;5)是否考虑了气候对进度计划的影响;6)材料物资供应是否满足均衡性和连续性的要求;7)劳动力、机具设备的计划是否能确保施工进度分目标和总进度计划的实现;8)施工组织设计的合理性、全面性和可行性如何;应防止施工单位利用进度计划的安排造成建设单位的违约、索赔事件的发生;9)建设单位提供资金的能力是否与进度安排一致;10)施工工艺是否符合施工规范和质量标准的要求;11)进度计划应留有适量的余地,如应留有质量检查、整改、验收的时间;应当在工序与工序之间留有适量空隙、机械设备试运转和检修的时间等。
二建《管理》真题及参考答案二级建筑师《管理》真题及参考答案一、选择题1、在建设工程项目总进度目标论证时,下述进度计划系统中,首先需要完成的是()。
A. 施工总进度计划 B. 施工图进度计划 C. 旬进度计划 D. 年度进度计划答案:A 解析:在建设工程项目总进度目标论证时,首先需要完成的是施工总进度计划。
施工总进度计划是建设工程项目施工的总体部署,是施工组织设计的重要组成部分。
它对整个建设工程的施工有全面的规划和详细的安排,因此是建设工程项目施工进度控制的依据。
2、下列施工进度控制措施中,属于管理措施的是()。
A. 确定施工定额工时消耗定额 B. 优选施工方案 C. 按照施工顺序合理安排施工程序 D. 应用电子计算机等先进的进度管理手段答案:D 解析:管理措施包括管理的思想、管理的方法、管理的手段、承发包模式、合同管理和风险管理。
选项A属于经济措施,选项B和C属于技术措施。
应用电子计算机等先进的进度管理手段属于管理措施。
因此,答案为D选项。
3、下列建设工程施工风险因素中,属于技术风险因素的是()。
A. 工程所在地的水文地质条件 B. 施工现场安全防护设施的设置 C. 工程施工方案的可靠性 D. 工程结构设计的可靠性答案:C 解析:技术风险包括工程设计文件、施工方案、工程物资、工程机械等方面存在的风险因素。
例如,工程设计文件是否齐全、详细,能否提供技术支持;施工方案是否合理、可行,能否保证安全;工程物资、工程机械等是否满足需要,是否能够保证质量等。
因此,选项A属于组织风险因素,选项B属于安全风险因素,选项D属于环境风险因素。
只有选项C属于技术风险因素。
二、案例分析题某实行监理的工程,实施过程中发生下列事件。
事件1:监理工程师在审查某分项工程施工单位提交的施工组织设计中发现,施工组织设计中写到:为确保深层地下水的降排水,在基础底板混凝土下做一层塑料盲沟。
监理工程师依据相关规范提出在基坑降水方案中增设疏干井和回灌井的要求。
进度计划的编制目录1. 进度计划的编制 (2)1.1. 进度计划概述 (2)1.1.1. 项目进度计划编制前的准备工作 (2)1.1.2. 项目进度计划工作流程 (3)1.2. 进度计划的编制依据和基本要求 (4)1.2.1. 编制进度计划的主要依据 (4)1.2.2. 编制进度计划的基本要求 (4)1.3. 进度计划的编制 (5)1.3.1. 项目描述 (5)1.3.2. 项目分解 (5)1.3.3. 工作描述 (7)1.3.4. 工作责任分配 (8)1.3.5. 工作排序或工作关系确定 (8)1.3.6. 计算工程量或工作量 (9)1.3.7. 估计工作持续时间 (9)1.3.8. 绘制网络图 (9)1.3.9. 进度安排 (9)1.4. 进度计划表示形式及软件 (10)1.进度计划的编制1.1.进度计划概述进度计划是表达项目中各项工序工作的开展顺序、开始和完成时间以及相互衔接关系的计划,是进度控制和管理的依据。
进度计划可分为总体进度计划、分项进度计划和年度进度计划等。
1.1.1.项目进度计划编制前的准备工作(1)计划必须在相应阶段对目标和任务进行精确定义,即在相应阶段项目目标的细化,技术设计和实施方案的确定后做出。
计划的精度和深度由此确定。
(2)详细全面的项目环境调查,掌握影响工程的一切内外部影响因素,一般应编制调查报告。
(3)完成项目结构分析。
通过对项目的结构分析不仅获得项目的静态结构,而且通过逻辑关系分析,获得动态的工作流程--网络。
(4)定义各项目单元。
即将项目目标、任务进行分解,例如工程范围、质量要求、工程量等。
(5)制定详细的(与计划深度相配套的)实施方案。
为了完成项目的各项任务,使项目经济、安全、稳定、高效率地实施和运行,必须对实施方案绩效全面研究。
用各种分析方法,例如技术经济方法、对比分析方法,对方案进行优化、选择对选定的方案进行各种计划和安排,确定按照这种方案完成相关任务的活动(工序),并分析和确定各个活动之间的逻辑关系。
2023年一级建造师之一建建设工程项目管理题库检测试卷A卷附答案单选题(共40题)1、建设工程项目施工总承包模式的最大缺点是()。
A.开工日期不可能太早,建设周期会较长B.业主方的招标及合同管理工作量较大C.在施工过程中发生设计变更,可能会引发索赔D.业主需要经过多次招标【答案】 A2、预制构件进场时应对其主要受力钢筋数量、规格、间距、保护层厚度及混凝土强度等进行实体检验,检验数量为同一类型预制构件不超过()个为一批,每批随机抽取1个构件进行结构性能检验。
A.500B.1000C.1200D.1500【答案】 B3、下列文件资料中,不属于项目管理实施规划编制依据的是()。
A.施工组织设计B.项目资源和条件C.有价值的历史数据D.项目团队的能力和水平【答案】 A4、下列选项中,不属于对机械台班单价进行控制的措施的是()。
A.加强现场设备的维修、保养工作B.保证施工机械设备的作业时间C.加强机械人员的培训工作D.降低材料成本【答案】 B5、下列不属于项目决策阶段经济策划工作内容的是()。
A.项目建设成本分析B.项目效益分析C.编制资金需求量计划D.融资方案的深化分析【答案】 D6、某施工企业,8月份计划成本支出50万元,计划营业收入200万元。
月末结算时发现,8月份实际支出100万元,实际收入150万元,则该公司在8月份的成本支出率为()。
A.25%B.33%C.67%D.50%【答案】 C7、建设工程项目总进度目标论证的工作内容中有如下三步:①编制各层进度计划②进度计划系统的结构分析③项目的工作编码,则正确的顺序为()。
A.②—③—①B.①—②—③C.③—②—①D.①—③—②【答案】 A8、某工程在混凝土施工过程中,由于称重设备发生故障后未按管理标准予以校准而继续使用,导致工人向混凝土中掺入超量聚羧酸盐系高效减水剂,导致质量事故,属于()。
A.技术原因B.管理原因C.社会、经济原因D.人为事故和自然灾害原因【答案】 B9、下列关于工程成本核算的说法正确的是()。
(一)计划准备阶段
1.调查研究
2.确定进度计划目标
(1)时间目标(工期目标):
建设工程合同中规定的工期或有关主管部门要求的工期。
建设工程设计和施工进度安排必须以建筑设计周期定额和建筑安装工程工期定额为时限。
(2)时间-资源目标:
资源有限,工期最短;
工期固定,资源均衡。
(3)时间-成本目标:
限定的工期寻求最低成本;
寻求最低成本时的工期安排。
(二)绘制网络图阶段
1.进行项目分解
2.分析逻辑关系
分析各项工作之间的逻辑关系时,既要考虑施工程序或工艺技术过程,又要考虑组织安排或资源调配需要——①施工工艺的要求;②施工方法和施工机械的要求;
③施工组织的要求;④施工质量的要求;⑤当地的气候条件;⑥安全技术的要求。
分析逻辑关系的主要依据是施工方案、有关资源供应情况和施工经验等。
3.绘制网络图
(三)计算时间参数及确定关键线路阶段
时间定额
产量定额
(四)网络计划优化阶段工期优化
费用优化
资源优化。
编制工程进度计划的程序步骤?以下是作者为大家准备的编制工程进度计划的程序步骤?(共含5篇),希望对大家有帮助。
篇1:编制工程进度计划的程序步骤?编制工程进度计划的程序步骤?1 确定进度计划的目标、性质和任务,2 进行工作分解,收集编制依据。
4 确定工作的起止时间及里程碑。
5 处理各工作之间的逻辑关系。
6 编制进度表。
7 编制进度说明书。
8 编制资源需要量及供应平衡表。
9 报有关部门批准。
篇2:编制施工进度计划的步骤有哪些?编制施工进度计划的步骤有哪些?1) 划分施工项目并列出工程项目一览表在编制施工进度计划时,首先划分出各施工项目的细目,列出工程项目一览表,划分列表时注意以下事项:①划分的施工项目应符合工程的实际情况,并与所确定的施工方法相一致。
临时设施和附属项目可合并列出;②结合工程的特点分项填列,不可缺漏项,以保证计划的准确性。
2) 计算工程量根据施工图和有关工程数量的计算规则,按工程的施工顺序,分别计算施工项目的实物工程量,逐项填入表中。
计算填表时应注意以下问题:①工程数量的计算单位,应与相应的定额或合同文件中的计量单位一致。
②除计算实物工程量外,还应包括大型临时设施的工程,如场地平整的面积、便道、便桥的长度等。
③结合施工组织要求,按已划分的施工段分层分段计算。
3) 计算劳动量和机械台班数劳动量是工程量与相应时间定额的乘积,其计算公式为:P=QH或P=Q式中:P --劳动量(工日或台班);Q--工程量;S--产量定额;H--时间定额。
劳动量一般可按企业施工定额进行计算,也可按交通行业现行的预算定额和劳动定额计算。
劳动量的计量单位当为人工时是“工日”,为机械时是“台班”。
4) 确定施工期限施工期限根据合同工期确定,同时还要考虑工程特点、施工方法、施工管理水平、施工机械化程度及施工现场条件等因素,根据工作项目所需要的劳动量或机械台班数,及该工作项目每天安排的工人数或配备的机械台数,计算各工作项目持续时间。
进度管理计划7个过程及相关重点概述:1、规划进度管理:规划、编制、管理、执行和控制项目进度而制定政策、程序和文档过程。
2、定义活动:识别和记录为完成项目可交付成果而采取的具体行动的过程。
3、排列活动顺序:识别和记录项目活动之间的关系的过程。
4、估算活动资源:估算执行各项活动所需要的人员、设备、材料、用品的种类和数量的过程。
5、估算活动持续时间:根据资源估算的结果,估算完成单项活动所需要的工期。
6、制定进度计划:分析活动顺序,持续时间、资源需求和进度制约因素,创建项目进度模型(甘特图)。
7、控制进度:监督项目活动状态、更新项目进展、管理进度基准变更,以实现计划的过程。
上述过程不进彼此相互作用,还与其他知识领域中的过程相互作用。
一些小的项目进度管理1到6分的不那么细,通常作为一个过程。
重点介绍下7个过程的输入、输出、工具及技术1、规划进度管理输入:项目管理计划(范围基准、其他信息(与进度相关的成本、风险、人力))、组织过程资产、事件环境因素、项目章程工具及技术:会议、分析输出:项目进度管理计划(主要包含1、项目进度模型制定。
2、准确度(应急储备数量);3、计量单位;4、组织程序链接;5、项目进度模型维护;6、控制临界值(允许的最大偏差);7、绩效测量规则;8、报告格式;9、过程描述)2、定义活动输入:范围基准、项目进度管理计划工具及技术:分解,滚动式规则(即对近期要完成的工作进行详细规划,而对远期工作则暂时只在WBS的较高层次上进行粗略规划。
)输出:活动清单(一份全部活动的表格或是文件)、活动属性、里程碑清单3、排列活动顺序输入:活动清单、活动属性、进度管理计划、里程碑清单、项目范围说明书工具及技术:紧前关系绘图、提前量与滞后量、确定依赖关系输出:项目进度网络图(前导图法和箭线图法),项目文件更新4、估算活动资源输入:活动清单、活动属性、进度管理计划、资源日历、风险登记册、活动成本估算工具及技术:专家判断、输出:活动资源需求(包括每个活动所需的资源类型和数量)、资源分解结构(RBS,资源依类别(人力、材料设备和用品)和类型(技能水平、等级水平或适用项目的其他类型。
工程施工进度计划表的编制流程工程施工进度计划表是在工程施工过程中对工作进度进行规划和控制的重要工具。
编制一个准确、合理的施工进度计划表能够帮助项目团队有效管理工程进度,保证工程按时按质完成。
下面将介绍工程施工进度计划表的编制流程。
1. 收集项目信息在编制施工进度计划表之前,首先需要收集项目的相关信息,包括项目的范围、目标、施工期限等。
同时还要了解项目的约束条件,如法律法规、资金限制、资源可用性等。
这些信息将为后续的计划编制提供基本依据。
2. 分解工程任务在编制施工进度计划表时,需要将整个工程任务进行分解,将大任务细化为小任务,以便更好地组织和管理。
任务分解的原则是将工程任务划分为可操作的、明确的工作包或活动。
这样可以更好地控制施工进度和资源分配。
3. 估算任务时间根据已分解的工作包或活动,需要估算每个任务所需的时间。
这涉及到对工作包的复杂程度、资源可用性、所需的人力和设备以及技术难度等因素的分析和评估。
通过合理估算任务时间,可以为后续的进度计划编制提供科学依据。
4. 确定任务排列顺序在编制施工进度计划表时,需要按照任务的逻辑关系来确定任务的排列顺序。
有些任务之间存在依赖关系,必须按照一定的先后顺序进行,不能交叉进行。
确定任务排列顺序的目的是为了保证施工进度的合理性和可行性,避免出现资源冲突和进度延误的情况。
5. 分配资源在编制施工进度计划表时,需要根据项目的资源需求和资源可用性,对任务进行资源分配。
资源包括人力、设备、材料等方面。
通过合理分配资源,可以确保项目在施工过程中各项资源的合理利用,从而提高施工效率和进度控制的准确性。
6. 设定里程碑和检查点在施工进度计划表中,设定里程碑和检查点是为了方便对工程进度进行跟踪和监控。
里程碑是指项目中的重要节点或重要阶段,通过设立里程碑可以更直观地了解工程进展情况。
检查点是指在项目执行过程中设置的几个时间点或进度节点,用于检查和评估工程的完成情况。
7. 制定进度控制措施在编制施工进度计划表时,需要制定相应的进度控制措施,以应对可能的风险和变动。
工程进度控制流程进度控制流程工程进度控制的基本程序如下:1.承包单位编制年、季、月施工进度计划并填写《施工进度计划报审表》。
2.XXX工程师审批进度计划。
3.按计划组织实施,并由监理工程师对进度计划实施情况进行检查、分析。
4.如果基本实现计划目标严重偏离计划目标,XXX会签发《监理通知》,要求承包单位采取调整措施,编制下一期施工进度计划。
5.承包单位编制施工总进度计划并填写《施工进度计划报审表》。
监理工作程序如下:1.承包单位提交施工总进度计划。
2.监理机构审批进度计划。
3.如果需要调整和修改施工总进度计划,承包单位需要重新编报年、季、月施工进度计划,并再次提交监理机构审批。
4.承包单位实施施工进度计划,并按月编报施工进度报告。
5.监理机构监督、检查施工进度是否影响总工期、后续工作安排。
6.如果实际进度与计划进度不符(拖后),承包单位需要制定赶工计划并调整进度计划采取有效措施赶上进度。
7.如果需要修订进度计划,承包单位需要重新编制并提交监理机构审批。
年(月)度进度计划的编制监理工作流程如下:1.研究批准的施工进度计划成长周期的生产计划。
2.列出各项目计划施工的工程量、工作量、用工人数、工作时间。
3.考虑延期事件是否符合连续性,并采取相应措施。
4.编制初始施工生产计划。
5.考虑各工程之间的逻辑关系和关键线路,计算各项计划指标并编制计划说明书。
6.编制现场工料机报表并报监理工程师审查。
7.如果审查结果不同意,承包单位需要修改并重新提交审查,直至得到批准实施。
施工总进度计划的编制监理工作程序图如下:1.进行技术经济比较,作出基本设想(划分人力、施工方法、施工机械安排)。
2.调查现场条件、当地技术经济资料,熟悉合同、图纸、说明等。
3.进行项目分解,计算工程量、劳动量,计算各分部分项工程施工持续时间,并编制施工进度计划草案。
4.进行工期、工程费用分析,如果需要修改,承包单位需要重新编制施工进度计划草案。
5.编制施工总进度计划并填写《施工进度计划报审表》。
进度计划编制的主要流程与关键节点一、背景介绍进度计划是项目管理中至关重要的一部分,它帮助项目团队合理安排和控制项目的时间进度,从而确保项目能够按时交付。
进度计划的编制过程需要经过一系列的步骤和关键节点,本文将详细讨论这些流程和节点。
二、项目概述在开始进度计划编制之前,我们首先需要了解和熟悉项目的整体情况。
这包括项目的目标、范围、资源、约束条件等。
通过对项目的概述,我们可以对项目的时间要求和可行性做出初步评估,为后续的进度计划编制奠定基础。
三、工作分解结构(WBS)工作分解结构是进度计划编制的重要一步,它将项目的工作任务分解为更小的、可管理的工作包。
WBS有助于明确项目的层次结构,并为后续任务分配和时间评估提供了便利。
四、任务依赖关系在制定进度计划时,任务之间的依赖关系是需要考虑的重要因素之一。
任务之间的依赖关系包括开始-开始(SS)、开始-完成(SF)、完成-开始(FS)和完成-完成(FF)等类型。
通过确定任务之间的依赖关系,可以规划出任务的先后次序,确保项目能够有序进行。
五、资源分配与评估资源分配是进度计划编制的关键环节之一。
根据项目的需求和任务列表,我们需要合理分配和评估项目所需要的资源,包括人力资源、物资资源和财务资源等。
通过合理配置资源,可以有效提升项目的执行效率,确保项目按时完成。
六、时间评估在进度计划编制过程中,时间评估是一项重要任务。
通过对任务的复杂性、可行性和风险等因素的综合考量,我们可以对任务的完成时间进行评估。
时间评估需要谨慎进行,以确保计划的合理性和可行性。
七、进度控制与调整进度控制是进度计划编制过程中的核心环节之一。
一旦进度计划编制完成并开始执行,我们需要不断监控项目的进展情况,并及时进行调整和控制。
当项目偏离原定进度时,我们需要采取相应的措施,如加大资源投入、优化任务执行顺序等。
八、风险管理在进度计划编制中,风险管理也是不可忽视的一环。
通过对项目的风险进行识别、分析和评估,可以提前做好应对措施,降低风险对项目进度的影响。
工程施工阶段进度控制流程一、引言工程项目施工是一个复杂的过程,需要综合考虑各种因素,确保施工进度不受影响,按时完成任务。
为了确保工程项目能够顺利进行,需要对施工进度进行有效控制,及时发现问题并采取措施加以解决。
本文将介绍工程施工阶段进度控制的流程,并对其中的关键步骤进行详细说明。
二、施工阶段进度控制流程1. 编制施工计划在开始施工之前,需要编制施工计划。
施工计划是施工过程中的指导性文件,它包括施工任务、施工工序、施工方法、施工人员和设备等内容。
施工计划要根据项目需求和实际情况进行调整,确保施工进度可以按时完成。
2. 制定进度控制计划在编制施工计划的基础上,需要制定进度控制计划。
进度控制计划是指明每一个施工阶段的起止时间、工程量和关键路径等内容。
通过进度控制计划,可以清楚了解每个工序的进度情况,及时发现偏差并采取措施加以解决。
3. 设立监督机构在施工过程中,需要设立专门的监督机构,负责监督施工进度的执行情况。
监督机构需要具备一定的专业知识和经验,能够及时发现问题并提出解决方案。
监督机构还需要与施工单位保持密切的联系,及时沟通并协调工作。
4. 定期检查施工进度在施工过程中,需要定期检查施工进度。
检查内容包括每个工序的完成情况、前期计划与实际执行的对比、工程现场的安全情况等。
通过定期检查,可以及时发现问题并采取措施加以解决,确保施工进度不受影响。
5. 分析施工进度通过对施工进度的分析,可以了解整体的施工情况。
分析施工进度主要包括对关键路径的把握、对迟滞工序的分析、对提前工序的评估等内容。
通过分析施工进度,可以发现问题的根源,并找到解决方案,确保施工进度可以按时完成。
6. 调整施工计划在分析施工进度的基础上,需要及时调整施工计划。
调整施工计划要根据实际情况和需要,确保施工进度能够按时完成。
同时,需要与监督机构和施工单位充分沟通,保持一致性,提高施工效率。
7. 反馈施工进度反馈施工进度是非常重要的一步。
通过反馈施工进度,可以及时了解工程的实际情况,及时发现问题并加以解决。
生产进度控制 一、生产进度控制流程
二、生产进度控制制度
制度名称 生产进度控制制度 受控状态
部门 步骤
生产总监 工作总结与 改进
生产 计划 分解 与 执行
制定 进度 控制 措施
问题 分析 与 进度
生产部 生产车间 生产班组
否
调整进度
制定措施
是
发现问题
分解计划
执行计划
进度措施
汇总措施 审
确定进度措施
组织执行
执行
汇总问题
审
进度调整
执行 执行 开
结审
审
确定车间生产计
工作总结与 改进 审
工作 总结与 改进
三、进度信息收集办法
四、进度信息分析方案。
2023年监理工程师之土木建筑目标控制题库附答案(典型题)单选题(共40题)1、下列有关施工组织设计审查的程序要求,表述错误的是()。
A.施工组织设计应当由施工单位项目技术负责人审核签认后,报监理机构B.施工组织设计报审表应当由施工项目经理部盖章,项目经理签字C.施工组织设计需要修改的,总监理工程师签发书面意见退回修改D.施工组织设计在实施过程中,施工单位如需做较大的变更,项目监理机构应按程序重新审查【答案】 A2、对于项目监理机构提出检查要求的重要工序,应经()检查认可,才能进行下道工序施工。
A.专业监理工程师B.总监理工程师C.施工项目技术负责人D.施工项目负责人【答案】 A3、在建设工程监理规划指导下编制的施工进度控制工作细则,其主要内容不包括()。
A.进度控制工作流程B.进度控制人员的职责分工C.工程进度款的支付时间与方式D.进度控制的方法和具体措施【答案】 C4、工程质量事故发生后,项目监理机构应及时签发工程暂停令,要求施工单位采取()的措施。
A.抓紧整改、早日复工B.防止事故信息非正常扩散C.对事故责任人进行监管D.防止事故扩大并保护好现场【答案】 D5、地面工程的结合层采用以下哪种材料时施工环境最低温度不应低于5℃?( )A.水泥拌和料B.砂料C.石料D.有机胶粘剂【答案】 A6、施工质量验收层次的划分中,安装工程的检验批可按设计系统和()来划分。
A.专业性质B.安装工艺C.主要工种D.设备组别【答案】 D7、影响工程质量的因素中,构成工程质量基础的因素是()。
A.人员素质B.工程材料C.方法D.环境条件【答案】 B8、房屋建筑工程保修期内发生涉及结构安全的质量缺陷,由()提出保修方案,施工单位实施保修,原工程质量监督机构负责监督。
A.施工单位B.原设计单位或者具有相应资质等级的设计单位C.第三方咨询机构D.参建各方共同协商【答案】 B9、在单位工程的质量验收中,对于涉及结构安全和使用功能的重要分部工程应进行()。
进度计划的管理控制程序施工进度控制过程中,应通过施工部署、组织协调、生产调度和指挥、改善施工程序和方法的决策等,应用技术、经济和动态控制原理、信息反馈原理、封闭循环原理等科学管理手段,实现有效地进度控制。
项目部首先要建立进度实施、控制的科学组织系统和严密的工作制度,然后依据施工进度控制目标体系,对施工的全过程进行系统控制。
进度实施系统应发挥监测、分析职能并循环运行,即随着施工活动的进行,信息管理系统会不断地将施工实际信息,按信息流动程序反馈给工程室主任(进度控制者),经过统计整理,比较分析后,确认进度无偏差,则系统继续运行;一旦发现实际进度与计划进度有偏差,系统将发挥调控职能,分析偏差产生的原因,及对后续施工和总工期的影响。
必要时,项目总工程师应对原计划进行调整,提出纠偏措施方案和实施的技术、经济、合同保证措施,以及取得业主、监理相关单位的支持与配合的协调措施,经业主/监理工程师确认切实可行后,将调整后的新进度计划输入到进度实施系统,施工活动继续在新的控制下运行。
一、施工进度计划控制流程步骤说明责任人或部门输出1、工程部传递甲方施工进度计划1、工程部将甲方施工进度计划下达给施工单位;2、并责成施工单位制定详细实施计划;3、实施计划应包括年度、紧后月及周计划。
工程部、施工单位施工单位施工进度计划2、编制总进度计划及月进度计划1、工程部责成施工单位根据甲方要求,与规定日期前制定详细的年度及紧后月份、周施工进度计划,并提交甲方和监理单位审批。
工程部、施工单位年度施工计划及紧后月份施工计划3、审核计划1、工程部和监理公司审核施工单位的施工组织和进度计划;2、联合审核、修正、批复。
工程部、监理公司施工计划审核批复4、备案、下发1、对批复的工程进度计划进行修订、成文,本部门备案,并下发施工单位执行。
工程部施工计划正式稿5、组织实施1、施工单位应按批准的计划严格执行;2、甲方现场工程要通过现场巡视、监督对施工单位的进度执行情况进行时时控制,每天记录检查日志,发现问题及时解决或向上级汇报;3、监理单位现场监理工程师通过对现场的巡视、检查,对施工单位的进度执行情况进行时时监督和控制,发现问题及时解决或向上级汇报;4、涉及各部门协调工作,由工程部牵头按相关规定及时完成配合工作。