完整报税流程示意图
- 格式:doc
- 大小:83.00 KB
- 文档页数:2
全税种纳税申报表思维导图(2021年8月版)根据《国家税务总局关于增值税消费税与附加税费申报表整合有关事项的公告》(国家税务总局公告2021年第20号)规定,自2021年8月1日起,增值税与城市维护建设税、教育费附加、地方教育附加申报表整合。
启用的申报表如下(一)《增值税及附加税费申报表(一般纳税人适用)》(二)《增值税及附加税费申报表(小规模纳税人适用)》(三)《增值税及附加税费预缴表》及其附列资料第二章消费税及附加税费纳税申报表根据《国家税务总局关于增值税消费税与附加税费申报表整合有关事项的公告》(国家税务总局公告2021年第20号)规定,自2021年8月1日起,消费税与城市维护建设税、教育费附加、地方教育附加申报表整合。
启用的申报表如下(四)《消费税及附加税费申报表》第三章企业所得税一、申报表编号规则企业所得税纳税申报表实行统一编号规则,表单编号由字母和数字共同组成,共7位。
其中,首位为字母,后6位为数字。
第1位为字母,表示申报表类型,其中,A代表查帐征收方式;B 代表核定征收方式;第2位为数字,表示一级表。
其中0代表基础信息表,1代表年度纳税申报表,2代表季度纳税申报表;第3、4位为数字,表示二级表,按照01,02,03,……的顺序排列;第5、6、7位为数字,表示三级表,按照010,011,012,……的顺序排列。
二、月(季)度预缴申报表及核定征收申报表国家税务总局关于发布《中华人民共和国企业所得税月(季)度预缴纳税申报表(A类)》的公告(国家税务总局公告2021年第3号)企业所得税申报事项目录解读:绝大部分企业:预缴所得税只需填写一张主表;企业所得税月(季)度预缴纳税申报表简化!一图读懂主要变化三、企业所得税年度纳税申报表(一)架构说明1. 从填报内容看,全套申报表由反映纳税人整体情况(2张)以及反映会计核算(6张)、纳税调整(13张)、弥补亏损(1张)、税收优惠(9张)、境外税收(4张)、汇总纳税(2张)等明细情况的“1+6”表单体系组成。
金税三期工程《扣缴个人所得税申报》用户操作手册V1.0目录第1章概述 (1)1.1主要内容 (1)1.2预期读者 (1)1.3注意事项 (1)第2章系统简介 (2)2.1系统术语与约定 (2)2.2基本操作说明 (2)第3章扣缴个人所得税申报 (6)3.1业务概述 (6)3.2功能描述 (6)3.3操作人员 (7)3.4前置条件 (7)第4章操作流程 (8)4.1操作流程图 (8)4.2扣缴个人所得税模板填写 (8)4.3扣缴个人所得税申报操作说明 (11)4.4作废申报 (14)4.5异常与处理 (16)第1章概述1.1主要内容本文档为申报征收-扣缴个人所得税申报,内容包含扣缴个人所得税申报功能。
1.2预期读者纳税服务平台身份验证用户。
1.3注意事项1、扣缴个人所得税申报首先需要税务机关认定纳税人为代扣代缴个人所得税,申报方式为代扣代缴。
2、新版扣缴个人所得税申报操作流程与原有系统一致,纳税人可使用原有的导入模板进行进行数据导入申报。
3、纳税人应正确填报个人所得税Excel模板,通过模板导入的模式将明细数据导入到纳税服务系统,系统根据明细数据自动生成汇总数据进行申报。
第2章系统简介2.1系统术语与约定网上办税服务厅身份验证用户:指通过帐号和密码登录贵州省地方税务局网上办税服务厅的人员。
社会公众:指未通过帐号和密码直接访问贵州省地方税务局网上办税服务厅的人员。
2.2基本操作说明●申报征收功能可由纳税服务平台身份验证用户从如下入口进入。
图2- 1●申报表填写期间可通过红色方框标识部分,将左边和右边辅助区域打开或关闭。
➢如图是辅助区域打开页面图2- 2➢如图是辅助区域关闭页面图2- 3●在操作人员填写过程中对于必填项目,系统会有红色方框相应提示,如下图。
图2- 4●在申报过程中,如纳税人有多条登记信息,则在申报前需要进行纳税人登记信息选择。
图2- 5●在保存信息或是提交申报数据时,如果纳税人填写的数据不符合要求,系统会弹出提示语,点击问题列表可直接跳转至对应的数据单元格,如下图。
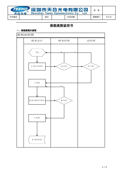
申报网上纳税的流程:1.纳税人向国税局的征管部门提出网上申报纳税申请,经县(市)区局审批同意后,正式参与网上申报纳税。
2.纳税人向税务机关提供在银行已经开设的缴税账户,并保证账户中有足够用于缴税的资金。
3.纳税人与银行签署委托划款协议,委托银行划缴税款。
4.纳税人利用计算机和申报纳税软件制作纳税申报表,并通过电话网、因特网传送给税务机关的计算机系统。
5.税务机关将纳税人的应划缴税款信息,通过网络发送给有关的银行。
由银行从纳税人的存款账户上划缴税款,并打印税收转帐专用完税证。
6.银行将实际划缴的税款信息利用网络传送给税务机关的计算机系统。
7.税务机关接收纳税人的申报信息和税款划缴信息,打印税收汇总缴款书,办理税款的入库手续。
8.纳税人在方便的时候到银行营业网点领取税收转帐完税证,进行会计核算。
具体的报税流程:月末结帐后,开始网上电子申报,然后去税务局交手工财务报表即可。
不清楚的话可以咨询专管员。
一. 增值税专用发票的领购,—企业发生销售业务—在税控系统中开具增值税专用发票(销项)或开具普通发票。
[windows防伪税控一机多票开票子系统]的操作每月初2号前进行抄税—在开票系统中打印相关发票清单报表—进行报税 )(1) 平时开具增值税销项发票包括有以下几类①正数发票②负数发票③带有发票清单的发票④带有销售折扣的发票 .(2) 领购发票读入开票系统(3) 当月发票的作废.(4) 数据的备份等二. 本月如购进原材料,取得增值税发票.(进项) ,将进项发票录入[增值税纳税申报系统]—[发票管理]中每月20号至月末前一天进行增值税进项发票的网上认证工作.具体流程:增值税发票(进项)在[增值税纳税申报系统]中的录入—导出—网上认证—下载认证结果—导入纳税申报系统—有错的查询修改—再导出—网上认证—认证通知书下载—认证结果查询—直至认证全部OK三. 增值税专用发票的核销(注:增值税专用发票使用时间为二个月),到期没有用完,要去税局核销.核销要带以下资料去:一、普通发票缴销需提供以下资料:1、已领购的发票,包括未使用的空白发票_2、《普通发票核销明细表》3、发票统一领购簿 {二、专用发票核销需提供以下资料:1、已领购的发票,包括未使用的空白发票2、发票统一领购簿3、税控IC卡四. 月初,一般2号之前进行抄税—报税—提供相关资料给税局。
2021年个税汇算清缴操作图解2021年度个人所得已正式进入汇算清缴阶段,想知道自己需补税?还是可退税?请尽快进入手机“个人所得税” APP,按以下图示操作吧。
办理流程1、登录首页,<返回 综合所得汇算申报仅取得境内综合所得且需要办理汇算申报的,可在本功能 界面办理申报。
查看收入纳税数据我要填报空白申报表根据实际情况自行填写申报表开始申报2、点击【我需要申报表预填服务】-【开始申报】I 填报方式我需要申报表预填服务推荐温馨提示3、核对基本信息(如有多个任职受雇单位,可任选其中之一),确认无误后点击【下一步】<返回标准申报重置申报基本信息收入和税前扣除税款计算I个人基础信息■ ■■ >证件号码:3****************0您的汇算地为您的任职单位所在地。
查看汇算地说明I汇算地任职受雇单位主管税务机关4、确认各项收入、各项扣除数据<返回标准申报基本信息收入和税前扣除税款计算应纳税所得额=收入-费用■免税收入■减除费用-专项扣除■专项附加扣除■依法确定的其他扣除-准予扣除的捐赠额请准确填写收入、费用、免税收入和税前扣除等信息,系统将根据您填写的内容自动计算应纳税所得额。
I收入(元)工资薪金。
存在奖金,请在详情中进行确认劳务报酬0.00 >请您对填报的数据认真核实稿酬0.00 >请您对填报的数据认真核实特许权使用费0.00 >请先处理待确认事项,再点击下一步应纳税所得额- 保存★提示:有年终奖的小伙伴可自行测算后选择最优计税方式,返回取消奖金计税方式选择确定1、在年度汇算申报时,您可重新选择将全年一次性奖金收入并入综合所得计税,也可以选择其中一笔奖金单独计税。
查看政策说明2、奖金计税方式的选择,将会影响汇算的税款计算结果。
请您根据自身情况进行选择。
I “全年一次性奖金”计税方式全部并入综合所得计税若选择此项,将会把所有的“全年一次性奖金”并入综合所得申报中单独计税选择其中一笔单独计税,其余将全部并入综合所得申XZ报中修改〈返回工资薪金新增工资薪金劳务报酬稿酬所得特许权使用费2021-12正常工资薪金_■ ■兀2021-11正常工资薪金2021-10正常工资薪金2021-09正常工资薪金2021-08正常工资薪金注意:如有专项附加扣除等需补报,请按屏幕提示新增(如无请直接跳转至第5步):〈返回 标准申报 • • •其他免税收入。
一般纳税人增值税网上申报流程图第一步:抄税、打印专用发票汇总表(即销项)打开“防伪开票”系统(系统快捷方式图标如下图所示)点击工具栏中的“报税处理”在弹出的新窗口中选择“状态查询”查询是否抄税查看是否已经抄税(如果抄税起始日期为下个月的1号,报税成功标志:“有”,就说明抄税成功了如果未抄税,则需要先抄税,即点击“状态查询”对应下方的“抄税处理”,根据提示单击“确定”直到抄税成功抄税成功后,打印专用增值税发票汇总表(即销项汇总表),单击“状态查询”左边的“发票资料”在弹出的新窗口中选择:专用发票和本月累计,确定打印,这个表就是“专用增值税发票汇总表”也就是销项汇总表,再查看是否有开普通发票,选择普通发票和本月累计,确定后,在弹出的预览表中查看份数,如果全是零,则无需打印单击“确定”后,出现下图打印预览表,直接单击“打印”专用发票预览(上图)普通发票预览(上图)第二步:远程抄报点击工具栏中的“远程抄报”在弹出的新窗口中依次单击“报税状态”和“远程抄报”,这里一共有5个按钮,依次单击前两个,在随后出现的对话框中,根据提示,单击确定即可“报税状态“如果不成功,需要以管理员身份进入系统,以上步骤完成了远程抄报工作,先不用关闭系统,最小化步骤三:填写申报表,并打印申报表由于第二步已经完成了远程抄报工作,但还未提交数据,即需要申报的数据,在“防伪开票”系统中没有提交报表的功能,需要在“网上电子申报”系统中提交,则现在需要另外打开桌面上的“网上电子申报”系统打开“网上电子申报”系统,(系统快捷方式图标如下图所示)用户代码默认001,密码默认是123登陆后,会出现“结果提示”对话框,显示更新成功(如下图所示),如果不成功,则需要选择“工具“中的”测试网络“wi n7系统需要用管理员身份打开系统单击“确定”,关闭对话框,出现“个人信息提示”对话框(如下图所示)单击“确定”关闭对话框(如果有违章或逾期等事项,则需要到国税局咨询处理),然后正式进入网上申报系统主页(如下图所示)首先单击菜单栏中的“工具”按钮,选择“参数设置”单击工具栏中“发票管理”旁边小三角,选择第一项“专用/普通发票”系统默认填写进项专用发票(下图A所指位置),单击“增加”按钮。
由于开票软件版本不同,报税模块分以下两种类型,两种类型均属正常。
第一种类型报税模块为:第一步:远程抄报第二步:电子申报第三步:网上缴税第四步:远程清卡注:本月无需缴税的企业,只执行第一、二、四步操作! 第二种类型报税模块为:第一步:登陆开票软件第二步:电子申报第三步:网上缴税第四步:登陆开票软件注:本月无需缴税的企业,只执行第一、二、四步操作!连网状态下,点击“远程抄报”(开票软件里手动操作)填写申报表,并申报成功 (申报软件里操作)登陆“http://219.144.206.60/”或者“网上税务局”中,执行缴税在连网状态下,点击“远程清卡” (开票软件里手动操作)连网状态下,登陆“开票软件”,系统自动进行抄税(开票软件自动操作)填写申报表,并申报成功 (申报软件里操作) 登陆“http://219.144.206.60/”或者“网上税务局”中,执行缴税在连网状态下,登陆“开票软件”自动远程清卡(开票软件自动操作)由于开票软件版本不同,报税模块分以下两种类型,两种类型均属正常。
第一种类型 报税模块为:第一步:远程抄报 第二步:电子申报 第三步:网上缴税 第四步:远程清卡注:本月无需申报和缴税的企业,直接执行第一步、第四步操作! 第二种类型报税模块为:第一步:登陆开票软件第二步:电子申报第三步:网上缴税第四步:登陆开票软件注:无需申报和缴税的企业,当月征期首次正常进入开票软件,系统自动进行抄税和清卡即本月报税完成!连网状态下,点击“远程抄报” (开票软件里手动操作) 以前怎么申报,现在继续怎么申报,填写申报表,并申报成功 登陆“http://219.144.206.60/”或者“网上税务局”中,执行缴税 在连网状态下,点击“远程清卡” (开票软件里手动操作)连网状态下,报税期首次登陆“开票软件”,系统自动进行抄税 (开票软件自动操作)以前怎么申报,现在继续怎么申报,填写申报表,并申报成功 登陆“http://219.144.206.60/”或者“网上税务局”中,执行缴税 款在连网状态下,登陆“开票软件”自动远程清卡(开票软件自动操作)。
一般纳税人纳税申报国税的申报主要包括:报送所属期间的销项数据——做申报文件——上传申报文件——清缴税款——清卡——完税。
先在开票系统上抄税,报完税然后再回来清卡。
点击远程抄报:确认完成。
1、做申报文件我们要使用广东省企业电子申报管理系统来完成申报文件的制作,其中包括A、销项数据采集B、采集进项数据C、填写申报表双击打开企业电子申报管理系统进入登录界面:注:密码123456点击登录进入申报界面:A:进入销项数据采集界面:点击一键获取,完成销项采集。
B:进入进项发票的采集界面。
点击一键获取,完成进项采集。
C:报表填写点击一键生成,状态显示“未填写”的报表进入点击增值税(一般纳税人)选中报表填写界面:须将报表本月数第30栏次的金额改成本月数第25栏次的金额,然后报表下方签名和填写身份证号码。
切记:25=30行!!务必检查!完成上述修改后点击“保存”—“确定”—“审核”。
2、上传申报文件点击“发送报表”确认后便可清缴税款。
3、清缴税款进入企业国税申报征收界面(电子税务局):点击:我要办税--税费申报及缴款点击清缴税款(三方协议)完成该期间的税款清缴工作。
4、清卡回到防伪开票系统的“报税处理”界面:点击“远程清卡”然后点击状态查询界面确认报税资料状态显示“无”,或者锁死日期已经自动跳到下个月的报税截止日。
完成清卡操作。
5、完税回到企业电子申报管理系统的界面:点击增值税(一般纳税人),点击完税。
增值税报税完毕。
最后:回到电子税务局申报其他相关税种。
直接在电子税务局上点击申报。
(除个人所得税)。
网上报税流程(以广东省为例)附图随着我国税收征管改革的不断深入和完善,税收征管发生了较大变化,采用信息化、现代化的管理方式已成为总体趋势,而远程电子申报纳税则是一种先进的申报方式。
但网上报税的流程是怎么样的,许多人或许还不知道,下面就带大家认识一下。
报税流程:1.纳税人向国税局的征管部门提出网上申报纳税申请,经县(市)区局审批同意后,正式参与网上申报纳税。
2.纳税人向税务机关提供在银行已经开设的缴税账户,并保证账户中有足够用于缴税的资金。
3.纳税人与银行签署委托划款协议,委托银行划缴税款。
4.纳税人利用计算机和申报纳税软件制作纳税申报表,并通过电话网、因特网传送给税务机关的计算机系统。
5.税务机关将纳税人的应划缴税款信息,通过网络发送给有关的银行。
由银行从纳税人的存款账户上划缴税款,并打印税收转帐专用完税证。
6.银行将实际划缴的税款信息利用网络传送给税务机关的计算机系统。
7.税务机关接收纳税人的申报信息和税款划缴信息,打印税收汇总缴款书,办理税款的入库手续。
8.纳税人在方便的时候到银行营业网点领取税收转帐完税证,进行会计核算。
网上报税的具体流程(广东省)1.打开网页浏览器,输入网址 ,登陆广东省地方税务局网站。
可以通过地税互链进入到各地市门户网站,从网站首页可以进入“办税大厅”,如图:2.进入办税大厅登录界面,纳税人需要凭自己的用户名和密码登录办税大厅进行业务操作。
用户名是纳税人所在企业的纳税人编码,帐户的密码,验证码为右边图片的数字。
点击“登录”按钮,即可成功登录网上办税大厅。
如图:3.纳税人首次登陆成功,系统强制要求修改密码,否则无法登陆。
点击“确定”按钮,进行修改密码。
修改登录密码后,点击“提交”按钮。
点击“确定”后,重新通过用户名、修改后的密码、验证码登陆。
如图:4.纳税人成功登录后,进入网上办税操作平台,界面如图所示:区域功能简介(1)栏目菜单区:位于窗口的上部,对应有:涉税提醒,纳税申报,个人所得税,社保费管理,发票管理,财务报表,网报代理,涉税查询,涉税提醒共八个模块。
公司报税流程图解公司报税是每个企业必须要面对的重要事务之一,正确的报税流程不仅可以保证企业的合规性,还可以最大程度地减少税务风险。
下面我们将通过图解的方式,详细介绍公司报税的流程,帮助大家更好地理解和掌握报税的方法和步骤。
第一步,准备报税所需资料。
在进行公司报税之前,首先需要准备好相关的报税资料。
这些资料包括但不限于企业的营业执照、纳税人识别号、财务报表、税务登记证、发票等。
这些资料是报税的基础,必须妥善保管和整理。
第二步,了解税法法规。
在进行报税之前,企业需要了解当前的税法法规,包括税率、减免政策、报税期限等内容。
只有了解了税法法规,企业才能准确地进行报税申报,避免因为不了解相关规定而产生税务风险。
第三步,选择报税方式。
企业可以根据自身的情况选择合适的报税方式,比如可以选择线上报税或者线下报税。
线上报税可以节省时间和成本,而线下报税则更加灵活,可以获得更多的税务咨询和指导。
企业可以根据自身的实际情况进行选择。
第四步,填写纳税申报表。
根据企业的经营情况和财务数据,填写相应的纳税申报表。
在填写纳税申报表的过程中,需要确保数据的准确性和完整性,避免因为填写错误而导致税务风险。
第五步,申报税款。
在填写完纳税申报表之后,企业需要根据申报表的内容计算应缴纳的税款,并按时足额缴纳。
对于已经享受减免政策的企业,需要按规定的程序进行申请和报备。
第六步,申报税务机关审核。
完成纳税申报和税款缴纳之后,企业需要将相关的申报表和资料提交给所属的税务机关进行审核。
税务机关会对企业的申报表进行审核,如果发现问题,会及时通知企业进行修改。
第七步,接受税务机关检查。
税务机关会不定期对企业进行税务检查,企业需要配合税务机关的工作,如实提供相关的资料和信息。
如果企业在税务检查中发现问题,需要及时整改和申报,避免因此产生不必要的税务风险。
通过以上的图解,我们可以清晰地了解公司报税的流程和步骤。
正确的报税流程可以帮助企业避免税务风险,保证企业的合规性,对企业的经营和发展具有重要的意义。
一张图看懂个人所得税专项附加扣除的申报流程度娘搜搜最近国家为了减轻普通老百姓的税负,采取了一系列的减负政策,与我们每个人都相关的一件事情就是个人所得税征收方面的政策变化,总的原则有两点,一是个人所得税的起征点提高了,该项政策已经实施,所以老百姓落到手里的钱变多了,相信最近大家看工资条应该会有感觉,其二是在最近的2019年1月1号马上要实施的,叫做个人所得税专项附加扣除,该项措施能够进一步给纳税人减负,简单的讲有些费用是可以在本应上缴的个人所得税基础上进行抵扣,具体的可扣减项包括:子女教育、继续教育、大病医疗、住房贷款利息或者住房租金、赡养老人6项支出。
具体以上六项该如何扣减相关的具体要求,大家可以参考本文附件中的《个人所得税专项附加扣除暂行办法》(征求意见稿),因为目前还没有发布,所以叫征求意见稿,但具体的说明也已经比较的清楚。
今天本文重点要给大家介绍的是“个人所得税专项附加扣除的申报流程”,由于目前是征求意见稿,大家对将来个人对税务的个税抵扣填报还比较迷茫,毕竟这次涉及到六大项抵扣内容,为了方便大家了解申报流程,小度特意制作了一张图,达到一张图看懂个人所得税专项附加扣除的申报流程的目的。
一张图看懂个人所得税专项附加扣除的填报流程图流程解读:1.个人所得税专项附加扣除的申报的方式可以有两种,第一种是个人报送,第二种是单位统一报送。
2.个人报送的方式即纳税人本人准备好个人所得税专项附加扣除相关材料后,直接到当地税务机关申报。
3.单位统一报送即纳税人本人准备好个人所得税专项附加扣除相关材料后,现行上报至扣缴义务人也就是自己所在的单位,然后在通过单位的财务部门统一报送至当地税务机关。
相比之下,很明显,采取单位统一报送更加便捷,谁没事愿意直接面对税务机关啊。
但是,还有一个问题,那就是单位该如何方便的收集员工的个人所得税专项附加扣除材料?这些材料包括纳税人本人及家属的基本信息,还包括个人所得税专项附加扣除信息,这些信息每月有可能会发生变化的,因此,目前有很多大单位为了方便员工的报税和抵扣,开始开发“企业个人所得税专项附加扣除填报系统”,相信有了这个系统,员工可以在单位里就方便的报税了。
企业所得税预缴申报表思维导图(20221114更新)
严颖财税脑图 2022-11-14 07:14 发表于安徽
一、A表:国家税务总局关于发布《中华人民共和国企业所得税月(季)度预缴纳税申报表(A类)》的公告(国家税务总局公告2021年第3号),自2021年4月1日起施行。
2022年3月,国家税务总局最新发布《企业所得税申报事项目录》解读:绝大部分企业:预缴所得税只需填写一张主表;企业所得税月(季)度预缴纳税申报表简化!一图读懂主要变化
二、B表:《国家税务总局关于修订<中华人民共和国企业所得税月(季)度预缴纳税申报表(A类,2018年版)>等报表的公告》(国家税务总局公告2020年第12号),自2020年7月1日起施行。
《中华人民共和国企业所得税月(季)度预缴和年度纳税申报表(b类,2018年版)》(2020年修订)
企业所得税申报事项目录(2022年11月版)。
由于开票软件版本不同,报税模块分以下两种类型,两种类型均属正常。
第一种类型
报税模块为:
第一步:远程抄报
第二步:电子申报
第三步:网上缴税
第四步:远程清卡
注:本月无需缴税的企业,只执行第一、二、四步操作! 第二种类型
报税模块为:
第一步:登陆开票软件
第二步:电子申报
第三步:网上缴税
第四步:登陆开票软件
注:本月无需缴税的企业,只执行第一、二、四步操作!
连网状态下,点击“远程抄报”
(开票软件里手动操作)
填写申报表,并申报成功 (申报软件里操作)
登陆“http://219.144.206.60/”或者“网上税务局”中,执行缴税
在连网状态下,点击“远程清卡” (开票软件里手动操作)
连网状态下,登陆“开票软件”,系统自动进行抄税
(开票软件自动操作)
填写申报表,并申报成功 (申报软件里操作) 登陆“http://219.144.206.60/”或者“网上税务局”中,执行缴税
在连网状态下,登陆“开票软件”自动远程清卡(开票软件自动操作)
由于开票软件版本不同,报税模块分以下两种类型,两种类型均属正常。
第一种类型 报税模块为:
第一步:远程抄报 第二步:电子申报 第三步:网上缴税 第四步:远程清卡
注:本月无需申报和缴税的企业,直接执行第一步、第四步操作! 第二种类型
报税模块为:
第一步:登陆开票软件
第二步:电子申报
第三步:网上缴税
第四步:登陆开票软件
注:无需申报和缴税的企业,当月征期首次正常进入开票软件,系统自动进行抄税和清卡即本月报税完成!
连网状态下,点击“远程抄报” (开票软件里手动操作) 以前怎么申报,现在继续怎么申报,填写申报表,并申报成功 登陆“http://219.144.206.60/”或者“网上税务局”中,执行缴税 在连网状态下,点击“远程清卡” (开票软件里手动操作)
连网状态下,报税期首次登陆“开票软件”,系统自动进行抄税 (开票软件自动操作)
以前怎么申报,现在继续怎么申报,填写申报表,并申报成功 登陆“http://219.144.206.60/”或者“网上税务局”中,执行缴税 款
在连网状态下,登陆“开票软件”自动远程清卡(开票软件自动操作)。