80C51单片机的引脚功能基础详解
- 格式:docx
- 大小:9.71 KB
- 文档页数:2
80C51单片机引脚图及引脚功能介绍首先我们来介绍一下单片机的引脚图及引脚功能(如下图所示),引脚的具体功能将在下面详细介绍单片机的40个引脚大致可分为4类:电源、时钟、控制和I/O引脚。
⒈ 电源:⑴ VCC - 芯片电源,接+5V;⑵ VSS - 接地端;⒉ 时钟:XTAL1、XTAL2 - 晶体振荡电路反相输入端和输出端。
⒊ 控制线:控制线共有4根,⑴ ALE/PROG:地址锁存允许/片内EPROM编程脉冲① ALE功能:用来锁存P0口送出的低8位地址② PROG功能:片内有EPROM的芯片,在EPROM 编程期间,此引脚输入编程脉冲。
⑵ PSEN:外ROM读选通信号。
⑶ RST/VPD:复位/备用电源。
① RST(Reset)功能:复位信号输入端。
② VPD功能:在Vcc掉电情况下,接备用电源。
⑷ EA/Vpp:内外ROM选择/片内EPROM编程电源。
① EA功能:内外ROM选择端。
② Vpp功能:片内有EPROM的芯片,在EPROM编程期间,施加编程电源Vpp。
⒋ I/O线80C51共有4个8位并行I/O端口:P0、P1、P2、P3口,共32个引脚。
P3口还具有第二功能,用于特殊信号输入输出和控制信号(属控制总线)。
拿到一块单片机,想要使用它,首先必须要知道怎样去连线,我们用的一块89C51的芯片为例,我们就看一下如何给它连线。
1、电源:这当然是必不可少的了。
单片机使用的是5V电源,其中正极接40管脚,负极(地)接20管脚。
2、振蒎电路:单片机是一种时序电路,必须供给脉冲信号才能正常工作,在单片机内部已集成了振荡器,使用晶体振荡器,接18、19脚。
只要买来晶体震荡器,电容,连上就能了,按图1接上即可。
3、复位管脚:按图1中画法连好,至于复位是何含义及为何需要复要复位,在单片机功能中介绍。
4、 EA管脚:EA管脚接到正电源端。
至此,一个单片机就接好,通上电,单片机就开始工作了。
我们的第一个任务是要用单片机点亮一只发光二极管LED,显然,这个LED必须要和单片机的某个管脚相连,不然单片机就没法控制它了,那么和哪个管脚相连呢?单片机上除了刚才用掉的5个管脚,还有35个,我们将这个LED和1脚相连。
80C51单片机引脚功能图解80C51属于51单片机系列,改进了8048的缺点并增加了一些新的运算技术。
其性能能够满意产品对于系统数据采集以准时间精度的需求。
本文将为大家介绍80C51单片机的引脚基础功能,感爱好的伴侣快来看一看吧。
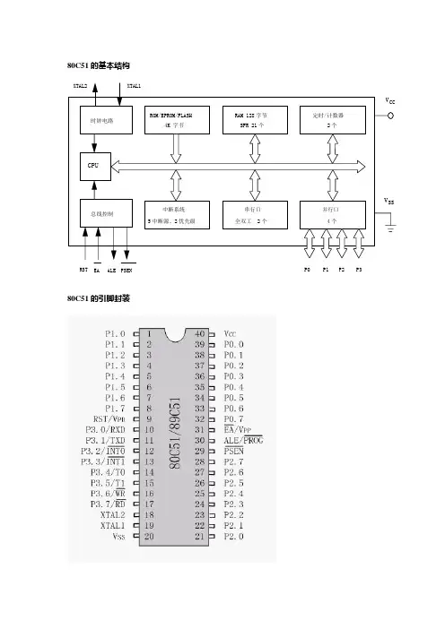
MCS-51是标准的40引脚双列直插式集成电路芯片,引脚排列请参见图1。
图1P0.0 ~P0.7:P0口8位双向口线。
P1.0 ~P1.7:P1口8位双向口线。
P2.0 ~P2.7:P2口8位双向口线。
P3.0 ~P3.7:P3口8位双向口线。
ALE:地址锁存掌握信号。
在系统扩展时,ALE用于掌握把P0口输出的低8位地址锁存起来,以实现低位地址和数据的隔离。
此外,由于ALE是以晶振1/6的固定频率输出的正脉冲,因此可作为外部时钟或外部定时脉冲使用。
PSEN:外部程序存储器读选通信号。
在读外部ROM时,PSEN有效(低电平),以实现外部ROM单元的读操作。
EA:访问程序存储掌握信号。
当信号为低电平常,对ROM的读操作限定在外部程序存储器;当信号为高电平常,对ROM的读操作是从内部程序存储器开头,并可延至外部程序存储器。
RST:复位信号。
当输入的复位信号连续两个机器周期以上的高电平常即为有效,用以完成单片机的复位初始化操作。
XTAL1和XTAL2:外接晶体引线端。
当使用芯片内部时钟时,此二引线端用于外接石英晶体和微调电容;当使用外部时钟时,用于接外部时钟脉冲信号。
VSS:地线。
VCC:+5 V电源。
以上是MCS-51单片机芯片40条引脚的定义及简洁功能说明,读者可以对比实训电路找到相应引脚,在电路中查看每个引脚的连接使用。
P3口线的其次功能。
P3的8条口线都定义有其次功能。
单片机80C5180C51单片机的典型产品有80C51﹑80C31和87C51,80C51是ROM型单片机,内部有4KB ROM;80C31无片内ROM;87C51片内有4KB EPROM。
除此外三者的内部结构和引脚完相同。
图1-1 为80C51的内部结构80C51的内部结构包括:【中央处理器(CUP)】主要完成运算和控制功能,80C51的CPU 是一个字节为8位的中央处理器,即它对数据的处理是按字节为单位的;【内部数据处理器(内部RAM】)80C51中共有256个RAM单元,但其中能作为寄存器供用户使用的仅有前面128个,后128个被专用寄存器占用;【内部程序储存器(内部ROM)】80C51共有4KB的掩膜ROM,用于存放程序、原始数据;【定时器/计数器】80C51有2个16位的定时器/计数器;【并行I/O口】80C51共有4个8位I/O口(P0P1P2P3)可实现数据并行输入输出;【串行口】80C51有1个全双工的可编程的串行口,以实现单片机与其他设备之间的串行数据传送;【时钟电路】80C51单片机内部有时钟电路,但晶振和微调电容要外接,为其产生时钟脉冲序列;【中断系统】它共有5个中断源:2个是外部中断源/INTO和/INT1,3个内部中断源,即2个定时/计数中断,1个串行口中断;还有驱动器、锁存器、缓冲器、地址寄存器等。
图1-2 为80C51的引脚图功能说明:主电源引脚Vss(20脚)和Vcc(40脚);时钟电路引脚XTAL1(19脚)和XTAL2(18脚),用法见图1-2;控制信号引脚如下:RST复位(9脚)输入24个时钟脉冲周期宽度以上H电平复位,接法见图1-3;ALE或/PROG、(30脚)锁存扩展地址低位字节控自信号,或EPROM编程时输入编程脉冲;/PSEN、(29脚)访问片外程序存储器是输出负脉冲作片选控制信号,12个始终周期2次生效,但访问片外RAM时无效,见时序图图1-3;/EA或Vpp(31)程序储存地址的选择,H时先选片内超址时自动跳到片外ROM,或编程时施加编程电压。
80C51单片机引脚图及引脚功能介绍首先我们来介绍一下单片机的引脚图及引脚功能(如下图所示),引脚的具体功能将在下面详细介绍单片机的40个引脚大致可分为4类:电源、时钟、控制和I/O引脚。
⒈ 电源:⑴ VCC - 芯片电源,接+5V;⑵ VSS - 接地端;⒉ 时钟:XTAL1、XTAL2 - 晶体振荡电路反相输入端和输出端。
⒊ 控制线:控制线共有4根,⑴ ALE/PROG:地址锁存允许/片内EPROM编程脉冲① ALE功能:用来锁存P0口送出的低8位地址② PROG功能:片内有EPROM的芯片,在EPROM 编程期间,此引脚输入编程脉冲。
⑵ PSEN:外ROM读选通信号。
⑶ RST/VPD:复位/备用电源。
① RST(Reset)功能:复位信号输入端。
② VPD功能:在Vcc掉电情况下,接备用电源。
⑷ EA/Vpp:内外ROM选择/片内EPROM编程电源。
① EA功能:内外ROM选择端。
② Vp p功能:片内有EPROM的芯片,在EPROM编程期间,施加编程电源Vpp。
⒋ I/O线80C51共有4个8位并行I/O端口:P0、P1、P2、P3口,共32个引脚。
P3口还具有第二功能,用于特殊信号输入输出和控制信号(属控制总线)。
拿到一块单片机,想要使用它,首先必须要知道怎样去连线,我们用的一块89C51的芯片为例,我们就看一下如何给它连线。
1、电源:这当然是必不可少的了。
单片机使用的是5V电源,其中正极接40管脚,负极(地)接20管脚。
2、振蒎电路:单片机是一种时序电路,必须供给脉冲信号才能正常工作,在单片机内部已集成了振荡器,使用晶体振荡器,接18、19脚。
只要买来晶体震荡器,电容,连上就能了,按图1接上即可。
3、复位管脚:按图1中画法连好,至于复位是何含义及为何需要复要复位,在单片机功能中介绍。
4、 EA管脚:EA管脚接到正电源端。
至此,一个单片机就接好,通上电,单片机就开始工作了。
我们的第一个任务是要用单片机点亮一只发光二极管LED,显然,这个LED必须要和单片机的某个管脚相连,不然单片机就没法控制它了,那么和哪个管脚相连呢单片机上除了刚才用掉的5个管脚,还有35个,我们将这个LED和1脚相连。
80C51单片机引脚图及引脚功能介绍首先我们来介绍一下单片机的引脚图及引脚功能(如下图所示),引脚的具体功能将在下面详细介绍单片机的40个引脚大致可分为4类:电源、时钟、控制和I/O引脚。
⒈电源:⑴ VCC - 芯片电源,接+5V;⑵ VSS - 接地端;⒉时钟:XTAL1、XTAL2 - 晶体振荡电路反相输入端和输出端。
⒊控制线:控制线共有4根,⑴ ALE/PROG:地址锁存允许/片内EPROM编程脉冲① ALE功能:用来锁存P0口送出的低8位地址② PROG功能:片内有EPROM的芯片,在EPROM 编程期间,此引脚输入编程脉冲。
⑵ PSEN:外ROM读选通信号。
⑶ RST/VPD:复位/备用电源。
① RST(Reset)功能:复位信号输入端。
② VPD功能:在Vcc掉电情况下,接备用电源。
⑷ EA/Vpp:内外ROM选择/片内EPROM编程电源。
① EA功能:内外ROM选择端。
② Vpp功能:片内有EPROM的芯片,在EPROM 编程期间,施加编程电源Vpp。
⒋ I/O线80C51共有4个8位并行I/O端口:P0、P1、P2、P3口,共32个引脚。
P3口还具有第二功能,用于特殊信号输入输出和控制信号(属控制总线)。
拿到一块单片机,想要使用它,首先必须要知道怎样去连线,我们用的一块89C51的芯片为例,我们就看一下如何给它连线。
1、电源:这当然是必不可少的了。
单片机使用的是5V电源,其中正极接40管脚,负极(地)接20管脚。
2、振蒎电路:单片机是一种时序电路,必须供给脉冲信号才能正常工作,在单片机内部已集成了振荡器,使用晶体振荡器,接18、19脚。
只要买来晶体震荡器,电容,连上就能了,按图1接上即可。
3、复位管脚:按图1中画法连好,至于复位是何含义及为何需要复要复位,在单片机功能中介绍。
4、EA管脚:EA管脚接到正电源端。
至此,一个单片机就接好,通上电,单片机就开始工作了。
我们的第一个任务是要用单片机点亮一只发光二极管LED,显然,这个LED必须要和单片机的某个管脚相连,不然单片机就没法控制它了,那么和哪个管脚相连呢?单片机上除了刚才用掉的5个管脚,还有35个,我们将这个LED和1脚相连。
8051单片机引脚图与引脚功能简介时间:2009-03-02 12:42 来源:未知作者:牛牛首先我们来连接一下单片机的引脚图,如果,具体功能在下面都有介绍。
单片机的40个引脚大致可分为4类:电源、时钟、控制和I/O引脚。
⒈电源:⑴ VCC - 芯片电源,接+5V;⑵ VSS - 接地端;⒉时钟:XTAL1、XTAL2 - 晶体振荡电路反相输入端和输出端。
⒊控制线:控制线共有4根,⑴ ALE/PROG:地址锁存允许/片内EPROM编程脉冲① ALE功能:用来锁存P0口送出的低8位地址② PROG功能:片内有EPROM的芯片,在EPROM编程期间,此引脚输入编程脉冲。
⑵ PSEN:外ROM读选通信号。
⑶ RST/VPD:复位/备用电源。
① RST(Reset)功能:复位信号输入端。
② VPD功能:在Vcc掉电情况下,接备用电源。
⑷ EA/Vpp:内外ROM选择/片内EPROM编程电源。
① EA功能:内外ROM选择端。
② Vpp功能:片内有EPROM的芯片,在EPROM编程期间,施加编程电源Vpp。
⒋ I/O线80C51共有4个8位并行I/O端口:P0、P1、P2、P3口,共32个引脚。
P3口还具有第二功能,用于特殊信号输入输出和控制信号(属控制总线)。
编辑本段复位电路简介为确保微机系统中电路稳定可靠工作,复位电路是必不可少的一部分,复位电路的第一功能是上电复位。
一般微机电路正常工作需要供电电源为5V±5%,即4.75~5.25V。
由于微机电路是时序数字电路,它需要稳定的时钟信号,因此在电源上电时,只有当VCC超过4.75V低于5.25V以及晶体振荡器稳定工作时,复位信号才被撤除,微机电路开始正常工作。
编辑本段单片机复位电路的类型目前为止,单片机复位电路主要有四种类型:(1)微分型复位电路;(2)积分型复位电路;(3)比较器型复位电路;(4)看门狗型复位电路。
ISA总线的复位信号到南桥之间会有一个非门,跟随器或电子开关,常态时为低电平,复位时为高电平。
51单片机引脚介绍(上)单片机的40个引脚大致可分为4类:电源、时钟、控制和I/O引脚。
⒈电源:⑴VCC - 芯片电源,接+5V;⑵VSS - 接地端;⒉时钟:XTAL1、XTAL2 - 晶体振荡电路反相输入端和输出端。
⒊控制线:控制线共有4根,⑴ALE/PROG:地址锁存允许/片内EPROM编程脉冲①ALE功能:用来锁存P0口送出的低8位地址②PROG功能:片内有EPROM的芯片,在EPROM编程期间,此引脚输入编程脉冲。
⑵PSEN:外ROM读选通信号。
⑶RST/VPD:复位/备用电源。
①RST(Reset)功能:复位信号输入端。
②VPD功能:在Vcc掉电情况下,接备用电源。
⑷EA/Vpp:内外ROM选择/片内EPROM编程电源。
①EA功能:内外ROM选择端。
②Vpp功能:片内有EPROM的芯片,在EPROM编程期间,施加编程电源Vpp。
⒋I/O线80C51共有4个8位并行I/O端口:P0、P1、P2、P3口,共32个引脚。
P3口还具有第二功能,用于特殊信号输入输出和控制信号(属控制总线)。
拿到一块芯片,想要使用它,首先必须要知道怎样连线,我们用的一块称之为89C51的芯片,下面我们就看一下如何给它连线。
1、电源:这当然是必不可少的了。
单片机使用的是5V电源,其中正极接40管脚,负极(地)接20管脚。
2、振蒎电路:单片机是一种时序电路,必须供给脉冲信号才能正常工作,在单片机内部已集成了振荡器,使用晶体振荡器,接18、19脚。
只要买来晶体震荡器,电容,连上就能了,按图1接上即可。
3、复位管脚:按图1中画法连好,至于复位是何含义及为何需要复要复位,在单片机功能中介绍。
4、EA管脚:EA管脚接到正电源端。
至此,一个单片机就接好,通上电,单片机就开始工作了。
我们的第一个任务是要用单片机点亮一只发光二极管LED,显然,这个LED必须要和单片机的某个管脚相连,不然单片机就没法控制它了,那么和哪个管脚相连呢?单片机上除了刚才用掉的5个管脚,还有35个,我们将这个LED和1脚相连。
80C51的基本结构80C51的引脚封装时钟电路总线控制CPUROM/EPROM/FLASH4K 字节RAM 128字节 SFR 21个定时/计数器2个中断系统5中断源、2优先级串行口 全双工 2个并行口 4个RST EAALE PSENXTAL2XTAL1P0 P1 P2 P3V CCV SS一、80C51的内部结构:1.80C51的微处理器(CPU)(1)运算器:累加器ACC ;寄存器B ;程序状态字寄存器PSW 。
(2)控制器:程序计数器PC ;指令寄存器IR ;定时与控制逻辑2.80C51的片内存储器在物理上设计成程序存储器和数据存储器两个独立的空间:(1)内部ROM容量4K字节,范围是:000H~0FFFH(2)内部RAM容量128字节,范围是:00H~7FH3.80C51的I/O口及功能单元(1)四个8位的并行口,即P0~P3。
它们均为双向口,既可作为输入,又可作为输出。
每个口各有8条I/O线。
(2)有一个全双工的串行口(利用P3口的两个引脚P3.0和P3.1);(3)有2个16位的定时/计数器;(4)有1套完善的中断系统。
4.80C51的特殊功能寄存器(SFR)内部有SP,DPTR(可分成DPH、DPL两个8位寄存器),PCON,…,IE,IP等21个特殊功能寄存器单元,它们同内部RAM的128个字节统一编址,地址范围是80H~FFH。
增强型单片机的SFR有26个字节单元,所增加的5个单元均与定时/计数器2相关。
二、80C51的时钟与时序1.80C51的时钟产生方式可分为内部时钟和外部时钟2.80C51的时钟信号一个机器周期包含12个晶荡周期或6个时钟周期,指令的执行时间称作指令周期(单、双周期)。
各指令的微操作在时间上有严格的次序,这种微操作的时间次序我们称作时序。
三、80C51单片机的复位复位目的是使单片机或系统中的其它部件处于某种确定的初始状态。
复位有上电复位和上电复位和按键均有效的复位。
80C51单片机引脚图及引脚功能介绍80C51单片机引脚图及引脚功能介绍首先我们来介绍一下单片机的引脚图及引脚功能(如下图所示),引脚的具体功能将在下面详细介绍单片机的40个引脚大致可分为4类:电源、时钟、控制和I/O引脚。
⒈ 电源:⑴ VCC - 芯片电源,接+5V;⑵ VSS - 接地端;⒉ 时钟:XTAL1、XTAL2 - 晶体振荡电路反相输入端和输出端。
⒊ 控制线:控制线共有4根,⑴ ALE/PROG:地址锁存允许/片内EPROM编程脉冲① ALE功能:用来锁存P0口送出的低8位地址② PROG功能:片内有EPROM的芯片,在EPROM 编程期间,此引脚输入编程脉冲。
⑵ PSEN:外ROM读选通信号。
⑶ RST/VPD:复位/备用电源。
① RST(Reset)功能:复位信号输入端。
② VPD功能:在Vcc掉电情况下,接备用电源。
⑷ EA/Vpp:内外ROM选择/片内EPROM编程电源。
① EA功能:内外ROM选择端。
② Vpp功能:片内有EPROM的芯片,在EPROM 编程期间,施加编程电源Vpp。
⒋ I/O线80C51共有4个8位并行I/O端口:P0、P1、P2、P3口,共32个引脚。
P3口还具有第二功能,用于特殊信号输入输出和控制信号(属控制总线)。
拿到一块单片机,想要使用它,首先必须要知道怎样去连线,我们用的一块89C51的芯片为例,我们就看一下如何给它连线。
1、电源:这当然是必不可少的了。
单片机使用的是5V电源,其中正极接40管脚,负极(地)接20管脚。
2、振蒎电路:单片机是一种时序电路,必须供给脉冲信号才能正常工作,在单片机内部已集成了振荡器,使用晶体振荡器,接18、19脚。
只要买来晶体震荡器,电容,连上就能了,按图1接上即可。
3、复位管脚:按图1中画法连好,至于复位是何含义及为何需要复要复位,在单片机功能中介绍。
4、 EA管脚:EA管脚接到正电源端。
至此,一个单片机就接好,通上电,单片机就开始工作了。
1、总线型DIP40引脚封装
(1)电源及时钟引脚,4个
VCC:电源接入引脚
VSS:接地引脚
XTAL1:晶体振荡器接入的一个引脚(采用外部振荡器时,此引脚接地)
XTAL2:晶体振荡器接入的另外一个引脚(采用外部振荡器时,此引脚作为外部振荡信号的输入端)
(2)控制线引脚,4个
RST/VPD:复位信号输入引脚/备用电源输入引脚;
ALE/PROG:地址锁存允许信号输出引脚/编程脉冲输入引脚
EA/VPP:内外存储器选择引脚/片内EPROM(或FlashROM)编程电压输入引脚;
PSEN:外部程序存储器选择通信号输出引脚
(3)并行I/O引脚,32个,分4个8位口
P0.0 ~ P0.7:一般I/O口引脚或数据/低位地址总线复用引脚
P1.0 ~ P1.7:一般I/O口引脚
P2.0 ~ P2.7:一般I/O口引脚或高位地址总线引脚
P3.0 ~ P3.7:一般I/O口引脚或第二功能引脚。
80C51单片机引脚图及引脚功能介绍首先我们来介绍一下单片机的引脚图及引脚功能(如下图所示),引脚的具体功能将在下面详细介绍单片机的40个引脚大致可分为4类:电源、时钟、控制和I/O引脚。
⒈ 电源:⑴ VCC - 芯片电源,接+5V;⑵ VSS - 接地端;⒉ 时钟:XTAL1、XTAL2 - 晶体振荡电路反相输入端和输出端。
⒊ 控制线:控制线共有4根,⑴ ALE/PROG:地址锁存允许/片内EPROM编程脉冲① ALE功能:用来锁存P0口送出的低8位地址② PROG功能:片内有EPROM的芯片,在EPROM 编程期间,此引脚输入编程脉冲。
⑵ PSEN:外ROM读选通信号。
⑶ RST/VPD:复位/备用电源。
① RST(Reset)功能:复位信号输入端。
② VPD功能:在Vcc掉电情况下,接备用电源。
⑷ EA/Vpp:内外ROM选择/片内EPROM编程电源。
① EA功能:内外ROM选择端。
② Vpp功能:片内有EPROM的芯片,在EPROM编程期间,施加编程电源Vpp。
⒋ I/O线80C51共有4个8位并行I/O端口:P0、P1、P2、P3口,共32个引脚。
P3口还具有第二功能,用于特殊信号输入输出和控制信号(属控制总线)。
拿到一块单片机,想要使用它,首先必须要知道怎样去连线,我们用的一块89C51的芯片为例,我们就看一下如何给它连线。
1、电源:这当然是必不可少的了。
单片机使用的是5V电源,其中正极接40管脚,负极(地)接20管脚。
2、振蒎电路:单片机是一种时序电路,必须供给脉冲信号才能正常工作,在单片机内部已集成了振荡器,使用晶体振荡器,接18、19脚。
只要买来晶体震荡器,电容,连上就能了,按图1接上即可。
3、复位管脚:按图1中画法连好,至于复位是何含义及为何需要复要复位,在单片机功能中介绍。
4、 EA管脚:EA管脚接到正电源端。
至此,一个单片机就接好,通上电,单片机就开始工作了。
我们的第一个任务是要用单片机点亮一只发光二极管LED,显然,这个LED必须要和单片机的某个管脚相连,不然单片机就没法控制它了,那么和哪个管脚相连呢?单片机上除了刚才用掉的5个管脚,还有35个,我们将这个LED和1脚相连。
80C51单片机引脚计算机常用字符信息编码
一、单字节指令
1、8位编码仅为操作码:
如:INCA该指令的编码为:00000100B,其十六进制表示为04H,累加器A隐含在操作码中。
指令的功能是累加器A的内容加1。
注意:在指令中用“A”表示累加器,而用
“ACC”表示累加器对应的地址(EOH)。
2.8位编码含有操作码和寄存器编码:
高5位为操作码,低3位为存放操作数的寄存器编码。
如:MOVA,RO编码为11101000B,其卡六进制表示为E8H(低3位000为寄存器RO 的编码)。
功能是将当前工作寄存器RO中的数据传送到累加器A中。
二、双字节指令:
第一字节表示操作码,第二个字节表示参与操作的数据或数据存放的地址。
如:MOVA,#50H编码为01110100B,01010000B。
其十六进制表示为74H,50H。
功能是将立即数“50H”传送到累加器A中。