招生办公室工作流程图
- 格式:doc
- 大小:50.50 KB
- 文档页数:6
高考招生录取工作流程图(招生办公室)工程项目招投标流程图(基建处)工程项目财务预决算流程图(基建处)实验设备购置工作流程图(设备处)人才招聘程序工作流程图(人事处)职称晋升工作流程图(人事处)教材采购工作流程图(教务处)信息化设备招标采购工作流程图(现代教育技术中心)学生国家奖、助学金评定工作流程图(学生处)零星维修及抢修工程工作流程图(后勤处)中层干部任免工作流程图(党办室)接待审批工作流程图(校办室)批回落实图书采购招标工作流程图(图书馆)国家奖、助学金评定工作流程图(五系三部)财务支出审查程序工作流程图(计财处)职称聘任工作流程图(人事处)内外宣传工作流程图(宣传部)教师课堂教学质量评估工作流程图(评估办)学生补办毕业证、学生证工作流程图(学生处)发展党员工作流程图(五系三部)实习生管理工作流程图(实习管理处)工程项目结算审计流程图实验耗材采购工作流程图(设备处)年度考核程序工作流程图(人事处)学生成绩管理工作流程图(教务处)学生学籍管理工作流程图(成教处)成考招生录取工作流程图(成教处)优秀辅导员评比工作流程图(学生处)学生专业调整工作流程图(学生处)学生休、退学工作流程图(学生处)办公品及维修材料采购工作流程图(后勤处)报刊征订工作流程图(图书馆)工程项目安全、质量监督流程图(基建处)仪器设备验收工作流程图(设备处)对学生进行处分工作流程图三好学生优秀班干部评选工作流程图(学生处)学生退宿管理工作流程图(学生处)推荐优秀团员作为党的发展对象工作流程图(团委)红旗团总支团支部优秀团员团干十佳团员评选表彰工作流程图(团 委)印章管理与使用工作流程图(校办室)学生毕业证验证工作流程图(校办室)教师考核工作流程图(五系三部)上报系办辅导员年终考核工作流程图(五系三部)下发评优量化细则。
何庄中学校教师录用流程图
何庄中学
干部推荐任免流程图
何庄中学
岗位设置流程图
执行情况
何庄中学
职务(职称)评聘流程图
何庄中学
晋级晋职流程图
何庄中学
表彰奖励流程图
何庄中学
纪律处分流程图
何庄中学
招生工作流程图
何庄中学
教师进修、业务培训流程图
何庄中学
青年教师培养流程图
何庄中学
征订教材、教辅用书流程图
何庄中学
教师教学评估流程图
何庄中学
固定资产管理和使用流程图
何庄中学
经费管理和使用流程
何庄中学
财务收支流程图
何庄中学
特困生学费减免流程图
何庄中学
发展团员流程图
21
22。
教育培训班招生管理制度第一章总则第一条为了规范教育培训班的招生管理工作,提高办学质量,保障学员合法权益,制定本管理制度。
第二条本管理制度适用于教育培训班的全体教职员工以及学员。
第三条招生工作应坚持公平、公正、公开的原则,根据教育培训班的办学定位和教学特色,按照国家相关法律法规和教育主管部门的规定,结合实际情况,制定招生政策和管理办法。
第四条教育培训班在招生管理工作中应加强宣传,提高社会影响力,吸引更多优秀学生报名。
第二章招生计划第五条教育培训班应根据办学规模、师资力量和教学设施等条件,经教育主管部门核准后确定招生计划。
招生计划应当符合教育主管部门的相关规定和要求。
第六条教育培训班根据教学需要,合理规划各类招生计划,包括专业招生计划、公费招生计划等。
第七条教育培训班应定期对招生计划进行调整,根据市场需求和专业发展情况进行适度调整。
第八条招生计划应当经过学校领导班子研究讨论并报教育主管部门备案。
第三章招生宣传第九条教育培训班应当通过多种形式、多种渠道进行招生宣传,包括校园宣传、社会宣传、网上宣传等。
第十条招生宣传内容应真实、客观、合法,不得含有虚假信息或夸大宣传。
第十一条招生宣传应当采取全方位、多层次的宣传策略,吸引更多学生报名。
第十二条教育培训班应当利用高校开放日、招生咨询会等活动,积极开展面对面招生宣传活动。
第四章招生对象第十三条招生对象应当符合国家和教育主管部门的招生政策和政策要求。
第十四条招生对象一般包括应届高中毕业生、考研人员、社会人士等。
第十五条招生对象应具备一定的学历、文化程度和身体健康状况。
第十六条教育培训班应当根据学科特点和教学需要,对招生对象的条件进行综合评估,并采取多种方式进行选拔。
第五章招生程序第十七条招生程序应当分为报名、资格审核、考试和录取等环节。
第十八条报名环节应当简化、便捷,方便学生报名。
第十九条资格审核环节应当对学生的报名材料进行严格审核,确保报名学生符合招生条件。
齐河经济开发区实验小学收费工作流程图
齐河经济开发区实验小学招生工作流程图
齐河经济开发区实验小学籍管理工作流程图
齐河经济开发区实验小学学生评优评先工作流程图
齐河经济开发区实验小学组织学生外出活动工作流程图
注:相关制度见35 页齐河经济开发区实验小学学生意外伤害事故处理工作流程图
注:相关制度见38 页
齐河经济开发区实验小学家长、学生投诉处理工作流程图
注:相关制度见45 页齐河经济开发区实验小学教职工聘任工作流程图
齐河经济开发区实验小学教师职称评审工作流程
注:参见每年市教育局教师职务评聘工作意见齐河经济开发区实验小学教职工评优评先工作流程图
齐河经济开发区实验小学教职工年度考核工作流程图
注:相关制度见 51 页
齐河经济开发区实验小学内部分配工作流程图
齐河经济开发区实验小学新教师培养工作流程图
齐河经济开发区实验小学教职工代表大会工作流程图
齐河经济开发区实验小学中层干部岗位聘任工作流程图
齐河经济开发区实验小学学校党员发展工作流程图
齐河经济开发区实验小学教职工请假流程图
齐河经济开发区实验小学组织开展重大活动工作流程图
齐河经济开发区实验小学教师内部申诉工作流程图
齐河经济开发区实验小学学校经费使用工作流程图
齐河经济开发区实验小学物品采购工作流程图
齐河经济开发区实验小学食堂管理工作流程图
齐河经济开发区实验小学基建维修工作流程图。
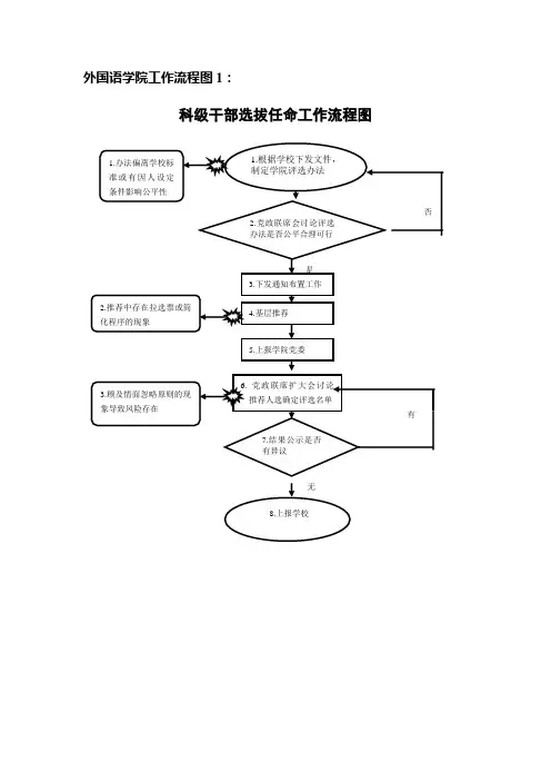
外国语学院工作流程图1:科级干部选拔任命工作流程图外国语学院工作流程图2:发展党员工作程序图→1教育引导-----------------------------------------党总支、党支部→2递交入党申请书---------------------------------------申请入党人→同申请人谈话--------------------------------党支部书记→征求党内外意见----------------------------------支委会→确定入党积极分子--------------------------------支委会→填写《入党积极分子考察登记表》 →3---------------------------党支部→指定一到两名培养联系人--------------------------支委会 →参加党校培训------------------------------------支委会 →经常向党组织进行思想汇报------------------入党积极分子 →定期考察、填写《入党积极分子考察登记表》 —————————-支委会、培养联系人→提出可否列为发展对象的意见------------------培养联系人→征求党内外群众意见------------------------------支委会 →支委会讨论确定发展对象--------------------------支委会→4→政治审查--------------------------------党总支、党支部 →进行公示----------------------------------------党支部 →撰写思想汇报-----------------------------------发展对象→党总支听取汇报并审------------------总支委员会、支委会 →整理材料,向党总支汇报--------------总支委员会、支委会 →5确定入党介绍人-----------------------------申请入党人员、支委会 →6填写《入党志愿书》-------------------------发展对象、入党介绍人 →7审查入党志愿书和有关情况---------------------------------支委会 →清点人数------------------------------------会议主持人 →汇报对党的认识、入党动机、本人履历 及需要向党组织说明的问题------------发展对象→汇报培养考察情况并表明态度------------------入党介绍人 →向大会报告对发展对象的综合审查情况 →8支委会→进行大会讨论------------------------------全体参会党员→采无记名投票方式进行表决 ----------------------------------支部大会→填写支部大会决议 ----------------------------------支部书记→总支委员会审查,填写审批意见——-——-——————————--总支委员会 →9→同发展对象谈话----------------------------------组织员 →上级党委审批------------------------------------组织部→10预备党员的管理-----------------------------------党总支、党支部 →11举行入党宣誓--------------------------- ---------------- 党总支→参加党员组织生活------------------------支委会、预备党员→加强理论指导和思想教育---------------------------党组织→认真学习理论知识、改正自身不足,严格要求自己→,发挥模范作用--------------------------------- 预备党员 →定期向党组织汇报自己的情况---------------------预备党员→了解预备党员在群众中的表现,掌握培养情况—————————————-支委会→定期与预备党员交流,了解培养情况------------------支委会 →提出书面转正申请-------------------------------预备党员 →征求党内外群众意见,全面考察----------------------支委会 →→形成预备党员预备期考察材料-----------------------支委会 →向党总支汇报-------------------------------------支委会→支部大会讨论,填写转正决议------------------------支委会→-------------------------------------------总支委员会 →15 党委审批------------------------------------------组织部、党委会 →16 材料归档---------------------------------------------党务工作者教职工评先评优流程图经费管理使用流程图人才引进流程图职称评定工作流程图外国语学院工作流程图7:绩效工资分配流程图外国语学院工作流程图8:外国语学院印章使用管理流程图外国语学院工作流程图9:期末考试工作流程图外国语学院工作流程图10:教学质量监控内部流程图外国语学院工作流程图11:学位资格审核流程图资产使用管理流程图家庭经济困难学生认定工作流程图外国语学院工作流程图14:试卷制定与保密工作流程图外国语学院工作流程图15:科研项目申报与管理流程图外国语学院工作流程图16:学生违纪处分工作流程图外国语学院工作流程图17:“奖、勤、助、贷、补”评选流程图外国语学院工作流程图18:专升本招生考试流程图外国语学院工作流程图19:“学生评优评奖”评选流程图二级教代会流程图党政联席会议流程图学术委员会会议流程图党总支委员会会议流程图。
幼儿园管理工作流程图XXX收费工作流程图:幼儿园根据公示标准通知幼儿家长,财务室按规定收取费用,并填写收费登记表。
会计收取现金并开具省财政厅统一规定使用的,上缴财政专户入账。
幼儿园根据上级文件进行收费公示,每期汇总学财情况。
服务性收费项目征求家长意见,根据家长自愿的原则委托银行进行代扣代缴业务。
银行反馈代扣不成的信息,保存家长意见回执。
相关制度见24页。
XXX招生工作流程图:施教区内适龄幼儿在家审核簿到幼儿园登记,幼儿园长带领下持房产证、户口在施教区范围内发放面试通知。
按规定时间上报教育主管部门,市妇幼保健所进行备案报到。
发放录取通知家长及幼儿到园行入园体验。
相关制度见24页。
XXX组织幼儿外出活动工作流程图:制定活动方案及相关应急预案,提出书面申请上报园长室审批,上报教育局关科室审批。
到达指定地点,组织开展活动。
园行政会议布置各相关部门负责分头落实。
随行蹲点领导根据预案及时采取应急措施进行解决。
带队老师密切关注幼儿情况,活动中出现突发情况及时向随行蹲点领导汇报。
清点人员,外出,相关领导蹲点随行。
活动组织部门负责人、带队老师、班主任对幼儿进行安全、纪律教育,并做好活动前的指导和准备。
活动结束,清点人员返回,带队老师和蹲点领导等幼儿全部到班或离园后离开。
活动组织部门、班级对活动情况进行小结,整理相关资料,归档。
相关制度见35页。
XXX学生意外伤害事故处理工作流程图:以最快的速度把幼儿送往就近的医院救治。
幼儿发生意外伤害事故及时通知幼儿的监护人。
成立事故处理小组(重大事故启动应急预案),调查事故原因,形成书面报告,向相关领导汇报。
及时向园领导汇报(情形严重的,幼儿园及时向主管教育行政部门报告)。
把处理意见反馈家长,并通过协商方式解决。
协商不成功,申请主管教育行政部门进行调解。
调解成功,按调解意见处理。
调解不成功,可依法提起诉讼,按诉讼结果处理。
事故处理结束,班主任或带班教师反思事故发生原因及处理过程,事故反思稿交办公室留档。