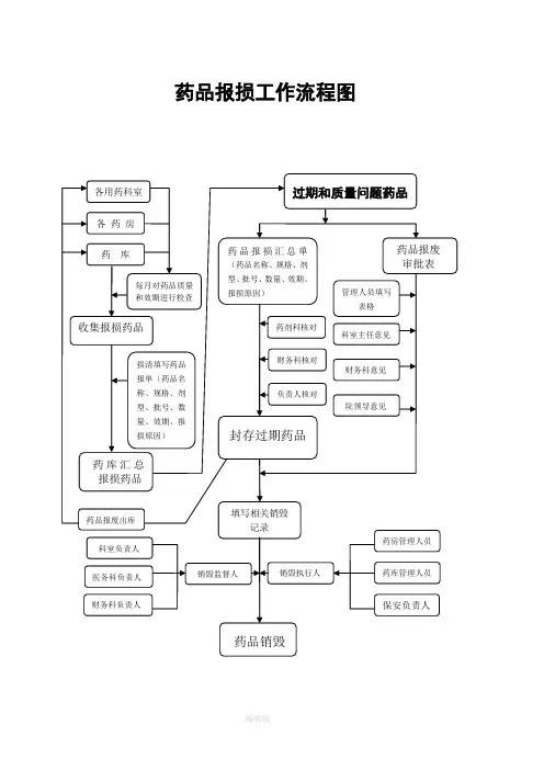
医院药品报损标准操作程序
- 格式:doc
- 大小:22.00 KB
- 文档页数:1
文档序号:XXYY-ZWK-001文档编号:ZWK-20XX-001XXX医院药品报损制度编制科室:知丁日期:年月日药品报损制度一、有效控制药品报损率在合理范围,使报损药品及时规范地销毁,防止报损药品流失。
二、各药品管理部门按“先进先出”、“储新用旧的原则使用药品”,药品每月清点有效期,及时处理。
药品储存条件符合有关规定,防止药品储存过程中变质损耗。
三、西药、中成药报损率控制在1‰以内,中药材控制在5‰以内。
四、药库、药房、病区严格药品验收。
药库原则上不接受近效期6个月内药品。
已入库或已发放到使用部门的药品发现质量问题,按《药品召回制度》退回药库。
五、因不可预计原因导致药品滞销的,药学部门及时把药品退回供货商,以减少医院损失。
六、药品使用中,因各药房药品使用不平衡,效期在3~6个月内的,各药房应相互调剂,以期尽快用完。
七、出现下列情况可以申请报损:(一)抢救车、小药柜的基数药品因接近失效期,或因印字模糊不清无法使用的,由所在部门向护理部填写报损单,经护理部主任和主管院长批准后,由护理部门报损。
药品重新申领,同时将报损药品送至药房登记,由药房统一做销毁处理。
重新申领药品的品种、数量必须和报损药品相一致。
(二)各药房药品接近失效期,平时用量较小但又必备的,如解毒药;由于意外事故,如水管爆裂,地震等导致药品损坏的;储存中发生难以避免的破损、变质的药品。
(三)按药品法律法规规定必须报损的药品。
八、报损程序:(一)由各部门药品管理人员填写药品报损单,报科室(病房)负责人核实、确认并签字;(二)科室(病房)负责人和药学人员按申请单内容逐个核实药品,确认后签字,并分别上报护理部主任和药学部主任;(三)主任确认、签字后,上报分管院长;(四)分管院长认为属实并确认属于可报损范围的,签字批准报损;(五)报损单送至计财部核准消掉财帐,转至各相应部门消掉物帐,报损单与物账明细一起留存备案,报损药品由药学部门每月集中报损处理一次,销毁处理应符合环保原则。
一、目的为加强医院药品管理,确保药品安全,提高药品使用效率,规范药品破损处理流程,特制定本制度。
二、适用范围本制度适用于我院所有药品的破损处理工作。
三、职责分工1. 药剂科负责制定、修订和完善药品破损处理管理制度,组织实施药品破损处理工作。
2. 药房负责药品的储存、保管、发放和回收,对破损药品进行登记、统计和报告。
3. 各科室负责对所使用药品的破损情况进行及时报告,并配合药剂科做好破损药品的处理工作。
四、破损药品的定义破损药品是指因以下原因造成的药品损坏:1. 外包装破损,导致药品泄漏、污染或变质。
2. 药品过期,无法继续使用。
3. 药品因质量问题导致失效。
4. 其他原因导致的药品破损。
五、破损药品处理流程1. 药房接到破损药品报告后,应立即进行核实,确认破损药品的数量、规格、批号等信息。
2. 药房将破损药品信息填写《药品破损处理报告单》,经药房负责人签字后,报送药剂科。
3. 药剂科对破损药品进行审核,确认破损原因,并提出处理意见。
4. 药剂科将破损药品信息报送医院领导,经批准后,进行以下处理:(1)对过期药品,按照规定程序进行销毁。
(2)对破损药品,根据破损原因,进行更换或销毁。
(3)对因质量问题导致的破损药品,及时向生产厂家反馈,并按照相关规定进行处理。
5. 药剂科将破损药品处理结果报送各科室,并进行统计和分析。
六、破损药品的销毁1. 销毁破损药品时,药剂科应指定专人负责,并邀请相关部门人员见证。
2. 销毁过程应严格按照规定程序进行,确保破损药品得到妥善处理。
3. 销毁后的药品残渣,应按照规定进行处理,防止环境污染。
七、监督与考核1. 药剂科定期对破损药品处理工作进行监督检查,确保制度落实到位。
2. 各科室应积极配合药剂科做好破损药品处理工作,对违反规定的行为,将予以通报批评。
3. 对在破损药品处理工作中表现突出的个人或科室,给予表彰和奖励。
八、附则1. 本制度由药剂科负责解释。
2. 本制度自发布之日起实施,原有相关规定与本制度不符的,以本制度为准。
药品报损、销毁制度
1.药剂科各部门及工作人员应加强药品管理,严格按药品储存条件储存药品,严防药品破损、霉变、失效,药品报损率应小于3%。
2.凡药品出现破损、霉变、超过有效期等不适合继续销售、使用的均应按药品报损处理,药品配送协议中明确由配送企业承担药品破损损失的,进行药品报损后应及时向药品配送企业索补。
3.报损药品应由药剂科各部门汇总填写药品报损、销毁表,报药剂科主任审核签字,上报主管院长审批。
4.待批报损、销毁药品,应单独存放于不合格药品区,并有明确标示。
5.经审批同意报损、销毁的药品,应严格管理,采用合适的方式及时监督销毁。
防止流出科室。
6.进行药品销毁时,必须至少有两人在场,及时在药品报损、销毁记录表上登记并签字。
7.对医疗用毒性药品、麻醉药品、第一类精神药品、放射性药品等特殊管理药品的销毁,要上报卫生行政主管部门监督销毁。
8.对报损药品应及时总结分析,查找原因,属责任事故的,应追究相关人员责任。
药剂科要采取措施,努力防范并减少药品报损损失。
药剂科
二〇一四年六月。
医院药品报损标准操作程序
医院药品报损标准操作程序
医院药品报损标准操作程序
目的:制定药品报损标准操作程序,以确保药品质量和库存药品数量的准确。
范围:药剂科各部门
责任人:药剂科各部门负责人
程序:
1、报损范围:凡药品有霉变、裂开、过期失效、破损等质量不符合要求时,应办理报损手续。
2、药品报损均应填写报损记录,注明药品名称、规格、数量、药品实际金额及报损原因,填写报损单。
3、报损药品必须由报损部门填写药品报损单,药剂科主任签字,分管院长审核,报财务科销账。
4、库房会计根据报损清单,进行销帐处理。
5、经批准报损的药品,必须根据有关规定,统一保管,不得流失、随意丢弃。
6、原包装破损药品,由药库负责与进货单位联系调换,以降低报损率,减少浪费。
7、对易燃易爆的危险品、毒、麻、精药品应经上级部门批准后,根据有关规定销毁。
8、药品报损单应妥善保存备查。
9、报损药品的处理,不定期由具有法定资质的专业部门作集中销毁处理。
感谢您的阅读!。
医院破损药品处理流程下载提示:该文档是本店铺精心编制而成的,希望大家下载后,能够帮助大家解决实际问题。
文档下载后可定制修改,请根据实际需要进行调整和使用,谢谢!并且,本店铺为大家提供各种类型的实用资料,如教育随笔、日记赏析、句子摘抄、古诗大全、经典美文、话题作文、工作总结、词语解析、文案摘录、其他资料等等,想了解不同资料格式和写法,敬请关注!Download tips: This document is carefully compiled by this editor. I hope that after you download it, it can help you solve practical problems. The document can be customized and modified after downloading, please adjust and use it according to actual needs, thank you!In addition, this shop provides you with various types of practical materials, such as educational essays, diary appreciation, sentence excerpts, ancient poems, classic articles, topic composition, work summary, word parsing, copy excerpts, other materials and so on, want to know different data formats and writing methods, please pay attention!医院破损药品处理是一项关乎患者安全和医疗质量的重要工作。
药品报损、销毁制度(最终定稿)第一篇:药品报损、销毁制度药品报损、销毁制度1、凡破损变色发霉虫蛀过期失效等质量不合格药品,一律按报废处理。
2、原包装缺损的药品,应由供货商负责调换补货。
发生在各药房的原包装破损的药品,由药房凭残损包装向药库索补。
药库将残损包装集中后统一向供货商索补。
原包装短缺的药品,不管是发生在药房或药库,均需二人以上证明,经药剂科主任签字后向供货商索补。
3、破损、霉变、过期失效药品,药库及各药房汇总填写报废单,报废单须写明药品名称、规格、单价、金额及报损总金额,报损原因等,经质量管理小组查验签字,报药剂科主任审核签字,上报主管院长审批。
4、待批报废药品,应单独集中存放,并有明确标示。
5、经审批报废后的药品,一律集中存放在报废库中,待药监部门年底组织统一销毁。
6、报废药品应严格管理,及时监督销毁。
防止流入社会,危害人民群众健康。
7、对已过期或其它原因不能继续使用的药品,由保管员、药品会计填写药品销毁单,科主任同意后上报医院相关部门及院长同意后方可销毁。
8、销毁的药品要进行登记,记录内容为:药品名称、规格、批号、销毁数量、销毁原因、经手人、销毁时间、地点、方式。
9、在进行药品销毁时,必须至少有两人在场,及时在药品销毁登记本做记录并有两人签字。
10、对毒、麻、精神药品等特殊药品的销毁,要上报安乡县卫生局,在其监督下进行销毁,并对销毁情况进行登记。
第二篇:药房药品报损、销毁制度丰润区中医医院药房药品报损、销毁相关管理规定1、凡破损、变色、发霉、虫蛀、过期失效等质量不合格药品,一律报损处理。
2、原包装短缺或破损的药品,以及采购入库即为近效期药品或药品质量存在质疑的药品,药房需结合药库及药事科协调供货商调换补货,以降低报损率,减少浪费。
3、待批报损、销毁药品,各药房于每季度盘点前,上报药房主任审核签批后打印明细单,交由药剂科汇总并填写药品报损、销毁审批表,上报主管院长审批(一式两份,审批后交财务一份,药剂科留存一份。
医院药品报损、销毁制度
1.药学科各部门及工作人员应加强药品管理,严格按药品储存条件储存药品,严防药品破损、霉变、失效,药品报损率应小于0.3%。
2.凡药品出现破损、霉变、超过有效期等不适合继续销售、使用的均应按药品报损处理,药品配送协议中明确由配送企业承担药品破损损失的,进行药品报损后应及时向药品配送企业索补。
3.报损药品应由药学科各部门汇总填写药品报损、销毁表,报药学科主任审核签字,并上报主管院长审批。
4.待批报损、销毁药品,应单独存放于不合格药品区,并有明确标示。
5.经审批同意报损、销毁的药品,应严格管理,采用合适的方式及时监督销毁。
防止流出科室。
6.进行药品销毁时,必须至少有两人在场,及时在药品报损、销毁记录表上登记并签字。
7.对医疗用毒性药品、麻醉药品、第一类精神药品、放射性药品等特殊管理药品的销毁,要上报卫生行政主管部门监督销毁。
8.对报损药品应及时总结分析,查找原因,属责任事故的,应追究相关人员责任。
药学科要采取措施,努力防范并减少药品报损损失。
9.本制度自公布之日起施行。
医院药品报损与销毁制度医院药品报损与销毁制度在不断进步的社会中,制度的使用频率呈上升趋势,制度就是在人类社会当中人们行为的准则。
什么样的制度才是有效的呢?以下是小编帮大家整理的医院药品报损与销毁制度,希望对大家有所帮助。
1.目的:规范药品的报损与销毁流程。
2.范围:全院药品使用部门,适用于破损、过期等不能继续使用药品的报损与销毁。
3.定义:无。
4.权责4.1医护人员发现药品质量不合格,及时填报药品不良事件报告,将不合格药品退回相应药房。
4.2药学部各部门负责人负责接收并核实申请报损的药品、输入电脑、指导销毁、打印报损单;药品报损做账、计算药品报损率,报科主任。
4.3药学部:分析药品报损原因,及时制订相应的措施,以进一步降低报损率。
5.制度内容5.1以下药品属报损药品范围5.1.1因无远效期替换一直留用放置过期的。
5.1.2由于意外事故、不可抗力(如地震)等导致药品损坏的。
5.1.3因工作原因发生药品破损的。
5.1.4药品的效期或标识模糊。
5.2以下药品属销毁药品范围5.2.1质量不合格药品,如破损、过期、标识模糊、变色、有异物等。
5.2.2超过有效期限尚未使用的药品。
5.3 药品报损与销毁处理流程5.3.1护士发现需报损药品,填写《病区药品报损申请表》,经护士长签名,将申请表和待报损药品送至相应药房,药房负责人核实、接收、调换。
5.3.2药师发现药品需报损,及时向部门负责人报告;经负责人确认后,放置于不合格药品区。
5.3.3药学部各部门负责人每月将所有待报损药品汇总,提出报损申请,报药学部主任和分管院长审批,经审批同意后,及时在HIS系统中办理报损手续并按规定进行销毁,并记录。
5.3.4药品销毁:按医疗废物处理,执行《医疗废物管理制度》。
5.3.5发现质量不合格药品,各部门负责人要检查同一产品、特别是同一批号产品的质量,必要时暂停该产品在我院的使用。
5.3.6药学部各部门负责人应每月进行报损率统计并上报科主任,药学部应每季度进行报损原因分析,及时制订相应措施,以进一步降低报损率。
市人民医院药品报损销毁制度;
内容:
1、药剂科执行药品的报损和销毁制度。
2、麻醉药品、第一类精神药品、医疗用毒性药品、放射性药品的报损和销毁按特殊药品管理规定执行。
3、药品的报损和销毁工作由药库人员负责管理。
4、下列药品必须报损:
4.1在入库验收、在库养护、销后退回等业务流程中发现的非质量因素的不合格药品,且无法退换的,如破损药品。
4.2国家公布质量不合格的药品或明令禁止销售的药品,药品监督管理部门抽检不合格的药品。
4.3丢失的药品。
5、药剂科设药库保管员统计本科室的药品报损情况,填写《药品报损单》,报药剂科主任审批。
6、各科室退回药品填写《药品报损单》,连同报损药品回收,报药剂科主任审批,统一销毁。
7、经批准报损的药品可以销毁,不得流失或丢弃。
7.1对环境无污染的液体制剂可以倒入下水道中冲走。
固体制剂粉碎后,与水混合,丢弃于垃圾箱中。
包装材料、说明书、合格证等应粉碎后丢弃于垃圾袋中。
7.2不允许按常规方法销毁或需在特殊条件下销毁的药品,应通知供应商回收,并监督销毁。
7.3易燃、易爆、毒性、麻醉、精神、放射类等管制药品和国家规定的包装材料的报废,应按照有关规定处理。
8、药剂科集中待销毁药品,上报药剂科主任和院长。
1.0目的为了加强医院药品的安全监督,确保医院库存货物的准确性,规范药品报损、销毁处置流程,清理、销毁报损药品,防止流入社会,危害人民群众健康,根据本医院情况特制定本制度。
2.0适用范围适用于医院范围内所有药品及医疗耗材、检验科试剂的管理。
3.0职责药房、检验科、医务科、财务科对本制度的实施负责。
4.0药品报损规定4.1凡破损变色、发霉、虫蛀、过期失效等质量不合格药品,一律按报废处理。
4.2原包装缺损的药品,经药房主任通知采购人员向供货商调换索补。
4.3破损、霉变、过期失效药品,药房填写《药品报损单》,报损单须写明药品名称、规格、生产厂家、批号、有效期、单价、数量、金额及报损总金额,报损原因等,经药房主任审核签字,医务科审核签字并上报主管院长审批。
4.4药房每月将报损单装订成册,二联交财务科留档,一联留底。
4.5财务科对于报损的药品进行账务核销,并和系统数据核对。
年末计算药房药品报损率,并上报医务科及院长。
4.6待批报废药品,应单独集中存放(不合格品库),并有明确标示。
经审批报废后的药品,一律集中存放在报废区域中。
4.7报废药品应严格管理,及时监督销毁。
防止流入社会,危害人民群众健康。
4.8销毁的药品要进行登记,记录内容为:药品名称、规格、批号、销毁数量、销毁原因、经手人、监管人销毁时间、地点、方式。
4.9在进行药品销毁时,必须至少有三人在场,及时在《药品销毁单》上做记录并有两人签字(由仓库、财务科、医务科执行)。
4.10药品销毁每月一次:时间为每月末盘点后,并在盘点报告中说明。
4.11对毒、麻、精神药品等特殊药品的销毁,要上报所属卫生局,在其监督下进行销毁,并对销毁情况进行登记,按卫生局相关规定执行。
相关表单《药品报损单》《药品销毁单》。
编号:FS-QG-73571三九医院药品报损制度
Sanjiu Hospital Drug Loss Reporting System
说明:为规范化、制度化和统一化作业行为,使人员管理工作有章可循,提高工作效率和责任感、归属感,特此编写。
人民医院药品报损制度
1、凡药品有霉变、裂开、过期失效、破损等质量不符合要求时,应办理报损手续。
2、药品报损均应填写报损记录,注明药品名称、规格、数量、药品实际金额及报损原因,填写报损单。
3、报损药品必须由报损部门填写药品报损单,药剂科主任签字,报财务科审核、销账。
4、库房会计根据报损清单,进行销帐处理。
5、经批准报损的药品,必须根据有关规定,统一保管,不得流失、随意丢弃。
6、原包装破损药品,由药库负责与进货单位联系调换。
7、对易燃易爆的危险品等特殊管理药品应经上级部门批准后,根据有关规定销毁。
8、药品报损单应妥善保存备查。
9、报损药品的处理,不定期由具有法定资质的专业部门作集中销毁处理。
请输入您公司的名字
Foonshion Design Co., Ltd。
药品报损管理规定 Hessen was revised in January 2021
药品报损管理制度
为了加强药品的安全监管,凡是药品有霉变、裂开、过期失效等不符合要求时,应办理药品报损制度。
一、各部门均应该填写三联报损单,注明药品名称、规格、单位、
进价、数量及报损原因,并有药房主管签名,特殊情况报主管领导审批。
二、药品采用火烧或者土埋的方式进行,要有药房主管或者医务科
领导等两人以上在场,并在报损单上签名。
三、药房主管应把报损单装订成册,两联交会计,一联留底。
四、会计当月办理报损后,财务部记帐一联,留底备查一联,年终
计算报损率。
五、原包装损坏药品,采购与进货商进行调换,以降低报损率,减
少浪费。
六、麻醉药品和精神类药品应按照相关规定另行处理。
杭州乾宁斋门诊部。
医院药品报损标准操作程序
医院药品报损标准操作程序
目的:制定药品报损标准操作程序,以确保药品质量和库存药品数量的准确。
范围:药剂科各部门
责任人:药剂科各部门负责人
程序:
1、报损范围:凡药品有霉变、裂开、过期失效、破损等质量不符合要求时,应办理报损手续。
2、药品报损均应填写报损记录,注明药品名称、规格、数量、药品实际金额及报损原因,填写报损单。
3、报损药品必须由报损部门填写药品报损单,药剂科主任签字,分管院长审核,报财务科销账。
4、库房会计根据报损清单,进行销帐处理。
5、经批准报损的药品,必须根据有关规定,统一保管,不得流失、随意丢弃。
6、原包装破损药品,由药库负责与进货单位联系调换,以降低报损率,减少浪费。
7、对易燃易爆的危险品、毒、麻、精药品应经上级部门批准后,根据有关规定销毁。
8、药品报损单应妥善保存备查。
9、报损药品的处理,不定期由具有法定资质的专业部门作集中销毁处理。
感谢您的阅读!。