会计师审计收费标准
- 格式:xls
- 大小:25.00 KB
- 文档页数:2
浙江省会计师事务所调整后服务收费标准注:会计师事务所对委托业务不在当地,需赴外地办理业务的,差旅费不在上述标准内,由委托方另行承担,并在合中同约定。
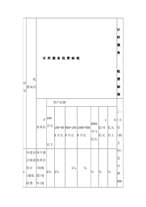
浙江省物价局文件浙价服[2011]91号浙江省物价局关于调整会计师事务所服务收费标准的通知各市、县(市、区)物价局,省注册会计师协会:为规范会计事务所收费行为,维护社会公共利益和当事人的合法权益,促进会计师行业健康发展,根据《国家发展改革委、财政部关于印发<会计师事务所服务收费管理办法>的通知))(发改价格[201 O]196号)精神,经研究,决定对现行会计师事务所收费标准进行调整,现就有关事项通知如下:一、会计师事务所服务收费是指依法成立的会计师事务所根据相关法律法规规定接受委托提供审计服务和其他服务,向委托方收取的服务费用。
会计师事务所服务收费实行政府指导价和市场调节价。
审查企业会计报表、验证企业资本、办理企业合并、分立,清算事宜中的审计服务和法律、行政法规规定的其他审计服务收费实行政府指导价。
审查企企业会计报表和验证企业资本的基准收费标准见附件,各会计师事务所开展服务时,按照上浮不超过30%,下浮不低于经营成本的原则确定具体收费。
涉及企业注册资本变更的验资服务,其基准收费标准可按注册资本变更后同档收费标准提高40%执行,但不得另行收取审计费用。
会计师事务所办理企业合并、分立、清算事宜中的审计服务收费标准另行制定。
会计师事务所按照自愿有偿原则提供会计咨询、会计服务等其他服务的收费实行市场调节价。
二、会计师事务所服务也可采用计时收费的方式,计时收费具体标准暂由省注册会计师协会确定,报省物价局备案。
三、会计师事务所开展服务,应坚持自愿有偿、委托人付费的原则。
会计师事务所应与委托方签订服务合同(协议),明确双方的权利和义务,载明收费项目、收费标准、收费方式、收费金额、付款和结算方式、争议解决方式;采用计时收费的,还应载明计费的工作人日数等内容。
广东省会计师事务所审计服务收费标准表序 号 服务项目名 称计价单位 50万元 以下部分 50-100万 元部分 100-500 万元部分 500-1000 万元部分1000-5000 万元部分 5000万元-1 亿元部分 1—5亿元 部分 5-10亿元 部分 10亿元以上 部分1 财务报表审 计 年收费标准2000元2‰0.9‰0.7‰0.5‰0.3‰0.15‰0.1‰0.08‰货币出资 12001.50.40.30.20.150.10.080.06元‰‰‰‰‰‰‰‰ 收费标准 2资本验证次 其他出资 收费标准 按货币出资方式收费标准的120%计收3 合并、分立、 清算审计 按年度财务报表审计标准150%计收,再将分年度收费额累加计算;超过三年的年度可以按照年度财务报表审计标准120%计收。
计 件4 经济责任审 计 按年度财务报表审计标准150%计收,再将分年度收费额累加计算;超过三年的年度可以按照年度财务报表审计标准120%计收。
5清产核资按财务报表审计收费标准的2倍计收。
收费 6 外汇收支审核按计时收费,不低于1000元。
7特殊目的审计参照4、5收费标准计收或按计时收费。
医疗卫生机构、大中专院校以及基金会等非8 盈利组织的财 务(会计)报表 定期提供年度财务报表审计的,资产总额1亿元以下部分按财务报表审计收费标准下浮10%计收,资产总额1亿-5亿元部分下浮20%计收,资 产总额5亿元以上部分下浮30%计收;专项审计报告按财务报表审计标准计收。
审计;其他行政事业单位财务报表审计初级助理:300元/小时;助理:600元/小时;注册会计师:1000元/小时;项目经理:1500元/小时;部门经理:2000元/小时;合伙人(主任)会计师:3000计时 收费注:1.财务报表审计按被审单位资产总额与销售收入孰高分档累进计费;2.资本验证按实收资本分档累进计费。
如同时存在货币出资及其他出资情况,可分别计算后再相加计费;3.表内的计件收费标准可下浮不超过30%;4.表内的计时收费标准可上下浮40%。
会计师事务所审计报告收费标准会计师事务所审计报告收费标准是指会计师事务所为客户提供审计服务所收取的费用标准。
审计报告是会计师事务所向客户出具的一种证明文件,用于对客户财务报表进行审计,并对审计结果进行说明和总结。
审计报告收费标准的确定对于会计师事务所的经营和客户的选择都具有重要意义。
下面将对会计师事务所审计报告收费标准进行详细介绍。
首先,会计师事务所审计报告收费标准的确定是受到多方面因素的影响的。
其中,客户的规模、行业、复杂程度、审计对象的数量等都是影响审计报告收费标准的重要因素。
一般来说,规模大、行业复杂、审计对象多的客户,其审计报告收费标准会相对较高。
此外,会计师事务所自身的实力、声誉、经验、技术水平等也会对审计报告收费标准产生影响。
通常情况下,实力雄厚、声誉良好、经验丰富、技术精湛的会计师事务所,其审计报告收费标准会相对较高。
其次,会计师事务所审计报告收费标准的确定还需考虑到市场竞争情况。
在市场竞争激烈的情况下,会计师事务所为了吸引客户,可能会适当降低审计报告收费标准,以获取更多的业务机会。
而在市场竞争不激烈的情况下,会计师事务所可能会根据自身的实力和服务质量确定相对较高的审计报告收费标准。
再次,会计师事务所审计报告收费标准的确定还需考虑到成本和效益。
会计师事务所在提供审计服务的过程中,需要投入人力、物力、财力等各种资源,因此成本是确定审计报告收费标准的重要考量因素之一。
同时,会计师事务所也需要考虑到自身的盈利能力和市场定位,以确定合理的审计报告收费标准。
最后,会计师事务所在确定审计报告收费标准时,还需考虑到客户的支付能力和市场接受程度。
客户的支付能力直接影响到会计师事务所的收入水平,因此会计师事务所需要根据客户的支付能力确定合理的审计报告收费标准。
同时,市场接受程度也是影响审计报告收费标准的重要因素,会计师事务所需要根据市场的接受程度来确定合理的审计报告收费标准,以保证其审计服务的市场竞争力。
会计师事务所审计费用收费标准计
算方法
审计项目一般按年末资产总额收费,标准是:
资产总额(万元)收费标准(元)
50-1001600-2400
101-5002400-3200
501-10003200-4000
1001-30004000-5600
3001-50005600-7200
5001-100007200-9600
10000-200009600-11200
20000以上双方协商
这是经物价部门批准的,各事务所内部掌握的收费标准,都有一个活动范围,只要不低于或超过这个范围,收费就是合理的,你可以按每个档次的最低标准和事务所砍价。
扩展阅读:
会计师事务所是指依法独立承担注册会计师业务的中介服务机构,是由有一定会计专业水平、经考核取得证书的会计师(如中国的注册会计师、美国的执业会计师、英国的特许会计师、日本的公认会计师等)组成的、受当事人委托承办有关审计、会计、咨询、税务等
方面业务的组织。
中国对从事证券相关业务的会计师事务所和注册会计师实行许可证管理制度。