2010年聊城市考试录用公务员简章
- 格式:doc
- 大小:71.50 KB
- 文档页数:15
2004-2011年山东省公务员考试分数线年份分数线(总分数/行测分数)2011省直机关及直属单位录用公务员笔试成绩合格分数线分别为50分和45分;济南市:市直机关和省垂直管理机关(含参照公务员法管理单位)笔试合格分数线为50分;公安机关笔试合格分数线为45分;县(市)区和乡镇(街道办事处)机关(含参照公务员法管理单位)笔试合格分数线为45分。
青岛市:笔试合格分数线确定为56分。
临沂市:笔试合格分数线为40分。
德州市:面向社会考录公务员及从基层选调生中考选工作人员的笔试总成绩最低合格分数线为45分(含)。
潍坊市:笔试成绩合格分数线和选调生合格分数线为50分。
烟台市:市直机关(不包含县级公安、法院、检察院、工商、地税、质监机关)及参照管理单位招考笔试成绩合格分数线为50分;县乡机关(县市区参照管理单位)、县级公安、法院、检察院、工商、地税、质监系统招考笔试成绩合格分数线为45分。
威海市:2011年考录公务员笔试成绩合格分数线为50分。
日照市:公务员招考笔试最低合格分数线为综合折算分50分。
济宁市:市县乡机关和省垂直管理部门市以下机关公务员(含参照公务员法管理单位工作人员)招考职位笔试成绩合格分数线为50分。
菏泽市:各招考职位笔试成绩最低合格分数线为45分。
泰安市:笔试成绩总分不低于50分。
莱芜市:2011年考试录用公务员笔试成绩合格分数线为45分。
淄博市:2011年招考公务员(公安人民警察、参照公务员法管理单位工作人员)笔试成绩最低合格分数线确定为:45分。
滨州市:2011年考录公务员笔试成绩合格分数线为45分。
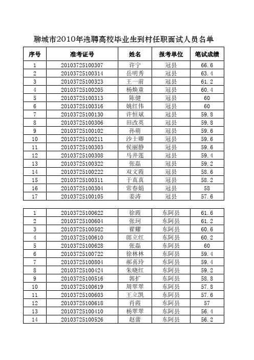
聊城市:考试录用公务员笔试成绩合格分数线为45分。
20 102010年省级机关及直属单位考试录用公务员的确定笔试成绩合格分数线为:省直机关55分,直属单位50分20 09省直机关及直属单位(不含省垂直管理部门市以下机关)面向社会招考职位笔试成绩合格分数线为:省直驻济机关50分,省直驻济以外单位45分。
部门名称用人司局机构层级职位名称职位简介中央办公厅中央宣传部中央宣传部中央宣传部中央宣传部中央宣传部中央宣传部中央宣传部中央宣传部中共中央对外联络部中央政法委全国人大机关中办机要交通局办公厅理论局新闻局宣传教育局文化体制改革和发展办公室机关党委中央文明办未成年人思想道德建设工作组社科规划办部内司局研究室法制工作委员会中央中央中央中央中央中央中央中央中央中央中央中央交通处机要交通工作科员主任科员及以下主任科员及以下主任科员及以下主任科员及以下主任科员及以下主任科员及以下主任科员及以下主任科员及以下会计政策研究工作人员法制工作委员会主任科员以下承担机要交通日常业务及押运工作文稿起草、公文运转、联络协调、会议安排等理论教育与研究新闻报道、组织协调、公文写作公文写作、组织协调文字调研文字调研文件起草、调研管理文件起草、调研管理预算管理、会计业务和会计电算化等有关工作。
政策研究及综合文稿的起草从事立法及立法服务工作政协全国委员会机关全国政协办公厅中央综合调研与文稿起草协助处领导承担有关文稿的起草,有关会议和调研的组织协调工作。
政协全国委员会机关全国政协办公厅中央综合调研与文稿起草协助处领导承担有关文稿的起草,有关会议和调研的组织协调工作。
政协全国委员会机关共青团中央共青团中央中国人民对外友好协会中国人民对外友好协会中国人民对外友好协会中国贸促会中华全国台湾同胞联谊会中央文献研究室全国总工会全国总工会全国政协办公厅国际联络部一国际联络部二亚非工作部日本工作部欧亚工作部展览部全国台联台胞部编研部二法律工作部财务部中央中央中央中央中央中央中央中央中央中央中央综合调研与文稿起草一处青年外事工作科员三处青年外事工作科员一处科员三处科员三处科员展览部出展业务工作主任科员以下主任科员及以下主任科员以下劳动争议处理工作岗位工会经费和财政资金出纳工作岗位协助处领导承担有关文稿的起草,有关会议和调研的组织协调工作。
从事韩语口译、笔译及与国外青年组织联络工作从事英语口译、笔译及与国外青年组织联络工作开展与韩国的友好交流与合作,承担举办对外友好交流活动的组织协调和翻译工作。
附件1:2010年聊城市拟录用公务员名单姓名报考职位备注孔晓燕市纪检委中文刘振勇市纪检委法律B梅永杰市纪检委法律A王卫市纪检委财会白雪市委办公室综合徐斌市委办公室普通管理何瑞市委政策研究室普通管理魏强市政法委普通管理程子旭市政法委计算机许斌市台办中文刘娜市人大普通管理A戴圆圆市人大普通管理B薛晓璐市政协文稿起草与综合调研李如玉市政府办公室计算机档案管理刘伟市民政局财务刘向勇市司法局中文孙琰市司法局法律李光扬市财政局新闻郭力琳市财政局法律豆立川市财政局财政岳晖市财政局会计财务A于蕾市财政局会计财务B杨丽市国土局中文张哲市国土局土地管理潘征宇市国土局经济金淑红市交通局文秘宋士达市交通局交通工程王珊珊市水利局会计潘晓晖市林业局计划财务陈执锐市商务局经济学李广军市环保局中文宋丽娜市环保局生态环境杜凯市安监局安全生产监管田飞市物价局经济管理朱聪俐市物价局会计审计郭玉玺市经信委普通管理马光福市人社局审计张可卿市人社局劳动和社会保障刘云市农委文秘A赵一市农委文秘B任超市公安局监所管理A蒋加军市公安局监所管理A盛风亮市公安局监所管理A李朝博市公安局监所管理A赫玉玲市公安局监所管理B段臻市公安局监所管理B王英坤市公安局监所管理B胡龙伟市公安局监所管理B钟利焕市公安局监所管理B李娟市公安局监所管理B高廷立市公安局监所管理B陈彩军市公安局监所管理B曲超市公安局监所管理C李银君市公安局监所管理C张存文市公安局特警陈占浩市公安局公安杨勇市公安局公安陈方刚市公安局公安朱叶市公安局公安邓立群市公安局公安刘锐市公安局公安邵庚震市公安局公安王艳丰市公安局公安张成龙市公安局公安夏瑞霞市公安局普通管理王剑楠市公安局普通管理陈博市公安局法医徐琨市公安局法医戴芬市公安局计算机(研究生)许宏伟市公安局计算机(研究生)徐宁市公安局计算机(本科)张诗祺市公安局计算机(本科)马媛媛市公安局计算机(本科)贺晗市公安局法律郭晓蒙市公安局艺术于海珍市公安局外语朱国超市公安局开发区分局公安王晔市公安局开发区分局公安季茂云市公安局东昌府分局公安马鑫市公安局东昌府分局公安乌昊市公安局东昌府分局公安杨祥光市公安局东昌府分局公安张毅市公安局东昌府分局公安张树建市公安局东昌府分局公安尹懋霖市公安局东昌府分局公安李龙辉市公安局东昌府分局公安姜少斌市公安局东昌府分局公安赵万浩市公安局东昌府分局公安于涛市公安局聊南分局公安曹钦市公安局聊南分局公安李学刚市公安局交警法医王茜市公安局交警法医王金荣市公安局交警法医刘艳勤市公安局交通设施管理郭超市公安局交通设施管理李园园市公安局交通执勤汪敬市公安局交通执勤崔庆彬市公安局交通执勤郑超市公安局交通执勤李超市公安局交通执勤王莹市公安局交通执勤王希市公安局交通执勤石帆市公安局交通执勤柳真市公安局交通执勤李斌市公安局交通执勤郭炫宙市公安局交通执勤郑贺市公安局交通执勤付茂东市公安局交通执勤张静博市公安局交通执勤赵鹏飞市公安局交通执勤刘西光临清公安局公安霍显超临清公安局公安张晓雪临清公安局公安蒋晓光临清公安局公安张克临清公安局中文田永博冠县公安局公安王宪营冠县公安局公安田怀锐冠县公安局公安牛晓强莘县公安局公安徐啸莘县公安局公安王晓东莘县公安局公安樊艳会莘县公安局公安吴明建莘县公安局公安索振纳莘县公安局公安刘明磊莘县公安局公安范奇儒莘县公安局计算机梁兆磊阳谷公安局公安李德鹏东阿公安局公安张传普东阿公安局公安李英潇东阿公安局公安朱厚珍东阿公安局公安李岚华东阿公安局公安席作全东阿公安局法律黄淼茌平公安局公安陈磊茌平公安局公安吴玉克茌平公安局公安梁猛茌平公安局公安岳光庭茌平公安局公安宋星火茌平公安局法医史志伟高唐公安局公安张华洁临清市直财会审计韩继博临清市直财会审计王宪苗阳谷县直中文肖桂芹阳谷县直水利班凤媛阳谷县直农学周鹏冠县县直普通管理赵芳萍冠县县直电子商务金凤英莘县县直农学园林潘希强莘县县直农学园林刘芳莘县县直法律左中原茌平县直文秘张君丽茌平县直文秘邢轲茌平县直文秘崔磊茌平县直文秘王春莉茌平县直旅游管理庞士宏高唐县直中文阎冰高唐县直中文张倩高唐县直机械制造殷山峻高唐县直工业会计杨化志高唐县直城市规划张阳东昌府乡镇普通管理李丹东昌府乡镇普通管理昝立彦东昌府乡镇普通管理任建林东昌府乡镇普通管理张磊东昌府乡镇普通管理邢玉青东昌府乡镇普通管理尹菲菲临清乡镇普通管理由林临清乡镇普通管理解星临清乡镇普通管理王娜临清乡镇普通管理厉兆辉临清乡镇普通管理邱玥临清乡镇普通管理崔广波临清乡镇普通管理徐百圳临清乡镇普通管理郭凯贤临清乡镇普通管理刘倩倩临清乡镇普通管理母永乾冠县乡镇普通管理徐书勋冠县乡镇普通管理刘琳莘县乡镇普通管理蔡仕卿莘县乡镇普通管理张彦霞莘县乡镇普通管理孙秀娟莘县乡镇普通管理郑飞飞莘县乡镇普通管理李娜莘县乡镇普通管理周广源阳谷乡镇普通管理徐龙涛阳谷乡镇普通管理左炜炜阳谷乡镇普通管理白述岭阳谷乡镇普通管理冯晓清阳谷乡镇普通管理赵昂茌平乡镇普通管理焦峰茌平乡镇普通管理赵洋茌平乡镇普通管理乌鹏慧茌平乡镇普通管理伦玉博茌平乡镇普通管理潘亚男茌平乡镇普通管理任婷婷茌平乡镇普通管理王文茌平乡镇普通管理郎卉茌平乡镇普通管理初保昌茌平乡镇普通管理王训芳高唐乡镇普通管理王蕾高唐乡镇普通管理杨晓高唐乡镇普通管理姚振岭高唐乡镇普通管理张媛高唐乡镇普通管理刘栋高唐乡镇普通管理荆蕊市法院专业技术人员姜海峰市法院司法警察赵云市法院司法警察冯丽丹临清法院专业技术人员(中文类)林忠良临清法院专业技术人员(计算机类)都伟临清法院审判执行业务部门工作人员苏春斌临清法院审判执行业务部门工作人员刘鑫鑫冠县法院专业技术人员赵天鹏冠县法院审判执行业务部门工作人员王亚东冠县法院审判执行业务部门工作人员徐楠莘县法院审判执行业务部门工作人员王慧娟莘县法院审判执行业务部门工作人员刘苏莘县法院审判执行业务部门工作人员赵凯莘县法院审判执行业务部门工作人员陈文娟阳谷法院审判执行业务部门工作人员翟婷阳谷法院审判执行业务部门工作人员王艳阳谷法院审判执行业务部门工作人员肖凤芝茌平法院审判执行业务部门工作人员冯轲君茌平法院审判执行业务部门工作人员闫博茌平法院审判执行业务部门工作人员赵廷玮茌平法院审判执行业务部门工作人员陈绪光茌平法院审判执行业务部门工作人员李文婷市检察院选调生普通管理张立国市检察院选调生普通管理张伟市检察院选调生普通管理史晓磊市检察院选调生普通管理杜丹市检察院司法警察钱振市检察院司法警察李倩市检察院检察业务部门工作人员王震市检察院检察业务部门工作人员李众市检察院检察辅助人员李成龙临清检察院检察业务部门工作人员郭光明临清检察院检察业务部门工作人员田洁临清检察院检察辅助人员B李楠临清检察院检察辅助人员A李凤龙冠县检察院检察业务部门工作人员张龙冠县检察院检察业务部门工作人员王国强冠县检察院检察业务部门工作人员狄艺莘县检察院检察业务部门工作人员王丽平莘县检察院检察业务部门工作人员王彬莘县检察院检察业务部门工作人员陈浩莘县检察院检察业务部门工作人员徐静莘县检察院检察业务部门工作人员连伟莘县检察院检察业务部门工作人员刘香民莘县检察院检察业务部门工作人员靳彭柳莘县检察院检察辅助人员C陈晓明莘县检察院检察辅助人员B张令艳莘县检察院检察辅助人员A李冒星阳谷检察院检察业务部门工作人员贾伟阳谷检察院检察业务部门工作人员孟俊卿阳谷检察院检察业务部门工作人员肖丽芬阳谷检察院检察业务部门工作人员殷旭东阳谷检察院检察业务部门工作人员李先勇阳谷检察院检察业务部门工作人员李林茌平检察院检察业务部门工作人员付洪祥茌平检察院检察业务部门工作人员伦春燕茌平检察院检察业务部门工作人员徐光茌平检察院检察业务部门工作人员李国伟茌平检察院检察辅助人员邢克国高唐检察院检察业务部门工作人员张洪达高唐检察院检察业务部门工作人员李娜高唐检察院检察业务部门工作人员徐洪峰高唐检察院检察业务部门工作人员李建民高唐检察院司法警察张海舒地税系统中心税务所工作人员席婷地税系统中心税务所工作人员邢雪地税系统中心税务所工作人员国赟地税系统中心税务所工作人员王玥地税系统中心税务所工作人员姚昕地税系统中心税务所工作人员张宛露地税系统中心税务所工作人员孙华超地税系统中心税务所工作人员孙艳红市工商局东昌府分局市场监管舒敏市工商局东昌府分局市场监管康燕临清工商局市场监管李璐临清工商局市场监管明英文临清工商局市场监管展春兰临清工商局市场监管贾冰高唐工商局市场监管许光元高唐工商局市场监管赫真真茌平工商局市场监管于倩茌平工商局市场监管牛欣冉茌平工商局市场监管吴广达茌平工商局市场监管题胜楠东阿工商局市场监管郎凯东阿工商局市场监管张鲁玉东阿工商局市场监管任苇阳谷工商局市场监管李云龙阳谷工商局市场监管谢秀芝阳谷工商局市场监管宋洪玥阳谷工商局市场监管夏沛云阳谷工商局市场监管吕文文阳谷工商局市场监管王之凯阳谷工商局市场监管徐淑伟阳谷工商局市场监管马胜楠莘县工商局市场监管冯燕莘县工商局市场监管魏燕辉莘县工商局市场监管郭方莘县工商局市场监管唐波冠县工商局市场监管赵春飞冠县工商局市场监管李文鑫临清质监局文秘薛瑞习冠县质监局文秘孙铁冠县质监局监督管理唐明哲冠县质监局监督管理张晓宣莘县质监局文秘李岩莘县质监局监督管理张海峰阳谷质监局文秘马彦雪阳谷质监局监督管理刘雯文东阿质监局文秘董潇东阿质监局监督管理李夏茌平质监局监督管理田兆栋冠县质监局稽查队执法监督田永磊莘县质监局稽查队执法监督郑丛丛东阿质监局稽查队执法监督邱玉东阿质监局稽查队执法监督附件2: 2010年聊城市拟录用参照公务员法管理单位工作人员名单姓名报考职位备注宋鹏飞市工会普通管理储鹏市工会劳动和社会保障罗丹市委党史研究室历史中文类于芳辉市委党校办公文秘A马正丽市委党校办公文秘A王淑菊市老龄办文秘孙善英市史志办中文历史马召市经济责任审计办财经宋鑫昌市经济责任审计办财经刘俊伟市安监支队安全执法监察张俊鹏临清参照企业管理殷子旺临清参照会计郭瑞哲临清参照地震安评管理王秀杰临清参照城市规划管理田永霞临清参照仓储管理齐红波冠县参照普通管理孟丽惠阳谷参照文秘王晓风阳谷参照旅游黄文娟阳谷参照林业张菲菲阳谷参照经济管理许玉双阳谷参照经济管理李学强阳谷参照交通司冬雪茌平参照综合职位尹婷婷茌平参照综合职位朱晨晓茌平参照综合职位张囡茌平参照综合职位闫丽超茌平参照综合职位。
2010年国家公务员考试招考公告中央机关及其直属机构2010年度考试录用公务员公告为满足中央机关及其直属机构录用公务员的需要,根据公务员法和公务员录用的有关规定,中组部、人力资源社会保障部、国家公务员局将组织实施2010年度中央机关及其直属机构考试录用担任主任科员以下及其他相当职务层次非领导职务公务员的工作。
现将有关事项公告如下:一、报考条件(一)具有中华人民共和国国籍;(二)18周岁以上、35周岁以下(1973年10月15日至1991年10月15日期间出生);(三)拥护中华人民共和国宪法;(四)具有良好的品行;(五)具有正常履行职责的身体条件;(六)具有符合职位要求的工作能力;(七)具有大专以上文化程度;(八)具备中央公务员主管部门规定的拟任职位所要求的其他资格条件。
招考职位明确要求有基层工作经历的,要特别强调,报考人员必须具备相应的基层和生产一线工作经历。
基层和生产一线工作经历,是指具有在县级以下党政机关、国有企事业单位、村(社区)组织及其他经济组织、社会组织等工作的经历。
曾在军队团和相当团以下单位工作过,可视为基层工作经历。
报考中央机关的人员,在地(市)直属机关工作过,也可视为基层工作经历。
招考职位要求有农村基层服务项目工作经历的,是指报考人员为服务期满且考核合格的“选聘高校毕业生到村任职工作”、“农村义务教育阶段学校教师特设岗位计划”、“三支一扶”计划或“大学生志愿服务西部计划”等四类人员。
曾因犯罪受过刑事处罚的人员和曾被开除公职的人员,在各级公务员招考中被认定有舞弊等严重违反录用纪律行为的人员,现役军人、试用期内的公务员、在读的非应届毕业生、公务员被辞退未满5年的,以及有法律规定不得录用为公务员的其他情形的人员,不得报名。
报考人员不得报考录用后即构成回避关系的招录职位。
二、报考程序(一)职位查询各招录机关具体的招考人数、职位、考试类别、资格条件等详见《中央机关及其直属机构2010年度考试录用公务员招考简章》(以下简称《招考简章》)。
;负责
,参
3、具有较年后参加考
3、具有较
30%,
比例加权计算总成绩。
比例加权计算总成绩。
比例加权计算总成绩。
加权计算总成绩。
加考试时间、等级、所获证书或成绩)。
3、专业考试情况详见我部考录公告。
业考试情况详见我部考录公告。
业考试情况详见我部考录公告。
间、等级、所获证书或成绩)。
3、专业考试情况详见我部考录公告。
间、等级、所获证书或成绩)。
3、专业考试情况详见我部考录公告。
间、等级、所获证书或成绩)。
3、专业考试情况详见我部考录公告。
参加考试时间、等级、所获证书或成绩)和第二外语水平。
3、专业考试情况详见我部考录公告。
20%,英文(含口语)占综合成绩10%。
和中文,其中西班牙语(含口语)占综合成绩20%,中文占综合成绩10%。
合成绩10%,英文(含口语)占综合成绩20%。
民事诉讼法专业知识,适当侧重专业方向有关内容专业考试占面试成绩30%,即总成绩15%。
专业考试占面试成绩30%,即总成绩15%。
的了解程度。
注栏注明英语水平(包括参加何种考试、时间、成绩等)。
2010年省考各地市笔试分数统计来源:简为公考的日志2010年山东省公务员考试省直机关笔试成绩分析简为教育研发团队根据山东人事考试网发布的面试名单,简为教育研发团队整理分析2010年山东公务员考试省直机关笔试成绩如下:山东省直机关415个职位最终共2069人进入面试,其中47个考生加分;最高分79.02(其行测82.4分,申论67.5分,专业成绩88.5分),出现在报考省看守所监所管理职位A的考生中;最低分为50.57(行政能力测验43.2,申论52,专业科目57.5),出现在报考山东省森林公安局药乡林区派出所治安管理职位的考生中。
进入复试的考生大部分集中在60—70分之间,所在比例约为93.1%2010年山东省公务员考试济南笔试成绩分析简为教育研发团队根据济南市人事编制信息网(/)发布的数据,简为教育研发团队整理分析2010年山东公务员考试省济南笔试成绩如下:济南195个职位最终共735人进入面试,其中市直及省垂直管理机关(单位)面试人员27 1人,公安机关招考人民警察面试人员464人。
市直及垂直管理机关(单位)面试最高分75.75(行政能力测验89分,申论62.5分),报考职位市工商局公平交易执法;最低分58.3(行政能力测验60.1,申论56.5),报考职位市质量技术监督局章丘分局稽查队区域监管A。
进入复试的考生很集中,绝大多数在60—70分之间,所在比例约为98%公安机关招考人民警察最高分79.66(行政能力测验75.8,申论72.5,专业成绩92.5分),报考职位市公安局长清区分局基层所队公安专业;最低分45.26(行政能力测验41.6,申论50,专业考试44分),报考职位市公安局天桥区分局基层所队公安专业。
其中三分之二的考生集中在65——75的分数段,具体分析如下,2010年日照市公务员考试笔试成绩分析简为教育研发团队根据日照市发布的面试名单,全市进入面试的人数为607人,其中加分共有62人。
2010年聊城市考试录用公务员简章根据《中华人民共和国公务员法》和《公务员录用规定(试行)》,按照山东省委组织部、山东省人力资源和社会保障厅鲁人社[2010]8号文件要求,经市委、市政府同意,2010年度全市各级机关、代省垂直管理(驻聊)部门面向社会公开招考349名公务员(含参照公务员法管理单位录用工勤人员以外的工作人员31名,下同),现将有关事项规定如下:一、报考条件1、具有中华人民共和国国籍;2、拥护中华人民共和国宪法;3、具有良好的品行和正常履行职责的身体条件;4、大学本科毕业以上文化程度,或具有山东常住户口的大学专科毕业生(含山东生源全日制普通高等院校2010年应届专科毕业生)。
5、身体健康,符合公务员录用体检标准;报考公安机关人民警察、法院机关和检察院机关司法警察职位的,要求身体健康,体形端正,非特体,面部无明显特征、缺陷,无残疾,无口吃,无重听,无色觉异常,无纹身,无重度扁平足;裸眼视力均在4.8(旧标准0.6)以上,或裸眼视力均在4.6(旧标准0.4)以上且矫正视力均在5.0(旧标准1.0)以上;男性身高不低于1.70米、体重不低于50公斤;女性身高不低于1.60米、体重不低于45公斤。
6、年龄在18周岁至35周岁之间(1974年3月27日至1992年3月27日期间出生);报考各级公安机关、法院机关和检察机关司法警察职位的年龄不超过30周岁(1979年3月27日以后出生)。
7、录用主管机关批准的报考职位所需其他资格条件。
报考省垂直管理部门的,除符合以上条件外,还必须具备山东省人力资源和社会保障厅与有关单位规定的其它所需资格条件。
报考人员不能报考与本人有应回避亲属关系公务员所在的部门或单位。
曾因犯罪受过刑事处罚和曾被开除公职的人员,在各级公务员招考中被公务员主管部门认定具有考试作弊行为且不得报考公务员的人员,公务员被辞退未满五年的,现役军人,在读全日制普通高等院校非应届高校毕业生,以及法律规定不得录用为公务员的其他情形的人员,不能报考。
在我省县以下机关工作五年(含试用期)以上或在公务员岗位上获得年度考核优秀等次并累计工作两年以上的县以下机关公务员可以报考上级机关公务员职位,其他已具备公务员身份的人员不能报考。
有下列情形之一的,不得报考公安机关人民警察:(1)受过刑事处罚、劳动教养、少年管教的;(2)有犯罪嫌疑尚未查清的;(3)曾被辞退或者开除公职的;(4)有道德败坏等不良行为的;(5)直系血亲和对本人有重大影响的旁系血亲中有被判处死刑或者正在服刑的;(6)直系血亲和对本人有重大影响的旁系血亲在境内外从事颠覆我国政权活动的;(7)有法律法规规定不得录用为公安机关人民警察的其他情形的。
从选调生中考选补充工作人员的选调生职位报考条件为:思想政治素质好,自觉贯彻执行党的路线方针政策。
工作扎实,肯于吃苦,甘于奉献,工作创新意识强,干事创业,实绩突出。
有较强的组织纪律观念,清正廉洁,作风正派,群众威信高。
具有大学本科毕业以上文化程度、年龄在32周岁以下(1977年3月27日以后出生),2007年(含)以前选调到基层,现在县(市、区)以下机关单位工作,经县(市、区)委组织部推荐、市委组织部审定,且符合报考职位专业条件(其中,参与公开选拔领导干部,职务得到提拔,在试用期内的,不得报考)或具有职位所在部门工作经历,身体健康。
二、报名报名工作采取统一时间、网上报名、网上收费的方式进行。
报名时间:2010年3月27日-31日。
查询时间:2010年3月28日-4月1日。
(1)个人报名:报考人员登陆聊城人事考试网(),如实填写、提交相关个人报考信息资料,并上传本人1寸免冠正面照片。
每人限报一个部门和职位,报考人员在资格初审前多次登陆填交报考信息的,后一次填报自动替换前一次填报信息。
报名资格一经用人部门初审通过,不能更改。
报考人员不能用新、旧两个身份证号同时报名,报名与考试时使用的身份证必须一致。
报考者恶意注册报名信息,扰乱报名秩序的,由省公务员主管部门给予取消本次报考资格且5年内不得报考公务员的处理。
(2)单位初审:用人单位指定专人负责资格初审工作,在报名期间(节假日不休息)查看本单位的网上报名情况,根据报考人员提交的信息资料,对前一天的报考人员进行资格初审,并在网上公布初审结果。
对符合报考资格条件的,不得拒绝报名;对不符合报考条件而未通过初审的人员,要说明理由;对报考材料不全的,应注明缺失内容,并退回报考者补充。
如果用人部门在2个工作日内(不含报名当天),未对报考人员信息进行处理,则视为初审通过。
(3)网上缴费:报考人员在网上提交报考信息后,可在第二天至查询时间截止之日前登陆网站,查询报名资格初审结果。
通过资格初审的人员,要于2010年3月28日-4月2日登录聊城人事考试网(),进行网上缴费,逾期不办理网上缴费手续的,视作放弃。
缴费成功后,下载打印《聊城市录用公务员报名登记表》、《报考聊城市公务员诚信承诺书》(参加面试时使用),并于2010年4月20日-4月24日登录该网站下载、打印准考证。
对最终确定的报考人数达不到计划录用人数3倍的招考部门或职位,计划录用l人的,原则上取消录用计划;计划录用2人以上的,按1:3的比例相应核减录用计划。
报考取消录用计划职位人员,经本人同意,可在规定的时间内改报聊城市其他职位。
考务费收取标准为:每人每科40元。
拟享受减免有关考务费用的农村特困大学生和城市低保人员,不实行网上缴费,报考人员由本人或委托他人于3月30日-3月31日携带有关证明材料到聊城人才大厦(东昌东路66号)二楼办理现场确认手续。
证明材料包括:享受国家最低生活保障金的城镇家庭的报考人员,提交家庭所在地的县(市、区)民政部门出具的享受最低生活保障的证明和低保证(复印件);农村绝对贫困家庭的报考人员,提交家庭所在地的县(市、区)扶贫办(部门)出具的特困证明和特困家庭基本情况档案卡(复印件)。
由我省实施的“选聘高校毕业生到村任职”、“三支一扶”计划和“大学生志愿服务西部计划”等专门项目毕业生,服务期满2年(2008年以前招募和选派的毕业生,含2008年),考核合格,3年内报考公务员的,笔试总成绩加4分,其中报考乡镇机关公务员的,笔试总成绩加8分。
上述人员报名时不实行网上缴费,3月30日-3月31日携带有关资料到聊城人才大厦(东昌东路66号)二楼办理现场确认手续,确认后方可办理缴费手续。
在办理确认手续时,除出具当年毕业生就业主管机构签发的报到证外,“三支一扶”大学生要出具山东省“三支一扶”工作协调管理办公室签发的《招募通知书》和县以上组织人事部门出具的考核材料;参加大学生志愿服务西部计划的毕业生要出具团省委考核认定的证明材料,选聘到村任职的高校毕业生要出具县以上组织人事部门考核认定的证明材料。
符合加分条件的报考人员,经市以上公务员主管部门审核确认,在网上进行公示无异议后实施加分。
招考职位明确要求有基层工作经历的,报考人员需提供相应的工作经历证明。
基层工作经历是指具有在县级以下党政机关(含参照公务员法管理单位)、企事业单位和其他经济组织、社会组织等基层和生产一线及农村工作的经历。
曾在军队团和相当团以下单位工作过,可视为基层工作经历。
全日制普通高校应届毕业生在校期间的社会实践、实习、兼职等不能作为基层工作经历。
基层工作经历年限按足年足月累计,以2010年7月31日为截止日期。
省、市机关从选调生中考选工作人员的报名工作,坚持个人志愿与组织推荐相结合。
符合报考条件的选调生由本人提出报名申请,县(市、区)委组织部根据选调生在基层工作表现,择优推荐人选,市委组织部负责审定汇总。
人选确定后,市委组织部根据选调生所学专业和工作经历,组织选调生参加网上报名,直接填报省、市直单位的选调生录用职位。
三、考试与资格审查考试分为笔试和面试。
(一)笔试笔试科目为申论和行政职业能力测验。
全省统一考试、统一评分标准。
所有报考者均须参加申论和行政职业能力测验两科考试,其成绩方可有效。
报考公安系统人民警察的,笔试需加试公安专业科目《公安基础知识》,公安专业科目考试用书为公安部编写的《公安基础知识》。
笔试时间为2010年4月24日-4月25日。
4月24日下午14∶00-15∶30 公安基础知识4月25日上午9∶00-11∶00 行政职业能力测验下午14∶00-16∶30申论笔试结束后,按申论、行政职业能力测验各占50%(报考公安机关的按照申论占35%、行政职业能力测验占35%、公安基础知识占30%)的比例,采用百分制计算报考人员的笔试成绩。
公务员主管部门根据招考人数和笔试成绩确定笔试成绩合格分数线。
从选调生中考选工作人员的笔试成绩合格线的面试人员从达到笔试合格分数线的报考人员中,根据录用计划由高分到低分依次确定。
面试人数按以下比例确定:相同职位录用计划在10人以下的,按1:3的比例;10人(含)以上的,按1:2的比例(其中录用计划为10-13人的,进入面试人员统一确定为28人)。
笔试合格人数出现空缺的部门和职位,取消录用计划;达不到计划录用比例的,按实有合格人数确定进入面试人员。
笔试成绩和进入面试人员名单按照《公务员录用规定(试行)》的要求在聊城人事信息网()、聊城人事考试网()和聊城人才网()上公布。
(二)资格审查对报考人员的资格审查工作,应贯穿整个考录工作的全过程。
进入面试的报考人员,在面试人员名单确定之后,需向用人部门提交本人相关证明材料、《报考聊城市公务员诚信承诺书》及1寸近期同底版免冠照片2张。
非全日制普通高校应届毕业生报考的,提交国家承认的学历证书、身份证、户口簿,有工作单位的人员要提交有用人权限部门或单位出具的介绍信。
对开具所在单位同意报考的介绍信确有困难的在职人员,经用人部门同意,可在体检和考察时提供。
全日制普通高校应届毕业生报考的,提交身份证、学校核发的就业推荐表和就业协议书(山东省内院校实行网上签约的可不提供就业协议书)。
报考法院审判执行业务部门工作人员和检察院检察业务部门工作人员职位的,资格审查时除携带报考公务员应提交的材料外,还应携带国家法律职业资格证书,尚未颁发证书的,应当提供司法局出具的证明文件。
取得面试资格的报考人员在面试前3天仍未向用人部门提交有关材料的,则视为弃权。
经审查不具备报考条件的,报公务员主管部门批准后,取消其面试资格。
因弃权或取消资格造成的空缺,按笔试成绩依次递补。
报考法院机关、检察机关司法警察职位进入面试人员,面试前按要求需进行身体初检。
此项工作由市法院、市检察院具体组织,具体时间、地点另行通知。
因身体初检不合格出现招考计划与面试人数达不到1:3比例的,空缺的人数从该职位笔试合格人员中按高分到低分的顺序依次递补。
身体初检合格者方可取得面试资格,凡报考人员未按规定时间到指定地点进行身体初检的,视为自动放弃报考。