食品企业之008采购部退货流程及制度
- 格式:doc
- 大小:52.50 KB
- 文档页数:3
采购产品退货管理制度一、概述采购产品退货管理制度是为了规范公司内部采购产品退货流程,保障公司和供应商的合法权益,确保采购产品退货的准确性和及时性。
本制度适用于公司所有涉及采购产品的部门和人员,严格遵守执行。
二、退货原则1. 严格依据合同规定:采购产品退货需严格按照合同规定进行,遵守双方协商的退货条款。
2. 保证产品完好:退货产品需保证完好无损,未经擅自拆封或使用,保持原包装。
3. 合理退货时限:采购产品退货需在合理时限内进行,超过时限将不受理退货。
4. 责任划分明确:在退货过程中,明确责任划分,确保供应商、采购部门和财务部门之间的沟通畅通。
5. 严格核销:采购产品退货需严格核销,确保退货退款的准确性和及时性。
三、退货流程1. 退货申请:采购部门收到退货申请后,需核实退货原因,并填写退货申请单。
2. 退货审批:采购部门将退货申请单提交给相关领导进行审批,审批通过后将退货申请单传给供应商审核。
3. 供应商审核:供应商收到退货申请单后,进行退货产品检测,确认产品完好无损后签字确认。
4. 退货发货:供应商确认退货产品完好后,进行退货产品的发货,同时将发货单传给采购部门确认。
5. 收货验收:采购部门收到退货产品后进行验收,确认产品符合要求后签字确认。
6. 财务核销:财务部门收到退货产品验收单后,核对发票与验收单后进行退款核销。
7. 退款到账:财务部门进行退款到账处理,确保退款金额准确计入账户。
四、退货管理要求1. 采购部门负责制定采购产品的退货计划,合理安排退货流程,做好退货产品的保管。
2. 采购部门负责和供应商及时沟通,确保退货产品的准确性和及时性。
3. 财务部门负责核对退货产品的发票和验收单,确保退款金额准确无误。
4. 公司领导要加强对采购产品退货管理制度的宣传和培训,确保各部门和人员严格遵守执行。
五、退货风险防范1. 加强供应商的评估和选择,确保选择质量可靠的供应商,降低产品退货风险。
2. 优化供应链管理,完善采购产品的质量管理体系,提高产品质量,减少退货率。
食品采购退换货管理制度1. 引言本文档旨在规范和管理食品采购退换货的流程和规定。
准确、高效地管理食品采购退换货对于保障食品安全、维护公司信誉具有重要意义。
本制度适用于公司内所有涉及食品采购退换货的部门和人员。
2. 退换货申请2.1 退换货申请应由采购部门或相关负责人员在采购系统中提交。
申请表格应包括以下信息:•采购单号•退换货日期•退换货原因•货品名称、数量、生产日期、批次号等详细信息2.2 申请提交后,相关部门应尽快审核并决策是否接受退换货申请。
审核结果应在采购系统中记录并通知相关申请人。
3. 退货流程3.1 一旦退货申请获得批准,采购部门应与供应商协商退货安排,包括退货时间、地点以及运输方式等。
协商的结果应记录在退货申请表中。
3.2 在退货时,采购部门应做好以下工作:•与供应商确认退货的货品种类和数量•做好货品包装,以确保在退货过程中不受损坏•对退货的货品进行记录和标识,以便后续处理3.3 退货到达后,采购部门应检查退货货品的数量、完整性和条件。
如发现问题,应及时与供应商联系,并记录退货问题。
4. 换货流程4.1 一旦换货申请获得批准,采购部门应与供应商协商换货安排,包括换货时间、地点以及运输方式等。
协商的结果应记录在换货申请表中。
4.2 在换货时,采购部门应做好以下工作:•与供应商确认换货的货品种类和数量•做好货品包装,以确保在换货过程中不受损坏•对换货的货品进行记录和标识,以便后续处理4.3 换货到达后,采购部门应检查换货货品的数量、完整性和条件。
如发现问题,应及时与供应商联系,并记录换货问题。
5. 退换货记录和报告5.1 采购部门应对所有的退换货情况进行记录和报告。
记录应包括退换货的详细信息,如采购单号、退货日期、退货原因、退货货品信息等。
5.2 采购部门应定期生成退换货报告,汇总和分析退换货的情况,以便对供应商进行评估和改善,以及对内部采购流程进行优化。
6. 退换货的责任与追责6.1 供应商应负责待退货品的运输和包装的安全,退货过程中的损坏由供应商承担责任。
食品厂退货管理制度一、目的和范围为了规范食品厂的退货流程,保障企业经济利益和消费者权益,制定本退货管理制度。
本制度适用于食品厂内部的退货管理。
二、退货原则1.严格按照国家相关法律法规执行;2.以保证消费者权益和企业经济利益为原则;3.遵循公平、公正的原则;4.优先考虑退货后的食品安全问题。
三、退货流程1.消费者需提供购买凭证和退货理由;3.食品厂验收退货商品,确认无质量问题后,进行退款处理;4.食品厂将退货产品进行分类处理,符合食品安全要求的可重新销售,不符合食品安全要求的进行销毁处理。
四、退货凭证管理1.退货流程中的购买凭证是确保退货真实有效的重要依据,食品厂要妥善保管购买凭证;3.财务部门要做好退货凭证的登记和存档工作,以备后续查验和核对。
五、退款处理1.食品厂在核实退货无质量问题后,将在3个工作日内将款项返还给消费者;2.退款金额以消费者实际支付的金额为准,不包括促销优惠、赠品、优惠券等;3.通过电子支付方式购买的退款将原路返回,现金支付的退款将以现金形式退还。
六、食品分类处理1.符合食品安全要求的退货商品可重新销售;2.不符合食品安全要求的退货商品需要进行销毁处理;3.销毁过程中要严格按照相关法律法规执行,确保销毁操作和记录的合规性;4.食品厂要建立完善的销毁记录,包括销毁时间、销毁方式、销毁数量等。
七、退货问题记录和处理1.食品厂要建立投诉和退货问题的记录系统,及时收集和处理相关问题;3.食品厂要及时分析和处理投诉和退货问题,总结经验教训,并及时采取措施防止类似问题再次发生。
八、退货制度的宣传和培训食品厂要加强对退货制度的宣传,提高工作人员对制度的了解和遵守;食品厂要定期对相关工作人员进行退货管理制度的培训,提高工作效率和管理水平。
九、制度的执行和监督1.食品厂要建立相应的制度执行机制,并明确责任人;2.食品厂要定期进行制度执行和监督,发现问题及时纠正;3.食品厂要及时处理制度执行中的违规问题,严肃追责,并给予相应的处罚。
采购退货的管理制度一、采购退货的定义采购退货是指企业在采购过程中,出现以下情况时,需要将已购进的货物或服务退还给供应商:1. 货物质量有问题:货物在运输过程中破损、变质等情况导致无法使用;2. 规格不符:货物与订单规定的规格或品质不符;3. 退订:由于业务变动或者其他原因需要取消订单;4. 多购或者误购:企业员工或者其他原因下单错误,导致购进了不需要的货物;5. 其他原因:包括供应商问题、市场变动、政策调整等导致需要退货的情况。
二、采购退货的原因企业进行采购退货主要是受到以下几个方面的原因:1. 质量问题:货物或者服务质量不符合要求,无法使用;2. 规格问题:货物与订单规定的规格或品质不符;3. 退订:由于业务、市场或者政策等因素导致需要取消订单;4. 价格问题:货物价格过高或者市场价格下跌导致需要退货;5. 其他原因:包括供应商问题、市场变动、政策调整等因素影响。
三、采购退货的流程企业在进行采购退货时,通常会按照以下流程进行:1. 提出退货申请:企业内部的相关部门提出采购退货的需求,并填写退货申请表;2. 审批流程:退货申请需要经过相关部门和领导的审批;3. 通知供应商:企业向供应商发送退货通知,告知需要进行退货的原因和货物信息;4. 包装准备:货物包装完好,并准备退货所需的文件和信息;5. 处理退货:将货物送至供应商指定的地点,并办理退货手续;6. 确认退货:供应商接收货物后进行确认,并办理相关手续;7. 结算退款:供应商确认收到货物后,企业接收退款或者其他协商好的处理方案。
四、采购退货的注意事项在进行采购退货时,企业需要注意以下几个方面:1. 保护货物完好:在退货过程中要确保货物完好无损,避免二次损坏;2. 与供应商沟通:在退货之前要与供应商进行充分沟通,了解退货的流程和要求;3. 保留相关证据:对于需要退货的货物要保留相关证据,包括订单、合同、发票等;4. 检查货物:在办理退货手续之前要对货物进行检查,确保货物符合退货要求;5. 落实退款:一旦退货成功,要及时落实退款事宜,避免纠纷。
1.目的为了加强采购物资退货管理规范化,明确责任,避免公司利益受损,特制定本制度。
2.范围不合格原/辅材料、设备。
3.职责3.1.生产部填写《物料使用信息反馈单》,写明不合格原因。
3.2.品质部门确认《物料使用信息反馈单》信息,确认不合格信息后签字。
3.3.PMC部仓库组,负责不合格物料出库和提供退货单据。
3.4.采购部负责联系供应商处理退货事宜。
3.5.采购部负责人、行政总监、管理者代表负责对退货过程进行监督管理。
4.退货流程4.1.退货条件:4.1.1.物料外包装未按照要求标明物料名称、型号等信息,与供应商沟通后拒收的物料和设备。
4.1.2.材料外包装和实物不一致。
4.1.3.质量不合格,经品质部门验收未达到我司所需物料质量要求的,进行退货处理。
4.1.4.使用过程中,发现质量不符合要求的,需进行退/换货处理的物料和设备。
4.2.退货流程:4.2.1.仓库人员通知品质部检验人员对材料进行检验,品质部检验员按照来《来料检验规范》进行检验,并填写《CH-GF-ST-001原材料检验记录表》。
4.2.2.来料检验不合格的物料,不予入库,由仓库人员通知采购部人员进行退货处理。
4.2.3.使用过程中发现不合格品物料,由生产部门填写《CH-GF-PU-023 物料使用信息反馈单》,经品质部门确认、管理者代表审核后,物料使用信息反馈单交采购部门进行处理,生产部门同时把不合格的材料开退料单退回仓库,仓库跟据退料单收回不合格品,再将库存的不合格品批次与车间退的不合格品批次统一暂放在不合格品区,等待采购做退货处理。
4.2.4.采购部根据来料检验结果和生产部门《CH-GF-PU-023 物料使用信息反馈单》,与供应商联系退货事宜,后绪采购员在SAP系统中下退货采购订单,仓库管理员将不合格品打包退货并在SAP系统做退货处理。
4.2.5.若属于主要原材料品质不合格,由采购部填写对接供应商的《物料信息反馈单》,供应商回复处理方案和纠正预防措施,避免类似问题的发生。
关于采购退货操作的规定一目的和适应范围为规范采购退货操作的流程和要求,避免发生退货后实物不符或账实不符现象,特制定本规定。
本规定适用于采购退货的操作。
二术语和定义2.1 采购退货采购退货是指因各种原因需要将进货的物料、半成品退回给供应商的一种业务行为,可以依据退货的来源分为进料不合格品退货(IQC退货)、制程不合格品退货(这里指“材损不良”退货)、呆滞品退货(这里指通过协商,供应商愿意接受、交换或处理)。
2.2 材损不良材损不良是指在制程过程中发现的物料、半成品本身的质量不合格。
三权责3.1 质检部质检员(IQC)负责进料不合格品的判定、标识、记录和隔离;质检部质检员(IPQC)负责制程不合格品的判定、标识、记录和隔离。
3.2 仓储部仓管员负责接收和暂存进料不合格品、因材损不良导致的制程不合格品以及提报库存呆滞品,及时通知采购部采购员与供应商联系退货等相关事宜,并落实退货单据操作。
3.3 采购部采购员负责与供应商联系退货事宜,并将与仓储部确认好的退货物料、半成品办理退货实际操作,如协调供应商自行运回、安排物流托运或快递托运等事项。
3.4 财务部开票员负责采购退货操作导致的系统账面处理。
3.5 责任部门经理(副经理)负责对采购退货操作实施检查和监督,确保采购退货操作符合规定。
四规定细则4.1 进料不合格品退货流程4.1.1 在进料检验中被质检部质检员(IQC)判定为进料不合格品的物料、半成品,应由仓储部仓管员暂时存放在不合格品区,悬挂不合格状态标识,并由仓储部仓管员通知采购部采购员及时处理。
4.1.2 采购部采购员接到信息后应依据《生产计划》(MSD10-01)和紧急需求状况,及时评。
采购退货管理制度一、总则采购退货是指因为质量问题、价格波动或者其他原因而需要将已经购买的物品退还给供应商的行为。
为了规范采购退货的流程,保障公司的利益,制定本管理制度。
二、适用范围本制度适用于公司所有部门在采购过程中涉及到的物品的退货行为。
三、退货原则1. 质量问题:物品出现质量问题,影响使用或者无法正常使用时,可以申请退货。
2. 价格波动:在一定时间内,供应商的价格发生变化并且不利于公司的利益时可以申请退货。
3. 其他原因:其他特殊情况下,经过审核并且合理的退货申请也可以进行退货。
四、退货申请流程1. 退货申请:公司部门需要填写详细的退货申请表,包括退货的原因、物品的情况及数量等信息,并且由部门负责人签字确认。
2. 审核:采购部门收到申请后,对退货原因、物品情况进行审核,满足退货条件的将进入下一步。
3. 协商:采购部门与供应商进行协商,商定退货的具体时间、地点和方式。
4. 审批:采购部门负责人对退货协议进行审批,并签字确认。
5. 实施:退货按照协议进行实施,同时需进行记录并保存相关资料。
五、退货管理1. 退货标准:退货的物品必须符合公司的采购标准和规定,不能有明显的损坏、破损或者使用痕迹。
2. 退货包装:退货物品必须保持原包装,并且有明确的标识和编号,以便供应商进行核对。
3. 退货验收:供应商接受退货后进行验收,确认符合退货协议的物品,签署确认单,并通知采购部门确认。
4. 退货结算:采购部门与供应商进行结算,确认退货金额并进行支付。
六、责任追究1. 退货申请不实:如果部门提交的退货申请不符合实际情况,将会追究责任并且赔偿相关损失。
2. 退货不合格:如果退货物品不符合公司的退货标准,责任部门将承担相关责任,并且赔偿相关损失。
3. 违反退货流程:如果有部门违反退货流程,影响公司利益的,将会受到相应的处罚。
七、附则1. 本制度由采购部门负责解释。
2. 本制度自发布之日起执行,并且经过采购部门的审核修改后方可生效。
以我给的标题写文档,最低1503字,要求以Markdown 文本格式输出,不要带图片,标题为:食品退货流程方案# 食品退货流程方案## 1. 引言食品退货流程是指在购买食品后,由于各种原因而需要退货的过程。
食品退货流程的规范化和高效性对于保证食品安全和提升消费者体验非常重要。
本文档旨在介绍一个可行的食品退货流程方案,以确保退货过程的顺利进行。
## 2. 流程概述退货流程主要包括以下几个步骤:1. 退货申请:消费者提出退货申请,提交必要的退货信息。
2. 审核确认:商家审核退货申请,确认是否符合退货条件。
3. 提供退货方式:商家提供退货方式给消费者,并协商具体退货事项。
4. 食品退回:消费者返回食品给商家,并保证食品完好无损。
5. 验收入库:商家对退回的食品进行验收,确认食品完好无损并进行入库。
6. 退款处理:商家按照退货协议和约定进行退款处理。
7. 反馈机制:建立消费者对退货流程的反馈机制,及时改进和优化退货流程。
## 3. 详细流程描述### 3.1 退货申请消费者需要在规定的时间内提出退货申请,包括以下信息:- 购买日期和渠道- 食品名称和数量- 退货原因### 3.2 审核确认商家在收到退货申请后,需要进行审核确认。
主要包括以下步骤:- 验证退货申请的有效性:核对购买日期、食品名称和数量是否与实际相符。
- 判断退货原因的合理性:检查退货原因是否符合退货政策中规定的可退货情况。
### 3.3 提供退货方式审核确认通过后,商家需要与消费者协商具体的退货方式。
可选的退货方式包括:- 快递退货:商家提供退货快递的信息,并向消费者告知退货流程和所需材料。
- 到店退货:商家指定退货点,并告知消费者所需携带的材料和注意事项。
### 3.4 食品退回消费者按照商家指定的方式,将食品退回给商家。
在退回过程中,消费者需要注意以下事项:- 保证食品完好无损- 包装食品妥善,防止在退回过程中受损### 3.5 验收入库商家在收到退回的食品后,需要进行验收入库,主要包括以下步骤:- 检查退回的食品是否完好无损- 验证退回的食品是否与申请时的数量和种类相符### 3.6 退款处理商家根据退货协议和约定进行退款处理。
食品采购退换货流程及标准下载温馨提示:该文档是我店铺精心编制而成,希望大家下载以后,能够帮助大家解决实际的问题。
文档下载后可定制随意修改,请根据实际需要进行相应的调整和使用,谢谢!并且,本店铺为大家提供各种各样类型的实用资料,如教育随笔、日记赏析、句子摘抄、古诗大全、经典美文、话题作文、工作总结、词语解析、文案摘录、其他资料等等,如想了解不同资料格式和写法,敬请关注!Download tips: This document is carefully compiled by theeditor.I hope that after you download them,they can help yousolve practical problems. The document can be customized andmodified after downloading,please adjust and use it according toactual needs, thank you!In addition, our shop provides you with various types ofpractical materials,such as educational essays, diaryappreciation,sentence excerpts,ancient poems,classic articles,topic composition,work summary,word parsing,copy excerpts,other materials and so on,want to know different data formats andwriting methods,please pay attention!食品采购退换货流程及标准详解在日常生活中,我们可能会遇到购买的食品不符合预期或存在质量问题的情况。
第一章总则第一条为加强公司退货管理,确保退货流程的规范化和标准化,维护公司利益,保障消费者权益,特制定本制度。
第二条本制度适用于公司所有退货业务,包括但不限于产品销售退货、售后服务退货等。
第三条本制度遵循以下原则:1. 公平、公正、公开原则;2. 实事求是、快速处理原则;3. 保护消费者权益原则;4. 保障公司利益原则。
第二章退货范围第四条以下情况可进行退货:1. 因产品质量问题导致的退货;2. 因产品包装破损、运输过程中损坏导致的退货;3. 因产品不符合消费者需求导致的退货;4. 因消费者误购、多购导致的退货;5. 因国家政策调整、产品召回等原因导致的退货。
第五条以下情况不予退货:1. 产品已开封或使用,影响二次销售;2. 产品因个人原因导致的损坏;3. 因消费者自身原因造成的质量问题;4. 消费者提供的退货理由不符合实际;5. 法律法规规定的其他不予退货的情况。
第三章退货流程第六条退货申请:1. 消费者需提供购买凭证、产品及包装;2. 消费者向销售部门或售后服务部门提出退货申请;3. 销售部门或售后服务部门核实退货理由,确认退货资格。
第七条退货审核:1. 销售部门或售后服务部门对退货申请进行审核,确认退货资格;2. 对不符合退货条件的,告知消费者不予退货的原因;3. 对符合退货条件的,告知消费者退货流程及所需材料。
第八条退货处理:1. 消费者将产品及包装退回至指定地点;2. 公司对退货产品进行检验,确认退货原因;3. 根据退货原因,给予消费者相应的赔偿或更换产品。
第九条退货记录:1. 销售部门或售后服务部门对退货情况进行记录;2. 对退货原因、处理结果进行归档。
第四章责任与处罚第十条销售部门、售后服务部门及员工应严格按照本制度执行退货业务,确保退货流程的规范化和标准化。
第十一条对违反本制度,造成公司利益损失的,公司将依法依规追究相关责任人的责任。
第五章附则第十二条本制度由公司销售部负责解释。
食品仓库退货流程管理制度第一章总则第一条为了规范食品仓库的退货流程,保障食品质量安全,提高食品仓库的管理水平,制定本制度。
第二条本制度适用于所有食品仓库的退货流程管理。
第三条食品仓库退货流程应当遵循法律法规和相关标准,确保食品安全。
第四条食品仓库应当建立健全质量管理体系,健全食品退货管理制度。
第五条食品仓库应当配备专业人员负责退货流程管理,确保退货流程的顺利进行。
第六条食品仓库应当加强对退货流程的监督和检查,并定期进行内部审核和自我评估。
第二章退货申请第七条客户在收到食品后,如发现产品质量问题、数量问题或其它问题,需向食品仓库提出退货申请。
第八条客户提出退货申请后,食品仓库应当及时向客户核实情况,并在核实确认后安排退货事宜。
第九条食品仓库接到客户退货申请后,应当向客户提供退货申请单,并要求客户填写退货原因及相关信息。
第十条食品仓库应当建立完善的退货申请记录,并定期进行汇总分析,提出改进意见。
第三章退货流程第十一条客户提出退货申请后,食品仓库应当安排专人进行退货验收。
第十二条食品仓库接到退货申请后,应当立即安排人员对退货产品进行检验,核实退货原因并决定是否接收退货。
第十三条食品仓库应当严格按照产品规格进行退货验收,对于不合格产品要立即做好相关记录并安排处理。
第十四条食品仓库应当在接到退货申请后的24小时内完成验收,并及时反馈处理意见。
第四章退货处理第十五条食品仓库对于退货产品应当及时处理,包括分类存放、返工、销毁等。
第十六条食品仓库应当建立健全的产品分类存储制度,不同类型的退货产品应当分别存放。
第十七条食品仓库经理应当进行定期检查退货产品的处理情况,并对处理效果进行评估。
第十八条食品仓库对于退货产品的处理情况应当做好相关记录,并及时通知客户。
第五章退货评估第十九条食品仓库应当定期进行退货流程的评估,包括验收、处理等环节的评估。
第二十条食品仓库应当围绕退货流程的规范性、及时性、专业性等方面进行评估,提出改进建议。
采购退货管理制度制度名称退货管理制度受控状态文件编号执行部门监督部门考证部门第1条目的。
明确退货条件、退货手续、货物出库、退货回收等规定,及时收回退货款项。
第2条退货条件。
验收人员应该严格按照企业的验收标准进行验收,不符合企业验收标准的货物视为不合格货物。
不合格货物应办理退货。
1.对于数量上的短缺,采购员应该与供应商联系,要求供应商予以补足,或价款上予以扣减。
2.对于质量上的问题,采购员应该首先通知使用部门不能使用该批货物,然后与使用部门、质量管理部门、相关管理部门联系,决定是退货还是要求供应商给予适当的折扣。
3.经采购部经理审阅、财务总监审核、总裁审批后与供应商联系退货事宜。
第3条退货手续。
检验人员应在检验不合格的货物上贴“不合格”标签,并在“货物检收报告”上注明不合格的原因,经负责人审核后转给采购部门处理,同时通知请购单位。
第4条货物出库。
当决定退货时,采购员编制退货通知单,并授权运输部门将货物退回,同时,将退货通知单副本寄给供应商。
运输部门应于货物退回后,通知采购部和财务部。
第5条退货款项回收。
1.采购员在货物退回后编制借项凭单,其内容包括退货的数量、价格、日期、供应商名称以及贷款金额等。
2.采购部经理审批借项凭单后,交财务部相关人员审核,由财务总监或总裁按权限审批。
3.财务部应根据借项凭单调整应付账款或办理退货货款的回收手续。
第6条折扣事宜。
1.采购员因对购货质量不满意而向供应商提出的折扣,需要同供应商谈判来最终确定。
2.折扣金额必须由财务部审核,财务总监审核后交总裁批准。
3.折扣金额审批后,采购部应编制借项凭单。
4.财务部门根据借项凭证来调整应付账款。
编制日期审核日期批准日期修改标记修改处数修改日期。
一、目的为确保食品质量与安全,维护公司利益,规范食品仓库退货管理,特制定本制度。
二、适用范围本制度适用于公司内部各食品仓库的退货管理。
三、职责1. 仓库管理员:负责接收退货,进行质量检查,登记退货信息,并按照规定处理退货。
2. 质量检验员:负责对退货食品进行质量检验,确保退货食品符合国家相关标准。
3. 采购部:负责对退货食品进行采购,确保采购渠道合法、合规。
4. 财务部:负责对退货食品进行账务处理,确保财务数据准确。
四、退货流程1. 退货申请:退货单位需填写《食品退货申请单》,注明退货原因、数量、品种等信息,经相关部门负责人签字确认后,送至仓库。
2. 仓库接收:仓库管理员接到退货申请后,核对退货信息,接收退货食品。
3. 质量检验:质量检验员对退货食品进行质量检验,确认是否符合国家相关标准。
4. 退货处理:根据质量检验结果,处理退货食品:(1)符合标准的,办理入库手续,并按相关规定进行销售或处理。
(2)不符合标准的,按以下方式处理:①可修复的,送至维修部门进行修复;②无法修复的,经相关部门确认后,按废弃物处理。
5. 账务处理:财务部根据退货食品的数量、品种、价格等信息,进行账务处理。
五、注意事项1. 退货食品应保持完好,不得损坏、污染。
2. 退货食品的品种、数量、批次等信息应与退货申请单一致。
3. 仓库管理员、质量检验员、采购部、财务部等部门应密切配合,确保退货流程顺利进行。
4. 退货食品的质量检验结果应作为退货处理的重要依据。
六、附则1. 本制度由公司质量管理部门负责解释。
2. 本制度自发布之日起实施。
食品退货管理制度一、引言为确保公司食品退货过程规范、透明,并保障产品质量和客户权益,特制定本食品退货管理制度。
二、退货申请与受理1. 退货申请流程:制定明确的退货申请流程,包括客户提交退货申请的方式和所需信息。
2. 退货受理:设立退货受理流程,确保及时、准确地受理客户的退货请求。
三、退货条件与审核1. 退货条件:明确退货的合法条件,包括产品质量问题、过期等原因。
2. 审核程序:设定严格的退货审核程序,确保每个退货请求都经过合理的评估。
四、退货流程与记录1. 退货流程:制定退货处理流程,包括产品的收回、检验、记录等环节。
2. 记录要求:规定详细的退货记录要求,包括退货原因、数量、日期等信息。
五、产品处理与分类1. 处理流程:设立退货产品的处理流程,包括重新销售、销毁、返厂等处理方式。
2. 分类标准:制定退货产品的分类标准,便于有针对性地进行处理。
六、客户通知与沟通1. 通知程序:设定客户退货处理的通知程序,确保客户在处理过程中得到及时沟通。
2. 沟通渠道:提供多种沟通渠道,确保与客户保持畅通的信息交流。
七、退货问题与改进措施1. 问题追溯:对于频繁发生的退货问题,启动问题追溯流程,找出问题的根本原因。
2. 改进措施:制定改进措施,避免类似的问题再次发生,提高产品质量。
八、退货记录的保存与分析1. 保存期限:确定退货记录的保存期限,满足法规要求和公司内部需求。
2. 数据分析:定期对退货数据进行分析,发现问题并及时做出调整。
九、责任追究与培训1. 责任追究:对于恶意退货或处理不当的情况,追究相关责任人的责任。
2. 培训计划:制定相关人员的退货处理培训计划,提高处理水平。
十、退货管理制度的审核与完善1. 审核程序:设立食品退货管理制度的定期审核程序,确保制度的有效性。
2. 不断完善:根据实际情况,不断完善食品退货管理制度,提高管理水平。
采购退货管理制度(大全)第一篇:采购退货管理制度(大全)采购退货管理制度1.目的为加强退货产品的有效管理,缩短处理周期和及时做出改善措施,避免造成不必要的浪费,特制定退换货处理制度。
2.适用范围适用于采购的不合格物料及公司客户退换产品的处理。
因产品质量问题、运输过程中因保护不善造成产品受损,近有效期、等原因而引起的退换货产品。
3.职责3.1采购部:负责与供应商联系退货事宜。
3.2仓库:负责所退产品的出库及发运。
4.工作程序 4.1退换货条件4.1.1来料入库检验时发现产品不良,如产品破损、产品过保质期、到货产品与库存产品有外观差异等。
4.1.2数量短缺,采购与供应商沟通,补齐相应数量。
4.1.3质量不合格,经验收未达到我公司所需物料的质量要求,进行退货处理。
4.1.4产品在客户处发现不良退回,采购与供应商沟通换货,同时制作《进货退出凭单》。
4.2退货流程4.2.1产品到货后,仓库人员对本批产品进行检测,合格品入库,不合格品集中放入不良品区域,并通知采购人员进行退货。
4.2.2采购人员接到反馈后与供应商协商解决,如需返修或退货须邮件的形式通知仓库包装及出库发运;如果无法返修,采购人员须与供应商协商更换产品或就地报废,要求供应商补发同等数量的合格产品。
4.3所退货物回收处理4.3.1产品需维修的,与供应商沟通及时返回,并再次检验。
4.3.2产品质量不合格,退回供应商,要求换货或扣除货款。
4.3.3严重不合格产品,并造成我公司利益损失,依照合同与供应商沟通相关赔偿问题。
4.3.4为了消除发现的不合格及其原因,提交整改报告给供应商,限期整改并提交纠正措施。
第二篇:采购退货管理制度采购退货管理制度1.目的为加强退货产品的有效管理,缩短处理周期和及时做出改善措施,避免造成不必要的浪费,特制定退换货处理制度。
2.适用范围适用于采购的不合格物料及公司客户退换产品的处理。
因产品质量问题、运输过程中因保护不善造成产品受损,临近有效期、等原因而引起的退换货产品。
食品工厂退货处理程序一、目的建立退货处理程序,公正地评价退货,确保退货得到及时、妥善处理。
二、范围各种原因造成的退货和换货三、职责质保部、质检中心、市场营销部、生产技术管理部、生产车间、成品仓库四、退货的分类1、商业退货(S类)客户并未抱怨产品有何质量问题,而是由于财务原因、或者是由于本公司承诺帮助客户调整存货而收回临近有效期的产品,等等。
2、投诉退货中的第一类(T1类)在客户投诉尚未查清的情况下,公司从特殊原因考虑决定接收退货(或退样)。
在这种情况下,表示公司愿意承担退货(或退样)的损失,而不管最终的结论如何。
说明:T1类退货的发生,可能是因为本公司的常规留样已经不够,或者客户直接指明是包装、贮存、运输有问题,或者本公司的初步调查还无法得出明确结论,等等。
这时,本公司只有接收退货(或退样)才能继续进行调查评估。
3、投诉退货中的第二类(T2类)投诉已经调查清楚并决定接收退货,涉及产品确实是不合格的。
在这种情况下,本公司主动向客户致歉并收回不合格产品。
说明:T2类退货“不合格”的结论已经肯定。
而其质量问题的严重程度则不等,可以仅是引起客户注意的小缺陷(质量数据可能仍是合格的),也可以是存在较大质量问题甚至牵涉到Z类退货。
4、启动产品召回程序收回的退货(Z类):需要启动产品召回程序作为纠正措施而收回的退货五、退货的接收1、原则上由销售部原经手人员负责退货接收,如果该人员不在或已调离,则由接替职责的人员负责,24小时内完成退货接收手续并将情况反馈至质保部。
2、由质量副总、销售副总或总经理签发批准“同意退货”的凭证,销售人员接到书面凭证后开始核查销售记录并做好备注,然后通过传真等方式通知客户。
说明:对于Z类退货(产品召回)则应有质量副总签字的书面文件上报有关官方机构,并成立临时产品召回工作小组,负责制定收回计划,指挥不合格产品的紧急收回工作,确保在计划的期限内收回不合格产品,最大程度地减少危害。
具体请参见“产品收回程序”。
..
Q/SHF
原辅料退货管理制度
受控状态:
发放编号:
编制:采购部
审核:
批准:
山东惠发食品有限公司发布
原辅料退货管理制度
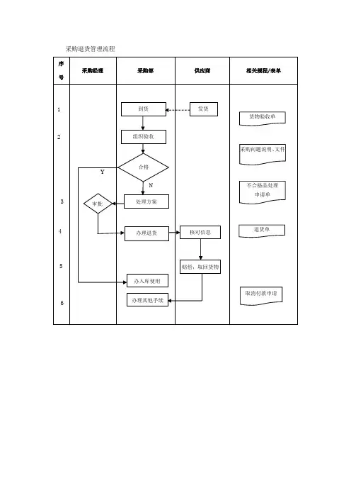
1、目的
为了引导企业加强对原辅料退货的内部控制,规范原辅料退货行为行为,结合公司的实际情况并根据国家有关法律法规,制定本制度。
2、具体内容
2.1、原辅料使用前退货。
在原辅料到达公司后,根据采购标准,经检验部门检验质量不合格,由质检人员及时通知采购部,采购项目负责人员必须到现场确认,必要时邀请多个部门共同参与质量确认,确认不合格后,由项目采购人员及时联系供应商进行退货或换货。
2.2、原辅料使用过程中退货。
在原辅料的使用过程发现产品不合格时,由质检人员及时通知采购部,采购项目负责人员必须到现场确认,必要时邀请多个部门共同参与质量确认,确认不合格后,由原辅料保管填写《不合格物资通知单》经库房主任(辅料由研发部经理签字)、采购部经理、企管部经理共同签字批阅后,由此项目采购负责人联系供应商进行协商,结果以《采购物资质量问题处理协议》上报公司备案,并在一周内做出退货方案;供应商同意退货或换货,则在对方货物到齐后,将存在质量问题的产品进行退货。
3、退货后账务处理
3.1原辅料未使用时退货的,如果供应商同意如数换货,则要等原辅料数量到齐后将按照原来发票内容入库;如供应商不同意换货则将已到发票如数退回。
3.2原辅料使用过程中退货的,如果供应商同意如数换货和补偿损失且此货物我公司将继续使用的,则按照在途货物处理;如供应商同意换货且此货物我公司将不再使用的,则需要进行红字发票处理;如果供应商不同意退货的,经公司维权后做不良库存处理。
4、职责:
4.1 采购部负责与供应商进行沟通,进行货物的购买,发票的索要、赔偿的商议事宜,负责联系物流进厂拉货退货,或者货物的退换。
4.2 .1品管部负责对所购入原料的验收与检验,在原料入厂后及时组织相关人员进行检验,对物料的合格程度进行检验,是否符合我公司的实际情况,是否符合我公司的检验标准,如果不合格则开具《不合格品通知单》,列明不合格的
具体原因、达标的项目,分别发送至相关部门。
4.2.2 品管部负责对装卸货物的监督,确保数量的准确等。
4.3 研发部负责对辅料的合格程度进行检验,根据相应物料的检验标准,检查购入的辅料是否符合我公司的标准,如果不符合我公司的技术标准,则开具《不合格品通知单》,发送至相关部门。
4.4 财务部负责账务的处理,对已经入库需要退货的物料,负责发票的相关程序,对已经抵扣的增值税发票要开具相应的红字发票,然后给予相关部门。
4.5采购会计负责对相应的账务进行记录监督,对相应的退货账务进行手工帐的记录,确保与财务的账务统一。
4.6 库房负责对物料退货的装卸等工作,所有入库的原料必须经过库房的存储、装卸等工作。
附:1、《不合格品通知单》(由品管部门出具)
2、《供应商沟通记录》。