银行家算法例题
- 格式:doc
- 大小:140.00 KB
- 文档页数:3
淮海工学院计算机工程学院实验报告书课程名:《计算机操作系统》题目:实验二银行家算法班级: ^ ^ 姓名: ^ ^实验二银行家算法实验目的和要求应用银行家算法验证进程安全性检查及分配资源编制模拟银行家算法的程序,并以以下例子验证程序的正确性。
实验环境1.PC微机。
2.Windows 操作系统。
3.C/C++/VB开发集成环境。
实验学时2学时,必做实验实验内容和步骤1)依照算法流程图编制可执行程序2)用以下两个例子验证程序的正确性。
3)按照上述两个例子,输出执行的结果。
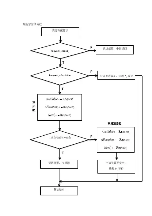
算法流程图银行家算法:安全性算法:【例1】某系统有A、B、C、D这4类资源供5个进程共享,进程对资源的需求和分配情况如下表所示。
现在系统中A、B、C、D类资源分不还剩1、5、2、0个,请按银行家算法回答下列问题:(1) 现在系统是否处于安全状态?(2) 假如现在进程P2提出需要(0,4,2,0)个资源的请求,系统能否满足它的请求?【例2】用银行家算法考虑下列系统状态:进程分配矩阵最大需求矩阵资源总数矩阵A 3 0 1 1 4 1 1 16 3 4 2B 0 1 0 0 0 2 1 2C 1 1 1 0 4 2 1 0D 1 1 0 1 1 1 1 1E 0 0 0 0 2 1 1 0问系统是否安全?若进程B请求(0,0,1,0),可否立即分配?此后进程E也请求(0,0,1,0),可否分配给它?通过运行程序发觉,例1当中的系统处于不安全状态,进程P2提出的请求无法实现;例2当中的系统处于安全状态,进程B提出的请求能实现,此后进程E的请求也能实现。
源代码#include<iostream>#define N 20#define M 20using namespace std;int f(int a[N][M],int b[N][M],int m,int k) {int j;for(j=0;j<m;j++)if(a[k-1][j]>b[k-1][j])return 0;return 1;}int g(int a[N][M],int b[],int m,int k) {int j;for(j=0;j<m;j++)if(a[k][j]>b[j])return 0;return 1;}int h(int a[],int n){for(int i=0;i<n;i++)if(!a[i])return 0;return 1;}int p(int a[],int b[N][M],int m,int k){int j;for(j=0;j<m;j++)if(a[j]>b[k-1][j])return 0;return 1;}int q(int a[],int b[],int m){int j;for(j=0;j<m;j++)if(a[j]>b[j])return 0;return 1;}int safe(int Finish[N],int Work[M],int Need[N][M],int Allocation[N][M],int n,int m){ int i,j,k;int t[N];for(i=0;i<n;i++)t[i]=1;cout<<"安全性检查!"<<endl;for(i=0;i<n;)// 首先找到一个满足条件的进程 {if((Finish[i]==0)&&g(Need,Work,m,i)){k=i;t[i]=0;cout<<"p("<<k+1<<"):"<<endl;cout<<"Work["<<m<<"]:";for(j=0;j<m;j++){cout<<Work[j]<<" ";Work[j]=Work[j]+Allocation[i][j]; Finish[i]=1;}cout<<endl;cout<<"Need["<<m<<"]:";for(j=0;j<m;j++)cout<<Need[i][j]<<" ";cout<<endl;cout<<"Allocation["<<m<<"]:";for(j=0;j<m;j++)cout<<Allocation[i][j]<<" ";cout<<endl;cout<<"(Work+Allocation)["<<m<<"]:"; for(j=0;j<m;j++)cout<<Work[j]<<" ";cout<<endl;cout<<"Finish["<<k+1<<"]:";cout<<Finish[i]<<" ";cout<<endl;break;}else{i++;}}if(g(Need,Work,m,k))//依次找到满足条件的后面几个进程 {for(i=0;i<n;i++){if(t[i]){if(g(Need,Work,m,i)){cout<<"p("<<i+1<<"):"<<endl;cout<<"Work["<<m<<"]:";for(j=0;j<m;j++){cout<<Work[j]<<" ";Work[j]=Work[j]+Allocation[i][j];Finish[i]=1;cout<<endl;cout<<"Need["<<m<<"]:";for(j=0;j<m;j++)cout<<Need[i][j]<<" ";cout<<endl;cout<<"Allocation["<<m<<"]:";for(j=0;j<m;j++)cout<<Allocation[i][j]<<" ";cout<<endl;cout<<"(Work+Allocation)["<<m<<"]:"; for(j=0;j<m;j++)cout<<Work[j]<<" ";cout<<endl;cout<<"Finish["<<i+1<<"]:";cout<<Finish[i]<<" ";cout<<endl;t[i]=0;}}}else {return 0;}if(h(Finish,n))return 1;//系统处于安全状态else return 0;//系统处于不安全状态}void r(int Finish[N],int Work[M],int Available[M],int Need[N][M],int Allocation[N][M],int Max[N][M],int n,int m) {int Request[M];char b;int i,j,k;cout<<"\n要申请资源,请按'y'或'Y',否则按'n'或'N'"<<endl;//是立即进行安全性检查,依旧进行资源申请cin>>b;if(b!='y'&&b!='Y')if(safe(Finish,Work,Need,Allocation,n,m)){cout<<"现在刻系统安全!\n";}else{cout<<"现在刻系统不安全!\n";}}else{{cout<<"\n请输入申请资源的进程编号(1,2,…,"<<n<<"):"<<endl;cin>>k;while(k>n){cout<<"您输入了错误的进程号,请核查后重新输入:"<<endl;cin>>k;}cout<<"\n请输入进程p("<<k<<")申请各类资源的数量:"<<endl;for (j=0; j<m; j++)cin>>Request[j];if(p(Request,Need,m,k)){if(q(Request,Available,m)){for(j=0;j<m;j++){Available[j]=Available[j]-Request[j];Allocation[k-1][j]=Allocation[k-1][j]+Request[j]; Need[k-1][j]=Need[k-1][j]-Request[j];Work[j]=Available[j];}cout<<"试分配!"<<endl;cout<<"各种资源可利用的数量Available["<<m<<"]: "<<endl;for (j=0; j<m; j++){cout<<Available[j]<<" ";}cout<<endl;cout<<"\n已分配资源Allocation["<<m<<"]: "<<endl;for (i=0; i<n; i++){for (j=0; j<m; j++){cout<<Allocation[i][j]<<" ";}cout<<endl;}cout<<"\n最大需求矩阵Max["<<n<<"]["<<m<<"]: "<<endl; for (i=0; i<n; i++){for (j=0; j<m; j++){cout<<Max[i][j]<<" ";}cout<<endl;}cout<<"\n需求矩阵Need["<<n<<"]["<<m<<"]: "<<endl; for (i=0; i<n; i++){for (j=0; j<m; j++){cout<<Need[i][j]<<" ";}cout<<endl;}if (safe(Finish,Work,Need,Allocation,n,m)){//推断当前状态的安全性cout<<"系统处于安全状态!";cout<<"\n申请资源成功!!!"<<endl;}else{cout<<"\n当前状态不安全!!!!!!";//恢复数据for (j=0; j<m; j++){Available[j]=Available[j]+Request[j];Allocation[k-1][j]=Allocation[k-1][j]-Request[j];Need[k-1][j]=Need[k-1][j]+Request[j];Work[j]=Available[j];}for(i=0; i<n; i++)Finish[i]=0;cout<<"\n恢复数据:"<<endl;//显示输入各数组的值cout<<"各种资源可利用的数量Available["<<m<<"]: "<<endl;for (j=0; j<m; j++){cout<<Available[j]<<" ";}cout<<endl;cout<<"\n已分配资源Allocation["<<m<<"]: "<<endl;for (i=0; i<n; i++){for (j=0; j<m; j++){cout<<Allocation[i][j]<<" ";}cout<<endl;}cout<<"\n最大需求矩阵Max["<<n<<"]["<<m<<"]: "<<endl; for (i=0; i<n; i++){for (j=0; j<m; j++){cout<<Max[i][j]<<" ";}cout<<endl;}cout<<"\n需求矩阵Need["<<n<<"]["<<m<<"]: "<<endl; for (i=0; i<n; i++){for (j=0; j<m; j++){cout<<Need[i][j]<<" ";}cout<<endl;}cout<<"系统中尚无足够的资源满足进程p["<<k<<"]的申请,p["<<k<<"]必须等待!"<<endl;}}else cout<<"系统中尚无足够的资源满足进程p["<<k<<"]的申请,p["<<k<<"]必须等待!"<<endl;}else cout<<"出错,进程所需要的资源数目已超过它所宣布的最大值!"<<endl;}}}void main(){cout<<"---------------------------------------------------------"<<endl;cout<<"------------------模拟银行家算法------------------"<<endl;cout<<"---------------------------------------------------------"<<endl;cout<<"--------------------江之风海之韵-------------------"<<endl;cout<<"------------------------QuQu-------------------------"<<endl;cout<<"---------------------------------------------------------"<<endl;int Available[M];int Max[N][M];int Allocation[N][M];int Need[N][M];int Work[M];int Finish[N];int i,j,n,m;//定义全局变量cout<<"输入进程的数量: ";//从此开始输入有关数据cin>>n;cout<<"输入资源种类数: ";cin>>m;cout<<"输入各种资源可利用的数量Available["<<m<<"]: "<<endl;for (j=0; j<m; j++){cin>>Available[j];Work[j]=Available[j];//初始化Work[j]}cout<<"\n输入各进程对各类资源的最大需求数Max["<<n<<"]["<<m<<"]: "<<endl;cout<<"\n请严格按照("<<n<<"×"<<m<<")的距阵输入:"<<endl;for (i=0; i<n; i++){for (j=0; j<m; j++)cin>>Max[i][j];}cout<<"\n请输入各进程当前已分配的资源数量Allocation["<<n<<"]["<<m<<"]: "<<endl;cout<<"\n请严格按照("<<n<<"×"<<m<<")的距阵输入:"<<endl; for (i=0; i<n; i++){for (j=0; j<m; j++){cin>>Allocation[i][j];Need[i][j] = Max[i][j]-Allocation[i][j];}}r(Finish,Work,Available,Need,Allocation,Max,n,m); for(i=0;i<n;i++)Finish[i]=0;r(Finish,Work,Available,Need,Allocation,Max,n,m); for(i=0;i<n;i++)Finish[i]=0;r(Finish,Work,Available,Need,Allocation,Max,n,m); for(i=0;i<n;i++)Finish[i]=0;r(Finish,Work,Available,Need,Allocation,Max,n,m); for(i=0;i<n;i++)}实验结果实验体会银行家算法在计算机操作系统中是一个特不重要的算法,这次我编制模拟银行家算法的程序,来验证了程序的正确性。
银行家算法流程安全性算法流程图银行家算法例题 1.假定系统中有4个进程1P ,2P ,3P ,4P , 3种类型的资源1R ,2R ,3R ,数量分别为9,3,6, 0T 时刻的资源分配情况如表2-1所示。
表2-1 T 0时刻的资源分配情况试问:(1) T 0时刻是否安全?(2) T 0时刻以后,若进程P 2发出资源请求Request 2(1,0,1), 系统能否将资源分配给它? (3) 在进程P 2申请资源后,若P1发出资源请求Request 1(1,0,1), 系统能否将资源分配给它?(4) 在进程P 1申请资源后,若P3发出资源请求Request 3(0,0,1), 系统能否将资源分配给它?2. 在银行家算法中,出现以下资源分配情况(见表2-2)系统剩余资源数量=(3,3,2)(1) 该状态是否安全(给出详细的检查过程) (2) 如果进程依次有如下资源请求:P1:资源请求request (1,0,2) P2:资源请求request (3,3,0) P3:资源请求request (0,1,0)则系统该如何进行资源分配才能避免死锁?3.设系统中有3种类型的资源(A、B、C)和5个进程P1、P2、P3、P4、P5,A资源的数量为17,B资源的数量为5,C资源的数量为20。
在T0时刻,系统状态见表2-3。
系统采用银行家算法实现死锁避免。
(1)T0时刻是否为安全状态?若是,请给出安全序列(2)在T0时刻,若进程P2请求资源(0,3,4),是否能实施资源分配?为什么?(3)在(2)的基础上,若进程P4请求资源(2,0,1),是否能实施资源分配?(4)在(3)的基础上,若进程P1请求资源(0,2,0),是否能实施资源分配?4.某系统有R1、R2、R3共三种资源,在T0时刻P1、P2、P3、P4这四个进程对资源的占用和需求情况见表2-24,此时系统的可用资源矢量为(2,1,2)。
试问:1)将系统中各种资源总数和此刻各进程对各资源的需求数目用矢量或矩阵表示出来。
银行家算法典型例题银行家算法是一种死锁避免策略,适用于系统中有多个进程和多种资源的情况。
在该算法中,每个进程需要预先声明其最大资源需求和当前已经分配的资源数量,同时系统也需要知道每种资源的总数量和已经分配的数量。
通过比较每个进程的资源需求和系统当前可用资源数量,可以判断系统是否处于安全状态,以及是否能够分配资源给某个进程。
在本例中,系统中有3种资源A、B、C,分别有10、5、7个。
同时有5个进程P0至P4,它们的最大资源需求和已分配资源情况如下表所示。
在T0时刻,系统状态如表所示。
根据银行家算法,我们可以回答以下问题:1) 在T0时刻,系统处于安全状态,安全序列为P1、P3、P4、P2、P0.2) 若进程P1在T0时刻发出资源请求Request(1,0,2),则可以实施资源分配。
因为该请求的资源需求小于进程P1的最大需求,且系统当前可用资源数量足够满足该请求。
3) 在P1请求资源之后,若进程P4发出资源请求Request(3,3,0),则无法实施资源分配。
因为该请求的资源需求大于进程P4的最大需求,且系统当前可用资源数量不足以满足该请求。
因此,P4需要等待其他进程释放资源后再尝试请求。
4) 在P1请求资源之后,若进程P0发出资源请求Request(0,2,0),则可以实施资源分配。
因为该请求的资源需求小于进程P0的最大需求,且系统当前可用资源数量足够满足该请求。
Process n Need AvailableP0 0 3 20 0 1 21 6 2 2P1 1 0 01 7 5 0P2 1 2 2 3 5 6P3 3 3 20 6 5 2P4 0 1 40 6 5 6n: (1) Is the system in a safe state。
(2) If process P2 requests (1,2,2,2)。
can the system allocate the resources to it?Answer: (1) Using the safety algorithm。
银行家算法例题详解银行家算法是一种资源分配算法,用于避免死锁并确保系统中的所有进程能够顺利完成任务。
它最初由银行家提出,并应用于操作系统中。
在银行家算法中,系统有一定数量的资源,包括进程所需的资源以及可供分配的资源。
每个进程都会向系统请求资源,系统会检查该请求是否能够满足,并采取相应的措施。
下面以一个例题来详细解释银行家算法的工作原理:假设有3个进程P1,P2和P3,以及4种资源A,B,C和D。
它们的资源需求和可用资源如下表所示:进程 Max需求已分配需求可用P1 7,5,3,2 0,1,0,0 7,4,3,1 3,3,2,2P2 3,2,2,1 2,0,0,0 1,2,2,1P3 9,0,2,2 3,0,2,2 6,0,0,0首先,我们需要计算每个进程的需求和已分配资源之间的差异。
这可以通过需求矩阵和分配矩阵的减法来实现。
例如,对于P1进程,需求矩阵减去分配矩阵得到需求矩阵:需求矩阵P1 = Max矩阵P1 - 分配矩阵P1 = 7,5,3,2 - 0,1,0,0 = 7,4,3,2接下来,我们需要检查是否存在一个安全序列,即一个进程执行顺序,使得每个进程能够顺利完成任务。
安全序列的判断基于两个条件:1. 对于每个进程i,需求矩阵的第i行的每个元素都小于等于可用资源的对应元素。
2. 如果进程i的需求矩阵的第i行的每个元素都小于等于可用资源的对应元素,那么将进程i的已分配资源加到可用资源中,再继续判断下一个进程。
根据上述条件,我们可以开始判断是否存在安全序列:1. 首先,我们看到P1的需求矩阵的第一行的每个元素都小于等于可用资源的对应元素。
因此,我们将P1的已分配资源加到可用资源中,可用资源现在变为6,5,3,2。
2. 接下来,我们看到P2的需求矩阵的第二行的每个元素都小于等于可用资源的对应元素。
因此,我们将P2的已分配资源加到可用资源中,可用资源现在变为7,5,3,2。
3. 最后,我们看到P3的需求矩阵的第三行的每个元素都小于等于可用资源的对应元素。
操作系统之调度算法和死锁中的银行家算法习题参考答案集团企业公司编码:(LL3698-KKI1269-TM2483-LUI12689-ITT289-1.有三个批处理作业,第一个作业10:00到达,需要执行2小时;第二个作业在10:10到达,需要执行1小时;第三个作业在10:25到达,需要执行25分钟。
分别采用先来先服务,短作业优先和最高响应比优先三种调度算法,各自的平均周转时间是多少?解:先来先服务:(结束时间=上一个作业的结束时间+执行时间周转时间=结束时间-到达时间=等待时间+执行时间)按到达先后,执行顺序:1->2->3短作业优先:1)初始只有作业1,所以先执行作业1,结束时间是12:00,此时有作业2和3;2)作业3需要时间短,所以先执行;3)最后执行作业2最高响应比优先:高响应比优先调度算法既考虑作业的执行时间也考虑作业的等待时间,综合了先来先服务和最短作业优先两种算法的特点。
1)10:00只有作业1到达,所以先执行作业1;2)12:00时有作业2和3,作业2:等待时间=12:00-10:10=110m;响应比=1+110/60=2.8;作业3:等待时间=12:00-10:25=95m,响应比=1+95/25=4.8;所以先执行作业33)执行作业22.在一单道批处理系统中,一组作业的提交时刻和运行时间如下表所示。
试计算一下三种作业调度算法的平均周转时间T和平均带权周转时间W。
(1)先来先服务;(2)短作业优先(3)高响应比优先解:先来先服务:作业顺序:1,2,3,4短作业优先:作业顺序:1)8:00只有作业1,所以执行作业1;2)9:00有作业2和3,作业3短,所以先执行3;3)9:12有作业2和4,作业4短,所以先执行4;4)执行作业2高响应比优先:作业顺序:1)8:00只有作业1,所以执行作业1;2)9:00有作业2和3作业2等待时间=9:00-8:30=30m,响应比=1+30/30=2;作业3等待时间=9:00-9:00=0m,响应比=1+0/12=1;所以执行作业2;3)9:30有作业3和4作业3等待时间=9:30-9:00=30m,响应比=1+30/12=3.5;作业4等待时间=9:30-9:06=24m,响应比=1+24/6=5;所以执行作业44)执行作业33.设系统中有3种类型的资源(A,B,C)和5个进程(P1,P2,P3,P4,P5),A资源的数量为17,B资源的数量为5,C资源的数量为20。
1、设系统中有3种类型的资源(A ,B ,C )和5个进程P1、P2、P3、P4、P5,A 资源的数量为17,B 资源的数量为5,C 资源的数量为20。
在T 0时刻系统状态见下表(T 0时刻系统状态表)所示。
系统采用银行家算法实施死锁避免策略。
(12分)T 0时刻系统状态表(1)T 0时刻是否为安全状态?若是,请给出安全序列。
(2)在T 0时刻若进程P2请求资源(0,3,4),是否能实施资源分配?为什么?(3)在(2)的基础上,若进程P4请求资源(2,0,1),是否能实施资源分配?为什么?(4)在(3)的基础上,若进程P1请求资源(0,2,0),是否能实施资源分配?为什么?答:当前的系统状态描述为:⎥⎥⎥⎥⎥⎥⎦⎤⎢⎢⎢⎢⎢⎢⎣⎡=4245241104635955C ⎥⎥⎥⎥⎥⎥⎦⎤⎢⎢⎢⎢⎢⎢⎣⎡=413402504204212A ⎥⎥⎥⎥⎥⎥⎦⎤⎢⎢⎢⎢⎢⎢⎣⎡=-011122600431743A C ()20517=R()332=V(1)在T0时刻,由于V (2,3,3)大于等于(C-A )中P5所在行的向量(1,1,0),因此V 能满足P5的运行,在P5运行后,系统的状态为:⎥⎥⎥⎥⎥⎥⎦⎤⎢⎢⎢⎢⎢⎢⎣⎡=000402504204212A ⎥⎥⎥⎥⎥⎥⎦⎤⎢⎢⎢⎢⎢⎢⎣⎡=-000122600431743A C ()745'=V 同样的,在P5运行后,V ’(5,4,7)也大于等于C-A 中P4所在的行(2,2,1),则能满足P4的运行。
P4运行后,系统的状态为:⎥⎥⎥⎥⎥⎥⎦⎤⎢⎢⎢⎢⎢⎢⎣⎡=000000504204212A ⎥⎥⎥⎥⎥⎥⎦⎤⎢⎢⎢⎢⎢⎢⎣⎡=-000000600431743A C ()1147'=V 按照上述同样的方法,P4运行后,P3,P2,P1也能按顺序运行。
(备注:考试时需要都写出来)。
因此,在T0时刻,存在安全序列:P5、P4、P3、P2、P1。
银行家算法解决死锁问题1、设系统中有3种类型的资源(A,B,C)和5个进程P1、P2、P3、P4、P5,A资源的数量为17,B资源的数量为5,C资源的数量为20。
在T0时刻系统状态见下表(T0时刻系统状态表)所示。
系统采用银行家算法实施死锁避免策略。
(12分)T0时刻系统状态表T0时刻系统状态表P2请求资源(0,3,4)(0,1,1)(1)T0时刻是否为安全状态?若是,请给出安全序列。
(2)在T0时刻若进程P2请求资源(0,3,4),是否能实施资源分配?为什么?(3)在(2)的基础上,若进程P4请求资源(2,0,1),是否能实施资源分配?为什么?(4)在(3)的基础上,若进程P1请求资源(0,2,0),是否能实施资源分配?为什么?答:当前的系统状态描述为:⎥⎥⎥⎥⎥⎥⎦⎤⎢⎢⎢⎢⎢⎢⎣⎡=4245241104635955C //资源最大需求数量 max ⎥⎥⎥⎥⎥⎥⎦⎤⎢⎢⎢⎢⎢⎢⎣⎡=413402504204212A //已分配资源数量 alloc⎥⎥⎥⎥⎥⎥⎦⎤⎢⎢⎢⎢⎢⎢⎣⎡=-011122600431743A C //还需资源数量 Need()20517=R //资源总量 ()332=V //系统可用资源向量(1)T 0时刻是否为安全状态?若是,请给出安全序列。
在T0时刻,由于V (2,3,3)大于等于(C-A )中P5所在行的向量(1,1,0),因此V 能满足P5的运行,在P5运行后,系统的状态为:⎥⎥⎥⎥⎥⎥⎦⎤⎢⎢⎢⎢⎢⎢⎣⎡=000402504204212A ⎥⎥⎥⎥⎥⎥⎦⎤⎢⎢⎢⎢⎢⎢⎣⎡=-000122600431743A C ()745'=V同样的,在P5运行后,V’(5,4,7)也大于等于C-A 中P4所在的行(2,2,1),则能满足P4的运行。
P4运行后,系统的状态为:⎥⎥⎥⎥⎥⎥⎦⎤⎢⎢⎢⎢⎢⎢⎣⎡=000000504204212A ⎥⎥⎥⎥⎥⎥⎦⎤⎢⎢⎢⎢⎢⎢⎣⎡=-000000600431743A C ()1147'=V按照上述同样的方法,P4运行后,P3,P2,P1也能按顺序运行。
银行家算法(进程需求的资源数≤剩余的资源数才是安全序列)例题:系统中有4种类型的资源(A、B、C、D)和5个进程P1、P2、P3、P4和P5, A资源的数量为3, B资源的数量为12, C资源的数量为14, D资源的数量为14,在某时刻系统状态如下表所示,系统采用银行家算法实施死锁避免策略.资源分配表下列进程执行序列中,哪些不是安全序列( )A:P1 P4 P5 P2 P3 B:P1 P4 P2 P5 P3 C:P1 P4 P3 P2 P5 D:P1 P3 P4 P5 P2E:P1 P5 P4 P3 P2 解题步骤:①,我们要根据题干计算出剩余资源数量,(有的题目直接给出了剩余资源数量,我们就不需要计算了.), 剩余资源数量=资源的数量-已分配资源数量,根据题目计算得出, A资源的数量为3减去A已分配资源数量2等于1,B资源的数量为12减去B已分配资源数量6等于6C资源的数量为14减去C已分配资源数量12等于2D资源的数量为14减去D已分配资源数量12等于2求出剩余资源数量( A 1 B 6 C 2 D 2 )②,我们要计算出需求资源数量,(相应进程的ABCD互减, A减A ,B减B, C减C, D减D )③根据剩余资源数量来判断执行序列的安全,进程需求的资源数≤剩余的资源数才是安全序列(也就是说,剩余资源数量≥需求资源数量,才安全)采用银行家算法,每次执行完一个进程需要加上此进程的已分配资源数量,再执行下一个进程,以此类推.④我们来看选项A:P1 P4 P5 P2 P3, 我们之前求出剩余资源数量( A 1 B 6 C 2 D 2 )此刻, 剩余资源数量( A 1 B 6 C 2 D 2 )各个资源都大于,P1进程需求资源数量为(A 0、 B 0、 C 1、 D 2 )(1、6、2、2)>(0、0、1、2),安全,运行完P1进程后,剩余资源数量需要加上P1进程已分配资源数量,即: (1、6、2、2)+(0、0、3、2)=(1、6、5、4),接下来执行P4进程,此时已经运行完P1进程,所以此刻剩余资源数量为(1、6、5、4),(1、6、5、4)各项资源数量≥P4进程需求的资源数量(0、6、5、2),安全运行完P4进程后,剩余资源数量需要加上P4进程已分配资源数量,即:(1、6、5、4) +(0、3、3、2) =(1、9、8、6), 接下来执行P5进程,P5进程需求的资源数量为(0、6、5、6)此时已经运行完P4进程,所以此刻剩余资源数量为(1、9、8、6)(1、9、8、6) 各项资源数量≥P5进程需求的资源数量(0、6、5、6),安全运行完P5进程后,剩余资源数量需要加上P5进程已分配资源数量,即:(1、9、8、6) +(0、0、1、4)=(1、9、9、10), 接下来执行P2进程,P2进程需求的资源数量为(1、7、5、0)此时已经运行完P5进程,所以此刻剩余资源数量为(1、9、9、10),(1、9、9、10), 各项资源数量≥P2进程需求的资源数量(1、7、5、0),安全运行完P2进程后,剩余资源数量需要加上P2进程已分配资源数量,即:(1、9、9、10) +(1、0、0、0) =(2、9、9、10),接下来执行P3进程此时已经运行完P2进程,所以此刻剩余资源数量为(2、9、9、10)(2、9、9、10) 各项资源数量≥P3进程需求的资源数量(2、3、5、6),安全此时5个进程运行完毕所以选项A:P1 P4 P5 P2 P3,执行序列正确.,同理选项B:P1 P4 P2 P5 P3执行序列正确⑤们分析一下选项C为啥不正确,我们来看选项, C:P1 P4 P3 P2 P5 我们之前求出剩余资源数量( A 1 B 6 C 2 D 2 )此刻, 剩余资源数量( A 1 B 6 C 2 D 2 )各个资源都大于,P1进程需求资源数量为(A 0、 B 0、 C 1、 D 2 )(1、6、2、2)>(0、0、1、2),安全,运行完P1进程后,剩余资源数量需要加上P1进程已分配资源数量,即: (1、6、2、2)+(0、0、3、2)=(1、6、5、4),接下来执行P4进程,此时已经运行完P1进程,所以此刻剩余资源数量为(1、6、5、4),(1、6、5、4)各项资源数量≥P4进程需求的资源数量(0、6、5、2),安全运行完P4进程后,剩余资源数量需要加上P4进程已分配资源数量,即:(1、6、5、4) +(0、3、3、2) =(1、9、8、6), 接下来执行P3进程,此时已经运行完P4进程,所以此刻剩余资源数量为(1、9、8、6)(1、9、8、6) )各项资源数量不能≥P3进程需求的资源数量(2、3、5、6),不安全因为,资源A此刻只有1个可用,而进程P3需要2个A资源.运行会发生死锁,然后就不需要运行其它进程了所以选项C:P1 P4 P3 P2 P5错误.同理选项D:P1 P3 P4 P5 P2和E:P1 P5 P4 P3 P2错误.。
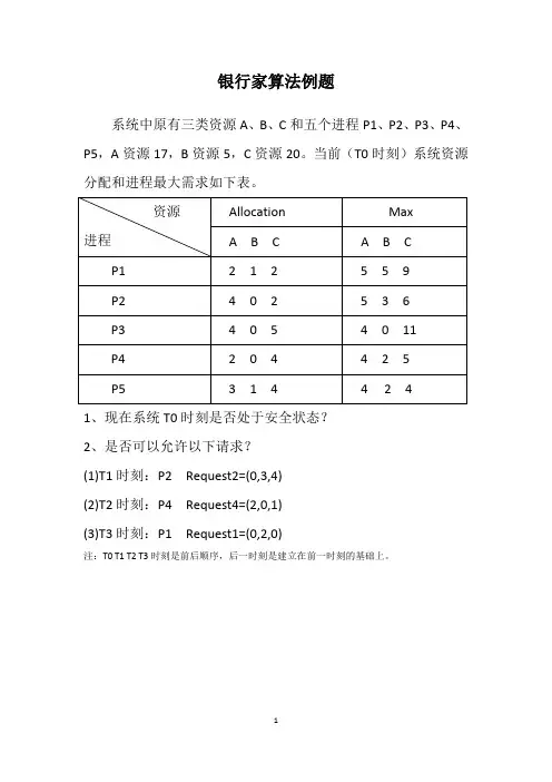
银行家算法例题系统中原有三类资源A、B、C和五个进程P1、P2、P3、P4、P5,A资源17,B资源5,C资源20。
当前(T0时刻)系统资源分配和进程最大需求如下表。
1、现在系统T0时刻是否处于安全状态?2、是否可以允许以下请求?(1)T1时刻:P2 Request2=(0,3,4)(2)T2时刻:P4 Request4=(2,0,1)(3)T3时刻:P1 Request1=(0,2,0)注:T0 T1 T2 T3时刻是前后顺序,后一时刻是建立在前一时刻的基础上。
解:由题设可知Need=Max-AllocationAvailableA=17-(2+4+4+2+3)=2(原有-分配)同理AvailableB=3,AvailableC=3可得T0时刻资源分配表如下所示(表中数据顺序均为A B C):1、判断T0时刻是否安全,需要执行安全算法找安全序列,过程如下表:T0时刻能找到一个安全序列{P4,P3,P2,P5,P1},故T0时刻系统处于安全状态。
2、判断T1 T2 T3时刻是否满足进程请求进行资源分配。
(1)T1时刻,P2 Request2=(0,3,4)//第一步判断条件①满足Request2=(0,3,4)<=Need2(1,3,4)②不满足Request2=(0,3,4)<=Available(2,3,3)故系统不能将资源分配给它,此时P2必须等待。
(2)T2时刻,P4 Request4=(2,0,1)//第一步判断条件①满足Request4=(2,0,1)<=Need4(2,2,1)②满足Request4=(2,0,1)<=Available(2,3,3)//第二步修改Need、Available、Allocation的值Available=Available-Request4= (0,3,2)Allocation4=Allocation4+Request4=(4,0,5)Need4=Need4-Request4=(0,2,0)//第三步执行安全算法,找安全序列(注解:先写上work,其初值是系统当前进行试分配后的Available(0,3,2) ,找五个进程中Need小于work的进程,比如Need4<=Work满足,则将P4写在第一行的最前面,同时写出P4的Need和Allocation,以此类推)//第四步在此时刻(T2时刻)存在安全序列{P4,P2,P3,P5,P1},则满足Request4请求,将Request4=(2,0,1)分配给P4。
(完整word版)银行家算法例题银行家算法例题假定系统中有五个进程{P0,P1,P2,P3,P4} 和三类资源{A ,B,C},各种资源的数量分别为10、5、7,在T0 时刻的资源分配情况(1)T0时刻的安全性利用安全性算法对T0时刻的资源分配情况进行分析(2)P1请求资源:P1发出请求向量Request1(1,0,2),系统按银行家算法进行检查①Request1(1,0,2)≤Need1(1,2,2)②Request1(1,0,2)≤Available1(3,3,2)③系统先假定可为P1分配资源,并修改Available ,Allocation1和Need1向量,由此形成资源情况进程Max Allocation Need Available A B C A B C A B C A B C P0 7 5 3 0 1 0 7 4 3 3 3 2 P1 3 2 2 2 0 0 1 2 2 P2 9 0 2 3 0 2 6 0 0 P3 2 2 2 2 1 1 0 1 1 P44 3 30 0 24 3 1资源情况进程Work A B C Need A B C Allocation A B CWork+Allocatio n A B C FinishP1 3 3 2 1 2 2 2 0 0 5 3 2 TRUE P3 5 3 2 0 1 1 2 1 1 7 4 3 TRUE P4 7 4 3 4 3 1 0 0 2 7 4 5TRUE P2 7 4 5 6 0 0 3 0 2 10 4 7 TRUE P010 4 77 4 30 1 010 5 7的资源变化情况如下图所示。
④再利用安全性算法检查此时系统是否安全。
P1 申请资源时的安全性检查(3)P4请求资源:P4发出请求向量Request4(3,3,0),系统按银行家算法进行检查:①Request4(3,3,0)≤Need4(4,3,1);②Request4(3,3,0)≮Available (2,3,0),让P4等待。
银行家算法例题假定系统中有五个进程{P0,P1,P2,P3,P4} 和三类资源{A ,B,C},各种资源的数量分别为10、5、7,在T0 时刻的资源分配情况(1)T0时刻的安全性利用安全性算法对T0时刻的资源分配情况进行分析(2)P1请求资源:P1发出请求向量Request1(1,0,2),系统按银行家算法进行检查 ①Request1(1,0,2)≤Need1(1,2,2)②Request1(1,0,2)≤Available1(3,3,2)③系统先假定可为P1分配资源,并修改Available ,Allocation1和Need1向量,由此形成的资源情况进程Max Allocation Need Available A B C A B C A B C A B C P0 7 5 3 0 1 0 7 4 3 3 3 2 P1 3 2 2 2 0 0 1 2 2 P2 9 0 2 3 0 2 6 0 0 P3 2 2 2 2 1 1 0 1 1 P44 3 30 0 24 3 1资源情况 进程Work A B C Need A B C Allocation A B CWork+Allocatio n A B C FinishP1 3 3 2 1 2 2 2 0 0 5 3 2 TRUE P3 5 3 2 0 1 1 2 1 1 7 4 3 TRUE P4 7 4 3 4 3 1 0 0 2 7 4 5TRUE P2 7 4 5 6 0 0 3 0 2 10 4 7 TRUE P010 4 77 4 30 1 010 5 7TRUE资源变化情况如下图所示。
④再利用安全性算法检查此时系统是否安全。
P1 申请资源时的安全性检查(3)P4请求资源:P4发出请求向量Request4(3,3,0),系统按银行家算法进行检查: ①Request4(3,3,0)≤Need4(4,3,1);②Request4(3,3, 0)≮Available(2,3,0),让P4等待。
银行家算法的主要思想是什么?他能够解决死锁问题吗?
银行家算法是避免死锁的一种方法,主要思想是:允许进程动态的申请资源,系统在每次实施资源分配之前,先计算资源分配的安全性,若此次资源分配安全(即资源分配后系统能按照某种顺序来为每个进程分配所需资源,直至最大需求,使个进程都可以顺利的完成),变将资源分配给进程,否则不分配资源,让进程等待。
银行家算法具有较好的理论意义但实际中很难实施,主要原因是:难以预测获得进程申请的最大资源,运行过程中进程的个数是不断变化的,所以银行家算法难以解决实际中的死锁问题。
例题:
若系统运行中出现如图所示的资源分配情况,该系统是否安全?如果进程P2此时申请资源(1,,2,2,2)系统能否把资源分配给他?为什么?
解答:首先检查是否存在安全序列
可先进性预分配,如果存在一个能够运行下去的寻列就说明是存在安全序列可以分配的。
预分配表如下:。
假设一家银行拥有资金20**万,现有10家公司向其贷款进行筹建,每家均需300万才能建成。
如果这家银行将20**万的资金平均贷给这10家公司,则每家公司将得到200万的贷款,都不能筹建成功,也就不能还贷,那么这10家公司都将“死锁”。
若这家银行给其中的4家各贷300万,另4家各贷200万,这样将还有2家公司得不到贷款,不能开工建设,但有4家可筹建完成,这4家公司运营所得利润可向该银行还贷,银行可以利用还贷的资金继续向其他的公司贷款,从而保证所有公司筹建成功投入运营。
银行家算法是为了把一定数量的资金供多个用户周转,并保证资金的安全。
银行家算法可归纳为:(1)当一个用户对资金的最大需求量不超过银行家现有的资金时,就可接纳该用户。
(2)用户可以分期贷款,但贷款总数不能超过最大需求量。
(3)当银行家现有的资金不能满足用户的尚需贷款数时,可以推迟支付,但总能使用户在有限的时间里得到贷款。
(4)当用户得到所需的全部资金后,一定能在有限时间里归还所有的资金。
我们可以把操作系统看作银行家,把进程看作用户,把操作系统管理的资源看作银行家管理的资金,把进程向操作系统请求资源看作用户向银行家贷款。
操作系统按照银行家规定的规则为进程分配资源。
当进程首次申请资源时,要测试该进程对资源的最大需求量。
如果系统现存的资源可以满足它的最大需求量,则按当前的申请量分配资源,否则推后分配。
当进程在执行中继续申请资源时,先测试该进程已占有的资源数与本次申请的资源数之和是否超过该进程对资源的最大需求量。
如果超过,则拒绝分配资源,否则再测试系统现存的资源能否满足该进程尚需的最大资源量。
若能满足,则按当前的申请量分配资源,否则也要推迟分配。
这样做,能保证在任何时刻至少有一个进程可以得到所需要的全部资源而执行到结束,执行结束后归还资源,并把这些资源加入到系统的剩余资源中,用同样的方法为其他的进程分配资源。
银行家算法的数据结构包括:(1)可用资源向量Available。
假设系统中有三类互斥资源R1、R2和R3,可用资源数分别为9、8、5.在T0时刻系统中有P1、P2、P3、P4和P5五个进程,这些进程对资源的最大需求量和已分配资源数如下表所示。
如果进程按照(___) 序列执行,那么系统状态是安全的。
A:P1 -> P2 -> P4 -> P5 -> P3B:P2 -> P1 -> P4 -> P5 -> P3C:P2 -> P4 -> P5 -> P1 -> P3D:P4 -> P2 -> P4 -> P1 -> P3答案:C下面我们就对这道题进行详细的解析,在考试中如果出现这样的题都是一个解题思路。
首先,我们根据上述图形绘制出每个进程中R1、R2、R3中剩余的资源数。
我用下面的表格图进行显示。
根据题意,我们知道现在 R1对应资源是9,R2对应资源是8,R3对应资源是5。
P1、P2、P3、P4、P5总用使用的资源是:7 7 5.剩余资源数是:2 1 0根据我们绘制的图表中发现,P1-P5中只有P2的剩余资源小于总的剩余资源数,所以选择P2。
根据4个选项,我们首先排除了A、D选项。
P2运行完成之后,会释放所占用的资源,此时总得剩余资源数是:4 2 1。
如何得到 4 2 1 这个数呢?总得剩余资源 + P2释放的资源数。
P2运行完成之后,需要从P1、P3、P4、P5中进行匹配。
根据剩余资源量我们可以看出,只有P4符合条件。
再看剩余的选项,此时,可以直接筛选出C选项符合。
如果是简单题,可以继续按照上述步骤进行操作,运行完一个进程,需要释放当前进程占用的资源,供下一个进程使用。
在银行家算法的例子中银行家算法是一种资源分配算法,被广泛应用于操作系统领域。
它的目的是确保系统中的多个进程能够安全地共享有限的资源。
以一个简单的例子来说明银行家算法的工作原理。
假设有一个操作系统,有4个资源类型(A、B、C、D),每个资源类型的数量分别为10、5、7和8、现在有5个进程(P0、P1、P2、P3、P4)需要申请资源,并且已经获得了一些资源。
他们的资源需求和现有资源分别如下:进程,已分配的资源(A/B/C/D),需要的资源(A/B/C/D)-----,-----------------------,-----------------------P0,0/1/0/3,7/5/3/3P1,2/0/0/0,0/0/2/2P2,3/0/2/0,9/0/2/2P3,2/1/1/0,2/2/2/2P4,0/0/2/1,4/3/3/4银行家算法的目标是判断当前系统状态是否是安全的,即是否存在一种资源分配序列,使得所有进程能够顺利执行并完成。
银行家算法的具体步骤如下:1.遍历所有进程,检查每个进程尚未满足的资源需求是否小于等于当前系统中尚未分配的资源。
如果有任何一个进程的需求超过可用资源,说明系统状态不安全,算法终止。
2.如果所有进程的需求都满足,将当前系统的剩余资源和每个进程尚未分配的资源相加,得到一个临时的系统状态。
3.重新遍历所有进程,检查每个进程的需求是否小于等于临时系统状态中对应资源的总量。
如果有任何一个进程的需求超过临时系统资源,说明系统状态不安全,算法终止。
4.如果所有进程的需求都满足,将这些资源分配给对应进程,并更新系统状态。
5.重复步骤2至4,直到所有进程的需求都得到满足,或者无法继续分配资源。
在以上例子中,银行家算法首先检查每个进程的需求是否小于等于系统中可用的资源。
如果系统中尚有足够的资源,会将这些资源分配给对应进程,并从系统中减去已分配的资源。
在本例中,P0需要的资源(7/5/3/3)小于系统中可用的资源(10/5/7/8),因此可以将资源分配给P0,并更新系统状态为(7/4/7/8)。
银行家算法问题1、银行家算法中的数据结构(1)可利用资源向量Available : []Availabel j k = 式中:j 01j m ≤≤-一个含有m 个(类)元素的数组,每个元素代表一类可利用的资源数目。
上式表示系统中现有的第j 类资源可用数目为k 个。
(2)最大需求矩阵Max : [,]Max i j k = 式中: i 01i n ≤≤-j 01j m ≤≤-n 个进程中的每一个进程对m 类资源的最大需求量,上式表示进程i 需求第j 类资源的最大数目为k 。
(3)分配矩阵Allocation : [,]Allocation i j k = 式中: i 01i n ≤≤- j 01j m ≤≤-n 个进程中的每一个进程对m 类资源的分配量,上式表示进程i 已分配到第j 类资源的数目为k 。
(4)需求矩阵Need :[,]Need i j k = 式中: i 01i n ≤≤- j 01j m ≤≤-n 个进程中的每一个进程对m 类资源的需求量,上式表示进程i 对第j 类资源的需求量为k 个。
(5)三个矩阵间的关系[,][,][,]Need i j Max i j Allocation i j =-2、银行家算法设Re i quest 是进程i P 的请求向量,如果Re []i quest j k =,当i P 发出资源请求后,系统按下述步骤进行检查。
(1)如果Re [][,]i quest j Need i j ≤,便转向步骤(2),否则认为出错,因为它所需要的资源数已超过它所宣布的最大值。
(2)如果Re [][]i quest j Available j ≤便转向步骤(3),否则表示尚无足够资源,i P 须等待。
(3)系统试探着把资源分配给进程i P ,并修改下面的数据结构中的值:[][]Re []i Availabel j Availabel j quest j =- [,][,]R e [i A l l o c a t i o n i jA l l o c a t i o n i j q u e s t j=+ [,][,]Re []i Need i j Need i j quest j =-(4)系统执行安全性算法,检查此次资源分配后系统是否处于安全状态。
银行家算法例题
假定系统中有五个进程{P0,P1,P2,P3,P4} 和三类资源{A ,B,C},各种资源的数量分别为10、5、7,在T0 时刻的资源分配情况
(1)T0时刻的安全性
利用安全性算法对T0时刻的资源分配情况进行分析
(2)P1请求资源:P1发出请求向量Request1(1,0,2),系统按银行家算法进行检查 ①Request1(1,0,2)≤Need1(1,2,2) ②Request1(1,0,2)≤Available1(3,3,2)
③系统先假定可为P1分配资源,并修改Available ,Allocation1和Need1向量,由此形成
资源情况
进程
Max Allocation Need Available A B C A B C A B C A B C P0 7 5 3 0 1 0 7 4 3 3 3 2 P1 3 2 2 2 0 0 1 2 2 P2 9 0 2 3 0 2 6 0 0 P3 2 2 2 2 1 1 0 1 1 P4
4 3 3
0 0 2
4 3 1
资源情况 进程
Work A B C Need A B C Allocation A B C
Work+Allocatio n A B C Finish
P1 3 3 2 1 2 2 2 0 0 5 3 2 TRUE P3 5 3 2 0 1 1 2 1 1 7 4 3 TRUE P4 7 4 3 4 3 1 0 0 2 7 4 5
TRUE P2 7 4 5 6 0 0 3 0 2 10 4 7 TRUE P0
10 4 7
7 4 3
0 1 0
10 5 7
TRUE
的资源变化情况如下图所示。
④再利用安全性算法检查此时系统是否安全。
P1 申请资源时的安全性检查
(3)P4请求资源:P4发出请求向量Request4(3,3,0),系统按银行家算法进行检查: ①Request4(3,3,0)≤Need4(4,3,1); ②Request4(3,3, 0)≮Available (2,3,0),让P4等待。
资源情况
Max Allocation Need Available A B C A B C A B C A B C P0 7 5 3 0 1 0 7 4 3 2 3 0 P1 3 2 2 3 0 2 0 2 0 P2 9 0 2 3 0 2 1 2 2 P3 2 2 2 2 1 1 0 1 1 P4
4 3 3
0 0 2
4 3 1
资源情况 进程 Work A B C Need A B C Allocation A B C Work+ Allocation A B C Finish P1 2 3 0 0 2 0 3 0 2 5 3 2 TRUE P3 5 3 2 0 1 1 2 1 1 7 4 3 TRUE P4 7 4 3 4 3 1 0 0 2 7 4 5 TRUE P0 7 4 5 7 4 3 0 1 0 7 5 5 TRUE P2
10 5 5
6 0 0
3 0 2
10 5 7
TRUE
(4)P0请求资源:P0发出请求向量Requst0(0,2,0),系统按银行家算法进行检查: ①Request0(0, 2,0)≤Need0(7,4,3); ②Request0(0,2,0)≤Available (2,3,0);
③系统暂时先假定可为P0分配资源,并修改有关数据。
为P0分配资源后的有关资源数据
④进行安全性检查:可用资源Available (2,1,0)已不能满足任何进程的需要,故系统进入不安全状态,此时系统不分配资源。
资源情况 进程
Allocation Need Available A B C A B C A B C P0 0 1 0 7 2 3 2 1 0 P1 3 0 2 0 2 0 P2 3 0 2 6 0 0 P3 2 1 1 0 1 1 P4
0 0 2
4 3 1。