最新审计费用计算表整理
- 格式:pdf
- 大小:22.88 KB
- 文档页数:1
高新审计报告收费标准表高新审计报告收费标准表是指在对高新技术企业进行审计工作时,按照一定的标准对审计服务费用进行收取的表格。
下面是一个关于高新审计报告收费标准表的例子,共计500字:高新审计报告收费标准表序号审计项目审计内容收费标准(单位:元)备注1 资产负债表对高新技术企业的资产负债表进行审计2000-5000 审计规模越大,费用越高2 利润表对高新技术企业的利润表进行审计1500-4000审计规模越大,费用越高3 现金流量表对高新技术企业的现金流量表进行审计1500-4000 审计规模越大,费用越高4 股东权益变动表对高新技术企业的股东权益变动表进行审计1500-4000 审计规模越大,费用越高5 收入确认对高新技术企业的收入确认进行审计2000-5000 审计规模越大,费用越高6 成本确认对高新技术企业的成本确认进行审计2000-5000 审计规模越大,费用越高7 风险评估对高新技术企业的风险评估进行审计3000-6000 审计规模越大,费用越高8 内控审计对高新技术企业的内控情况进行审计3000-6000 审计规模越大,费用越高9 信息系统安全审计对高新技术企业的信息系统安全进行审计4000-8000 审计规模越大,费用越高10 知识产权审计对高新技术企业的知识产权进行审计4000-8000 审计规模越大,费用越高以上收费标准表仅供参考,实际收费标准可能会根据具体情况进行调整。
根据高新技术企业的规模、行业特点、审计工作的难度等因素,审计费用可能会有所变化。
此外,审计机构可能还会根据自身的定价策略和市场竞争情况对收费标准进行调整。
审计费用的收取应该是基于公平公正原则的,并且需要明确列出审计项目、审计内容以及相应的收费标准,以便高新技术企业了解审计服务的定价情况。
同时,审计机构也需要根据实际工作情况,合理合法地确定收费标准,确保审计服务的质量和可持续性。
实用标准文案
序号
1 结算金额(万元)取费基数费率‰审计费(万元)优惠率% 审计费(万元)
2 100万元以内100 1.2 0.12 30 0.084
3 101-500万元400 1 0.
4 30 0.28
4 基本费用501—1000万元500 0.9 0.4
5 30 0.315
5 1001—5000万元4000 0.8 3.2 30 2.24
6 5001万元—1亿5000 0.
7 3.5 30 2.45
7 1亿以上2000 0.6 1.2 30 0.84
8 追加费用核减(增)额380 50 19 30 13.3
汇总12000 2.3225 27.87 30 19.509
使用说明:只需在黄色单元格内输入造价和核减(增)额即自动计算出结算审计咨询费用。
注:1、建设项目投资估算的编制、审核及项目经济评价咨询收费可参照国家计委《建设项目前期工作咨询收费暂行规定》(计价格[1999]1283号)文件执行。
2、工程造价经济纠纷鉴定收费参照省物价局、省财政厅《江苏省价格鉴证收费管理办法》《苏价费(2001)167号、苏财综(2001)87号]。
3、编制施工图预算、标底及投标报价的费率不包含钢筋及预埋件计算,如需计算钢筋及预埋件则按12元/吨另行计算。
4、水电安装工程含主材价格,但不含设备价格。
5、当咨询收费金额在600元以下时,可按600元收取。
基本收费项目名称:
精彩文档。
审计费计算程序
审计费计算程序:
核减率=(送审金额-定案金额)/定案金额,
核减额=送审金额-定案金额
1、基本费:送审金额×基本费费率(通常基本费费率为1‰)
2、核减额
①、核减率在10%以内部分,按核减额的3%计算,由建设单位承担;
②、本减率在10%以上部分,按核减额的5%计算,由施工单位承担;
③、抽筋按5元/T计算,由建设单位承担;
举例:送审金额为A;定案金额为B;核减额为C
本项目合同约定基本费为零
核减额费用如下:
1、甲方费用:定案金额(B)×10%×3%
2、乙方费用:【核减额(C)-定案金额(B)×10%】×5%
3、抽钢筋计算:钢材数量×5元/t
审计费合计:1+2+3。
上海工程合同审计费一、审计费用标准根据上海市相关审计服务收费标准,工程合同审计费用通常按照以下几种方式计算:1. 固定费率法:根据合同总额的一定比例收取审计费。
2. 时间费率法:按照审计人员投入的实际工作时间计费。
3. 成本加酬金法:基于审计活动的成本加上合理的利润确定审计费。
二、审计费用结构一个完整的工程合同审计费用结构,通常包括以下几个部分:- 基础服务费:涵盖审计团队的基本工作费用。
- 专项服务费:针对特定问题或复杂事项的额外审计。
- 差旅费用:审计人员外出实地考察或调查所产生的费用。
- 其他费用:可能产生的附加费用,如特殊材料购买费、资料复印费等。
三、审计费用计算示例以下是一个简化的计算实例:假设某工程项目合同总金额为1000万元,按照固定费率法计算,审计费率定为1%。
则基本审计费用为1000万 x 1% = 10万元。
若审计过程中发现需要额外的专项审计,例如变更管理审计、质量审计等,这些专项服务可能会额外收费,比如每项专项服务增加2万元。
如果审计团队需要外出考察,差旅费用按实际发生计算,假设为1万元。
其他费用根据实际情况而定,此处暂不考虑。
该工程项目的审计费用总计为:基础服务费(10万元)+ 专项服务费(假设2项,共4万元)+ 差旅费用(1万元)= 15万元。
四、审计费用支付条款在工程合同中,审计费用的支付通常包含以下条款:- 预付款:在审计工作开始前支付一定比例的费用,如30%。
- 进度款:根据审计进度分阶段支付,如每完成一项专项服务后支付相应费用。
- 尾款:在审计报告提交并经确认无误后支付剩余费用。
五、注意事项- 审计费用应在合同中明确列出,避免后续纠纷。
- 审计机构应具备合法资质,确保审计工作的专业性和合法性。
- 审计过程中应及时与甲方沟通,确保审计工作的透明度。
六、结语。
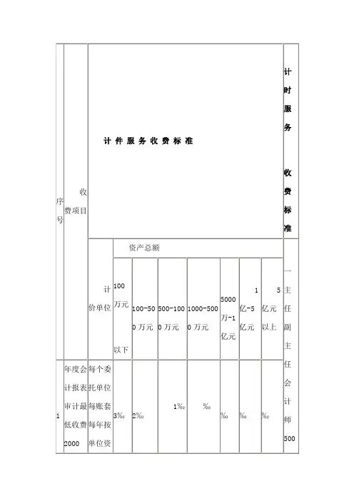
审计新收费标准第一篇:审计新收费标准附件一湖北省会计师事务所服务收费标准一、计件收费标准收费项目计费依据差额定率累进计费费率备注1、验资资本总额 30万元含以下5‰ 1500 30—100万元含3‰ 2100 起收点2000元 100—300万元含0.7‰ 1400 300—500万元含0.3‰ 600 500—1000万元含0.2‰ 1000 1000万元以上含0.1‰ 10002、年度财务报表审计资产总额 100万元以下含3‰ 3000 起收点3000元 100—500万元含0.75‰ 3000 500—1000万元含0.4‰ 2000 1000—5000万元含0.15‰ 7500 5000—1亿元含0.12‰ 6000 1亿—10亿元含0.1‰ 100000 10亿—50亿元含0.09‰ 441000 50亿—100亿元含0.05‰ 250000 100亿元以上0.04‰3、改制、清算、清产核资等专项审计按资产总额5‰收费起收点5000元4、经济责任、离任审计资产总额 3年以内 3-6年 6年以上 100万元以下含 10000元 14000元 18000元 100-500万元含0.5‰ 500-1000万元含0.4‰ 1000-5000万元含0.1‰ 5000-1亿元含0.04‰ 1亿元以上的按增加额的0.02‰累计计算5、内部控制鉴证按年度财务报表审计收费标准收取6、基本建设工程决算审核业务建设项目竣工财务决算审计或跟踪审计分别按项目投资总额的3‰收取7、涉税鉴证按鄂价房服〔2009〕361号文件规定执行8、企业绩效评价按资产总额或营业收入的1‰收取起收点为10000元9、外汇收支业务情况表审核按外汇资产的0.5‰收取起收点为2000元10、高新技术企业认定专项审计按高新技术企业收入的1‰收取起收点为5000元11预算支出财政支出绩效审计按预算支出总额的3‰收取起收点为5000元12、非盈利机构报表审计按年度报表审计收费标准的70收取13、司法会计鉴定按诉讼标的或鉴定标的两者中较小值的3‰收取14、证券、期货、金融相关业务收费标准 1上市公司年报资产总额 1亿元以下含2‰ 起收点 200000元 1-3亿元含0.65‰ 3-5亿元含0.55‰ 5-7亿元含0.5‰ 7-10亿元含0.45‰ 10亿元以上0.3‰ 2前次募集资金使用情况的专项报告按审计资产总额的1‰收取起收点为50000元3上市公司关联交易的专项说明按关联方资金占用交易金额的1‰收取起收点为50000元4内部控制鉴证业务按资产总额1‰收取起收点为50000元5预测性财务信息的审核业务按审计年营业收入总额的1‰收取起收点为50000元二、计时收费标准2、注册会计师300元/小时3、助理会计师180元/小时注以上表中所列费率为基准费率会计师事务所可在规定基准费率的基础上上下浮动20确定收费。