某型航空发动机滑油系统故障分析
- 格式:pdf
- 大小:212.42 KB
- 文档页数:2
CESSNA172R飞机非典型滑油系统温度显示规律偏低故障分析作者:杨淳来源:《科学与财富》2020年第08期摘要:CESSNA172R型飞机为美国塞斯纳公司生产的小型活塞发动机式飞机,也是飞行学院初教机的主力机型。
本文就该型飞机的滑油温度传感、指示方式以及非典型的滑油温度指示规律性偏低故障进行分析。
关键词:CESSNA172R;滑油故障;电子故障1、滑油温度指示系统1.1滑油温度指示系统组成滑油温度指示系统由:滑油温度传感器、发动机计算机(GEA71)、显示系统(GDU1040)以及三部的连接导线构成。
滑油压力表是一个组合式發动机仪表。
表盘左侧为滑油温度指示部分,右侧为滑油压力指示部分。
如下图所示:滑油温度的正常指示范围:100-245℉,即绿区。
1.2滑油温度的指示原理滑油温度传感器为半导体传感器。
当发动机升温时,半导体的电阻随滑油温度的升高而减小,使得流经的电流值增加致使滑油温度显示上升。
由半导体阻值改变的电流信号传递给发动机计算机(GEA71),计算机将采集到的信号传递给显示器(GDU1040)便于飞行与修理人员进行观测。
GEA 71是一个带微处理器的LRU组件,根据机型单独设计,负责接收/处理来自发动机和机体所有传感器(外界大气温度传感器除外)的信号,并将采集到的模拟信号集中转换为数字信号输出。
GEA 71交联的传感器包括发动机滑油温度和压力传感器、燃油流量和压力传感器、汽缸头温度(CHT)传感器、排气温度(EGT)传感器、真空系统压力传感器、转速表传感器、油量表传感器以及其它各种来自发动机/机体的模拟、离散信号发动机计算机的#22与#23插钉分别连接滑油温度传感器的正线与地线。
其中,传感器负线通过发动机的左侧磁电机的地线接地。
若左磁接地不良也会影响滑油温度指示,此为CESSNA172R飞机经常出现的典型故障。
2、非典型故障案例2.1故障现象某CESSNA172R型飞机出现在飞行人员试车暖机后滑油温度下降至绿色区域以下的情况。
A320飞机典型滑油系统故障与排故浅析作者:王丹来源:《中国科技博览》2014年第34期[摘要]滑油系统是航空发动机正常工作的一个重要系统,其主要功能是保障发动机摩擦件的润滑、散热。
针对A320飞机发动机CFM56-5B发动机滑油系统中发生的一起滑油压力低的典型故障原因进行了分析和排故,相应提出了在使用和维护中应注意的问题,为航空机务维护实践工作提供有益的借鉴。
[关键词]滑油系统;故障;机务维护中图分类号:V2 文献标识码:B 文章编号:1009-914X(2014)34-0217-02一、滑油系统的组成滑油系统由以下主要部件组成:独立的增压泵和回油泵,滑油燃油热交换器,空气滑油热交换器,油箱及相关的活门和油滤。
二、滑油系统的功用润滑:减小摩擦力,减小抹擦损失。
相互运动的零部件表面被一层一定厚度的油膜所覆盖,金属与金属不直接接触,而是油膜与油膜相接触,这就在相互运动中减小了摩擦和磨损。
冷却:降低温度,带走热量。
滑油从轴承和其它温度高的部件吸收了热量,在散热器处又将热量传递给冷却介质,从而达到冷却目的。
清洁:带走磨损的微小颗粒。
滑油在流过轴承或其它部件时将磨损下来的金属微粒带走,在滑油滤中将这些金属微粒从滑油中分离出来,达到清洁的目的。
防腐:在金属部件表面有一层一定厚度的油膜所覆盖,将金属与空气隔离开,使金属不直接与空气接触,从而防止氧化和腐蚀。
此外,滑油热量还可以作为防冰系统的热源,在采用滑油-燃油热交换器时,滑油的热量还能对燃油加温,改善滑油系统的高空性能。
三、滑油系统工作原理滑油从滑油箱流出经过活门流入燃气涡轮起动机的滑油系统。
滑油润滑和冷却涡轮发动机摩擦零件,由涡轮发动机回油泵,把滑油经过细油滤回入飞机附件机匣。
从发动机高压转子被带转的一瞬间开始,滑油从滑油箱流入滑油附件增压泵进口。
滑油附件增压泵把滑油输送到细油滤,随后又流入主燃烧室换热器,经过转换活门进入加力状态接通的换热器。
在换热器中用燃油冷却的滑油对发动机转子的轴承润滑和冷却。
基于故障树的发动机滑油泄露故障分析作者:曾闻鼎王海勇来源:《中国科技纵横》2019年第13期摘要:针对某型航空涡轮轴发动机科研阶段台架试车过程中出现的尾喷管漏油的故障,应用故障树法结合滑油系统原理对漏油原因进行了分析,建立了发动机尾喷管漏油的故障树。
采用定性分析结合发动机分解检查结果得到了故障的最小割集,确定了故障原因。
通过试验验证,排除了故障,结果表明故障树法是简单有效的。
关键词:发动机;故障树分析;滑油泄漏中图分类号:U472 文献标识码:A 文章编号:1671-2064(2019)13-0049-020 引言某涡轴发动机地面台架试验过程中,发动机进行冷吹后,出现尾喷管滑油大量泄漏(呈线状流出)的故障,严重影响了发动机地面台架试验。
故障树分析法简称FTA,或称失效树分析法,是以故障树为工具分析故障发生的各种途径,对系统安全性或可靠性进行评价的图形演绎方法[1]。
FTA被认为是一种对复杂系统进行安全性和可靠性分析的一种好方法[2]。
本文以某型涡轴发动机地面台架试验过程尾喷管滑油泄漏为例,应用故障树分析法进行分析排故。
1 故障树分析1.1 发动机漏油故障简介某型涡轴发动机地面台架试验时,冷吹后检查发现尾喷管有大量滑油呈线状流出;更换滑油泵后进行冷吹,尾喷管漏油故障仍然存在。
随后发动机下台分解进行漏油排故工作。
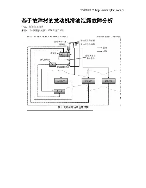
1.2 发动机滑油系统原理发动机滑油系统主要由滑油箱、滑油泵、滑油滤、各滑油腔(附件传动、A滑油腔、B滑油腔、C滑油腔)、回油泵、回油滤、喷嘴及外部管路组成,见图1。
滑油箱中的滑油通过滑油泵进入供油管路,随后增压后的滑油经过滑油滤过滤后,分别供给附件传动机匣腔、A轴承腔、B轴承腔及C轴承腔的喷嘴,对各个轴承和齿轮进行润滑和冷却,并带走轴承腔中的磨粒,使它们不再进入下一个循环。
之后滑油经过回油滤过滤后,通过回油泵进入附件机匣总回油管路,经过磁性屑末检测信号器的检测和燃滑油散热器、空气散热器散热后,回到滑油箱。
航空活塞发动机滑油系统故障及维护事项作者:刘章来源:《科学与财富》2019年第24期摘要:在航空活塞发动机飞机的运行过程当中,滑油系统一旦发生故障,就会对航空活塞发动机产生严重的影响,并且对飞机的飞行造成巨大的威胁,滑油系统的运行状况会直接影响到发动机的工作状况,以及发动机的使用寿命等等,如果不对滑油系统当中存在的安全隐患以及故障进行及时的排查和处理,那么对航空活塞发动机的影响是非常巨大的。
本文主要是探讨了在172机型和PA44-180两种机型当中常见的滑油系统产生的故障,并提出了如何解决滑油系统常出现的一些故障,从而为飞机的维修工作提出一些指导性的意见。
关键词:航空活塞发动机;滑油系统;故障分析;解决意见随着我国科技的不断进步,航空行业也取得了快速的发展,许多活塞式的发动机在飞机当中都得到了广泛的应用,而滑油系统是航空活塞发动机中的一项重要组成部分,一旦滑油系统发生故障,将会严重影响到航空活塞发动机的工作状态,所以本文通过对滑油系统容易产生的故障进行了分析,从而提出了如何做好航空活塞发动机内滑油系统的故障检测以及维护工作。
一、滑油系统的构成以及工作原理滑油系统主要由收油池,油泵,油滤,活门和散热器这几项组成。
发动机在进行工作的过程当中,将储存在收油池内的滑油通过加压,从而过滤到主油道内,从而滑油便可以通过主油道来对发动机内的轴承以及凸轮轴等进行润滑,滑油还可以进一步的进入到连杆大端轴承内来实现对气缸壁,活塞等各部位进行润滑。
在润滑完成之后,滑油可以通过重力的影响来进一步回到抽油池内,从而进行下一个循环工作。
滑油系统就是通过滑油不断的运转来实现在发动机工作的过程当中,对各种零件以及设备进行润滑,从而减少在工作时产生的大量摩擦现象。
另外,滑油在工作过程当中也可以带走发动机工作时产生的大量热量,在一定的时间内流过的滑油越多并可以带走更多的热量,避免在发动机工作的过程当中产生大量热,从而影响到发动机的工作状态和工作效率。
图1发动机滑油润滑线路图推杆挺杆体柱塞气门摇臂气门摇臂重力回油重力回油柱塞推杆套中滑油凸轮轴1#主轴承曲柄重力回油挺杆体润滑活塞后重力回油2#,3#主轴承附件驱动齿轮滑油通道滑油压力调节活门恒温旁通活门主滑油滤推杆滑油泵重力回油收油池散热器发动机2排故流程根据该型发动机滑油系统结构,目视检查滑油系统收油池、滑油滤、供油管路、回油管路、均未发现异常,故维修人员考虑可能是发动机汽缸本体可能存在滑油渗漏情况,密封圈,未发现异常。
图2滑油系统的活门组件主滑油滤安装座滑油压力调节活门安全活门恒温旁通活门机匣④用耐高温胶带对滑油压力开关、滑油压力传感器导管、3缸进排气门推杆套进行包扎;用软铝板固定在缸上部,对疑似渗油区域进行隔离。
试车后检查,胶带外表均有少量油迹,撕下胶带,胶带内部干燥,排除上述包扎处是渗漏点的可能。
铝板两面均无油迹,未获得预期效果。
同时发现3缸排气门推杆套靠机匣端密封圈处有少量滑油泡沫。
⑤更换3缸排气门推杆套靠机匣端密封圈后试车,依然有大量油迹。
⑥将1缸和3缸拔下彻底清洁,对1缸和3缸的推杆套进行气密测试,对1缸和3缸的缸体进行油液渗漏测试,检查机匣本体、气缸安装边、各接缝处等相关部位,均未发现异常。
⑦恢复1、3缸后,进行地面长时间试车,慢车时让维修人员在安全位置进行观察,发现出现油迹后立即停车。
———————————————————————基金项目:中国民用航空飞行学院科研基金面上项目(J2019-073、J2020-99)。
作者简介:杨淳,女,助理工程师,主要从事通用航空器维修与管理工作。
)。
图3发动机1号汽缸裂纹分析近近期正常飞行的发动机参数:滑油温度平无明显波动,随发动机工作状态正常变化;滑油压力平图4滑油压力、温度情况图5排气温度情况内燃机与配件0引言船舶柴油机的修理并不是简单的换换零件,拆卸组装就完成的,它不仅仅是一个非常复杂的机器,而且关系到船舶在航行中的安全,与陆地岸上柴油机相比,许多零部件的刚性、强度、结构安全、避震等都需要更为高标准的设计和匹配,因此在修理过程中我们还需要注意很多技术上的问题,比如整机的紧固件的故障,由于船舶机械的运行环境比较复杂,振动频率导致的临界性趋势破坏时有发生等,如果不彻底排除老故障,新的故障也会一个接一个的出现,这样船舶柴油机的使用寿命就会大大缩短,因此,平时看似简单的常见的维护过程是特别至关重要的。
收稿日期6作者简介彭正华(6),男,江苏大丰人,高级工程师,主要研究方向航空发动机。
文章编号:1673-1220(2010)03-058-04某型发动机滑油冷却风扇故障分析彭正华1,詹洪飞2(1.海军装备部驻上海地区军代表局,上海200083;2.海军驻常州地区航空军事代表室,江苏常州213022)摘要某型发动机在飞行过程中,滑油冷却风扇部件发生了多起风扇损坏故障,直接威胁飞行安全,严重影响了装备的安全使用。
对该故障的过程进行了分析,通过理论计算,发现前轴承预紧力偏小是导致故障发生的直接原因。
关键词轴承;载荷;分析中图分类号:V233.5文献标识码:AThe Fau lt of a Cooling Fan of Ungue n t i n Engi ne Ana lyzi ng AgainPENG Zheng hua 1,Z HAN H o ngf e i2(1.Shangha iM ili tary R epresenta tive Bureau i n Navy Equ i p m ent Depart m ent ,Shangha i 200083,Ch i na ;2.Changzho u Area Gro upM ilitary of Aviati on i n Navy ,Changzhou 213022,Chi na)A bstra ct The engine of o ne helico pterwasmade f ault in flyi ng ,th is article l oo ked back the process of the f ault ana l yzi ng ,passi ng acco unt of theor y ,fi nd i ng the spring f orce on fro nt beari ng was s ma lleris the effic ient a mse of the f au l.t K ey words beari ng ;l oad analyz e1概述某型发动机是根据国外引进的机型进行国内测绘仿制的,完全实现了国产化,是某型运输型系列直升机的动力装置。
某小型涡喷发动机滑油渗漏问题研究某小型涡喷发动机加注滑油后,出现滑油渗漏现象,影响发动机轴承的正常工作,可能会导致发动机工作异常。
本文通过对滑油加注部件的装配关系、装配工艺及密封原理进行分析研究,对如何防止滑油渗漏提出了改进措施,并进行了试验验证。
标签:涡喷发动机;滑油加注;密封原理1 概述某小型航空发动机(以下简称WP发动机)是一种单轴涡轮喷气式发动机,其润滑系统包括供油装置、滑油箱、喷嘴、油气分离器及供油、回油管路等。
发动机工作时,滑油系统连续不断地将足够数量的清洁滑油输送到发动机各转动机件的轴承和传动齿轮的啮合处进行润滑,以减少机械结合面得摩擦和磨损,防止它们腐蚀和表面硬化,同时传走摩擦所产生的热量和高温零件传给滑油的热量,并带走结合面之间形成的硬夹杂物。
滑油不断渗漏致使滑油量不足,发动机轴承等部件在无充分润滑的条件下磨损,导致发动机工作异常。
文章通过对某型发动机滑油加注部件的装配关系、装配工艺及密封原理进行分析研究,对如何防止滑油渗漏提出了改进措施,并进行了试验验证。
2 滑油加注部件简介2.1 组成及装配工艺滑油加注口由磁堵、常闭活门、O型密封圈、垫片、常闭活门支座组成。
各部件具体装配方式见图1。
图1 滑油加注口装配图滑油加注口零部件装配流程为:(1)将垫片放在常闭活门支座中心位置,将常闭活门通过外螺纹拧入常闭活门支座;(2)将滑油加注管与发动机滑油箱底部出口连接;(3)将两个O型圈装入磁堵;(4)将磁堵推入常闭活门,顺时针旋转到位。
2.2 滑油加注工艺WP发动机滑油加注有以下步骤:(1)适当用力推压磁堵,逆时针旋转后卸下磁堵;(2)将滑油加注装置的注油塞插入滑油常闭活门,顺时针旋转到位、锁紧;(3)推动滑油加注装置活塞,将滑油全部注入发动机滑油箱中;(4)逆时针旋转注油塞,拔出滑油加注装置的注油塞完成滑油加注;(5)将磁堵插入常闭活门,顺时针旋转到位、锁紧。
2.3 密封原理从滑油加注口的装配方法以及滑油加注方式可知,常闭活门与常闭活门支座之间安装垫片后,二者通过内外螺纹连接到位,磁堵未安装时,常闭活门保持闭合状态,由垫片保证常闭活门与常闭活门支座之间的密封性;磁堵安装时,顶住常闭活门内弹簧向里推动,此时油路打开,顺时针旋转磁堵至凹槽,磁堵安装到位,此时常闭活门打开,由O型密封圈和垫片密封,防止滑油泄露。
航空维修AVIATlONMAINTENANCE详细介绍了一起极为少见的由于cFM56—3C发动机滑油箱内部滤网堵塞引起的低滑油压力故障,对扩展排故思路和了解类似故障提供了很好的技术依据。
CFM56—3C发动机滑油压力低故障分析LOwOilPreSSureMalfunCtiOnAnaIySiSOfCFM56—3CEngine◎郭杰/南方航河南分公司cFM56耄裂嘉蓑耋裳雾737飞机以及空客320和340飞机的动力装置。
cFM56—3c发动机推力主要用于波音737—300,400/500型飞机上。
cFM56—3c发动机的滑油系统是一个自容、中央通气、再循环式的系统,用以向发动机主轴承、驱动轴和齿轮轴承提供润滑和冷却。
从cFMI公司的全球统计数据显示,这是一个可靠性高、工作稳定的系统;根据南方航空公司河南分公司飞机发动机方面的可靠性数据,该系统中部件的非计划拆换率也极低。
但是,如果该系统一旦发生故障,将导致非常严重的后果,甚至导致发动机空中停车。
2006年3月出现过一起比较有代表性的滑油系统故障。
故障现象机组报告某飞机在起飞状态下左发滑油压力比右发低约lopsi,下降阶段左发滑油压力指示进入黄区。
地面维护人员接到报告后非常重视,从发动机监控数据上摘录了当日几个航段有代表性的一组数据见右表。
46正常情况下,波音737飞机两台发动机的滑油压力差值不大,一般在o~5psi之间,从驾驶舱内发动机次显示组件的滑油压力指示表的指针上几乎无法看出区别。
而从上述数据分析,虽然单台发动机的滑油压力均在手册规定的范围内,但双发的压力差值却超出了经验值,而且比对左发历史数据,也发现左发滑油压力有降低趋势。
因此,这是一起滑油压力指示低或真实的压力低故障。
故障分析和实施排故的思路以滑油压力传感器为中心,分析故障原因如下:一是传感器本身缺陷引起的指示故障,二是传感器感受到了真实的滑油压力低信号。
在围绕传感器做了清洁传感器插头、插座,清洁驾驶舱内发动机次显示组件的插头、插座,更换滑油压力传感器,和其他飞机对换次显示组件等工作之后,仍未能排除故障。
- 31 -高 新 技 术性,把轴承安装位设置为固定约束,由于巴哈赛车运行工况恶劣,有可能在某一时刻会发生3种极限同时出现的情况,因此将3种工况下的受力合并后统一乘以1.5倍的安全系数施加在轮毂上,以保证在各种工况下轮毂都能满足其使用要求。
最后将显示选项设置为非平均值,优化目标为减重50 %,运行ANSYS 软件得到轮毂拓扑优化结果。
从3种极限工况下50 %拓扑减重图中可以看出,原设计下的轮毂在3种极限工况下的拓扑优化结果各不相同,在综合考虑3种极限工况下的应力图以及3种极限工况下的50 %拓扑减重图后发现,其需要减重的主要部位在于安装轮辋以及制动盘安装的法兰支撑臂中,因此,在安装轮辋的法兰支撑臂以及安装制动盘的法兰支撑臂处,采用数铣加工工艺进行轻量化处理以降低质量。
3.2 轮毂结构设计校核为使最终优化完成的轮毂能满足其刚度、强度要求,再次将最终设计的轮毂导入ANSYS Workbench 中进行静力学仿真,并利用3种工况下的载荷进行强度校核。
轮毂受力在乘以安全系数后仿真出的最大应力均低于材料屈服强度320 MPa,应变也没有变大。
优化结果见表1。
表1 优化结果对比表优化前优化后变化率紧急制动工况下的最大应力/MPa25.67743.12259.54 %越过不平路面工况下的最大应力/MPa5.209817.12930.41 %急转向工况下的最大应力/MPa22.61438.64558.51 %轮毂质量/kg0.490.32766.73 %4 结语该文分析得出轮毂法兰的最大应力制动盘安装位处,且均小于材料的许用应力,因此认为该轮毂满足静力强度的要求,其安装轮辋以及制动盘安装的法兰支撑臂中存在较大的冗余量。
而后结合拓扑优化模块对轮毂进行了轻量化设计。
最后对设计的轮毂进行了结构静力学分析的效验,结果显示该轮毂满足其设计的强度、轻量化及其使用要求。
参考文献[1]吴国瑞,陈晓鹏,张世琪.铝合金轮毂的优势与热处理[J].内燃机与配件,2018(23):105-106.[2]王新建,张蕊,耿杰,等.巴哈赛车转向节结构优化设计[J].天津职业技术师范大学学报,2018,28(3):42-46.[3]吴国瑞,陈晓鹏,张世琪.汽车铝合金轮毂铸造技术工艺应用研究[J].内燃机与配件,2018(24):81-82.1 滑油系统基本组成1.1 滑油箱滑油箱分为干槽式和湿槽式2种。
航空飞行器发动机润滑油系统故障解决措施摘要:飞行器发动机润滑油系统对飞行器飞行的安全性和稳定性有很大影响。
为了立即解决和处理飞行器飞行过程中航空发动机润滑油压力问题,探讨飞行器发动机润滑油压力问题的解决过程,总结解决问题的经验。
为解决飞行器发动机润滑油压力问题和开展发动机润滑油系统设计工作提供了有效的参考。
关键词:航空飞行器;发动机;滑油压力故障;检测引言航空飞行器发动滑油油系统能够对发动机内部此齿轮和轴承等任何一个摩擦面进行润油和冷却,也为螺旋桨顺浆提供工作液,维持螺旋桨的运行。
总的来说,滑油系统对航空飞行器发动机运行的稳定性和安全性具有较大影响,保障滑油压力系统良好运行,能够为航空飞行器稳定与安全运行提供保障。
一、航空飞行器发动机滑油压力故障排除过程该类型飞机是已经定型和开始批量进行生产的飞机,并在我国国内多个航空公司运营很多年,很少出现此类故障。
所以,技术人才在排查航空飞行器故障期间,优先排除了飞机设计环节存在问题的可能性。
飞机发动机所应用的是JPX公司生产的产品,产品质量很稳定,不会出现过大问题。
因此,认为可能是在信号器与管理上出现了问题,从该思路出发开始进行排故。
第一次排故,相关工作人员在故障排除期间优先分解航空飞行器发动机滑油压力传感器的连接管路和信号器设备;之后检查并清洗主润滑滤与金属屑探测器,检查后发现低压信号滑油管路之中有一定量的滑油脂,其中一些滑油脂形状与大小和芝麻粒相近似。
因此,认为故障的发生是受到了润滑脂影响,引起滑油管路的局部堵塞问题,导致航空发动机滑油压力传感器指示系统出现故障。
为了解决这些问题应清洗与更换左发油压力传感器。
之后进行试车,试车期间一切都保持良好状态。
将试车时间延长四十分钟过后,期间调整飞机姿态,观察双发润滑油压力指示灯,发现滑油低压警告灯处于开启的状态,飞机平稳运行和降落。
第二次排故。
相关故障人员优先对对滑油的油量与滑油的压力表和线路插头连接展开全面检查,之后对滑油压力传感器与电气连接以及滑油低压信号、主滑油与回油率和金属屑探测器等展开检查,均保持在正常状态。
莱康明IO-360-L2A发动机常见故障及原因分析发布时间:2022-01-20T07:41:10.362Z 来源:《中国科技人才》2021年第30期作者:董航[导读] 本文通过系统分析我院十几年来莱康明IO-360-L2A发动机常见故障并指出具体故障原因,可以帮助维修人员根据故障现象快速准确定位故障原因,从而提高排故效率。
董航中国民用航空飞行学院(绵阳分院)四川绵阳 621000摘要:本文通过系统分析我院十几年来莱康明IO-360-L2A发动机常见故障并指出具体故障原因,可以帮助维修人员根据故障现象快速准确定位故障原因,从而提高排故效率。
关键词:莱康明IO-360-L2A常见故障;原因一、发动机简介Cessna172型飞机发动机包括主要机件和附件系统两大部分。
主要机件包括汽缸活塞组件,连杆,曲轴,机匣,气门机构,附件传动机构和进、排气装置。
附件系统包括滑油系统、燃油系统、点火系统、起动系统和发电系统。
二、发动机抖动引起发动机抖动的根本原因是各个气缸的工作环境不一样,从而导致功率不均衡。
1. 慢车混合比设置过富油或过贫油,通过试车可以排查。
2. 点火系统故障,可能的原因:1)火花塞挂油、积铅、积碳;2)磁电机定时不正确 3)磁电机白金触点结污或磁电机白金触点间隙不合适)。
通过对火花塞状况的检查/磁电机安装角检查/磁电机内部构件状况检查可以排查。
3. 进气系统漏气(进气管漏气、进气滤破损严重或进气滤安装不正确),通过对气缸进气管周围检查看是否渗漏/进气滤是否破损严重/进气滤安装是否正常进行排查。
4. 燃油喷嘴堵塞(拆下喷嘴,看是否有堵塞,如果不能确定,干脆对喷嘴进行超声波清洁)5. 燃调内部渗漏(若其它可能性均已排除,则更换燃调)6. 燃油分配器内活门卡阻(可能性很小,但偶尔也有,通过串件排查)7. 排气门或排气门座烧蚀、变形,气门杆刮伤(热发状态下进行气缸压缩力检测看是否正常,若不正常,打开相应缸摇臂室盖,对气缸进排气门、气门座及进排气门导套进行检查检测,若有异常进行相应换件) 8. 发动机安装松动(对安装螺栓进行检查,看是否有松动)。
航空发动机滑油系统常见故障分析作者:张椋来源:《中国新技术新产品》2019年第03期摘要:该文运用可靠性维修理论对飞机滑油系统故障进行分析和研究,并详细叙述了处理故障的方法。
飞机滑油系统故障分析的内容是运用AMM(飞机维护手册)手册对飞机滑油系统的工作原理、结构、内部系统以及飞机滑油系统故障原因进行分析研究。
关键词:航空发动机;滑油系统;故障分析中图分类号:TP18文献标志码:A1滑油系统基本组成1.1滑油箱滑油箱分为干槽式和湿槽式2种。
干槽式滑油箱的特点是拥有独立的外部油箱。
如果滑油存在于发动机内集油槽或集油池中,则称为湿槽式滑油箱。
现在的涡扇发动机绝大部分是干槽式。
加油可以是重力加油或压力加油。
加油口应标注“Oil”和油箱容量。
通过目视检查口盖可以清楚地看到滑油箱中的实际滑油存储量,为重力或压力加油提供依据。
油箱应留有容量为10%或0.5gal的膨胀空间。
油箱中的传感器用来测量油箱滑油量,并在驾驶舱仪表上显示出来。
1.2滑油冷却器燃油/滑油热交换器的功能是使滑油在任何操作情况下都能保持足够的温度。
不过燃油温必须保持在1.7°C~143°c以防燃油结冰和燃油气化。
滑油绕着燃油流过的管路流动。
滑油需要循环使用,因此必须将滑油的热量散掉。
温度控制活门决定了滑油是否通过散热器。
滑油温度低时,不需要散热,温度控制活门打开,滑油旁通,不进行热交换;滑油温度高时,温度控制活门关闭,迫使滑油同燃油或者空气进行热交换。
1.3滑油滤在供油路和回油路上都装有滑油滤以保证滑油清洁。
油滤有旁通活门,一旦油滤堵塞,旁通活门打开。
用油滤压差电门监视油滤是否堵塞。
当油滤前、后压差过大时,给驾驶舱信号,显示油滤堵塞。
1.4其他各类部附件磁屑探测器又称磁性堵塞,安装在回油路上探测金属粒子,判断发动机内部机件工作状态。
其内部的永久磁铁和滤网吸附含铁及不含铁的粒子、碎块。
磁屑探测器应定期拆下检查,在高倍放大镜下观察分析。
滑油系统故障分析院系专业班级学号姓名指导教师负责教师滑油系统是保证发动机正常工作的一个重要系统,其主要功能是保障发动机摩擦件的润滑、散热。
发动机内部有摩擦件的地方就有润滑油,这些部件中有许多是发动机重点部件,又处在发动机的内部,故障征兆一般很难发现。
航空发动机滑油系统中滑油具有循环使用的特点,滑油中携带着发动机运动机件状态的大量信息,如机件磨损的数量、形状、粒度成分等,这些信息为我们提供了发动机有关机件的磨损程度、疲劳剥落情况以及磨损件位置等情况,在一定程度上反映了发动机可能存在的故障隐患。
这些信息为监控与技术诊断提供了良好的条件,从而为预测发动机部件使用寿命和可靠性提供了有力依据。
正因如此,一些先进国家,如美国、前苏联、法国等,已在六十年代末开始着手滑油系统监控与技术诊断,并取得了良好的经济与军事效益。
滑油系统监控不但能缩短维修时间节约维修费用,促进维修方式由定期维修向视情维修发展,而且可将监控与诊断的信息反馈到设计、生产单位,对于提高发动机质量和工作可靠性,延长使用寿命,降低成本,都有重大意义。
本论文根据工程管理实际的需求,对发动机滑油系统污染的产生、面向维护任务管理的优化、磁性探测与光谱分析相结合的技术、机务维修中人为因素的影响进行了有益的探索和研究。
对于飞机维修单位来说,减少维护人员的工作负荷,是多年来的研究方向,还使用了回油滤加装磁棒技术,探测滑油系统部件的内部状况,减少成本消耗,并通过改进,进一步提高磁棒的可靠性。
本论文中使用了国际上先进的6Sigma统计分析软件MINITAB,针对航空公司关注的飞机安全、成本效益之间的平衡关系,对飞机滑油系统的各维护任务间隔、故障发现率和成本之间的关系进行了分析,通过计算结果,优化CMP(客户化维护方案)方案,在合理的成本消耗前提下,保证飞机处于最佳的技术状态下;本论文从工程维修管理提出的优化方案,得到了GE公司6Sigma项目组的认可,并被东航工程部采纳,加入新版的CMP(客户化维修方案)中,对于避免空中停车、减少直接维修成本(航材、工具、设备)、减少间接维修成本(维修工时)、延长发动机、部附件使用寿命起到了一定的作用。
某型航空发动机滑油系统故障分析
发表时间:2018-10-30T11:19:25.287Z 来源:《防护工程》2018年第17期作者:罗崴[导读] 某型航空发动机滑油系统主要功能是对发动机进行润滑和散热,保证发动机的正常工作。
中国航发哈尔滨东安发动机有限公司黑龙江哈尔滨 150066 摘要:某型航空发动机滑油系统主要功能是对发动机进行润滑和散热,保证发动机的正常工作。
某型号发动机使用过程中,滑油系统的故障,是比较常见的。
本文介绍了某型号发动机滑油系统的组成、结构及工作原理,分析常见故障,并从原理上进行分析。
关键词:航空发动机滑油系统故障处理方法 1 引言
航空发动机空中飞行时滑油消耗量大故障近年来在外场屡有发生,对飞行安全的影响较为严重。
这类故障表现的特点往往有:(1)地面试车时,发动机滑油消耗量正常,滑油无外漏现象;(2)飞行时滑油消耗量大,尤其是连续飞行时;(3)飞行后,发动机下部蒙皮有较多滑油痕迹。
本文简要的介绍了该型发动机滑油系统,总结了滑油系统常见故障发生机理,分析了其原因,并给出了排故方案。
2 发动机滑油系统
该型发动机滑油系统为封闭式反向循环系统,主要作用是向发动机主轴轴承、接触式密封装置、中央传动齿轮、附件传动机匣的齿轮、轴承提供用于润滑及冷却的滑油,从而保证其正常工作。
2.1 航空发动机附件封严装置和漏油放油系统结构特点
对航空发动机附件机匣而言,其附件转接座有两种结构(见图1),一种带一道封严装置,如主泵转接座,加力泵转接座;一种不带封严装置,如左右液压泵转接座,离心增压泵转接座。
对飞机和发动机附件而言,其传动腔安装座也有两种结构,一种带一道封严装置,如主泵和加力泵安装座。
当附件安装到附件机匣上后,不论对哪种结构的附件和附件机匣转接座,附件机匣内腔和附件内腔之间就都存在两道封严装置,一是用来封严燃油外漏,二是用来封严滑油外漏。
这两道封严装置之间形成一个空腔,再通过漏油管连接到漏放油系统的前漏油收集器。
发动机漏油放油系统的一个作用就是排出发动机附件的密封装置渗漏的燃油、滑油和液压油。
当发动机工作时,从附件机匣一侧封严装置泄漏出来的滑油和从附件一侧封严装置泄漏出来的燃油(或液压油)进入两道封严装置之间的空腔内,再通过漏油管进入前漏油收集器,最后由P2空气引射至机外。
如果这些封严装置中的某一道存在缺陷,当发动机工作时,就可能会造成滑油消耗量大故障。
2.2 滑油系统工作原理
发动机滑油系统由四大子系统组成,分别是供油系统、回油系统、通气系统、密封装置增压系统。
(1)供油系统。
本系统的作用是将滑油增压并提供给发动机,对轴承、齿轮等进行冷却和润滑。
供油系统的组成附件为:滑油箱、增压泵、主燃滑油散热器、供油滤、转换活门、加力燃滑油散热器、单向活门及各喷嘴。
当发动机未接通加力时,滑油供油流路是:滑油箱→增压泵→主燃滑油散热器→供油滤→转换活门→单向活门→各喷嘴→润滑部位。
当发动机接通加力时,滑油供油流路是:滑油箱→增压泵→主燃滑油散热器→供油滤→转换活门→加力燃滑油散热器→单向活门→各喷嘴→润滑部位。
(2)回油系统。
本系统的作用是将润滑发动机各部件后的滑油抽回到油箱中,并分离油中的空气,以便循环使用。
回油系统的组成为:3个主轴承腔、飞机附件机匣、发动机附件机匣、四级回油泵、飞机附件机匣回油泵、金属屑末信号器、动压式油气分离器、滑油箱。
滑油回油流路是:3个主轴承腔、发动机附件机匣、飞机附件机匣→四级回油泵、飞机附件机匣回油泵→金属屑末信号器→动压式油气分离器→滑油箱。
(3)通气系统。
本系统的作用是将发动机各密封漏入滑油系统的空气在与滑油分离之后排出发动机。
通气系统的组成为:各轴承腔、离心通风器、前通风器、后通风器、滑油箱、油气分离器(在滑油箱中)、通风管组件(在滑油箱中)、高空活门。
滑油系统的通气系统有两种方式:一种是前轴承腔、发动机附件机匣、飞机附件机匣及滑油箱的空气管路相连通,从一支点密封装置漏入前轴承腔的空气及中、后轴承腔回油泵抽回的空气经发动机附件机匣内的离心通风器和高空活门排入大气;另一种通气方式是采用轴心通风,即经密封装置漏入中、后轴承腔的空气由低压涡轮轴内的前后轴心通风器从低压涡轮轴轴心排入发动机尾锥后的加力燃烧室。
(4)密封装置增压系统。
本系统的作用是对发动机各轴承腔进行密封及各密封装置外增压。
密封增压系统的组成为:No.1圆周石墨密封、No.2双联圆周石墨密封、No.3圆周石墨密封、No.4篦齿密封、No.5圆周石墨密封及后盖。
前轴承腔No.1轴承后采用一道石墨密封,中轴承腔No.2轴承前采用双联石墨密封,No.3轴承后采用一道石墨密封。
后轴承腔No.4轴承前为篦齿密封,No.5轴承前为石墨密封,后通风器与后盖间采用篦齿密封。
前轴承腔密封外增压采用风扇后的空气,中轴承腔密封外增压采用高压三级后空气。
后轴承腔密封外增压采用高压二级后空气。
3 常见故障浅析
该型发动机使用过程中滑油系统主要有三类故障,分别为滑油压力不合格、滑油温度不合格和滑油消耗量大,以下主要针对三种情况从原理上进行简单的分析,供对从事发动机使用维护的同仁有所借鉴。
3.1 滑油压力不合格
该型发动机使用过程中,滑油压力常出现压力不合格。
从滑油系统原理可以知道,滑油压力不正常,问题出现在供油系统上。
再看看供油系统,有两个可能造成滑油压力低。
第一种是滑油箱滑油少供应不足,但是开车前必须保证滑油箱油位不低于允许最低值,除非漏油,否则不可能造成滑油箱油量少。
3.2 滑油温度不合格
从发动机滑油系统原理知道,滑油系统温度主要有前腔、中腔、后腔和散热器能够影响滑油温度。
当出现某腔滑油温度高,可能是轴承齿轮啮合的阻力大,摩擦产生的热量多而造成温度升高,可以通过增加滑油压力来增加某腔的供油和加大某腔的回油能力来达到加速循环降低温度。
如果某腔温度还高,可能是燃滑油散热器芯体损坏或脏污造成阻力过大,导致一部分燃油或滑油从旁路活门流过,造成滑油得不到充分冷却。
3.3 滑油消耗量大
发动机使用过程中,常出现滑油消耗量大,出现消耗量大的原因有很多,以下分别说明。
(1)假开车或冷运转看不到油位。
假开车或冷运转后,往往会出现看不到油位并且外观没有滑油漏出现象。
从滑油系统四个子系统分析,滑油箱油位看不见,供油系统附件外观没有油迹,说明滑油经过供油系统,因此可能为供油系统正常。
假开车或冷运转,滑油压力和温度不高,挥发量很少,因此通过通气系统的油气较少,工作正常。
(2)正常开车滑油消耗量大。
当发动机工作过程出现消耗量大时,首先检查发动机外观是和管路否漏油。
开车过程中滑油系统滑油供油压力,滑油供油温度,中腔温度,后腔温度和总回油温度和振动是否正常,确定发动机各轴承工作正常。
检查滑油箱、发动机附件机匣、飞机附件机匣、中腔和后腔放油磁塞处漏油情况时,确定上述各处漏油系统正常。
检查发动机进气机匣和低压涡轮处是否有油迹,确定可见各腔封严情况。
4 结语
本文的主要工作内容是阐述了发动机滑油系统的组成和工作原理,并对常见故障进行了分析和总结。
在收集发动机滑油系统典型故障及排除方法的基础上,从发动机滑油系统工作原理并实践相结合进行分析,总结了排故方法,对厂内外发动机排故有一定的帮助。
参考文献:
[1]《某型机发动机技术说明书》.沈阳发动机设计研究所,2006.
[2] 赵洪利.发动机的使用和维护管理[J].民航经济与技术,2010(02)。