住房公积金贷款审批流程图
- 格式:doc
- 大小:17.50 KB
- 文档页数:2
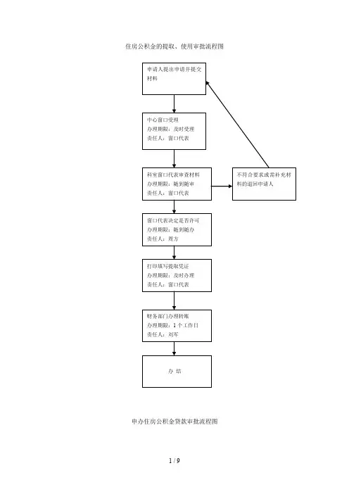
住房公积金的提取、使用审批流程图
申办住房公积金贷款审批流程图
降低住房公积金缴存比例或缓缴审核流程图
单位不办理住房公积金缴存登记或者不为本单位职工办理住房公积金账户设立手续的行政处罚流程图
单位逾期不缴或者少缴住房公积金的行政处罚流程图
挪用住房公积金的行政处罚流程图
住房公积金的缴存登记或者变更、注销登记流程图
住房公积金账户的设立、转移或者封存办理流程图
足额缴存住房公积金办理流程图。
留声机在晚清的传播作者:郝秉键来源:《寻根》2021年第03期谁最先见到留声机?留声机又称唱机,“蓄音或言语于其中,异日得再导出其音之器械也”。
其发明可上溯至1857年法国发明家斯科特(Leon Scott)所制声波记振仪。
1877年,美国发明家爱迪生研制出历史上首台留声机,并用它录播了其所唱美国儿歌《玛丽有只小羊羔》。
据我国首任驻英公使郭嵩焘的日记记载,1878年5月20日,他与翻译官张德彝在出席伦敦某茶会时,不仅查看了留声机的构造,而且目睹了爱迪生亲自操演的留声机录播过程:传声之法,张吻向巨口筒琅琅言之,多或数十语,少或数语……既传言,纳之筒中,加罩覆之,推使其针紧逼轮孔,而后发动转机,则所传之言皆自罩中一一传出。
有为长歌者,亦以歌传出之。
有两人接续传语,亦接续传出。
中间稍间,一一符合。
就笔者所见资料,郭、张二氏是最早接触留声机的中国人。
观摩后,郭嵩焘详记其事,名之为“传声机器”,赞其奇妙,“真神技也”!嗣后,又有马建忠、曾纪泽、徐建寅等外交人员先后在欧洲见到留声机。
1878年6月,在巴黎政治学院学习的马建忠在上李鸿章书中曰:近日游览“炫奇会”(世博会),见到“电线传声与电报印声”两种器物。
前者即电话机,后者即留声机。
与郭嵩焘的认识不同,马建忠认为此等器物“徒骇见闻,究无大益”。
1879年年初,曾纪泽先后抵巴黎、伦敦,接替郭嵩焘任驻英法公使。
据《曾纪泽日记》记载,是年4月30日、5月10日,他先后两次见到“传声机器”。
徐建寅为中国驻德国公使馆参赞,据其所言,1879年12月19日,他在柏林参观“格致院”时,被一种名为“记声器”(留声机)的物件所吸引,不禁驻足观瞧:“一人对其管说话,稍顷管内回音句句传出,且能酷肖原音。
”郭嵩焘等人虽然最先见到留声机,但其有关记录当时仅记于日记或书信内,未现于书刊。
诸人中以郭嵩焘的年龄最长,但他对西洋“新制之器”的兴趣颇为浓烈。
回国前,他曾嘱张德彝设法购买电话机、扩音器和留声机,或因其时留声机尚处于展玩阶段,无市场效应,故只购得电话机和扩音器,留声机真正传入中国则在10年之后。
公积金贷款审批流程公积金贷款是一种以公积金账户余额作为贷款还款来源的贷款方式,可以帮助个人解决购房、装修、教育等资金需求。
下面就是公积金贷款审批流程的详细说明。
首先,申请人需要准备好相关材料,包括个人身份证明、婚姻证明、购房合同、房产证等文件。
同时,还需要提供最近六个月的个人银行流水、工资流水和社保缴费证明等材料。
第二步,申请人需要填写公积金贷款申请表,并提交给所在单位的人力资源部门。
单位会将申请表和相关材料递交给所在地的住房公积金管理中心。
第三步,住房公积金管理中心会对申请材料进行初步审核。
初步审核的主要目的是确保申请人符合贷款条件,如有遗漏或不符合要求的材料,中心会要求申请人补充完善。
第四步,通过初步审核的申请材料将进入详细审核阶段。
住房公积金管理中心会核实申请人的收入、社保缴费等经济状况,并根据申请人还贷能力和信用状况进行评估。
第五步,详细审核通过后,住房公积金管理中心会将申请材料提交给相关部门进行审批。
审批部门会综合考虑个人财力、贷款用途、房屋情况等因素,决定是否批准贷款申请。
第六步,审批通过后,住房公积金管理中心将发放批准贷款通知书给申请人。
通知书中会包含贷款金额、利率、还款期限等具体信息。
第七步,申请人收到批准贷款通知书后,需要签署贷款合同,并提供所需的抵押物和担保人等相关文件。
第八步,贷款合同签署后,住房公积金管理中心会将贷款金额直接打入申请人指定的银行账户。
申请人可以根据自己的需要使用贷款金额。
最后一步,申请人需要按照合同约定的还款方式和期限,按时还款。
还款期限一般为5年至30年不等,可根据贷款金额和申请人的还款能力而定。
以上就是公积金贷款的审批流程。
通过以上流程,申请人可以在满足条件的情况下,顺利申请到公积金贷款,满足自己的资金需求。
同时,申请人也需要认真履行还款义务,以确保贷款的正常进行。
平顶山市住房公积金贷款流程图及办理指南一、贷款流程↓二、住房公积金贷款简介:什么是住房公积金贷款住房公积金贷款是指由管理中心以住房公积金为资金来源,委托人民银行规定的商业银行,向符合住房公积金贷款条件的购买自住房的职工发放的住房贷款。
借款人贷款时必须提供贷款担保。
借款人到期不能偿还贷款本息的,管理中心有权依法处分其抵押物或质押物,或由保证人承担偿还贷款本息的连带责任。
选择公积金贷款的优势1 低利率:住房公积金贷款是国家政策性贷款,利率比任何一家银行住房贷款都低。
2 贷款申请灵活:平顶山公积金贷款实行购房属地化贷款申请,借款申请人可到购买房产所在地公积金管理部门申请公积金贷款,不受公积金缴纳地限制。
3 多种担保方式可供选择:借款人可自愿选择期房抵押或现房抵押担保,也可选择担保公司担保。
4 还款便捷多样:既可直接从还款帐户中还款,也可用夫妻双方公积金帐户中的余额冲还贷款,这样可减轻借款人的还款压力,有效使用公积金。
三、申请住房公积金贷款的对象及条件凡按规定在平顶山市辖区内连续正常缴存住房公积金一年以上,申请人及配偶没有严重不良信用记录,有稳定收入,身体健康,具有完全民事行为能力并有偿还贷款能力的在职职工,在购买经济适用房、商品房(申请时具备购房合同已在房产部门备案且房地产开发企业已在中心完成项目备案并与中心签订楼盘合作协议)、二手房、自建房且取得工程形象进度50%后和单位集资房资金不足时均可向平顶山市住房公积金管理中心及所属分中心、管理部申请公积金贷款。
四、贷款额度、期限最高额度:30万元且不超过房价的70%(90平米以下的不超过房价的80%),用现房抵押贷款的且不超过评估价的70%第二套住房贷款的,不超过房价的40%。
最长期限:30年(贷款到期日不超过借款人的法定退休年龄之后5年)。
具体贷款金额将根据购、建房总价款,抵押房产价值,家庭收入(月还款额不超过家庭收入的55%)及负债,借款人夫妻双方信用状况,等综合考虑。
公积金贷款购房流程图解公积金贷款是指通过个人公积金账户预缴积存的资金作为贷款的担保,用于购买住房的一种贷款方式。
这种贷款方式在许多国家都得到了广泛的应用,由于其利率低、还款方式灵活等特点,成为购房首选。
以下是公积金贷款购房的详细流程图解。
1. 验证个人资格和申请公积金贷款首先,购房人需要前往当地的住房公积金管理中心或相关办事机构,向工作人员咨询具体的公积金贷款政策和要求。
购房人需要提供个人身份证明、户口本(或居民身份证)、婚姻证明(如果适用)、购房意向书等相关证明材料。
2. 缴存公积金购房人在购房前需要缴纳一定数额的公积金,一般是根据个人工资的一定比例(如6~12%)进行定期缴存。
购房人可以选择自愿缴存更高的比例以增加公积金的账户余额。
3. 公积金贷款额度评估购房人提供相关材料后,住房公积金管理中心或相关办事机构会评估其公积金贷款额度。
评估过程包括购房人的工资收入、购房人所在城市的房价水平以及购房人已有的公积金账户余额等因素。
4. 提交购房申请在确认了公积金贷款额度后,购房人将正式向住房公积金管理中心或相关办事机构提交购房申请。
购房人需要填写购房申请表,并提供购房合同、房产证明、购买住房相关的费用预算等相关文件。
5. 审核购房申请住房公积金管理中心或相关办事机构将对购房人提交的申请进行核实和审核。
核实包括购房人的身份信息、购房合同的真实性、房产证明的合法性等。
审核过程一般需要数个工作日。
6. 确认贷款计划审核通过后,住房公积金管理中心或相关办事机构将与购房人确认贷款计划。
贷款计划包括贷款额度、贷款期限、还款方式等。
购房人需要与管理中心签订《住房公积金贷款合同》并缴纳相关费用。
7. 支付首付款和办理贷款手续购房人在购房时需要支付一定比例的首付款。
首付款是购房总价的一部分,一般需要购房人支付20%~30%的比例。
购房人可以选择用公积金贷款来支付部分或全部的首付款。
8. 完成贷款申请购房人需要提供一些补充材料,如购房合同副本、首付款证明、购房税费证明等,以完成公积金贷款的申请手续。
漯河市住房公积金贷款须知及办理流程图一、贷款类型(一) 纯公积金贷款纯公积金贷款系指住房公积金管理机构运用住房公积金资金,委托商业银行向购买自住住房的公积金缴存人发放的个人住房贷款。
(二) 公转商贴息贷款(简称贴息贷款)公转商贴息贷款是指住房公积金中心在资金流动性相对不足时,委托商业银行按照住房公积金中心审批的贷款额度、贷款期限和贷款利率,向缴存住房公积金的借款人发放的商业性个人住房按揭贷款,借款人按照住房公积金的贷款利率,按期归还贷款本息。
由住房公积金中心按月给予商业银行利息差额补贴。
二、贷款条件(一)申请贷款前正常连续缴存住房公积金的时间不少于6个月;(二)具有完全民事行为能力的公积金缴存人员;(三)有稳定的收入、有偿还贷款本息的能力,个人信用良好;(四)在我市市区及两县购买、建造、翻建、大修自住住房,且时间不超过一年的;(五)已支付规定比例的首付款(目前我市首付款最低比例为20%)或全款,且首付款+贷款金额=购房总价;(六)同意提供公积金中心认可的担保;(七)申请人及配偶没有尚未结清的住房公积金贷款和数额较大的债务。
注意事项:(一)在外地缴存公积金,具有本市户口且在本市购买住房的,也可申请公积金贷款;(二)家庭购买三套以上(含三套)住房的不得申请住房公积金贷款。
三、贷款利率(一)五年以内(含五年)贷款年利率为2.75%,五年以上贷款年利率为3.25%。
(二)二套房利率上浮10%,上浮后,五年以内(含五年)贷款年利率为3.025%,五年以上贷款年利率为3.575%。
注意事项:贷款利率按中国人民银行同期公布的住房公积金贷款利率执行,如国家利率调整时,已发放的贷款当年不调整贷款利率,于次年1月1日起执行最新贷款利率;已签订贷款合同未发放贷款的,放款时执行最新贷款利率。
四、贷款还款方式(一)等额本金还款法;(二)等额本息还款法;(三)本息一次性结清(仅限一年期贷款)。
职工根据自身还款能力,在申请住房公积金贷款时,可自主选择。
公积金贷款的审批流程和时间公积金贷款是一种通过住房公积金制度提供的贷款方式,旨在帮助个人购买住房或用于住房改善。
如今,越来越多的人选择使用公积金贷款来实现自己的住房梦想。
然而,对于公积金贷款的审批流程和时间,许多人还不太了解。
本文将详细介绍公积金贷款的审批流程及预计时间,以便读者对此有更全面的了解。
一、公积金贷款申请阶段1. 资格审查在申请公积金贷款之前,首先需要进行资格审查。
这一步是确认申请人是否符合住房公积金贷款的基本条件,如稳定就业或自主创业、连续缴纳公积金等。
此外,申请人还需要提供相关资料,比如身份证明、收入证明、公积金缴纳证明等。
2. 贷款申请在通过资格审查之后,申请人需要填写公积金贷款申请表,并提交给相关部门。
申请表中需要填写个人基本信息、贷款用途等内容。
此外,还需要提供必要的证明文件,如购房合同、出售合同等。
二、公积金贷款审批阶段1. 银行审批申请人提交申请后,银行将对申请进行审批。
银行审批的主要内容包括申请人的信用状况、贷款用途、还款能力等方面的综合评估。
审批结果可能需要几个工作日到数周不等的时间。
2. 公积金中心审批银行审批通过后,公积金中心将对申请进行进一步的审批。
公积金中心主要负责核实申请人的公积金缴纳情况以及其他相关信息。
审批结果通常需要几个工作日。
3. 合同签订一旦申请通过审批,申请人需要与银行签订贷款合同。
合同中会明确贷款金额、利率、还款期限等具体细节。
在签订合同时,申请人需要支付相关的手续费用。
三、公积金贷款的时间预估公积金贷款的审批时间因地区和个人情况而异。
通常情况下,从申请递交到审批通过需要4至8周的时间。
这个时间包括了银行和公积金中心的审批阶段,以及合同签订等手续。
具体的时间会根据申请人提供的材料的齐全性、审批工作量等而有所差异。
需要注意的是,以上时间仅为预估值,实际时间可能会因各种因素而有所延长或缩短。
一些特殊情况,如节假日、银行系统更新等,都可能对审批流程产生影响。
1欢迎下载当前贷款利率 1-5年:3.75% 6-30年:4.25%客户到营销中心销售人员协助客户网签商品房买卖合同,并告知客户办理住房公积金按揭贷款需准备的相关资料及注意事项,让客户缴纳房屋抵押费及房屋维修基金。
客户准备齐全按揭相关材料,按约定期限到营销中心提交相关资料,并签订产权抵押相关表格;工作人员填写客户房屋基本信息并留存客户全套办理公积金按揭贷款材料原件或复印件。
县公积金管理部根据按揭客户需贷款金额、年限,及客户提供的相关按揭材料,对客户进行第一次初审。
等县公积金管理部预约到市公积金及担保公司来面签时间后,公司通知客户夫妻双方带身份证、户口本、结婚证、主贷人私章,按约定时间去县公积金管理部面签公积金借款合同及反担保合同。
盖章合同及抵押表格资料: 1.房地产抵押合同5份; 2、住房公积金借款合同4份; 3、反担保合同2份;4、房地产抵押(按揭)登记申请表1份;5、预购商品房抵押权预告登记申请表1份;公司拿市公积金担保公司出具的《同意担保声明》送县公积金管理部,县公积金管理部备案后送县建设银行等待放款。
公司在办理完客户抵押手续后拿房管局出具的预告登记证去市公积金担保公司出具同意担保声明,公司缴纳保证金(客户贷款额5%,公司办理完房产证后可退还)1.《商品房买卖合同原件》2本;2.《房管局产权抵押合同原件》5本;3.《预购商品房预告登记约定书》2张;4.《预购商品房预告登记申请表》1张;5.《预购商品房抵押预告登记申请表》 1张;6.《预购商品房抵押预告登记询问笔录》2份;7.《洛阳市房地产(按揭)登记申请表》 1张;8.《客户委托书》、《公司委托书》各1张;9. 《委托担保及反担保抵押合同》2份 10.《房屋维修基金发票复印件》1份; 11.《公司代理人身份证复印件》1份; 1.《夫妻双方身份证原件》及复印件4份;2.《家庭户口本原件》及复印件4份; 3.《结婚证或离婚证、单身证明原件》及复印件4份; 4、《首付款发票复印件》4份; 5.《建设银行还款卡复印件》2份,复印件签字按手印;6、主贷人及配偶身份证、户口本、结婚证姓名或身份证号、出生日期不符的,需派出所及民政局出具相关证明。
公积金审批贷款和放款流程公积金贷款啊,那可真是咱老百姓买房的一个大助力呢!今天我就来给大家唠唠公积金审批贷款和放款的流程,这事儿就像一场奇妙的旅程,跟着我走,保准你能整得明明白白。
我有个朋友小张,最近打算买房子。
他呀,可是对公积金贷款寄予厚望。
首先呢,小张得确定自己是不是有公积金贷款的资格。
这就好比你想参加一场比赛,得先看看自己符不符合参赛规则。
一般来说,公积金得连续缴存一定的时间,不同的地方规定可能不一样,有的是半年,有的可能要一年呢。
小张查了查自己的缴存记录,松了口气,还好自己已经满足这个最基本的条件啦。
接下来就是申请贷款啦。
小张带着自己的身份证、购房合同、公积金缴存证明等一大堆材料,就像带着宝贝似的,来到了公积金管理中心。
哎呀,那场面,人还真不少。
他心里直犯嘀咕:“这么多人,这得等到啥时候啊?”不过工作人员态度可好了,就像春天的阳光一样温暖。
工作人员接过他的材料,开始一项一项地检查,这过程就像是老师批改作业一样仔细。
然后呢,就进入了初审阶段。
这初审啊,就像是一个初步的筛选。
公积金管理中心要看看小张买的房子符不符合要求,他的还款能力怎么样。
小张站在一旁,心里像揣了只小兔子,砰砰直跳。
工作人员一边看材料,一边问小张一些问题,比如说月收入多少啊,家庭情况怎么样啊。
小张呢,就像个小学生回答问题一样,认认真真地作答。
初审完了之后,小张心里的大石头才落了地,初审通过啦!初审过后就是复审啦。
这复审可就更严格了,就像一场深度的体检。
公积金管理中心会把小张的材料和信息进行再次核实,还会查看他的信用记录呢。
要是信用记录有污点,就像衣服上有个洗不掉的污渍一样,那可就麻烦了。
还好小张平时信用良好,他就盼着这复审能顺顺利利的。
这时候,小张就只能在家干着急,等着电话通知。
他整天念叨着:“怎么还没消息呢?这复审得多久啊?”仿佛每一分钟都过得特别漫长。
复审通过之后,就到了合同签订的环节啦。
小张又一次来到公积金管理中心,这次他的脸上满是笑容。
商品房、经济适用房公积金贷款流程图2008-08-0615:49:32作者:来源:阅读次数:5946关于调整二手房提取、贷款所需材料的通知(徐公积金办[2009]1号)2009-10-1916:08:57作者:本站来源:阅读次数:4182徐公积金办[2009]1号关于调整二手房提取、贷款所需材料的通知中心各处室、管理部,营业部:为了加强住房公积金使用管理,规范住房公积金提取、贷款业务,现根据有关政策规定,对二手房提取、贷款所提供的资料等业务作如下调整:一、购买二手房提取公积金所需材料为:1、不申请公积金贷款的,提供《存量房买卖合同》、本人《房屋所有权证》、契税发票、本人身份证。
2、申请公积金贷款的,提供《存量房买卖合同》、《房屋所有权证》、契税发票、30%以上的首付款资金监管存款凭证、中心认可的评估报告、本人身份证,网上查询后办理。
二、二手房贷款需提供的资料1、《存量房买卖合同》(验原件,复印4份);2、⑴预付款的,提供存量房交易资金首付款监管存款凭证(验原件,原件须加盖“徐州市房屋置换中心客户交易结算资金专用章”,复印4份),贷款金额与首付款之和不得超过合同交易总价,系统中“首付款”为必录项;⑵付清全款的,提供存量房交易资金监管存款凭证(验原件,原件须加盖“徐州市房屋置换中心客户交易结算资金专用章”,复印4份)及交易后的本人房屋所有权证、国有土地使用证(验原件);3、市公积金中心认可的房地产估价报告书(原件4份);4、借款人及配偶等其他产权共有人有效身份证(第二代身份证须复印正反两面)(验原件,复印4份);5、借款人及配偶等其他产权共有人常住户口或合法有效居留证件(验原件,户口首页、本人页复印4份);6、婚姻状况证明(结婚证、离婚证或离婚判决书)(验原件,复印4份);单身人员提供单身证明(原件4份);7、收入证明(统一制式的收入证明可以到市公积金中心领取或从徐州住房公积金网的网上办事栏中下载打印)(原件3份);8、市公积金中心要求提供的其它材料。
公积金贷款审批时间及流程在购房过程中,许多人会选择公积金贷款,因为其利率相对较低,能够减轻还款压力。
然而,对于公积金贷款的审批时间和流程,不少人可能还不太清楚。
接下来,我就为大家详细介绍一下。
公积金贷款审批时间公积金贷款的审批时间并不是固定的,它会受到多种因素的影响。
一般来说,从提交申请到审批完成,大致需要 1 到 3 个月的时间。
但在实际操作中,可能会因为以下情况而有所延长或缩短。
首先,申请材料的完整性和准确性是影响审批时间的重要因素。
如果申请人提交的材料不齐全或者存在错误,贷款机构就需要与申请人沟通补充或修改,这无疑会延长审批时间。
因此,在提交申请前,一定要仔细核对所需材料,确保齐全且准确无误。
其次,当地公积金管理中心的业务繁忙程度也会对审批时间产生影响。
在购房旺季,申请公积金贷款的人数较多,审批工作可能会相对滞后;而在业务量相对较少的时候,审批速度可能会加快。
另外,不同地区的公积金政策和审批流程也存在差异。
有些地区可能审批效率较高,而有些地区则可能因为各种原因导致审批时间较长。
公积金贷款审批流程1、咨询与准备在决定申请公积金贷款之前,借款人应先向当地的公积金管理中心咨询相关政策和要求。
了解自己是否符合贷款条件,以及贷款额度、利率、还款方式等信息。
同时,按照要求准备好各种申请材料,如身份证、户口本、结婚证、购房合同、首付款发票、收入证明、公积金缴存证明等。
2、提出申请将准备好的申请材料提交给公积金管理中心或受托银行。
可以选择在线提交或者到现场办理。
3、初审公积金管理中心或受托银行会对提交的申请材料进行初步审查。
主要审核材料的完整性、真实性以及申请人是否符合贷款条件。
如果初审通过,会进入下一步;如果初审不通过,会通知申请人补充材料或说明原因。
4、评估对于需要进行抵押物评估的情况,会安排专业的评估机构对房屋进行评估,确定其价值。
评估结果将作为贷款额度的重要参考依据。
5、复审初审通过后,公积金管理中心会对申请进行复审。
省中心住房公积金个人购房贷款流程图一、申请人向公积金中心提出申请前,需先到中心领取个人贷款审批表,在领取审批表时所需资料:一、是不是在省中心缴存公积金(1)是,带购房合同原件一份,借款人身份证原件;(2)否,带公积金缴存证明原件一份,购房合同原件一份。
在开具公积金缴存证明时应注明,借款人公积金持续正常缴存至今,且借款人未在缴存公积金的单位有公积金贷款记录;二、如是二手房,则须在领取审批表前,先去做评估,省中心指定的评估公司是天正评估公司(电话:地址:西安市房地局二楼)(1)在省中心缴存公积金的,带一份正式的评估报告,原房主的房产证复印件一份;(2)不在省中心缴存公积金的,带一份正式的评估报告,原房主的房产证复印件一份,公积金缴存证明原件一份,缴存证明的开具同上。
注:二手房在省中心审批进程中不能做过户,已过户的二手房不能做公积金贷款二、借款入填完贷款审批表后,l、拿四份审批表,一份购房合同原件,一式三份的许诺,二、二手房需正式的评估报告一份,房地产(衡宇)生意契约一份, 四份贷款审批表,交到省中心进行审批。
注:如没有许诺的,在西安房产交易管理中心买(西大街百盛对面)关于印发《陕西省住房公积金业务指引》的通知陕建函〔2013〕145号各设区市、杨凌示范区住房公积金管理委员会、住房公积金管理中心,各设区市、杨凌示范区财政局,中国人民银行西安分行营业管理部、陕西省内各中心支行,各银监局:为增强住房公积金管理,规范住房公积金的缴存、提取与转移、贷款、执法等业务管理行为,统一住房公积金业务管理规程,保障住房公积金安全运作,保护缴存人的合法权益,充分发挥住房公积金制度的作用,按照国家有关法规、政策,制定了《陕西省住房公积金业务指引》,现印发你们,请认真执行。
附件:陕西省住房公积金业务指引陕西省住房和城乡建设厅陕西省财政厅中国人民银行西安分行陕西银监局2013年2月28日附件:陕西省住房公积金业务指引一、缴存(一)缴存范围一、缴存单位范围:依法设立的国家机关、国有企业、城镇集体企业、外商投资企业、城镇私营企业及其他城镇企业、事业单位、民办非企业单位、社会集体,负有为本单位在职职工缴存住房公积金的义务。
购买新建住房申请住房公积金贷款办事流程图
需要提交如下材料:
1.身份证(含配偶及共有人);
2.户口本(含配偶及共有人);
3.婚姻关系有效材料;
4.借款人用于还款的I类借记卡;
5.购房所在地及借款人公积金缴存地家庭住房情况有效材料;
6.商品房买卖合同;
7.首付款凭证;
8.合同信息备案摘要;
9.不动产登记证明(预告登记);
10.国有土地使用证;
11.商品房预售许可证(若申请人所购房产为现房,需提供郑州市商品房现售备案证或不动产权证);
12.异地缴存职工,需提供异地住房公积金缴存使用证明及缴存明细;
13.家庭首套住房有尚未结清贷款的,需同时提供该套住房的购房合同、借款合同、近6个月的还款明细(已结清的提供贷款结清材料)。