办理行政许可流程图
- 格式:doc
- 大小:27.50 KB
- 文档页数:1
行政许可流程图注:每一项行政许可项目不一一画出流程图,基本类同。
上杭县工商领域企业投资项目核准流程图行政处罚一般流程图↓鉴定结论上杭县工商领域企业投资项目备案流程图酒类流通备案登记流程图行政监督检查流程图先进单位、先进个人评比工作流程图党员发展流程图内部管理权流程图上杭县经济贸易局行政权力动态运行制度为了切实搞好我局行政权力公开透明运行工作,全面规范行政权力运行和自由裁量权工作的监督制约,加大从源头上预防和治理腐败的力度,确保经贸工作公开、公平、公正和廉洁高效运转,根据我局规范行政权力运行和自由裁量权实施方案的要求,特制订权力动态运行制度。
一、行政权力公开透时运行工作实行动态公开运行,凡具有相对稳定性或经常性的行政权力长期公开,阶段性事项定期公开,临时性事项随时公开。
二、各股室负责人为动态运行的责任人,要及时将新的需要公开的项目报行政审批股,各股室定要将权力运行登记制度落实到具体人员、具体岗位,落实到权力行使各个环节,要明确专人进行汇总统计,严格考核,确保我局行政权力运行工作顺利进行。
三、各股室产生新的需要公开的项目时,要在2日内将应当公开的内容选择适当形式公布,并同时制成规定格式交行政审批股,行政审批应公开的项目要在局务会审定后,通过机关公示栏或上杭政务网等形式进行公布。
四、各股室将所行使权力的运行情况于每月30日前报我局行政审批股。
五、各股室应注意收集、整理行政权力公开透明运行中形成的所有资料。
在公开完毕后3日内,将所有公开资料交行政审批股,实行分类归档和备份。
所报材料要统一用A4纸,仿宋三号字。
六、违反本制度规定的责任人,我局将视其情节轻重给予严肃处理。
上杭县经济贸易局行政执法回避制度一、行政许可1、行政许可事项及其申请人与行政机关的工作人员有直接利害关系的,办理该行政许可的工作人员应当回避。
2、举行听证的,申请人、利害关系人认为听证主持人与该行政许可事项有直接利害关系的,有权申请回避,主持人与该行政许可确有利害关系的,应当回避。
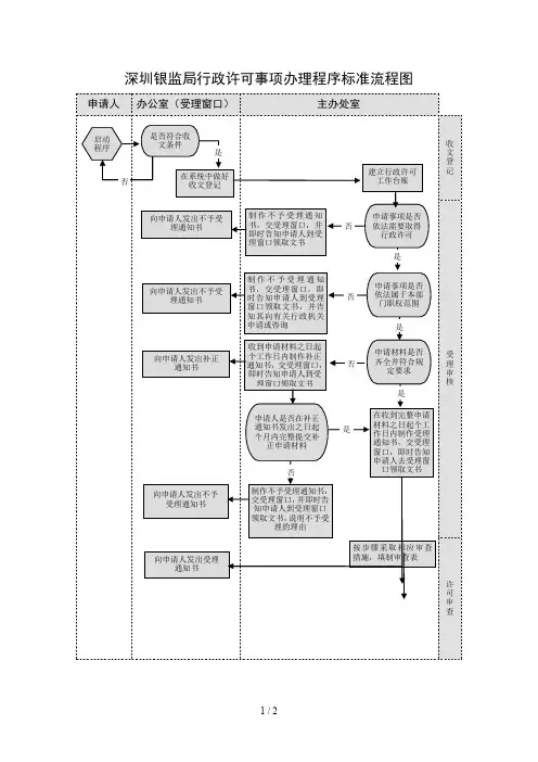
行政许可流程图行政许可流程图一、申请流程1. 准备申请材料:a. 根据相关法规和规定,确定所需申请材料清单。
b. 根据清单准备相关证明文件、表格和其他必要材料。
2. 填写申请表格:a. 根据要求,在申请表格中填写个人或企业的基本信息。
b. 提供准确并完整的申请信息,包括但不限于申请事项、目的、计划等。
3. 完善材料:a. 确保所有申请材料完整、合规,并按要求打印或复印。
b. 在申请材料上签名并加盖印章(如果需要)。
4. 递交申请:a. 将申请材料按规定递交给行政许可机关。
b. 填写并递交相关手续费(如果需要)。
5. 受理和审查:a. 行政许可机关受理申请材料后,进行初步审查。
b. 如申请材料不完整或有错误,行政许可机关将通知申请人进行补正。
c. 在规定时限内,行政许可机关进行全面审查,并进行实地核查(如果需要)。
二、审批流程1. 决定是否受理:a. 行政许可机关根据法律法规对申请进行审核,并决定是否受理。
b. 如果不符合受理条件,行政许可机关将作出不予受理的决定,并说明理由。
2. 公示:a. 如果需要,行政许可机关将申请事项进行公示。
b. 公示期限通常为15天,公示内容包括申请人的基本信息和申请事项的内容。
c. 如无异议或合法异议被确认不成立,行政许可机关将进行下一步审批流程。
3. 同级审批:a. 行政许可机关将申请事项进行同级审批。
b. 同级审批的程序和要求根据不同的行政许可机关和具体申请事项而有所不同。
4. 上级审批:a. 如申请事项需要上级审批,行政许可机关将申请事项上报给上级行政许可机关。
b. 上级行政许可机关根据法定程序要求进行审批,并作出相应决定。
5. 决定审批结果:a. 行政许可机关将申请事项的审批结果通知申请人。
b. 如果申请被批准,行政许可机关将发放行政许可证或相关证明文件。
三、后续流程1. 行政许可期限:a. 行政许可机关根据法律法规规定的期限对申请进行审批。
b. 根据不同申请事项的复杂程度和特殊性,行政许可期限有所差异。
邯郸市发改委企业投资项目核准程序行政许可流程图邯郸市发改委企业投资项目备案程序行政许可流程图邯郸市发改委承装(修)电力设施行政许可初审流程图申请单位章程与法定代表人资格证件等;营业执照副本;技术人员、技经人员、财会人员、工程技术人员简历与相应技术职称证明文件、证件等;施工人员的工种等级合格证、《电工进网作业许可证》、《特种工种操作证》;技术装备明细表、企业简历与承装(修、试)项目业绩及有关证明、企业施工质量、安全责任事故情况有关证明;企业组织结构情况。
邯郸市发改委电力设施废旧器材收购证办理行政许可初审流程图邯郸市发改委煤炭经营资格证申办行政许可流程图邯郸市发改委非煤矿山建设工程设计文件或者开发利用方案审批行政许可流程图邯郸市发改委冶金与有色金属生产许可证行政许可流程图一、采矿企业河北省冶金、有色矿山生产许可证申请书;采矿许可证;营业执照、矿长资格证;环保依法验收报告;依法批准的采矿设计文件或者开采方案。
二、矿产品加工企业河北省冶金、有色矿山生产许可证申请书;营业执照;矿产品加工设计文件或者方案;环保依法验收报告。
邯郸市发改委监控化学品及其生产专用设备进出口行政许可流程图邯郸市发改委监控化学品生产设施建设与生产特别许可流程图邯郸市发改委生产性废旧金属回收企业《资格审核证》审批行政许可流程图邯郸市发改委开办煤矿行政许可流程图邯郸市发改委棉花收购加工资格认定申办行政许可流程图邯郸市发改委核准招标方案申办行政许可流程图邯郸市发改委货物采购招标代理机构资质认证初审行政许可流程图邯郸市发改委信息经纪人资格初审行政许可流程图邯郸市发改委政府投资项目审批流程图邯郸市发改委委托监测单位节能检测流程图市发改委监督招标公告公布流程图市发改委监督管理评标专家流程图事业单位与非国有企业改制股份公司设立审批流程图市发改委企业股票上市筛选审核流程图市发改委监督管理货物采购、工业项目与重点项目流程图金融组织、外国政府贷款、商业贷款审批流程图境外资源开发项目核准流程图外商进口设备免税确认核准流程图以工代赈审批流程图大中专学校、技工学校招生计划流程图清理整顿“五小”企业流程图国家鼓励进展的内外资项目确认书审批流程图符合国家产业政策的技术改造项目免税确认书申办流程图软件企业认定流程党政机关域名注册申请(变更)工作流程党政机关虚拟主机申请(变更)工作流程党政机关政务邮箱申请(变更)工作流程政务工作网入网资格审查备案工作流程市政府网站统一平台开户审批流程↓↓↑↓↓重点建设项目竣工验收流程图重点建设项目概算调整审查流程图邯郸市发改委重点建设项目行政处罚流程图邯郸市发改委重点项目稽察行政许可听证流程图。
餐饮服务行政许可审批流程图申请→受理→审核(资料审核、现场核查)→决定→发放餐饮服务许可证一、申请人向所属区域食品药品监督管理部门提出餐饮服务许可申请应当具备以下条件:(一)具有合法的经营场所,合理的布局和加工流程;(二)具有与制作供应的食品品种、数量相适应的食品原料处理和食品加工、贮存等场所,场所应保持环境整洁,并与有毒、有害场所以及其他污染源保持规定距离;(三)具有与制作供应的食品品种、数量相适应的经营设备或者设施,具有相应的消毒、更衣、洗手、采光、照明、通风、冷冻冷藏、防尘、防蝇、防鼠、防虫、洗涤以及处理废水、存放垃圾和废弃物的设备或者设施;(四)餐饮服务从业人员及食品安全管理人员必须经过县级(含县级)以上食品药品监督管理部门的培训,并取得上岗资格;(五)具有保证食品安全的规章制度。
二、申请《餐饮服务许可证》应当提交以下材料:(一)《餐饮服务许可证》申请书;(二)名称预先核准证明或营业执照或机构代码证书(复印件);(三)餐饮服务经营场所(地)合法使用有关证明(房屋所有权证或租赁协议且租期应在一年以上);(四)餐饮服务经营场所和设备布局、加工流程、卫生设施等示意图及说明;(五)餐饮服务单位管理组织设置情况,遵守法律法规承诺书;(六)法定代表人(负责人或者业主)的身份证明(复印件);(七)餐饮服务从业人员及食品安全管理人员培训证明材料及体检健康合格证明;(八)保证食品安全的规章制度,主要包括下列内容:1.食品和食品原料采购查验制度;2.场所环境卫生管理制度;3.设施设备运行、维护和卫生管理制度;4.清洗消毒管理制度;5.人员卫生管理制度;6.人员培训管理制度;7.从业人员健康管理制度;8.加工操作管理制度;9.餐厨垃圾管理制度;10.食品添加剂管理制度;11.处理消费者投诉管理制度;12.保障食品安全所需的其他管理制度。
(九)自备水源的需提供生活饮用水卫生许可证(复印件);(十)特大型、大型餐馆,学校食堂、幼儿园食堂、工地食堂,供餐人数500人以上的机关、企事业单位食堂,连锁经营餐饮服务企业总部、集体用餐配送单位还需提供以下材料:1.设置专职食品安全管理岗位及人员证明材料;2.关键环节食品加工规程(包括但不仅限于食品和食品原料验收操作规程,食品贮存操作规程,食品加工操作规程,食品添加剂贮存使用操作规程,专间操作规程,不符合食品安全要求的食品处理规程);3.环境卫生自查计划;4.食品安全突发事件应急处置预案。
卫生行政许可流程图
(共9项)
母婴保健技术服务执业许可证审批流程图(受理申请后9个工作日完成)
托幼机构卫生保健合格许可证审批流程图
(受理申请后9个工作日完成)
公共场所卫生许可流程图(受理申请后10个工作日完成)
二次供水单位卫生
程图
(权限还未下放)
医疗机构校验审批流程图
(受理申请后22个工作日完成)
补发出生医学证明审批流程图
(受理申请后10个工作日完成)
记许可审批流程图
(受理申请后20个工作日完成)
批流程图
(受理申请后22个工作日完成)
护士变更审批
流程图
(受理申请后7个工作日完成)。
烟草专卖零售许可证新办流程图:
烟草专卖零售许可证补办流程图:
烟草专卖零售许可证延续流程图:
烟草专卖零售许可证变更流程图:
烟草专卖零售许可证停业流程图:
烟草专卖零售许可证歇业流程图:
烟草专卖零售许可证恢复营业流程图:
烟草专卖零售许可证监督检查流程图:
烟草专卖零售许可证监督检查信息反馈流程图:
烟草专卖零售许可证责令改正(变更)流程图:
责令暂停烟草专卖业务进行整顿流程图
流程说明:
取消从事烟草专卖业务资格流程图:
烟草专卖零售许可证撤回流程图:。
附件1行政许可流程图附件2行政许可听证流程图附件345种参考适用行政许可法律文书1.行政许可申请书行政许可申请书(行政许可法定实施机关):我(单位)现向(行政许可法定实施机关)申请行政许可,并提交如下申请材料:…………………………………………申请人承诺:以上提交材料真实合法有效。
请依法审查并予以批准。
申请人签字(盖章)年月日行政许可申请人名称/姓名:职务:委托代理人姓名:联系方式:法定代表人/身份证号码:工作单位:电话:住址/地址:邮编:电子邮箱:注:本申请书只提供大致格式,供相对人提出许可变更、延期等行政许可和非行政许可的审批及其他相关申请时参考适用。
2.行政许可申请材料清单行政许可申请材料清单3.行政许可申请材料接受凭证(行政机关名称)行政许可申请材料接受凭证申请人:申请事项:接受地点:接受时间:接受材料目录:1、2、3、4、……经办人:联系人:联系电话:监督电话:(行政机关盖章)年月日4.行政许可申请材料补正告知书行政许可申请材料补正告知书(申请人名称):年月日,本机关收到你(单位)申请(行政许可事项名称)所送的有关材料后,依法进行了审查,发现你(单位)所送的材料不齐全(或不符合法定形式),具体存在问题及需补正的内容如下:(经办人视材料中的情况据实详细填写)请你(单位)依照(法律、法规、规章名称)第条第项第款的规定,将补正后的材料送本机关。
特此通知。
联系人:联系电话:监督电话:(行政机关盖章)年月日注:本告知书一式两份,申请人、受理机关各存一份。
5.行政许可受理审批表行政许可受理审批表6.行政许可申请受理通知书(行政机关名称)行政许可申请受理通知书编号:(申请人名称):年月日,本机关收到你申请(行政许可事项名称)所提交的下列(补正)材料:经审查,你(单位)申请的该行政许可事项属于本机关职权范围,申请材料齐全,符合法定形式,根据《中华人民共和国行政许可法》第三十二条的规定,现予受理。
特此通知。
三、权力运行流程图(一)行政许可1、企业名称预先核准及变更核准流程图(内外资)项目类型:行政许可项目编号:行政许可1号承办部门:企业注册科电话:096-8871832 法定期限:10个工作日监督投诉电话:096-8871832 承诺期限:7个工作日2、企业(公司)设立登记流程图(内外资)项目类型:行政许可项目编号:行政许可2号承办部门:企业注册科电话:096-8871832 法定期限:15个工作日监督投诉电话:096-8871832 承诺期限:10个工作日3、企业(公司)变更登记流程图项目类型:行政许可项目编号:行政许可3号承办部门:企业注册科电话:096-8871832 法定期限:15个工作日监督投诉电话:096-8871832 承诺期限:10个工作日4、企业(公司)注销登记流程图(内外资)项目类型:行政许可项目编号:行政许可4 号承办单位:企业注册科电话:096-8871832 法定期限:15个工作日监督投诉电话:096-8871832 承诺期限:10个工作日5、个体工商户名称预先核准流程图项目类型:行政许可项目编号:行政许可6号承办部门:工商所电话:096-8871832 法定期限:15个工作日监督投诉电话:096-8871832 承诺期限:10个工作日6、个体工商户设立登记流程图项目类型:行政许可项目编号:行政许可7号承办部门:工商所电话:096-8871832 法定期限:15个工作日监督投诉电话:096-8871832 承诺期限:10个工作日7、个体工商户变更登记流程图项目类型:行政许可项目编号:行政许可8号承办部门:工商所电话:096-8871832 法定期限:15个工作日监督投诉电话:096-8871832 承诺期限:10个工作日8、农民专业合作社登记注册流程图项目类型:行政许可办理地点:市场监督管理局承办部门:市场监督管理局服务电话:096-8871832法定期限:15个工作日承诺期限:5个工作日监督投诉电话:096-887183211、个体工商户注销登记流程图项目类型:行政许可项目编号:行政许可9号承办部门:工商所电话:096-8871832 法定期限:15个工作日12、广告经营许可证登记流程图项目类型:行政许可项目编号:行政许可10号承办部门:市场监督管理局电话:096-8871832 法定期限:20个工作日监督投诉电话:096-8871832 承诺期限:15个工作日13、户外广告登记流程图项目类型:行政许可项目编号:行政许可11号承办部门:市场监督管理局电话:096-8871832 法定期限:7个工作日监督投诉电话:096-8871832 承诺期限:5个工作日14、食品经营许可项目类型:行政许可承办机构:市场监督局办理地点:市场监督局服务电话:096-8871832 法定期限:20个工作日承诺期限:20个工作日监督电话:096-8871832法定期限:10个工作日承诺期限:5个工作日优化期限:15个工作日15、食品经营许可项目类型:餐饮服务许可证办理办理地点:许可受理科法定时限:30个工作日承诺时限:20 个工作日承办部门:市场监督局服务电话:096-8871832 监督电话:096-8871832法定时限:30个工作日 承诺时限:20 个工作日 优化时限:10个工作日16、医疗用毒性药品零售企业批准项目类型:行政许可 承办机构:市场监督局 办理地点:市场监督局法定期限:30个工作日 承诺期限:15个工作日服务电话:096-8871832 监督电话:096-8871832法定时限:30个工作日 承诺时限:15 个工作日 优化时限:15个工作日17、麻醉药品和精神药品邮寄证明核发项目类型:行政许可 承办机构:食药局 办理地点:市场监督局法定期限:40个工作日 承诺期限:5个工作日法定时限:40个工作日 承诺时限:5 个工作日 优化时限:35个工作日18、麻醉药品和精神药品运输证明核发项目类型:行政许可 承办机构:平安市场监督局 办理地点:市场监督局法定期限:10个工作日 承诺期限:5个工作日服务电话: 096-8871832 监督电话:096-8871832法定时限:10个工作日承诺时限:5 个工作日优化时限:5个工作日19、开办药品零售企业许可项目类型:行政许可承办机构:食药局法定期限:10个工作日承诺期限:5 个工作日服务电话: 096-8871832 监督电话:096-8871832(二)行政处罚流程图项目类型:行政处罚项目编号:行政处罚1号承办部门:市场监督管理局电话:096-8871832 法定期限:90日监督投诉电话:096-8871832结案归档(90日办结,特殊情况可报批延长办理时限)(三)行政强制措施流程图项目类型:行政强制项目编号:行政强制1号承办部门:市场监督管理局电话:096-8871832 法定期限:30日监督投诉电话:096-8871832(四)行政裁决1、企业名称争议裁决流程图项目类型:行政裁决项目编号:行政裁决1号承办部门:企业注册科电话:096-8871832 法定期限:15个工作日2、个体工商户名称争议裁决流程图项目类型:行政裁决项目编号:行政裁决2号承办部门:企业注册科电话:096-8871832 法定期限:15个工作日(五)行政确认1、青海省著名商标认定流程图项目类型:行政确认项目编号:行政确认1号承办部门:市场监督管理局电话:096-8871832 法定期限:30个工作日监督投诉电话:096-8871832 承诺期限:25个工作日2、动产抵押登记流程图项目类型:行政确认项目编号:行政确认2号承办部门:市场监督管理局电话:096-8871832 法定期限:当场监督投诉电话:096-8871832(六)行政收费项目类型:行政收费项目编号:行政收费1号承办单位:市场监督管理局电话:096-8871832 法定期限:当场监督投诉电话:096-8871832(七)行政强制项目类型:行政强制项目编号:行政强制1号承办单位:市场监督管理局电话:096-8871832 法定期限:当场监督投诉电话:096-8871832(八)行政奖励项目类型:行政奖励项目编号:行政奖励1号承办单位:市场监督管理局电话:096-8871832 法定期限:无监督投诉电话:096-8871832(九)行政监督检查项目类型:行政监督检查项目编号:行政监督检查1号承办单位:市场监督管理局电话:096-8871832 法定期限:无监督投诉电话:096-8871832(十)其它权力1、合同争议行政调解流程图项目类型:行政调解项目编号:行政调解2号承办部门:市场监督管理局电话:096-8871832 法定期限:两个月内监督投诉电话:096-8871832 承诺期限:55日内2、受理消费者投诉流程图项目类型:行政调解项目编号:行政调解3号承办部门:市场监督局电话:096-8871832 法定期限:60日内监督投诉电话:096-8871832 承诺期限:55日内3、行政复议流程图项目类型:行政救济项目编号:行政救济1号承办单位:法制科电话:096-8871832 法定期限:60日内监督投诉电话:096-8871832 (办公室)承诺期限:55日内4、赔偿案件审理流程图项目类型:行政救济项目编号:行政救济2号承办单位:法制科电话:096-8871832 法定期限:两个月内监督投诉电话096-8871832 (办公室)承诺期限:55日内5、企业(公司)有关事项备案流程图项目类型:行政备案项目编号:行政备案1号承办单位:企业注册科电话:096-8871832 法定期限:15日内监督投诉电话:096-8871832 承诺期限:10日内6、拍卖企业拍卖活动备案流程图项目类型:行政备案项目编号:行政备案2号承办单位:市场监督局电话:096-8871832 法定期限:当场监督投诉电话:096-88718327、经纪执业人员情况及聘用、解聘合同备案流程图项目类型:行政备案项目编号:行政备案3号承办单位:市场监督管理局电话:096-8871832 法定期限:当场监督投诉电话:096-88718328、特殊标志使用合同备案流程图项目类型:行政备案项目编号:行政备案4号承办单位:市场监督管理局电话:096-8871832 法定期限:当场监督投诉电话:096-8871832上报存查意见9、流通领域商品质量抽查检验流程图项目类型:其他具体行政行为项目编号:其他具体行政行为1号承办单位:市场监督局电话:096-8871832 法定期限:当场监督投诉电话:096-887183210、实施现场检查流程图项目类型:其他具体行政行为项目编号:其他具体行政行为2号承办单位:市场监督管理局电话:096-8871832 法定期限:当场监督投诉电话:096-887183211、产品质量申诉处理项目类型:行政裁决承办机构:市场监督管理局法定期限:30个工作日承诺时限:25个工作日服务电话:096-8871832 监督投诉电话:096-887183212.计量器具强制检定项目类型:行政确认承办机构:市场监督管理局法定期限:5个工作日承诺时限:5个工作日服务电话: 096-8871832 监督投诉电话:096-8871832备注:食品药品和质量监督管理的行政处罚、行政强制、现场检查、听证程序流程图与工商行政管理程序流程图通用。
一、民办非企业单位行政许可流程图民办非企业单位成立、变更、注销登记流程图
民办非企业单位成立、变更、注销登记岗位人员:
民办非企业单位成立、变更、注销登记时限说明
民办非企业单位成立、变更法定时限60天,注销登记法定时限30天,部门承诺时限为20个工作日,岗位时限划分如下:
窗口登记:不计时
补齐补正:不计时
不予受理:不计时
受理审查:3个工作日
现场核查:8个工作日
审批:6个工作日
结果反馈:2个工作日
二、社会团体(分支机构、代表机构)成立、变更、
注销登记流程图
岗位人员:马俊贵丁智海
时限说明:社会团体成立、变更法定时限60天,注销登记法定时限30天,部门承诺时限为20个工作日,岗位时限划分如下:
窗口登记:不计时
补齐补正:不计时
不予受理:不计时
受理审查:3个工作日
现场核查:8个工作日
审批:6个工作日
结果反馈:2个工作日。
办理行政许可程序流程图1.准备阶段步骤一:确定申请材料清单步骤一:确定申请材料清单步骤一:确定申请材料清单步骤一:确定申请材料清单步骤一:确定申请材料清单步骤一:确定申请材料清单步骤一:确定申请材料清单步骤一:确定申请材料清单步骤一:确定申请材料清单查阅相关法规和政策,确定所需申请材料清单。
梳理所需申请材料,确保准备齐全。
步骤二:填写申请表步骤二:填写申请表步骤二:填写申请表步骤二:填写申请表步骤二:填写申请表步骤二:填写申请表步骤二:填写申请表步骤二:填写申请表步骤二:填写申请表下载或获取相应申请表格。
准确填写申请表,确保表格中的信息准确无误。
步骤三:准备辅助材料步骤三:准备辅助材料步骤三:准备辅助材料步骤三:准备辅助材料步骤三:准备辅助材料步骤三:准备辅助材料步骤三:准备辅助材料步骤三:准备辅助材料步骤三:准备辅助材料根据所申请的具体许可事项,准备相关辅助材料,如经营计划、财务报表等。
确保辅助材料符合要求,具备详尽的内容。
2.申请阶段步骤四:提交申请材料步骤四:提交申请材料步骤四:提交申请材料步骤四:提交申请材料步骤四:提交申请材料步骤四:提交申请材料步骤四:提交申请材料步骤四:提交申请材料步骤四:提交申请材料将准备好的申请材料提交至行政许可办事机构。
确认申请材料提交的时间和地点,并注意办事机构的办公时间。
步骤五:材料初审步骤五:材料初审步骤五:材料初审步骤五:材料初审步骤五:材料初审步骤五:材料初审步骤五:材料初审步骤五:材料初审步骤五:材料初审行政许可办事机构对申请材料进行初步审查。
确认申请材料是否齐全、符合要求。
步骤六:现场勘验步骤六:现场勘验步骤六:现场勘验步骤六:现场勘验步骤六:现场勘验步骤六:现场勘验步骤六:现场勘验步骤六:现场勘验步骤六:现场勘验部分行政许可事项需要进行现场勘验。
行政许可办事机构将通知申请人进行现场勘验。
3.审批阶段步骤七:内部审批步骤七:内部审批步骤七:内部审批步骤七:内部审批步骤七:内部审批步骤七:内部审批步骤七:内部审批步骤七:内部审批步骤七:内部审批行政许可办事机构内部进行审批。
吉市安监管字〔2009〕185号
关于修订《吉安市安全生产监督管理局
行政许可项目办理流程图》的通知
局各科室:
根据省安监局《关于进一步精简全省安全生产行政审批事项的通知》(赣安监管政法字[2009]204号)和吉安市人民政府《关于进一步精简市级市级行政审批事项的决定》(吉府发〔2009〕8号)文件精神,为做好市本级相关行政许可事项,现将重新修订的《吉安市安全生产监督管理局行政许可项目办理流程图》印发给你们,请认真贯彻实施。
本流程图从12月18日起开始实施。
二〇〇九年十二月十五日
主题词:行政许可项目办理流程图通知
抄报:市政府办公室,市行政服务中心管委会
抄送:局属各单位,各县(市、区)安监局
吉安市安全生产监督管理局办公室2009年12月15日印发
吉安市安全生产监督管理局行政许可项目办理流程图
注:1、窗口既为行政服务科;
2、办理流程中的“天”指工作日。
一、特种作业操作证
二、非煤矿矿山建设项目和用于生产或者储存危险物品、使用危险化学品、以及具有较大安全风险的建设项目安全设施设计审查、竣工验收审批
三、生产经营单位(煤矿除外)主要负责人和安全生产管理人员安全知识和安全管理能力认定
四、危险化学品经营许可证(部分甲、乙种)
五、危险化学品生产、储存企业设立审批
六、安全培训机构资格认可
七、非煤矿矿山企业安全生产许可证(部分)
八、烟花爆竹经营(批发)许可证
九、作业场所职业安全卫生许可证
十、非药品类(一类)易制毒化学品经营许可证。