人力资源管理体系工作流程图很很完整
- 格式:doc
- 大小:303.50 KB
- 文档页数:18
人力资源管理全套流程图及工作标准1.招募形式招募有内部与外部两种方式。
对已确认需求的招聘,行政人事部可在公司范围内优先考虑内部余缺调剂和进行内部招募,用人部门应予以支持。
对有特殊要求的增补岗位,经公司内部平衡调剂或内部招募不能解决的,再面向社会公开招募。
2.招募途径2.1参加人才招聘洽谈会;2.2专业人才网站招聘(免费、付费);2.3报纸广告招聘;2.4猎头公司合作;2.5公司内部推荐;2.6与学校及相关专业机构合作;2.7行政人事部自己挖掘。
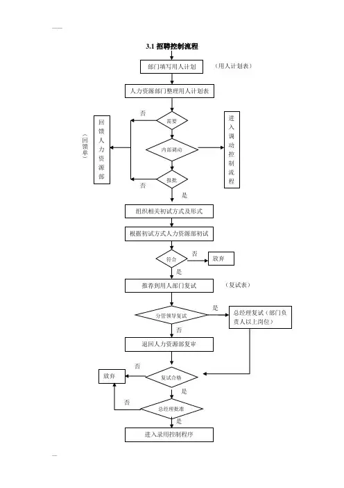
3.招募程序3.1 用人部门填报《职位空缺申请表》,行政人事部与用人部门共同确定招聘方案。
3.2 行政人事部负责收集人员增补申请表,即行拟订招募计划,内容包括下列项目:3.2.1招聘岗位及人数;3.2.2希望到职时间;3.2.3工作职责;3.2.4任职资格。
3.3 发布招募信息。
3.4 应聘信息处理。
3.4.1需求信息发出后对收到的求职资料,行政人事部将根据岗位要求与应聘者的情况对应聘人员进行初步筛选,并将比较合适的应聘资料推荐给用人需求部门;3.4.2用人需求部门应在接到应聘材料两天内将需要面试的应聘材料交由行政人事部安排,经审核后,行政人事部对合格应征者发出“初试通知”,通知应聘者前来本公司接受甄选。
(1)对于不合格应聘资料,归档一个月后销毁;(2)因违纪等原因,被公司开除的员工不具备再录用资格。
4.甄选4.1 由用人部门、行政人事部组成招聘小组;并明确各方职责:4.1.1用人部门(1) 负责提供专业技术测试题;(2) 负责招聘人员专业胜任素质项的考察、评价;(3) 协助参与涉及本业务职位人员专业胜任素质项的考察、评价。
4.1.2行政人事部(1)负责整个招聘过程组织、安排;(2)负责招聘人员基本胜任素质项的考察、评价及涉及公司薪酬、福利、培训发展等事项面谈;(3) 负责出具应聘人员综合评价意见。
4.2 招聘小组各方根据笔试、面试情况出具填写《面试评估表》,行政人事部根据各方评价出具综合评价意见,且确定拟录用人员。
人力资源部工作流程图
招聘.
用人部门人力资源部人力资源部经理公司总经理关联流程
入职
后仍不能适应工作终止并通要求的知部门试用期间不符合录N
用条件的书面严重违反公司规章审批经理会讨论处理意见意见制度的被依法追究刑事责Y
任的社保停缴发布开除文件社保
扣发薪金并送达员工薪酬员工员工离职辞职申请表档案记入档案员工离职通知审批取消申请N
Y
指定工作接收人
预估最后
工作日
员工离职期获知发布离职预告预告表
若有协办事宜书面通知工作交接交接顺利可办理
审批离职审批手续会签N
Y
社保停缴人事调出档案调出交接不离职面谈社保日足30 结算薪金薪酬其他签署意见批准部门经理书离职审批手续面意见社保停缴社保
扣发薪金薪酬
档案记入档案员工离职通知。
人力资源部管理体系及工作流程图人力资源部工作流程图人力资源部工作流程图1人力资源部工作流程图人力资源部工作流程图(总图) 公司发展战略组织机构职责结构图组织结构设置工作分析职位说明书定岗定编年度编制计划招聘绩效管理薪酬福利培训发展员工关系……岗位劳动合同考核薪酬调整入职评估福利人才储备试用转正培训考勤职业休假生涯档案奖惩离职员工活动员工进入——退出公司轨迹招聘劳动合同入职入职培训试用非正常退出享受公司支持终解转正辞薪福奖辞培止除职退酬利惩训劳劳正常工作动动执行公司制度合合考考评请…同同接受岗位调整勤核估假… 待晋降转调岗升职岗薪2人力资源部工作流程图退休人力资源部各部门间工作交接流程图各部门人事专员人事主管培训企划主管薪酬福利主管人力资源经理行政助理每月初5日前汇总上报部门考审批审核勤汇总每月初5日前上报每月人备案审核备案员汇总人员需每月15日前上报审核审批求申请Y 实施确定招聘途径确定薪酬培训人员招聘到位3人力资源部工作流程图招聘用人部门人力资源部人力资源部经理公司总经理关联流程4人力资源部工作流程图人员空缺工作分析职位说明书Y 有无编制确定招聘方式 N内部外部Y 发布招聘信息Y 审批审批增补申请推荐自荐信 N取消或延期招聘会媒体聘渠道确定招聘渠校园道其他发布招聘信息收集筛选简历初试简历通过未通过资格验证存档未通过复试通过复试经理级以上通过复试通过确定录用人录用选通知书待遇谈判薪酬不接受接受入职录用档案绩效管理——考核被考核人考核人人力资源部公司总经理关联流程5人力资源部工作流程图考核启动公司考核项目申请表审批公司考核项目申请公司考核项目员工考核员工考核项目指定申请结束项目自定当月考员工考核项目核评审确定启动员工考核考核评审考核表项目自评确认公司考核项目评分表考核表反馈当月考核评绩效评价审结束考核记录考勤发布/归档考核考勤表薪酬绩效管理——评估6人力资源部工作流程图被评估人评估人(部门) 人力资源部总经理关联规程工作表现自评个人报告书评价绩效考核绩效是否符合岗位要求N 保持 Y 劳动合同培养人才储备晋升岗位调整奖励奖惩培训培训处罚奖惩待岗岗位调整不续签劳动合同辞退离职沟通评价结论确认评价改进计划同意不绩效评档案同备案估表意一次申诉受理调查N Y 维持原结论薪酬7人力资源部工作流程图外部信息员工人力资源部总经理关联流程工作分析职位说明书岗位级别岗位评价表薪酬水平薪酬调查行业统计数据福利及其它补贴国家法律法规绩效评绩效评估估表N 薪金调整方案制定年度薪审批金调整方案浮动工资调整方案Y 福利调整方案实施年度薪金调整方案薪酬、福利制作通知调整通知发布文件人事通知签字确认单考核考勤考核考勤表福利奖惩其它 N计算薪金审批月薪金表Y财务部接收月工资明细福利——社保8人力资源部工作流程图参保人员人力资源部人力资源部经理公司总经理关联规程福利制订年度社保基数调整方案国家政策审批审批年度社保基数调整方案执行和备案个人资料审批提供签署意见缴纳标准备案办理社保增员/减档案员/汇缴手续社保缴纳月报表财务部转账社保个人扣缴/报销明细表薪酬奖惩9人力资源部工作流程图员工部门经理人力资源部人力资源经理总经理关联流程绩效评估相关部门规程人事部门调查取证并作书面总经理指派专行为表现行为表现结论案小组调查取及结果及结果证并作书面结论行为表现部门经理或相及结果关部门调查取证并作书面结论审批奖惩决定 N Y 终止一次申诉机会书面形式理由是否提交成立 Y N 维持原决定取消或改变原决定终止发布文件通报表扬奖励薪酬专项奖励优秀员工…… 实施通报批评薪酬处罚罚款离职开除起诉法律程序文件存档档案岗位调整10人力资源部工作流程图员工部门人力资源部总经理关联流程考核固定时间的部门经理会讨论,综合评价员工岗位调整评估评价结果告知相关人员人事通知单签字确认 (评价结果)档案存档非固定时间的岗位调整根据业务规划和工根据公司发展或规划需作计划,或员工不胜因个人爱好特长要,提出岗位调整议案任岗位工作,提出岗等提出岗位调整位调整的书面报告的书面申请汇总并形成处理意见书面意见审批经理例会讨论决定 YN取消岗位调整获知获知获知执行批示调薪薪酬晋升劳动合同降职劳动合同转岗劳动合同待岗劳动合同人才储备11人力资源部工作流程图员工/主管部门经理人力资源部人力资源经理总经理关联流程绩效评估表现提名提名表现编入人才发展名单审批N 终止Y素质测评考察培训计划工作内容拓展计划编制培养确认确认计划计划实施培训工作表现工作表现考察考察N 考察报告考察报告审批Y储备人才库岗位调整人才储备报告书反馈给各提名者12人力资源部工作流程图培训员工部门人力资源部总经理关联流程人才储备培训需求绩效评估工作分析培训需求职位说明书目的分析满足必备入职培训知识技能在职培训满足发展知识技能选择培训方式选择培训课程制定培训场地确定预算N制定培训计划审批Y 参加实施培训计划培训培训测试参加考试培训效果总结批转绩效评估评估远期近期培训评估表记录档案培训档案劳动合同13人力资源部工作流程图员工人力资源部法务部备注入职合同制确定退休人员签署合同类别临时人员其他人员确定合同编号劳动合同书制作劳务协议合亲笔签名同其他协议盖章一式两份存挡个人留存档案岗位调整劳动合同变更制作变更协议绩效评估劳动合同续订劳动合同续订书离职劳动合同岗位调整解除/终止人事通知单签名确认入职14人力资源部工作流程图新员工用人部门人力资源部相关职能部门关联流程招聘行政部设施提前一个工作日提供聘用员工工程部开通发布入职通知网络、电话入职准备工作确认照片一寸两张收身份证报到取学历证资学位证料职称证……存档档案签订劳动合同劳动合同熟悉工作环境考勤录入公司劳资保部门工作介新员工入职通知险转入绍办理工资卡新员工须知阅读并遵照执行员工手册入职培训/考核培训进入试用期试用试用转正15人力资源部工作流程图试用员工用人部门人力资源部总经理关联流程入职进入试用期绩效考核工作表现考核及反馈转正申请书提交直接领导确认直接领导对试试用考核单用员工工作评绩效评估价,签署意见人事部签署意见审批不合格终止合同离职人事通知单合格员工留存 (转正)试用期结束转为正式员工档案存档转正薪酬考勤16人力资源部工作流程图员工直接领导部门行政专员人力资源部总经理关联流程上下员工刷卡记考勤记班刷录核对录说明卡签署意见刷卡记休假考勤统计录抽查有无异常N 薪酬考核考勤表考勤确认审核Y签署意见事实调查并提出处理意见N Y薪酬执行批示离职休假17人力资源部工作流程图员工直接领导人力资源部总经理关联流程请假申请单审请假批申请请假性质确认Y N延迟或取签署意见消请假请假7天(含)以上审批Y N存档员工休假表反馈给员工个人考勤统计考勤18人力资源部工作流程图档案员工人力资源部总经理存档机构关联流程人事档案试用转正档案转入/转关于调入/调出职商调函出申请工档案的申请商调函转递档案自带档案转递公司指定人才机构存档个人认为有必要放入档案的保存回执资料N定期核算存档费用审批Y费用结算财务部建立公司内部入职员工档案身份证明学历学位证明入职各类证书招聘资料招聘劳动合同及附件劳动合同试用转正文件试用转正各类人事通知单奖惩文件奖惩绩效评估报告绩效评估离职文件离职个人认为有必公司内部员工档案要放入档案的整理保存资料长期保存19人力资源部工作流程图离职员工部门人力资源部人力资源经理总经理关联流程患病或非工伤医疗期满后,不能胜任辞退工作的奖惩因公司机构调整无员工绩效评估合适工作安排的经培训或岗位调整后仍不能适应工作终止并通要求的知部门试用期间不符合录N 用条件的书面严重违反公司规章审批处理意见经理会讨论意见制度的被依法追究刑事责Y 任的发布开除文件社保停缴社保并送达员工扣发薪金薪酬员工员工离职辞职申请表记入档案档案员工离职通知审批取消申请N Y指定工作接收人预估最后工作日员工离职期发布离职预告获知预告表若有协办事宜书面通知工作交接交接顺利可办理审批离职审批手续会签Y N社保停缴人事调出档案调出交接不离职面谈社保足30日结算薪金薪酬其他签署意见批准部门经理书离职审批手续面意见社保停缴社保扣发薪金薪酬档案记入档案员工离职通知20人力资源部工作流程图21。
人力资源部工作流程图(超详细)
人力资源部门的工作关系到企业的良好运转,其每一个工作环节都必须有章可循。
下面博天小编为大家收集了人力资源部工作每一环节的工作流程图,从员工进入-退出公司轨迹,招聘流程,绩效管理考核以及评估,薪酬操作流程,福利-社保,奖惩,岗位调整,人才储备,培训,劳动合同等都有了一个清晰的梳理,建议大家收藏或分享给圈内好友,时不时能对照理一理自己手头的工作。
人力资源工作总图
员工进入-退出公司轨迹
招聘流程
绩效管理-考核
绩效管理-评估
薪酬操作流程
福利-社保奖惩
岗位调整人才储备培训
培训
劳动合同入职
试用转正考勤
休假
档案。
标准规范化人事管理,这张人力资源工作流程图足矣(值得收
藏)
一、人力资源工作流程【总图]
二、员工进入-退出公司轨迹
三、招聘流程
四、员工试用转正工作流程图
五、员工入职手续办理流程图
六、签订劳动合同工作流程图
七、员工培训工作流程图
八、员工休假工作流程
九、员工考勤工作流程
十、薪酬管理工作操作流程
十一、岗位调整工作流程图
十二、绩效管理工作流程图-评估
十三、绩效管理工作流程图-考核
十四、档案管理工作流程
十五、奖惩工作流程图
十六、福利工作流程-社保
十七、人才储备工作流程图
十八、员工离职管理工作流程图
这套流程图,非常有利于优化企业的人力资源流程,包括招聘、培训、入职、绩效管理等,对于很多管理不完善的企业来说,大有裨益!
文:曾老师。
人力资源管理体系工作流程图很全很完整人力资源管理体系工作流程图人力资源管理体系工作流程图是一种可以帮助企业管理人力资源的重要工具,通过图表展示了企业管理人力资源的工作流程。
完整的人力资源管理体系工作流程图应该包含以下内容:1. 人力资源规划人力资源规划是企业管理人力资源的第一步。
在这个阶段,企业需要对自身的发展战略进行分析,确定需要哪些人才来支持企业的发展,以及在哪些领域需要加强人才的配置。
人力资源规划的具体步骤如下:1)企业制定长期和短期的人力资源规划。
2)根据企业的发展战略和业务需求,确定所需人才的岗位及数量。
3)分析现有人力资源情况,如员工的年龄、学历、技能等,以及将来可能会出现的人力资源缺口。
4)根据现有和将来可能需要的人力资源情况,制定招聘计划。
2. 招聘和面试根据人力资源规划的结果,企业需要进行招聘和面试工作,以寻找合适的人才。
招聘和面试的具体步骤如下:1)企业根据所需岗位,制定招聘计划。
2)发布招聘信息,吸引合适的人才。
3)筛选简历,按照岗位和条件进行初筛。
4)邀请符合要求的候选人参加面试。
5)进行面试,并评估候选人是否符合岗位要求。
6)确定录用人选。
3. 培训和发展企业需要通过培训和发展来提高员工的技能和素质,并在员工的职业生涯中提供发展机会。
培训和发展的具体步骤如下:1)根据员工的职业发展需要,制定培训计划。
2)确定培训内容和方式。
3)进行培训,并评估培训效果。
4)为员工提供发展机会,如晋升、调岗、担任重要职务等。
4. 绩效管理绩效管理是评估员工工作表现和提高员工工作积极性的重要手段。
绩效管理的具体步骤如下:1)确定考核标准和方式。
2)向员工明确考核标准,以便员工清楚自己应该做什么。
3)进行考核,评估员工的工作表现。
4)根据考核结果,给予员工奖励或处罚。
5. 薪酬管理薪酬管理是给予员工适当的薪酬和福利的重要手段,可以提高员工的工作积极性和减少员工流失。
薪酬管理的具体步骤如下:1)制定薪酬政策和标准。
超全的人力资源工作流程图,含招聘、绩效、培训、薪酬等,
很详细!
很宝贵的资料,人力资源工作的每一环节都梳理的很清晰了,建议大家收藏或分享给圈内好友,时不时的能对照理一理自己手头的工作。
1.人力资源工作总图
2.员工进入-退出公司轨迹
3.关于招聘流程
4.关于绩效考核
5.关于绩效评估
6.关于薪酬操作流程
7.关于福利-社保
8.关于奖惩
9.关于岗位调整
10.关于人才储备
11.关于培训
12.劳动合同
13.关于入职
14.关于试用转正
15.关于考勤
16.关于休假
17.关于档案
18.关于离职
声明:素材源自网络,版权归原作者所有,如有侵权请联系处理。