企业财务管理流程制度设计方案
- 格式:docx
- 大小:768.36 KB
- 文档页数:14
企业财务管理流程制度设计方案一、引言财务管理是企业经营活动的重要组成部分,它对企业的发展起到了至关重要的作用。
为了规范企业的财务管理流程,确保企业的财务管理工作高效、有效地进行,制定一套科学合理的财务管理流程制度至关重要。
本文将从企业财务管理的特点出发,设计一套适合企业的财务管理流程制度。
二、企业财务管理的特点1.复杂性:企业财务涉及到多个方面,如经营活动、资金管理、投资决策等,所以财务管理的流程相对而言比较复杂。
2.高度敏感:财务信息的准确性对企业决策和经营活动具有重要影响,所以财务管理要求反应快速,及时准确。
3.风险性:财务管理涉及资金的配置和风险的控制,所以需要建立科学的管控机制,防范风险的发生。
4.紧迫性:财务管理通常是企业经营活动的一个紧迫任务,需要时刻关注,确保财务管理工作的顺利进行。
1.确立核心目标和指标企业应该在财务管理流程设计之前,明确核心目标和指标,以确保流程制度的一致性和有效性。
核心目标可以包括财务盈利能力、偿债能力、效益和市场份额等方面指标。
2.确定财务管理职责财务管理需要有明确的职责划分,确定各个职责的负责人和具体职责。
一般来说,财务管理可以包括财务规划、预算管理、成本控制、投资决策和资金管理等方面。
3.设计财务管理流程根据企业的实际情况,设计一套科学合理的财务管理流程。
财务管理流程可以包括以下几个环节:(1)财务规划:制定财务目标和长期计划,确定财务管理的方向和重点。
(2)预算管理:根据财务规划,制定年度预算和季度预算,进行预算执行和控制。
(3)成本控制:建立成本核算系统,控制企业各项成本,确保成本的合理化。
(4)投资决策:建立投资评估体系,对各项投资进行评估和决策,确保投资的回报。
(5)资金管理:建立资金流动和资金使用的管理制度,确保资金的安全和高效利用。
(6)财务报告:制定财务报告的编制和披露制度,确保报告的准确性和及时性。
(7)内部控制:建立内部控制制度,确保企业经营活动的合规性和风险控制。
财务管理制度及流程图1.财务管理制度财务管理制度是指企业内部为规范财务管理行为而制定的一系列规章制度。
其主要目的是确保企业财务状况的稳定和可持续发展,保障企业、员工和股东的利益。
通常,财务管理制度包括以下内容:(1)财务管理组织机构及职责:明确企业内部的财务管理组织机构,定义各个机构的职责和权限。
(2)会计核算制度:规定会计核算的基本方法和原则,确定财务报表的编制标准和报送周期。
(3)财务预算制度:设置财务预算制度,明确企业财务预算的编制和审核程序,以及预算执行的监督和责任。
(4)资金管理制度:制定资金运营的流程和管理规范,确保企业的资金安全和有效利用。
(5)成本管理制度:规定成本管理的基本方法和程序,为企业的成本控制和成本优化提供依据。
(6)审计制度:明确企业内部审计的方法、程序和责任,并定期开展审计工作。
(7)税收管理制度:规定企业对税务事务的管理制度和操作程序,保障企业合法纳税。
2.财务管理流程图财务管理流程图是指企业内部财务管理程序的图形化展示,每个步骤的详细流程和职责都应在图中明确标示。
财务管理流程图一般包括以下几个主要过程:(1)财务预算:企业依据管理目标、市场需求和内外部环境因素,制定年度财务预算。
(2)日常会计核算:企业应按照会计核算准则和实际情况,及时、准确地记录和报告财务业务。
(3)资金管理:企业应将资金投入到合适的项目中,实现资金的最优配置。
(4)成本控制:企业为了控制成本,应制定规范的成本核算方法和流程。
(5)审计:企业内部应委托专业机构对企业的财务状况进行审计。
审计的目的是发现企业财务管理中的问题和风险,并建议改进。
(6)报税:企业应通过合规的报税流程,按照法律规定及时缴纳税费。
总之,财务管理制度和流程图的建立对企业财务管理至关重要,它可以帮助企业规范财务管理,建立合理的财务系统,加强内部控制和风险管理,提高企业的经营效率和利润率。
财务管理制度制定流程图财务管理制度是公司为规范公司内部各项财务管理工作,提高财务管理水平,防范风险,保证资金的安全有序流动而制定的一套内部管理制度。
财务管理制度的制定可以避免公司在财务方面出现漏洞、弊端和风险,从而有效维护公司的利益和盈利。
那么,财务管理制度的制定流程是什么呢?本文将会为您详细介绍。
第一步:明确制定需求公司首先需要明确财务管理制度的制定目的、范围、方向和重点。
这是制定财务管理制度的前提和保障,也是保证制度制定的科学和有效性的基础。
第二步:制定编审计划确定财务管理制度的制定计划,包括时间表、编审流程、责任人、编审内容等。
这是财务管理制度的具体制定流程,需要明确计划和流程,以确保制定的财务管理制度的合理性和科学性。
第三步:收集资料并编写制度根据制定计划要求,收集、整理和分析与财务管理相关的政策法规、企业文化、管理制度等基础信息,编写财务管理制度的相关内容。
编写完成后,需要对整个财务管理制度进行审核和修改,确保其合规、清晰、可操作性强。
第四步:内审和审批制定完成后,进行内部审核和审批,确定其适用性和合规性,并进行必要的修订和调整。
内部审核人员要保证审核的严谨性、合理性和可靠性。
审批人员要保证审批的及时性和准确性。
第五步:发布和执行制定财务管理制度后,需要通过公司内部的系统和渠道发布出去,确保所有相关人员都清楚了解该制度的内容和执行方法。
制度的发布通知中要注明制度的执行时间和涵盖范围,并对执行责任人进行明确和落实。
结语财务管理制度制定是公司内部财务管理的重要组成部分。
制定财务管理制度不仅可以提高管理效率,防范风险,还可以使企业因为风险问题而造成的资金浪费和损失降到最低。
通过以上5个流程,锁定制度的实现过程,能够提高制度的透明度和可操作性,实现保障公司利益的目的。
财务管理制度及流程三、财务管理部门负责集团的财务管理工作,包括会计核算、预算管理、资产管理、投资管理、资金管理、应收及预付账款管理、流动资金管理、固定资产管理、无形资产、递延资产管理、收入、成本、费用管理、利润及利润分配、财务报告及财务分析等。
四、财务管理部门应当建立健全财务管理制度,规范财务管理流程,确保各项财务工作的合法性、规范性和准确性。
第五章财务管理部组织法构图财务管理部门应当根据集团的财务管理需要,建立科学的组织架构,明确各岗位职责,确保各项财务工作有序进行。
第六章财务管理部部门岗位职责财务管理部门应当根据各岗位职责和权限,明确各岗位的职责范围和工作内容,确保各项财务工作有序、规范地开展。
第七章财务人员岗位职责1.财务总监岗位职责:负责制定和实施集团的财务管理制度和财务管理方案,负责监督和管理财务工作,对外代表集团签署财务文件。
2.主管会计岗位职责:负责会计核算、会计档案管理、财务报表编制及税务申报等工作。
3.出纳岗位职责:负责现金、银行存款及支票的管理和支付,确保集团资金安全。
第八章财务工作的管理要求1.预算管理的要求:制定科学合理的预算方案,加强预算执行管理,确保预算的合理性和准确性。
2.资产管理的要求:建立资产档案,加强资产管理,确保资产的安全和完整。
3.投资管理的要求:加强投资决策和投资管理,确保投资的合理性和风险可控。
4.资金管理的要求:建立资金管理制度,加强资金监管,确保资金的安全和有效利用。
5.应收及预付账款管理的要求:建立应收及预付账款管理制度,加强账款管理,确保账款的及时回收和准确核销。
6.流动资金管理的要求:建立流动资金管理制度,加强流动资金监管,确保流动资金的安全和有效利用。
7.固定资产管理的要求:建立固定资产管理制度,加强固定资产监管,确保固定资产的安全和有效利用。
8.无形资产、递延资产管理的要求:建立无形资产、递延资产管理制度,加强无形资产、递延资产监管,确保无形资产、递延资产的安全和有效利用。
财务管理制度及流程规范化设计技巧财务管理是企业管理中的一项重要内容,它对企业的健康发展有着至关重要的作用。
制定和实行合理的财务管理制度及流程规范化设计技巧是企业财务管理的关键,下面就让我们来看一看财务管理制度及流程规范化设计的技巧。
一、财务管理制度的设计技巧1合理的分类财务管理制度应按照不同的管理职能进行分类,例如会计核算、资产管理、预算管理、税务管理等。
不同职能的管理制度应分门别类、各具特色,在实际运用中应该更为具体、更有针对性。
2 .精简而不失完备性财务管理制度应简洁明了,理论实用而不失全面性,财务人员可以快速收集和理解制度的主要内容,同时又能满足具体业务的需要。
3 ,确保全面性制度应涵盖财务管理的各个环节和所有职能的具体操作,涵盖全面性,使其具有普适性、适用性和实用性,同时还要符合公司法律法规和国家相关法律法规。
4 .有效的控制措施财务管理制度应当为各个职能的执行者提供有效的控制措施。
其效果应是减少了内部控制的成本,防范了内部舞弊和挪用资金等违法操作的风险。
二、财务管理流程规范化设计技巧1确定流程的负责人和责任分工每个流程都应有专职的负责人,负责工作的实施,确保流程的有效运行。
同时,对于每个执行流程的部门,应对其职责进行明确的规定,防止流程错位和责任缺失。
5 ■明确流程的输入、输出及标准在设计财务管理流程时,需要确定输入和输出的具体内容以及标准,以保证流程各个环节的信息是准确的、完整的和可靠的。
同时,流程标准也应适合公司大部分职位的员工,并能够达到业务流程的快速处理。
6 .界定流程的相关控制方式在流程中应制定相关的控制措施,如审批制度、风险防范措施、流程监管体系等,在保证流程运转效率的同时,实现风控的有效管理。
7 ■建立财务流程的监督检测机制建立监督检测机制,通过对流程的监督和检测,防止流程环节漏洞,严格防范财务管理中的内部舞弊和其他违法行为。
综上所述,财务管理制度及流程规范化设计技巧对于企业的财务管理非常重要。
公司财务制度及流程是指公司内部关于财务管理的一系列规定和步骤。
它们的目的是确保公司财务活动的合规、高效和透明。
下面是一般的公司财务制度及流程概述:1. 会计制度:公司应制定符合国家会计准则的会计制度,明确会计核算的原则、方法和程序。
2. 财务预算:公司应制定财务预算,并根据需求进行合理的预测和规划。
3. 财务报表:公司应按照规定时间和格式编制财务报表,包括资产负债表、利润表和现金流量表。
4. 成本控制:公司应建立成本控制制度,定期核算和分析各项成本,并采取措施控制和优化成本。
5. 资金管理:公司应建立健全的资金管理制度,确保资金的充分利用和安全运作。
6. 收付款流程:公司应建立明确的收款和付款流程,包括信用控制、账务处理和资金调拨等环节。
7. 费用报销:公司应建立费用报销制度,规定员工的费用报销范围、审批流程和报销方式。
8. 货币管理:公司应建立货币管理制度,确保货币流通的合规和有效。
9. 税务管理:公司应遵守国家税法和税务政策,按规定申报纳税并及时缴纳税款。
10. 内部控制:公司应建立内部控制制度,确保财务活动的合规、安全和有效。
注意:以上仅为一般性的公司财务制度及流程概述,实际情况可能因公司性质、规模和行业特点等有所不同,具体应根据公司的具体情况进行制定和执行。
公司财务制度及流程(2)是指公司在财务管理方面制定的一套规范和程序,旨在确保公司财务活动的规范性、透明度和高效性。
以下是一般公司的财务制度和流程:1. 会计准则和规范:公司按照当地的会计准则和规范进行财务记录和报告,以确保财务数据的准确性和可比性。
2. 财务管理岗位设置:公司设立财务部门,并设立财务总监及相关的财务管理岗位,以负责公司的财务活动和管理。
3. 预算编制和审批:公司制定年度预算,并根据预算进行日常财务决策。
预算需要经过相应部门的审批和公司高管的批准。
4. 财务报告和审计:公司按照规定时间周期制作财务报告,包括利润表、资产负债表和现金流量表等,并进行内部审计和外部审计,确保财务报告的真实性和合规性。
精品文档企业财务管理流程制度设计方案1 财务预算编制流程.精品文档2生产成本控制流程.精品文档3 固定资产管理流程.精品文档4 存货管理工作流程.精品文档5 投资决策管理流程.精品文档6 融资管理工作流程.精品文档7 财务分析工作流程.精品文档8 税务筹划流程.精品文档9 报税工作流程.精品文档10 货币资金管理规定.精品文档精品文档各类银行存款的支票预留印鉴和密码,由财务负责人和出纳人员分别保管,不得向其他部门1个人借用、泄露,如因借用泄密而造成损失,则由当事人负责赔偿银行出纳人员对发生的结算业务,要根据合法、正确和完整的收支凭证依业务发生的先后顺1登记入账,每日终了应结出余额每月最后一个工作日,银行相关人员将银行存款日记账与银行对账单核对并编制“银行存款1额调节表,做出未达账项调节表,查明未达账项的原因并妥善做出处理,防止差错公司所有银行存款结算凭证需包括凭证名称、凭证签发日期、公司名称和账号、公司开户银2的名称、结算金额、结算内容、凭证联次及其用途、公司及其负责人的签章等内容各种凭证的内容必须填写准确完整,做到不错、不漏,若写错应作废,并在其上面加盖“作废2戳记,且应完整保存不得撕毁支票管公司严格规定不准签发空头支票,不准签发远期支票套取银行信用,不准签发、取得和转让2有真实交易和债权债务的支票套取银行或他人资金如有特殊情况,金额事前难以确定,而实际情况需要用空白支票结算时,需由财务副总同意2元”字样方可签发,签发时应填好支票日期、收款公司、支票用途,并在支票上加注“限领用支票办2借用支票时必须先填写“支票领用单,并经主管该业务的负责人签字后才可到出纳人员处领取支票1.出纳人员将支票呈财务部经理批准签字,并加盖印章、填写日期、用途、登记号码,然后领用人在2.票领用簿上签字,以备查支票付款后,经办人将签字后的发票、现金支出凭证交由会计核对,并依据金额大小交财务2理或总经理批准,完成后交出纳人员,由出纳人员根据支票存根统一编制凭证号公司因填写、开具失误或者其他原因导致作废的法定支票,应当按规定予以保存,不得随意2置或销毁公司对超过法定保管期限、可以销毁的支票,在履行审核批准手续后进行销毁,但应当建立2毁清册并由授权人员监销现金支票不论对外支付款项或补充库存,均需由财务负责人或其指定人签发2借出的转账支票如发生丢失现象,经办人员应及时向财务部报告,并向银行办理挂失手续2由于支票丢失造成的经济损失,应由丢失人赔偿,特殊情况可由财务部根据具体情况提出处3意见,经总经理或上级批准后处理附则.精品文档.。
财务管理制度和流程图一、财务管理制度财务管理制度是组织内部为规范财务活动而制定的一系列规章制度,旨在确保财务活动的合规性、准确性和透明度。
以下是财务管理制度的标准格式文本:1. 财务管理目的和原则财务管理的目的是确保组织的财务活动符合法律法规、会计准则和内部规定,同时保障资金的安全和合理利用。
财务管理的原则包括合规性、准确性、透明度、保密性和责任追究。
2. 财务管理组织机构财务管理组织机构包括财务部门和相关岗位职责。
财务部门负责组织和协调财务活动,包括会计、财务分析、预算管理等。
相关岗位职责涵盖财务主管、出纳、审计员等。
3. 财务管理流程财务管理流程包括预算编制、资金管理、会计核算、财务报告等环节。
预算编制阶段需明确预算目标、预算分配和执行控制。
资金管理阶段包括资金筹集、运作和监督。
会计核算阶段涵盖凭证录入、账务处理和财务报表编制。
财务报告阶段包括内部报告和外部报告。
4. 财务管理制度执行和监督财务管理制度的执行和监督需要建立相应的内部控制机制。
执行方面,需明确各岗位职责、权限和审批流程。
监督方面,需设立内部审计部门或委员会,定期对财务活动进行审计和评估。
5. 财务管理制度的修订和完善财务管理制度应与时俱进,根据组织内部和外部环境的变化进行修订和完善。
修订和完善需经过相关部门的讨论和审批,并及时向全体员工进行通知和培训。
二、财务管理流程图财务管理流程图是对财务管理过程中各环节的流程和关系进行图形化展示,有助于员工理解和遵循财务管理制度。
以下是财务管理流程图的标准格式文本:1. 预算编制流程预算编制流程包括预算目标设定、预算分配、预算审核和预算执行四个环节。
预算目标设定阶段由财务部门与各部门负责人进行协商确定。
预算分配阶段根据预算目标进行资源分配。
预算审核阶段由财务部门对各部门的预算申请进行审核。
预算执行阶段各部门按照预算执行计划进行实施。
2. 资金管理流程资金管理流程包括资金筹集、资金运作和资金监督三个环节。
公司财务制度及报销流程范本大全
第一章总则
第一条为规范公司财务管理,提升经营效率,保障公司资金安全,特制定本制度。
本制度适用于公司内部所有部门及员工,凡涉及财务管理、报销流程等事项,均应遵守本制度规定。
第二章财务管理
第一条公司设立财务部门,负责公司的日常财务管理工作,包括资金管理、财务报表编制、税收管理等。
第二条公司在每个财务年度结束前,应组织开展年度财务预算工作,明确全年各项财务指标及目标,为公司的经营决策提供参考。
第三条公司应严格遵守国家税法规定,按时缴纳各项税费,并遵循合理的税务筹划,尽量减少税收开支。
第四条公司应建立健全的内部控制制度,确保公司的资金安全,预防财务风险。
第三章报销流程
第一条公司员工日常报销事项包括差旅费、餐费、办公用品购买等,报销流程应按照以下程序进行:
(一)员工填写报销单,详细列明报销项目及金额,并附上相应的发票、凭证等。
(二)部门负责人审批报销单,确认费用的合理性及必要性。
(三)财务部门核对报销单内容,进行财务审核,如无异议即可安排付款。
(四)财务部门付款给员工,并做好相关记录。
第二条公司禁止员工私自报销无关费用,一经发现将追究责任。
第四章福利政策
第一条公司设立员工福利制度,包括年度奖金、节假日福利、员工旅游等,以激励员工积极工作。
第二条公司还设立员工培训计划,不定期组织各类培训活动,提升员工的综合素质。
第五章附则
第一条本制度自制定之日起生效,如有后续修改,应经公司董事会审议通过。
第二条本制度解释权归公司所有。
以上即为公司财务制度及报销流程的范本,希望能为公司的财务管理工作提供参考。
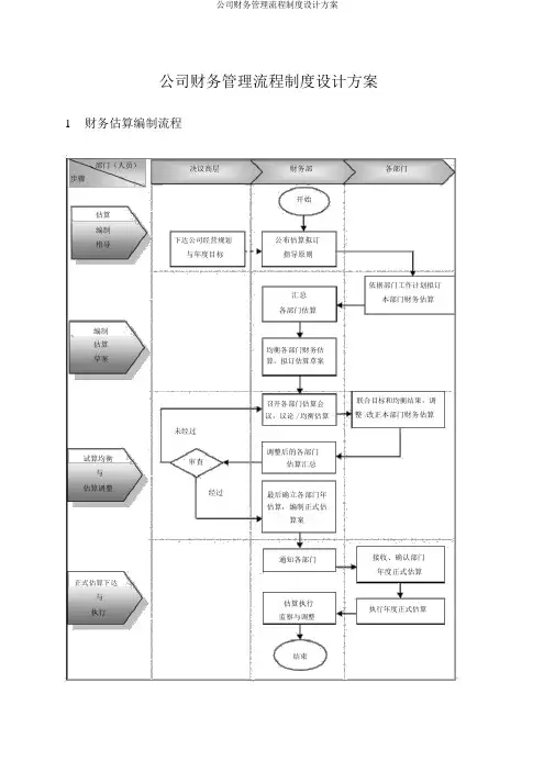
公司财务管理流程制度设计方案1财务估算编制流程部门(人员)步骤估算编制指导编制估算草案试算均衡与估算调整决议高层下达公司经营规划与年度目标未经过审查经过财务部开始公布估算拟订指导原则汇总各部门估算均衡各部门财务估算,拟订估算草案召开各部门估算会议,议论 / 均衡估算调整后的各部门估算汇总最后确立各部门年估算,编制正式估算案通知各部门各部门依据部门工作计划拟订本部门财务估算联合目标和均衡结果,调整 /改正本部门财务估算接收、确认部门年度正式估算正式估算下达与执行估算执行监察与调整执行年度正式估算结束2生产成本控制流程部门(人员)总经理主管副总财务部步骤编制成本控制计划审批审查审查审批审查审查控制计划审批与执行审查审查审批审查审查年关核算与总结生产部各车间开始制定剖析所需生产计划生产资料汇总花费编制花费控控制方案制方案编制成本控制计划组织实行成执行本控制计划按期核算剖析、改良拟订举措组织执行执行年关核算实行赏罚总结与资料存档结束3固定财富管理流程部门(人员)步骤拟订并执行固定财富管理制度主管副总财务部经理开始拟订固定财富审批管理制度会计人员固定财富管理人员有关部门执行商家比价制定申购计划审批审查固定财富审查采买固定财富登账与投入使用审批审查固定财富清点制定采买计划签批发票采买报销发票固定财富入账成立固定投入使用财富卡片成立固定财富台账按期查对按期查对报损、转移鉴定调整固定更改固定财富财富账目卡片及台账组织清点账物查对清点清点清理结束部门(人员)总经理主管副总财务部仓储部经理库房管理人员步骤开始确立最正确订货批量确立最正确订货批量确立再订货点确立安全库存量存货平时保护审查填写入库单存货平时或出库单管理保护登记存货与记录明细账查对数目,核算登记结存金额月底编制收发料汇总表制定期末存货审批按期查对清点计划组织清点实地清点存盘查对编写清点与审批审查盈亏报告清点有关账务办理结束部门(人员)步骤投资项目可行性剖析投资项目申请与审议投资项目决议确立总经理财务总监财务部有关部门开始初步确立投资项目项目可行性剖析未组织人员提交项目通进行初审投资申请过调整或更换投资项目权限外审批审查经过权限内给出建议、建议改良投资计划公布正式的投资决议方案结束6融资管理工作流程部门(人员)步骤确立融资计划实行融资工作融资工作剖析与改良总经理主管副总审批批阅审批批阅财务部开始确立融资计划执行融资计划账务办理编制融资剖析报告筹资业务管理建议融资工作改良融资工作核查融资工作核查结束7财务剖析工作流程部门(人员)总经理步骤财务总监财务部有关部门开始成立与执行财务审查剖析制度与系统组织展开财务剖析审批编制财务剖析报告及运用剖析报告运用有关部门、项目成立财务剖析制度与系统执行组织财务剖析审查剖析报告运用辅助执行明确剖析目标确立剖析指标选择剖析方法采集财务数据剖析财务报表剖析重点问题编制剖析报告辅助进行项目财务剖析、展望配合提出财务剖析展望需求财务剖析支持审查提交剖析报告工作改良结束接收、评论部门(人员)总经理主管副总财务部经理步骤规划税务拟订年度战略拟订年度财务组织展开纳税筹备筹备与目标目标工作税务筹备研究拟订审查税务筹备方案赞同审批审查税务筹备方案审批与执行税务管理人员开始研究基本状况掌握有关政策可行性剖析计算剖析综合评估拟订筹备方案优化筹备方案实行和控制结束部门(人员)总经理主管副总财务部步骤开始税种剖析明确应纳税种汇总有关科目核实账务清核查实会计凭据编制审查与会计账簿内容财务报表编制有关报表审批审查核算核算应缴税额税额审批审查填写纳税申报表审查报税支付税款支付有关资料归档结束其余有关部门配合10钱币资本管理规定编号制度名称钱币资本管理规定受控状态执行部门监察部门考据部门第1章总则第 1 条为增强公司对库存现金、银行存款、支票的控制与管理,保护公司财富安全,防止造成不用要的损失,依据国家有关法律法例,联合公司的实质状况,特拟订本规定。
企业财务管理流程制度设计方案1 企业财务管理流程制度设计方案财务预算编制流程 1 部门(人员)各部门财务部决策高层步骤开始预算编制发布预算制定下达企业经营规划指导指导原则与年度目标根据部门工作计划制定汇总本部门财务预算各部门预算编制预算平衡各部门财务预草案算,制定预算草案结合目标和平衡结果,调召开各部门预算会修改本部门财务预算/整平衡预算/议,讨论未通过调整后的各部门预试算平衡审核算汇总预算调整最终确定各部门年通过预算,编制正式预算案接收、确认部门通知各部门年度正式预算正式预算下达与预算执行执行年度正式预算执行监督与调整结束生产成本控制流程2部门(人员)主管副总各车间生产部财务部总经理步骤开始分析所需制订生产资料生产计划编制成本控制计划编制费用控汇总费用制方案控制方案编制成本审核审核审批控制计划组织实施成执行本控制计划定期核算审核审核审批控制计划审批与分析、改进执行制定措施审核审核执行组织执行年终核算审核审核审批实施奖惩年终核算与总结总结与资料存档结束固定资产管理流程3部门(人员)财务部经理相关部门固定资产管理人员会计人员主管副总步骤开始制定并执行制定固定资产审批固定资产管理制度管理制度执行制订申购计划商家比价审核审批制订采购计划固定资产采购签批发票审核采购报销发票建立固定固定资产入账投入使用资产卡片固定资产登账与建立固定投入使用资产台账报损、转移定期核对定期核对审核审定审批固定变更固定资产调整固定资产卡片及台账资产账目盘点组织盘点盘点账物核对盘点清理结束存货管理工作流程4部门(人员)主管副总仓库管理人员仓储部经理财务部总经理步骤开始确定最佳订货批量确定最佳确定再订货点订货批量企业财务管理流程制度设计方案1第2页确定安全库存量存货日常维护填写入库单审核存货日常或出库单管理维护登记存货与记录明细账核对数量,核算登记结存金额月末编制收发料汇总表制订期末存货定期核对审批清查计划实地盘点组织盘点存盘核对编写盘点审核审批与盈亏报告盘点相关账务处理结束投资决策管理流程5 部门(人员)相关部门财务部财务总监总经理步骤开始投资初步确定项目投资项目可行性分析项目可行性分析未提交项目组织人员通投资申请进行初审投资项目过申请与审议调整或改换投资项目权限外审核审批通过权限内给出意见、建议投资项目决策改善投资计划确定发布正式的投资决策方案结束融资管理工作流程6 部门(人员)财务部主管副总总经理步骤开始确定融资计划审批确定融资计划审阅执行融资计划实施融资工作账务处理编制融资分析报告融资工作分析与改进筹资业务管理建议审阅审批融资工作改善融资融资工作考核工作考核结束财务分析工作流程7 部门(人员)相关部门财务部财务总监总经理步骤开始建立财务分析制协助建立与执行财务审核度与体系分析制度与体系执行执行组织财务分析明确分析目标确定分析指标选择分析方法组织开展财务分析收集财务数据配合分析财务报表分析关键问题编制分析报告审核审批编制财务分析报告及运用分析报告运用分析报告运用提出财务分析协助进行项目财预测需求务分析、预测相关部门、项目提交分析报告审核财务分析支持接收、评价工作改进结束税务筹划流程8 部门(人员)。
企业财务管理流程及模式一、企业财务管理流程1.预算编制:企业财务管理的第一步是编制预算。
预算是企业计划实施的财务表达形式,通过对各项收支的合理分配,为企业的经营目标提供财务保障。
3.财务会计:财务会计是企业财务管理的核心环节。
通过对企业的经济活动进行记录和归集,提供企业财务状况和经营成果的信息。
财务会计包括会计核算、编制财务报表等。
4.资金运作与现金流管理:企业需要在日常运作中合理运用资金,保证企业的正常经营。
同时,企业还需要进行现金流管理,保持现金流的稳定和健康,为企业的经营提供充足的资金。
5.成本管理:成本管理是企业财务管理中的关键环节之一、它包括成本核算、成本控制和成本降低等,通过合理管理和控制成本,提高企业的利润和竞争力。
6.利润分配与资本运作:企业获取利润后,需要进行利润的分配和资本的运作。
利润分配包括税金、股息等,资本运作包括投资项目、并购等,以增加企业的投资回报率。
7.财务风险管理:财务风险管理是企业财务管理中的重要环节。
它包括对市场风险、信用风险、流动性风险等进行评估和管理,以减少财务风险对企业的影响。
二、企业财务管理模式1.传统财务管理模式:传统财务管理模式主要侧重于财务会计和成本管理等。
它注重以财务数据为基础,通过合理的会计核算和成本控制,为企业提供财务信息和决策支持。
2.现代财务管理模式:现代财务管理模式主要侧重于全面提升企业财务管理水平,强调财务管理在企业战略决策中的重要作用。
它以战略为导向,注重财务规划、风险管理和价值创造等。
3.财务共享服务模式:财务共享服务模式是一种通过集中财务资源和优化财务流程,为企业提供共享的财务服务。
它可以提高财务效率和降低成本,为企业实现财务业务的集中化和标准化。
4.数据驱动的财务管理模式:数据驱动的财务管理模式是通过大数据分析和智能技术,利用企业内外部的数据资源,提供精细化的财务管理。
它可以提高财务决策的准确性和时效性。
5.可持续发展的财务管理模式:可持续发展的财务管理模式强调企业在财务管理中的社会责任和环境保护。
企业财务管理流程制度设计方案
1 财务预算编制流程
部门(人员)
决策高层
财务部
预算 编制 指导
各部门
试算平衡
与 预算调整
开始
结束
平衡各部门财务预算,制定预算草案
结合目标和平衡结果,调整/修改本部门财务预算
召开各部门预算会议,讨论/平衡预算
审核
最终确定各部门年预算,编制正式预
算案
通过
接收、确认部门 年度正式预算
通知各部门
发布预算制定 指导原则
下达企业经营规划 与年度目标
根据部门工作计划制定
本部门财务预算
汇总 各部门预算
调整后的各部门预
算汇总
未通过
执行年度正式预算
预算执行 监督与调整
编制 预算 草案
正式预算下达
与 执行
2生产成本控制流程
3 固定资产管理流程
4 存货管理工作流程
5 投资决策管理流程
6 融资管理工作流程
7 财务分析工作流程
8 税务筹划流程
9 报税工作流程
10 货币资金管理规定
第31条本规定由财务部制定,其解释权亦归财务部所有。
第32条本规定经总经理审批通过后自发布之日起执行。
编制日期审核日期批准日期修改标记修改处数修改日期。
财务制度及流程范文财务管理制度第一章总则为规范公司的财务行为,加强财务管理和经济核算,结合本公司的特点及管理要求,特制定本制度。
公司设立财务部,财务主管岗位职责包括负责公司财务记账、核算、往来款项对账、财务报表编制、财务分析和日常财务事项的办理工作,以达到记账准确、账实相符、报表及时、内容完整的目的。
同时,公司会计资料和重要经济合同等要定期收集、审查、装订成册并编号登记,妥善保管。
财务月、季报表要在次月5日前,年度报表要在次年元月9日前分别报总经理和财务总监。
财务主管还要根据合同约定和工程进度,及时催收工程款,或按照约定核定施工队的工程预支款,以致最终结算。
结算手续签字按照公司财务管理制度执行。
同时,财务主管还负责协调与税务等部门的工作关系,办理涉税事项,配合办理上级安排的公司日常事务。
此外,财务主管还要定期组织公司固定资产、物资和流动资产的盘存、清查核实,及时处理好财产溢余和毁损账务,协调有关人员进行工程实用材料抽检工作,完成公司统计工作,并按要求及时报建设主管部门和统计部门(包括网上填报)。
出纳岗位职责包括在财务主管领导下,做好公司库存现金、有价证券的保管工作。
同时,根据合同协议条款和工程预算,经常了解工程进度,定期向财务主管汇报工程款的收入与支出事项。
出纳还要严格执行公司费用管理规定,费用类单据上要有经手人、主管负责人签字;材料款结算单要有施工队长、材料专员、财务主管签字;工程款结算单上要有工程部主管、财务主管签字。
出纳凭总经理签批后的单据办理付款事项。
员工因业务需要借支现金的,首先在出纳处填写借支单,经所在部门负责人和财务主管审核签字后,由总经理审批(总经理不在情况下由副总经理审批),方可到出纳取款。
相关业务事项完成后三日内,经办人须与出纳结清帐款。
最后,现金帐、银行存款帐要按照财务事项发生的时间顺序登记,做到日清月结、帐款相符、帐帐相符,每天登记现金日报表。
1.负责登记公司办公用品的购进和领用情况。
公司财务管理制度及流程模版第一部分:引言1.1 目的本制度的目的是确保公司财务管理的规范性、透明度和有效性,为公司决策提供准确、及时的财务信息,实现财务管理的科学化、专业化和现代化。
1.2 适用范围本制度适用于公司及其所有分支机构和子公司的财务管理工作。
所有相关人员都应遵守和执行本制度。
第二部分:财务管理职责和权限2.1 财务部门职责财务部门负责公司的财务管理工作,包括制定财务政策和目标、编制财务预算、进行财务报告和分析、管理资金和风险、协助公司决策等。
2.2 财务部门权限财务部门对公司财务管理工作有权进行监督、指导和协调,并有权制定相应的操作流程和制度,确保财务工作的顺利进行。
第三部分:财务管理流程3.1 财务预算流程3.1.1 制定年度财务预算每年底,财务部门负责协调各部门,制定下一年度的财务预算。
预算编制要充分考虑公司的发展战略和目标,并与各部门进行充分的沟通和协调。
3.1.2 审核和批准财务预算财务部门负责对预算进行审核,并报请公司领导审核和批准。
预算审批应充分考虑公司的财务状况、市场环境和未来发展前景。
3.1.3 监控和分析预算执行情况财务部门根据预算执行情况进行监控和分析,并及时向公司领导汇报。
如果发现预算执行情况与预期不符,财务部门应提出相应的调整和对策,确保财务目标的实现。
3.2 财务报告流程3.2.1 编制月度财务报告财务部门负责每月编制财务报告,包括资产负债表、利润表和现金流量表。
报告中应包含详细的财务数据和分析,以便公司领导和相关部门进行决策和管理。
3.2.2 审核和审批财务报告财务部门负责对财务报告进行审核,并报请公司领导审核和批准。
财务报告的审核应严格遵循会计准则和相关法规。
3.2.3 公布和传达财务报告财务部门负责将财务报告公布和传达给公司各级领导和相关部门。
报告应以清晰简明的方式呈现,以便读者理解和使用。
3.3 资金管理流程3.3.1 确定资金需求财务部门负责预测和确定公司的资金需求。
公司财务管理制度及流程是指在公司内部建立并执行的一套财务管理规范和流程。
以下是一个常见的公司财务管理制度及流程的概述:1. 资金管理:- 建立资金管理制度,包括资金预算、预测和管理;- 设立资金池,集中管理和统筹利用公司内部的资金;- 建立资金监控系统,定期报告和分析资金流入和流出情况。
2. 预算管理:- 制定年度预算,并将其分解为部门、项目和成本中心的具体预算;- 定期对预算执行情况进行监控和分析;- 针对偏差进行调整和控制,提高预算执行的准确性和效率。
3. 会计核算:- 遵守国家会计准则和税法法规,建立适当的会计政策和程序;- 进行日常的会计凭证录入和账务处理;- 定期编制财务报表,如资产负债表、利润表和现金流量表。
4. 成本管理:- 确定和管理公司的各项成本,如直接成本、间接成本和固定成本等;- 进行成本核算和分析,提高成本效益和控制成本增长;- 跟踪和控制成本变动,及时进行成本核准和调整。
5. 资产管理:- 建立固定资产和无形资产的登记和管理制度;- 确保资产记录的准确性和完整性;- 制定合理的资产折旧和摊销政策,进行资产管理和评估。
6. 财务监督和审计:- 建立内部控制制度,确保财务活动的合法性和规范性;- 定期进行内部审计,提供有关财务管理的建议和改进方案;- 接受外部审计机构对公司财务报表的审计。
以上是一个常见的公司财务管理制度及流程的概述,具体的制度和流程可能因公司规模、行业特点和法律法规等因素而有所差异。
公司应根据实际情况制定适合自身的财务管理制度,并不断优化和完善。
公司财务管理制度及流程(二)第一章绪论1.1 背景随着经济全球化和市场竞争的加剧,公司财务管理的重要性日益凸显。
公司财务管理制度及流程的健全与完善,不仅能够规范公司的财务管理工作,提升财务管理效率,还能够保护公司的财产安全,防范财务风险,提高公司的竞争力和可持续发展能力。
因此,建立公司财务管理制度及流程,成为每个企业必须重视的工作。
企业财务管理流程制度设计方案1财务预算编制流程
2生产成本控制流程
8税务筹划流程
9报税工作流程
核算
税额
报税
支付
10货币资金管理规定
2. 票据结算起点(1000元)以下的零星支出。
3. 银行确定需要现金支付的其他支出。
第10条现金日常收支中请审批控制
公司的现金管理必须逍照国家规定.具体操作如下图所示。
收支申请时.需注明送存现金的來源和支取的用途•同时取得或填制原始
凭证.作为收付款项的书而证明,如发票、领款做、支票存根等 财务部审批人根据其
职责.权限和相应程序对收支申请进行审批,拒绝不 符合规定的库存现金收支申请 财务部复核人员复核库存现金收支申请.包括批准范Ft 权限、金额是否 正确,于•续
及相关取证是否齐备等.复核无误后,由出纳人员办理相关手
出纳人员根据复核无误的收支申请.按规定办埋相关于•续,及时登记现金
日记账
现金日常收支申请审批程序
第11条公司对现金的控制实行日淸丿]结的制度.办理现金业务时需注总:以
下事项。
1. 登记和淸理日记账.出纳人员将、”1日发生的所有现金收付业务全部登记入账.不得私设小金库.不得 账外设账或截留收入。
2. 超过库存限额的现金应及时送存银行。
3. 超过现金支付范碉的现金通过银行转账结算。
4 •检査各种现金收付凭证,并检査取证是否相符。
5.对库存现金进行盘点,做到账物相符,保证现金的安全。
如发现账面氽额与现金实存数不符时,应査 明原因并及时进行处理。
第3章银行存款管理
第12条对于备类货币资金.应按照资金性质或业务需要.开设银行账户进行结算°
第13条财务部设辻银行存款分户账,逐日记录收、支、结存情况,并于每丿J 与锲行对账笊核对.编制 未达账款调节表.保持账账相符。
第14条银行存款的收付业务必须经相关部门负责人和财务负责人员审批签字后方可办埋.支付结算业 务资金超过元时.需经公司总经理审核批准。
第15条公司取得的资金及支付结算业务都必须及时记入公司银行账,不得设立“账外账二
第16条公司办理倾付款项应填制借款申请单••按照已签订的合同付款有关条款.由相关领导及经办人 签字,再按照审批付款手续办理。
1・收支申请
2・收支审批
第31条木规定由财务部制定.其解释权亦归财务部所有。