电熔焊机AH-2型使用说明书
- 格式:doc
- 大小:507.00 KB
- 文档页数:8
电子行业焊接机使用说明书尊敬的用户,感谢您选择使用我们的电子行业焊接机。
为了确保您的安全和实现最佳性能,我们将提供详细的使用说明和操作指南,帮助您正确操作和保养焊接机。
请仔细阅读本说明书并按照指导进行操作。
一、产品概述电子行业焊接机是一种用于焊接电子元器件的专业设备,其主要功能是通过电热原理将电子元器件与焊盘、焊脚等部件连接在一起。
本机型具有高效、稳定、安全等特点,适用于电子行业的生产和维修工作。
二、安全注意事项1. 在使用焊接机之前,请确保已经阅读并理解本使用说明书,并确保所在环境适合进行焊接操作。
2. 在使用焊接机时,请务必佩戴防静电手套,避免因静电造成的损坏。
3. 按照电源要求接入室内电力供应,确保电源接地良好。
4. 注意焊接机的散热,确保周围没有易燃物品,并保证良好的通风条件。
5. 使用前,请检查设备是否正常工作,确保所有机械部件和电器元件完好无损。
6. 在使用过程中,严禁将焊接机悬空或倾斜,以免发生意外情况。
7. 停止使用焊接机后,请拔掉电源插头,避免发生电涌或短路。
8. 注意维护电子行业焊接机的干净和整洁,根据说明书的要求进行定期保养。
三、操作指南1. 连接电源:将焊接机的电源线插入适当的电源插座,并确认电源开关处于关闭状态。
2. 设定参数:根据焊接要求,调整焊接机的参数,如温度、时间等。
3. 准备工作:将需要焊接的电子元器件放置在焊接机的工作台上,并确保焊接点与锡珠的接触面积合适。
4. 开始焊接:打开电源开关,焊接机启动后,根据预设参数,通过焊接头进行焊接操作。
5. 监控焊接过程:在焊接过程中,注意观察焊接现象,确保焊接质量良好。
如有异常情况,应及时停止焊接并检查设备。
6. 完成焊接:焊接完成后,关闭电源开关,并等待焊接机冷却后方可进行下一步操作。
7. 清洁维护:当焊接机冷却后,使用干净软布清洁焊接机表面,清除焊接渣和灰尘,确保设备干净整洁。
四、故障排除若发生以下情况,请按照以下指引进行故障排除:1. 电源无法接通:检查电源插座是否正常,检查电源线是否损坏。
电熔焊机使用说明书(钢丝网骨架复合管系列)宝鸡市骄龙电子科技有限公司安全事项请阅读这些简明的规则。
不遵守这些规则可能会导致危险或损坏设备。
设备通电焊机通电工作前,必须确保焊机电源插头与供电插座的电极相对应,特别是地线位置须确保无误!以免发生触电事故!!!防水防潮性本设备不具备防水性能。
请保持干燥!如被雨淋,确保机器干燥后方可使用!抗震碰撞性本设备在使用运输过程中禁止外力严重摔,撞和震动!尤其是施工中的机器搬运。
输出插头设备输出线的插头在机器焊接时,带有较高电压,请不要触及裸露部分以防触电!确认断电后,方可接触插头!焊接过程中禁止插拔输出线插头,否则易产生电弧,损坏插头或管件!风机出现风机不转时,会造成设备过热,加速设备的老化,损坏设备。
操作焊机在任何工作状态中,遇到紧急情况时,都可按下“返回”键停机或切断电设备在运行中,出现断路器自动断开现象,请勿再次合闸!防止故障扩大,请送厂家检修!一、概述本设备为钢塑复合管电熔连接专用全自动熔接焊机,同时也适合其它大管径塑料复合管材的连接要求。
并具有数据存储,USB接口上传下载,条码扫描输入,自动检测,自动温度补偿,软启动等多种先进功能。
为适应野外施工的需要,尽可能的减轻了重量,减小了体积,便于了施工过程的搬运。
本电源还具有防潮,防震等特点,便于在野外较恶劣的条件下工作。
本设备的控制器采用单片机控制器,能够实现条形码扫描、编程自动以及手动操控三种熔接方式。
三种熔接方式都能够对整个熔接过程实现分时,分段的恒压、恒流控制,并显示整个熔接过程的外部环境,管件等故障,在熔接前进行检测并报警。
并具有温度补偿功能,即能够根据环境温度自动调整关键熔接段的熔接时间,以达到最好的熔接效果。
拥有并丝提醒功能,更好的解决人性化界面设计,大液晶屏图文并貌,更方便理解操作。
智能操作提示让您的操作更加简便!采用进口风机强制降温,便于机器散热,提高机器使用效率!附件:电源线,输出线,磷铜头,说明书,合格证焊机图标及按键示意图自动焊接快捷键菜单键屏幕出现“菜单”字样时,下方按键手动焊接快捷键修改键屏幕出现“修改”字样时,下方按键焊机日期时间设置右移键向右移动数字下方光标及菜单界面中向右移动图标选择焊机相关设置选择键屏幕出现“选择”字样时,下方按键U盘下载功能上键键,数值修改(增)退出键执行退出当前界面功能下键键,数值修改(减)返回键执行返回功能确认键修改后保存,焊接确认,所有功能执行备注:焊机按键的当前功能为:执行按键上方屏幕中显示文字所指示的功能。
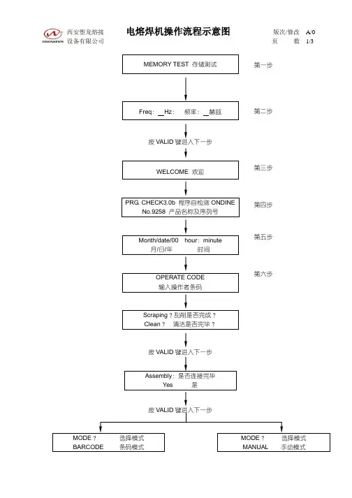
MEMORY TEST 存储测试Freq : Hz : 频率: 赫兹按VALID 键进入下一步WELCOME 欢迎PRG. CHECK3.0b 程序自检测ONDINENo.9258 产品名称及序列号Month/date/00 hour :minute月/日/年 时间OPERATE CODE 输入操作者条码Scraping ?刮削是否完成? Clean ? 清洁是否完毕?按VALID 键进入下一步Assembly :是否连接完毕Yes 是第一步第二步 第三步 第四步 第五步第六步按+、-键可改变输入模式,完毕后按VALID 键进入下一步。
若选中读码方式,则出现下面对话栏 若选中手动方式,则出现下面对话栏使用光笔读取管件上的条形码数据,如读码 按+、-键可改变焊接电压值(8V ~48V ),正确机器发出提示音,屏幕如下: 完毕后按下VALID 键进入下一步。
按+、-键可改变焊接时间值(1s ~999s ),完毕后按下VALID 键进入下一步。
按VALID键确认设定值若管件未连接好,则出现以下对话栏若管件连接好,则开始倒计时,即焊接开始焊接完毕后有响声提示,并开始冷却正计时。
按VLAID 键进入下一步按VALID 键进入第十二步 按VALID 键进入第十步注:对于手动参数输入方式,第十、十一步中调节电压与时间参数时,用+、-键对参数进行分位调节,每位调节好后按VALID键确认,直至参数调节完,某位参数下方有短线时该位参数可调。
例如:调节参数24V/678s,在第十步中,先调参数24V的十位数字,该位下方有短线,用+、-键将该位数字调为2,按VALID键确认该位数字,同时开始对个位进行调节,将个位数字调为4,按VALID键确认后进入第十一步,开始调节焊接时间;同上述方法一样,将焊接时间调为678s,按VALID键确认即可。
全自动电熔焊操作规程模版操作规程:全自动电熔焊操作规程1. 目的和适用范围本操作规程的目的是规范全自动电熔焊操作流程,确保焊接质量和安全。
适用范围为全自动电熔焊操作作业。
2. 安全要求2.1 操作人员必须穿戴个人防护装备,包括防护眼镜、防护手套和耐火服等。
2.2 操作前必须检查设备和工具的完好性,确保没有损坏和故障。
2.3 操作过程中必须注意机器设备和工作区域的安全,防止人员受伤和设备损坏。
3. 设备准备3.1 操作前必须检查全自动电熔焊机的工作状态,确保设备正常运行。
3.2 按照操作手册的要求,调整设备参数,保证焊接质量。
4. 工件准备4.1 检查工件的表面质量,确保没有杂质和油脂等。
4.2 准备焊材,确保质量和数量充足。
5. 操作流程5.1 将工件放置在焊接台上,调整焊接位置。
5.2 打开全自动电熔焊机的电源,启动设备。
5.3 按照设备参数设置相应的焊接参数,如焊接电流、电压和焊接速度等。
5.4 开始焊接,保持焊枪与工件的间距和位置稳定。
5.5 观察焊接过程中的气体排放和温度变化等异常情况,及时采取相应措施。
5.6 完成焊接后,关闭全自动电熔焊机的电源,停止设备运行。
5.7 检查焊接质量,判断焊接是否合格。
6. 故障处理6.1 若设备出现故障,操作人员必须立即停止焊接操作,确保自身安全。
6.2 若设备无法自行修复,操作人员必须及时报告维修人员进行维修。
7. 清洁和维护7.1 在焊接完成后,操作人员必须清洁焊接台和设备,确保无残留物。
7.2 定期对全自动电熔焊机进行维护保养,保证设备的正常运行。
7.3 按照操作手册的要求,对设备进行定期检查和维修。
8. 培训和考核8.1 操作人员必须接受全自动电熔焊操作规程的培训,了解操作流程和安全要求。
8.2 操作人员必须经过考核合格后,方可进行全自动电熔焊操作作业。
9. 相关记录9.1 每次进行全自动电熔焊操作作业前,操作人员必须填写操作记录,包括日期、时间和操作人员。
电熔焊机操作方法电熔焊机是一种常见的焊接设备,它主要通过电熔将两个或更多物体连接在一起。
电熔焊机主要用于金属材料的焊接,包括铜、铝、钢等。
以下是电熔焊机的操作方法。
1. 准备材料和设备首先,准备好要焊接的材料和所需的焊接设备。
检查电熔焊机的电源线是否连接,焊枪是否为空。
2. 清洁工作区域确保操作区域干净整洁,没有杂物。
清理和切割焊接表面的杂质和脏污物。
3. 设置焊接参数根据要焊接的材料和工件的要求,设置合适的焊接参数。
这些参数通常包括焊接电流、焊接时间和电压。
在设置参数之前,可以参考焊接手册或咨询专业人士以获取正确的参数。
4. 调整焊接机接下来,将焊材放入焊接机的焊枪中。
将焊材固定在焊枪上,并确保它处于正确的位置。
5. 进行预热通过打开预热开关,预热焊接区域。
预热时间通常根据材料和焊接要求而定。
6. 开始焊接将焊枪对准焊接点,按下触发器启动焊接。
焊接期间要保持焊枪的稳定,将其保持与工件表面的距离恒定。
7. 避免过热在焊接过程中,要注意不要过度加热工件,以免导致材料熔化过多,影响焊接的质量。
8. 确保焊点质量焊接完成后,检查焊点的质量。
焊点应该牢固结实,没有松动或裂缝。
如果有裂缝或不良的焊接,应重新焊接。
9. 安全操作焊接过程中要注意安全。
佩戴适当的防护设备,如手套、护目镜和防护服。
确保工作区域通风良好,避免吸入有害气体。
10. 清洁和维护完成焊接后,关闭电熔焊机并断开电源。
清理焊接区域的杂物和残留物,并定期检查和维护焊接设备,以确保其正常运行。
以上是电熔焊机的操作方法。
在使用电熔焊机进行焊接时,需要保持专注和耐心,按照正确的操作步骤完成焊接过程。
并且要注意安全,防止发生意外事故。
如果不熟悉焊接操作,建议咨询专业人士或参加焊接培训,以确保焊接质量和工作安全。
电热熔带焊接简易操作说明一、产品组件:1、电热熔带2、PE胶棒﹙需购买使用﹚二、施工工具及附件:电热熔焊机、不锈钢扣带、U型夹钳、呢绒扣带、橡皮锤、绝缘手套、电线、表面测温仪。
三、操作程序:1、将要施工的两根管子垫离地面并水平对齐。
2、清除粘在管子表面的泥土,水分及其它杂物。
3、用呢绒扣带将电热熔带包覆在管子的连接部位并包紧,有接线端子的一端置于搭接处的下层。
确定管子接缝处位于电热熔带中部。
4、把不锈钢扣带包覆在电热熔带上用U型夹钳扣住,将PE胶棒插入电热熔带搭接的合缝处,收紧不锈钢扣带,使电热熔带紧贴在管壁上。
5、将电热熔焊机电源与电热熔带相接,设定加热时间后启动电热熔焊机,仔细调节加热电流,380V电热熔焊机和和220V电热熔焊机电流设定值有较大差异,﹙加热时间和电流参见附表﹚。
在加热过程中,可通过塞入平口改刀等办法保证电热熔带与管材表面紧密贴合。
6、当电热熔过程完成后﹙此时电热熔带上测温点的温度将达到92℃左右,温度过低应延长加热时间。
﹚,关掉电源,再次适当收紧不锈钢扣带。
7、待电热熔带充分冷却后﹙冷却时间参见附表﹚,取下不锈钢扣带,施工完毕。
四、安全事项1、施工时应戴绝缘手套,接头部位潮湿时,不得进行焊接,以免触电。
2、避免电热熔后的高温接头烫伤人体。
电热熔带焊机使用说明书概述PE-2003(PE-2001)电熔带焊机,应用进口器件,引进国外先进技术制造,是PE管材的连接方法最理想设备之一。
焊机面板采用人体化设计,设有电流分档调节和连续细调,操作非常方便。
加热时间分为S、M、H三档时间调节,程序自动关断,实现自动焊接控制过程。
焊机还有过流、过压等多种保护功能,是目前最强大的熔带焊机。
1、熔焊机a)输入电压是PE-2003:220V(180V-240V),PE-2001:380V(290V-400V)d)考虑到电损失,可选择一台发电机2、焊接的准备工作3、安全注意事项1. 查电线是否有短路、漏电现象,电线的护套是否过关。
发电电焊两用机说明书及操作规程1 主题内容和适用范围本规程规定了自发电电焊两用机的操作、使用和维护保养的内容和要求。
本规程适用于小型汽油发电电焊机操作岗位。
2 岗位职责2.1 遵守设备操作规程作业,定期维护和保养设备;2.2 熟悉本岗位存在的风险和应急保护逃生知识,在紧急情况发生时能够按应急计划要求进行迅速撤离或是投入救急工作;2.3 发现事故隐患或发生事故及时报告;2.4 负责发电电焊两用机的启停操作及正常操作工作;2.5 负责小型发电电焊机的巡回检查及故障处理工作;2.6 负责《设备运转记录》的及时填写工作。
3 操作、检查、维护内容及要求3.1 操作3.1.1 启动前的准备工作3.1.1.1 电焊机应放在通风、干燥处,放置平稳;3.1.1.2 检查焊接面罩应无漏光、破损。
焊接人员和辅助人员应穿戴好规定的劳保防护用品,并设置挡光屏隔离焊件发出的辐射热;3.1.1.3 电焊机、焊钳、电源线以及各接头部位要联结可靠,绝缘良好,不允许接线处发生过热现象,电源接线端头不得外露,应用绝缘胶布包扎好;3.1.1.4 电焊机与焊钳间导线长度不得超过 30m,如特殊需要时,也不得超过 50m 长。
导线有受潮、断股现象应立即更换3.1.1.5 检查发动机燃油、润滑油等是否符合标准,视情添加补充;3.1.1.6 检查各部位固定螺栓、螺丝是否紧固;检查各部位有无渗漏。
3.1.2 启动操作与正常运转3.1.2.1 合上开关,拉动启动装置启动发动机;(注意二根焊接电缆的焊把和零线头必须分开);3.1.2.2 发动机启动后,倾听声音、看排烟,观察其工作是否正常;3.1.2.3 带发动机预热完毕,确定发动机工作正常后,开始点焊测试,检查焊机工作是否正常;3.1.2.4 根据实际情况调整焊接电流,选择合理焊接方法,开始焊接。
3.1.3 停机操作3.1.3.1 先逐步卸去负荷,空载运行一段时间;3.1.3.2 待发动机温度降至 60℃以下后,关闭开关、停机;3.1.3.3 工作完毕后,将焊把线盘好,将设备妥善存放。
成都矩美电熔焊接机说明书
1、准备成都矩美电熔焊机,需要焊接的PE管材、管件。
2、去除PE管材插入端的氧化层然后插入成都矩美电熔管件中。
特殊情况如管材插入管件不是在一条直线上,也就是说管材与管件不是同轴的,这种情况下需要用专用直线器来固定管材与管件,以减小管材插入管件的应力。
3、准备就绪后将成都矩美电熔焊机焊机的输出电极插入管件的电极柱上。
4、启动电熔焊机,扫描条形码或输入需要焊接的电压与时间参数后开始焊接。
5、在焊接倒计时结束后,在不影响管材冷却熔接的情况下可以取下输出电缆线,开始准备下一个焊接。
6、聚乙烯管电熔焊接的原理是用电熔焊机给镶嵌在电熔管件内壁的电阻丝通电加热,其加热的能量使管件和管材的连接界面熔融。
在管件两端的间隙封闭后,界面熔融区的熔融物在高温和压力作用下,其分子链段相互扩散,当界面上互相扩散的深度达到了链缠结所必须的尺寸,自然冷却后界面就可以得到必要的焊接强度,形成管连可靠的焊接连接。
7、在聚乙烯管道系统的构成中,电熔管件是必不可少的组成部分,选用的电熔管件必须符合相应的产品标。
全自动电熔焊操作规程一、目的和范围为了保证全自动电熔焊操作过程的安全性和质量,本操作规程适用于全自动电熔焊的操作人员。
二、术语定义1.全自动电熔焊:通过电流和电弧烧融金属材料,并与基材相融合的焊接方法。
2.操作人员:指掌握全自动电熔焊设备操作技术、具备相关焊接经验和责任心的人员。
三、操作前准备1.设备检查a.检查全自动电熔焊设备是否处于正常工作状态。
b.检查电源线路、电缆等是否完好无损。
c.检查电极是否磨损,磨损严重需更换。
d.检查机器各部位是否有松动、漏电等异常情况,并及时处理。
2.工作环境检查a.检查工作场所是否有可燃、易爆等危险物品,清理不安全因素。
b.检查焊接区域的通风状况,保证空气流通良好。
3.安全防护a.操作人员应佩戴防火防爆服装、焊接面罩、耐热手套等个人防护装备。
b.操作人员应戴好防护眼镜,避免光弧对眼睛的伤害。
c.确保操作人员具备相关的操作经验和培训。
四、操作步骤1.调整设备参数a.根据焊接材料和工件厚度,调整电流、电压等工艺参数。
b.设置焊接速度。
2.焊接准备a.将工件放置在焊接位置,并牢固夹紧。
b.清理工件表面的污物,保证焊接接头的质量。
3.开始焊接a.操作人员将焊接枪移动到预定的焊接起点,保持焊接枪与工件适当的间隙。
b.操作人员按下启动按钮,开始焊接。
c.控制焊接速度,保持焊接均匀。
4.焊接结束a.完成焊接后,将焊接枪移动到焊接终点。
b.松开启动按钮,停止焊接。
c.断开电源,关闭全自动电熔焊设备。
五、操作注意事项1.操作人员必须熟悉全自动电熔焊设备的操作原理和工艺参数,并按要求进行调整。
2.操作人员应注意自身安全,戴好相关的个人防护装备。
3.在操作过程中,操作人员应时刻关注焊接区域的情况,确保安全和质量。
4.如发现设备故障或异常情况,应及时停止操作并进行维修。
5.操作人员不得擅自更改焊接工艺参数,如需调整应与相关技术人员协商后进行操作。
六、事故处理1.如发生火灾或其他紧急情况,应立即按相关应急预案进行处理。
特固龙全自动电熔焊机说明书一、引言特固龙全自动电熔焊机是一款高效、可靠的焊接设备。
本说明书将为用户提供详尽的操作指南,帮助其正确使用该设备并充分发挥其功能,以达到理想的焊接效果。
二、产品概述1. 外观和结构特固龙全自动电熔焊机外观美观大方,采用高强度材料制造,具有良好的耐用性。
其结构紧凑,便于携带和安装。
2. 技术参数特固龙全自动电熔焊机采用先进的焊接技术,具有以下主要技术参数:- 输入电压:220V- 频率:50Hz- 最大输出功率:5kW- 最大焊接电流:200A- 焊接速度:1-10m/min- 工作温度范围:5-40°C3. 主要特点- 全自动操作:特固龙全自动电熔焊机采用先进的自动控制系统,能够实现无人操作,减少人工干预,提高生产效率。
- 高效节能:设备采用高效的电熔焊技术,焊接速度快,能耗低,既满足了生产需求,又节约了能源。
三、使用方法1. 设备准备在使用特固龙全自动电熔焊机之前,请确保以下准备工作已经完成:- 确认输入电压为220V、50Hz,并插入正确的电源插座。
- 检查设备外观是否完好,无损坏和松动现象。
- 检查设备内部是否有杂物,确保焊接过程不受干扰。
2. 操作步骤- 打开设备电源开关,待设备启动后,进入待机状态。
- 根据需要调节焊接速度和焊接电流,选择适当的数值。
- 将待焊接材料准备好,确保其表面干净,以确保焊接效果。
- 将待焊接材料与设备接触面对齐,并保持一定的压力。
- 按下开始按钮,设备将开始自动焊接,焊接完成后,设备将自动停止。
四、安全注意事项1. 电源安全- 在使用设备之前,确保供电电压稳定,过高或过低的电压都会对设备的正常运行产生影响。
- 不要擅自拆卸设备的电源线,以免发生电击或其他安全事件。
2. 高温注意- 在设备运行期间,焊接头会产生高温,请勿将手或其他物体直接接触焊接头部分,以免造成烫伤。
- 设备运行后请注意冷却,避免将热源直接接触易燃物体。
3. 维护保养- 每次使用设备后,请及时清理设备表面和内部的杂物,以保持设备良好的工作状态。
PE电熔焊机操作规程
一.操作面板说明
1.液晶显示屏:可显示操作提示.故障信息及时间参数。
2.递加键:数字加1或字符加值1。
1.操作前准备,将电熔管件与管材安装对接,将焊机输出插头插入电熔管件电机。
2.接通电源,显示器显示主菜单在按↓键可以选择机器的某一项功能,再按确认
键进入该项子菜单。
(1)参数设置功能,在主菜单中选中设置项(使该项反色显示),按确认后进入参数设置菜单,此时可以对焊接参数进行设置。
按↓键先选择其中某一项
参数的设置,按→键可以选择某一位,按+、一键对光标烁位进行修改。
焊接时间单位为秒,冷却时间单位为分。
打印功能按+号,显示器显示是,即打开打印功能,这时在焊接过程中,打印机每隔5秒,打印一次焊接参数,按-号
关闭打印功能。
(2)焊接运行操作,在对机器各项参数正确设置后,可以对管件进行焊接操
-250V
2
4.电熔管件与管材对接不允许出现扭曲或出现应力。
5.在夏季,机器显示屏应避免烈日直晒。
6.注意防潮,机内严禁进水。
电熔机怎么使用方法电熔机是一种用来将金属材料加热至熔化状态的设备。
它通常用于金属冶炼、焊接、铸造等工艺中。
使用电熔机需要注意安全和操作规范,下面将介绍电熔机的使用方法。
首先,使用电熔机前需要对设备进行检查,确保所有部件完好无损。
检查电熔机的电源线和接地线是否良好连接,电熔炉的内部是否有异物,以及冷却系统是否正常运行。
确认设备正常后,才能进行下一步操作。
接下来是电熔机的启动和设置。
首先,将电熔机的电源插头插入可靠的插座,然后接通电源。
根据需要,将熔炉的温度设定在合适的范围内,一般情况下,金属的熔点会决定温度的设定值。
接着,按下启动按钮,等待熔炉内温度逐渐升高,并稳定在设定值。
当熔炉的温度达到设定值后,就可以开始加入金属材料。
首先,准备好要熔化的金属材料,然后小心地将其放入熔炉中。
需要注意的是,金属材料应该均匀分布在熔炉内,并且不要超出熔炉的容量范围。
在金属材料开始熔化后,可以根据需要适当调节熔炉的温度和加热时间,以保证金属熔化的均匀性和完整性。
同时,还要定期检查熔炉内的金属状态,确保不会出现不必要的事故或损失。
在金属完全熔化后,需要对熔炉进行冷却。
首先,停止加热,然后等待熔炉内的金属冷却至安全温度。
一般而言,这个过程需要一定的时间,在等待的同时要保持熔炉周围的安全和整洁。
最后,当熔炉内的金属完全冷却后,才能进行下一步操作,比如将熔化后的金属倒入模具中进行铸造,或者进行其他相关的加工和处理工序。
这个过程中需要注意防止金属溅射和烫伤等安全问题。
总的来说,使用电熔机需要注意以下几点:1. 设备检查:使用前要对电熔机进行全面的检查,确保其完好无损。
2. 启动设置:正确地启动和设置电熔机,包括电源连接、温度设定等。
3. 加入金属材料:在熔炉达到设定温度后,小心地将金属材料加入熔炉内。
4. 加热熔化:根据需要适当调节温度和加热时间,确保金属完全熔化。
5. 冷却处理:在金属熔化完成后,及时停止加热并进行冷却处理。
电熔焊机的使用指南
《电熔焊机的使用指南》
嘿,朋友们!今天咱来聊聊电熔焊机咋用哈。
你知道不,有一次我就碰到个情况,那可真是让我印象深刻啊!当时我准备用电熔焊机来接个管子。
我呀,先把电熔焊机小心翼翼地搬到工作的地方,就像对待一个宝贝似的。
然后呢,我把要焊接的管子准备好,心里还想着可别出啥岔子。
接着,我插上电源,打开电熔焊机的开关,这时候那小灯一亮,嘿,还挺有意思。
然后我就按照说明书上的步骤,慢慢调整那些参数,边调还边嘀咕,“这可得弄好了呀,别回头出问题”。
等参数都设置好了,我就把焊机的接头对准管子,就感觉像是要给它来个完美的拥抱似的。
哎呀,我当时那个紧张啊,手心里都有点出汗了,就怕没弄好。
然后焊机开始工作啦,发出嗡嗡的声音,我就一直盯着看,心里祈祷着一定要成功。
等焊接结束,我长舒了一口气,就像完成了一项重大任务一样。
总之呢,使用电熔焊机可得仔细着点,别马虎大意。
要像对待一个娇贵的小公主一样,温柔又细心。
每次用的时候都要想着,这可是个重要的家伙,得好好伺候着。
哈哈,希望大家都能顺利地使用电熔焊机,让它为我们的工作带来便利呀!这就是我关于电熔焊机的一点小经验分享,大家可别嫌我啰嗦哟!。
电熔焊作业指导书电熔焊作业指导书1应用范围适用于聚乙烯燃气管道的连接,环境温度控制在-5-45℃范围内,当温度低于-5℃或风力大于5 级时,应采取必要的保护措施。
注:l)对不同标准尺寸比(SDR值)和管道直径≤63mm、S<6mm 管道元件最宜使用电熔连接的焊接方法。
2)对于大口径的管道不宜使用电熔连接焊,因为专用电熔管件费用高,加大工程成本。
2电熔连接操作控制2.1电熔连接机具控制2.1.1电熔连接机具的类型应符合电熔管件的要求;2.l.2 电熔连接机具应在国家电网供电或发电机供电情况下,均可正常工作;2.l.3外壳防护等级不应低于IP54,所有线路板应进行防水、防尘、防震处理,开关按扭应具有防水性;2.1.4输入和输出电缆,当超过-10一40℃工作范围时,应能保持柔韧性;2.1.5 温度传感器精度不低于±1℃;并应有防机械损伤保护;2.1.6输出电压的允许偏差应控制在设定电压的士1.5%以内;输出电流的允许偏差应控制在额定电流的土1.5%以内;熔接时间的允许偏差应控制在理论时间的±1%以内;2.1.7 电熔连接设备应定期校准和检定,周期不宜超过1年。
2.2电熔连接机具与电熔管件应正确连通,连接时,通电回执的电压和加热时间应符合电熔连接机具和电熔管件生产企业的规定。
2.3电熔连接冷却期间,不得移动连接件或在连接件上施加任何外力。
3电熔连接操作要求3.1电熔承插连接操作应符合下列要求,1)应将管材、管件连接部位擦拭干净;2)测量管件承口长度,并在管材插入端或插口管件插入端标出长度和刮除插入长度加lOmm的插入端表皮,刮削氧化皮厚度宜为0.1-0.2mm;3)钢骨架聚乙烯复合管道和公称直径小于90mm的聚乙烯管道、以及管材不圆度影响安装肘,应采用整圆工具对插入端进行整圆;4)将管材或管件插入端插入电熔承插管件承口内,至插入长度标记位置,并应检查配合尺寸;5)通电前,应校直两对应的连接件,使其在同一轴线上,并应采用专用夹具固定管材、管件。
进口天然气电熔焊机使用说明书
一、按照电熔焊机的操作要求连接导线,设置好电熔焊机正确焊接参数,可以用手动或自动两种输入方式。
二、检查无误后,启动电熔焊机,进入焊接过程,当达到焊接时间后,机器会自动进入冷却状态。
三、当管件完全冷却后,撤去电熔焊机。
四、用塑料管材切刀或带切削导向装置的细齿锯切断管材,并使其端面垂直于管材轴线。
用小刀切除内部边缘的毛剌,在管材或插口端的焊接区域刮皮,清理焊接区域。
五、应尽可能使用专用的夹具固定要连接的组件,管子的圆度不应超过管子外径的1.5%,否则应在相应的夹具上进行校正。
当电容器的两个极板之间加上电压时,电容器就会储存电荷。
电容器的电容量在数值上等于一个导电极板上的电荷量与两个极板之间的电压之比。
自动电熔焊操作规程1、操作前准备1.1将电熔管件与管道装置连接;1.2将焊机的输出插头插入电熔管的电极;2、打开电源电源打开后屏幕上显示“欢迎使用永通焊机”,延时后显示输入电源电压、频率、环境温度及系统时间,延时2秒后进入主菜单,主菜单包括:一次焊接、分段焊接、数据处理、系统设置:按下主菜单上的向上键和向下键以选择每个子菜单。
一次焊接:在整个焊接过程中,仅设置一个电压值;分段焊接:多段焊接,焊接过程中最多可以设置五个焊接电压值;数据处理:工艺焊接数据;系统设置:设置系统的必要参数。
2.1一次焊接:在主菜单上选择一次焊接,按确定键,显示一次焊接参数,如果参数无需更改,按确定键进入焊接菜单,再次按OK键启动自动焊接程序。
在焊接过程中按取消键,焊接中止,数据不保存。
设置参数有两种方法:手工设置及条码设置。
2.2分段焊接:在主菜单上选择分段焊接,按确定键,显示分段焊接参数,最多可选择五段焊接,分两屏显示,按上下键预览焊接参数,如无需更改,按向左键进入焊接菜单,按OK键启动自动焊接程序。
中止焊接同上,设置参数有两种方法:手工设置及条码设置。
2.3数据处理:主菜单下选择数据处理,按确定键进入数据处理菜单,可以在数据处理菜单中处理焊接记录数据,包括:数据查询、数据打印、数据导出、数据删除。
2.3.1数据查询:在焊机上查询所选焊接记录数据,选择数据查询菜单,按确定键进入子菜单;选择查询的序号,按确定键进入记录数据显示菜单,用上下键翻页显示焊接记录数据;2.3.2数据打印:打印选择的焊接记录。
选择数据打印菜单,按OK键进入数据打印子菜单,输入打印起始序号,打印数量,选择打印,打印过程中如需中止打印,按取消键。
2.3.3数据导出:将所有焊接记录以文本格式写入移动磁盘,导出数据文件可以通过电脑查询,编辑打印。
选择数据导出菜单,按确定键进入数据导出子菜单,按照液晶屏显示提示操作。
数据导出完成后,移除移动盘。
2.3.4数据删除:删除焊机中所有焊接记录,选择数据删除菜单,按OK键进入数据删除子菜单,按照液晶显示提示操作,数据删除完成后,自动退出。