民办职业技能培训学校审批流程图
- 格式:doc
- 大小:49.77 KB
- 文档页数:1
设立民办学校审批流程图办理机构:息烽县教育局教育管理督导科(实施单位名称)业务电话:,监督电话:法定期限:90个工作日(不含听证、招标、拍卖、检验、检测、鉴定和专家评审等时间)承诺期限:50个工作日(不含听证、招标、拍卖、检验、检测、鉴定和专家评审等时间)附件:《民办教育机构的筹设与设立审批所需材料》民办教育机构的筹设与设立审批所需材料一、举办民办普通高中和中等职业学校,由市教育行政部门审批。
举办民办幼儿园、小学、初中和非学历培训学校,由所在地区(市、县)教育行政部门审批,报市教育行政部门备案。
二、申请筹设民办学校,举办者应当向审批机关提交下列材料:(一)申办报告,内容应当主要包括:举办者、培养目标、办学规模、办学层次、办学形式、办学条件、内部管理体制、经费筹措与管理使用等;(二)举办者的姓名、住址或者名称、地址;(三)资产来源、资金数额及有效证明文件,并载明产权;(四)属捐赠性质的校产须提交捐赠协议,载明捐赠人的姓名、所捐资产的数额、用途和管理方法及相关有效证明文件。
三、对申请筹设民办学校的,审批机关应当自受理申请之日起30日内做出是否同意筹设的决定;对申请正式设立民办学校的,应当在3个月内做出是否批准办学的决定。
同意筹设或者正式设立的,发给筹设批准书或者办学许可证;不同意筹设或者正式设立的,应当说明理由。
筹设期不得超过三年。
超过三年的,举办者应当重新申报。
四、申请正式设立民办学校的,举办者应当向审批机关提交下列材料:(一)筹设批准书;(二)筹设情况报告;(三)学校章程、首届学校理事会、董事会或者其他决策机构组成人员名单;(四)学校资产的有效证明文件;(五)校长、教师、财会人员的资格证明文件。
五、具备办学条件,达到设置标准的,可以直接申请正式设立,并应当提交第二条和第四条(三)、(四)、(五)项规定的材料。
六、实行专家委员会评议审核制度。
申请筹设或者正式设立民办学校的,审批机关受理申请后,应当组织专家委员会评议,专家委员会在20个工作日内进行办学评议审核,提出是否准予筹设或者正式设立的评议意见,报审批机关。
民办职业培训学校设立、分立、合并、变更及终止审批操作规范一、项目名称、性质及项目编号(一)名称:民办职业培训学校设立、分立、合并、变更及终止审批(二)性质:行政许可(三)项目编号:D11002二、设定依据(一)《中华人民共和国民办教育促进法》(中华人民共和国主席令第80号,2002年12月28日公布,自2003年9月1日起施行)第十一条举办实施以职业技能为主的职业资格培训、职业技能培训的民办学校,由县级以上人民政府劳动和社会保障行政主管部门按照国家规定的权限审批。
(二)《中华人民共和国民办教育促进法》(中华人民共和国主席令第80号,2002年12月28日公布,自2003年9月1日起施行)第五十三条第一款民办学校的分立、合并,在进行财务清算后,由学校理事会或者董事会报审批机关批准。
第二款:申请分立、合并民办学校的,审批机关应当自受理之日起三个月内以书面形式答复;其中申请分立、合并民办高等学校的,审批机关也可以自受理之日起六个月内以书面形式答复。
第五十四条民办学校举办者的变更,须由举办者提出,在进行财务清算后,经学校理事会或者董事会同意,报审批机关核准。
第五十五条第一款民办学校名称、层次、类别的变更,由学校理事会或者董事会报审批机关批准。
第二款申请变更为其他民办学校,审批机关应当自受理之日起三个月内以书面形式答复;其中申请变更为民办高等学校的,审批机关也可以自受理之日起六个月内以书面形式答复。
第五十六条民办学校有下列情形之一的,应当终止:(一)根据学校章程规定要求终止,并经审批机关批准的;(二)被吊销办学许可证的;(三)因资不抵债无法继续办学的。
(三)广西壮族自治区人民政府《关于取消和调整一批行政许可事项的决定》(桂政发〔2016〕75号)附件2《自治区人民政府决定调整的行政许可事项目录》第81项处理决定:人力资源社会保障厅实施的项目名称调整为“民办职业培训学校设立、分立、合并、变更及终止审批”;审批层级和部门调整为“自治区、设区市、县级人力资源社会保障部门”。
民办职业培训机构设立审批流程图
(行政许可)
办结时限:自受理之日起申请筹备的30日办结。
申请正式设立自受理之日起2个月内办结。
承办股室:就业服务局
劳务派遣行政许可审批流程图
(行政许可)
承办股室:劳动关系和社会保险股人力资源服务许可流程图
(行政许可)
(法定时限:20个工作日;承诺时限:10个工作日;不含特别程序5个工作日)
承办股室:就业服务局
特殊工时制度审批流程图
(行政许可)
承办股室:劳动关系和社会保险股
劳动保障行政处罚流程图
(行政处罚类)
承办股室:劳动监察大队
青县人社局劳动监察大队监督检查流程图
青县人社局劳动监察大队年度审查流程图
青县医疗保险门诊慢性病病人资格审定流程图
承办股室:基本医疗保险基金管理中心
青县用人单位劳动用工备案工作流程图
(其他)
单位社会保险登记流程图
企业基本养老保险费稽核流程图
(监督检查类)
承办股室:社会保险事业管理所
企业基本养老保险费申报核定流程图
(行政征收类)
企业退休(职)人员待遇确认流程图
(行政确认类)
企业基本养老保险关系转移审核流程图
承办股室:社会保险事业管理所。
浙江省民办职业技能培训学校申办流程下载温馨提示:该文档是我店铺精心编制而成,希望大家下载以后,能够帮助大家解决实际的问题。
文档下载后可定制随意修改,请根据实际需要进行相应的调整和使用,谢谢!并且,本店铺为大家提供各种各样类型的实用资料,如教育随笔、日记赏析、句子摘抄、古诗大全、经典美文、话题作文、工作总结、词语解析、文案摘录、其他资料等等,如想了解不同资料格式和写法,敬请关注!Download tips: This document is carefully compiled by theeditor.I hope that after you download them,they can help yousolve practical problems. The document can be customized andmodified after downloading,please adjust and use it according toactual needs, thank you!In addition, our shop provides you with various types ofpractical materials,such as educational essays, diaryappreciation,sentence excerpts,ancient poems,classic articles,topic composition,work summary,word parsing,copy excerpts,other materials and so on,want to know different data formats andwriting methods,please pay attention!浙江省民办职业技能培训学校申办全攻略在浙江省,设立一所民办职业技能培训学校是一个系统的过程,需要遵循一系列严格的步骤和满足特定的条件。
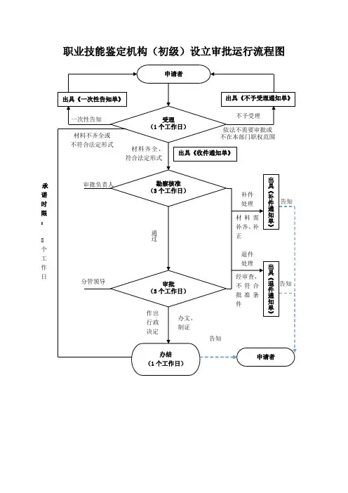
职业技能鉴定机构(初级)设立审批运行流程图 一次性告知
不符合法定形式
告知
告知 告知
受理 (1个工作日) 出具《不予受理通知单》
出具《一次性告知单》 材料齐全、符合法定形式 出具《收件通知单》 办结 (1个工作日) 依法不需要审批或 不在本部门职权范围 不予受理 材料不齐全或 不符合法定形式 勘察核准 (3个工作日) 审批 (3个工作日) 审批负责人 申请者 分管领导 申请者
通过
作出行政决定
办文、制证 承诺时限 : 8 个工作日 出具《补件通知单》 出具《退件通知单》
补件处理 材料需补齐、补正 退件处理 经审查,不符合批准条件。
民办职业培训学校申办程序(总23页)-CAL-FENGHAI.-(YICAI)-Company One1-CAL-本页仅作为文档封面,使用请直接删除民办职业培训学校申办程序一、申办范围国家机构以外的社会组织或者个人,利用非国家财政性经费均可申办职业培训机构。
二、申办条件1、社会组织申办必须具有法人资格;个人申办必须具有政治权利和完全的民事行为能力。
2、职业培训机构法定代表人须具备大专以上学历或中级以上职称或高级以上职业资格证书。
校长须具备大专以上学历、中级以上职称或高级以上职业资格证书。
3、学校理事会或董事会由五人以上组成,三分之一以上的理事(董事)具有五年以上教育教学经验。
4、民办学校应配备相应数量的专职教学管理人员,专职教学管理人员应当具有大专以上文化程度及中级以上专业技术职称或三级以上国家职业资格,有2年以上职业教育培训工作经历和丰富的教学管理经验。
财务管理人员应具有财会人员资格证书。
应配备从事职业指导和就业服务的相关人员,职业指导人员应持有职业指导资格证书。
5、职业培训机构教师须持有《教师资格证书》或《职业技术培训教师上岗证书》,实习指导教师须同时持有相应专业的高级以上职业资格证书,所开设的每个专业(工种)至少有2名大专以上学历的理论课教师和实习指导教师,专职教师不少于教师总数的1/4。
学校要与聘任教师签订聘任协议。
聘任外籍人员按国家有关规定执行。
6、基本办学规模不低于200人,有与办学规模相适应的培训场所,租赁场所租赁期不少于3年,理论课集中教学场所300平米以上,无危房,有良好的照明、通风条件;有满足实习教学需要的实习操作场所,实习操作场所和食宿场所应符合环保、劳保、安全、消防、卫生等有关规定及相关工种的安全规程。
在居民楼或居民院举办民办学校的,需征得利害关系人同意。
7、具有满足教学和技能训练需要的教学、实习、实验设施和设备,有充足的实习工位;技能训练条件符合与培训专业(职业、工种)等级相对应的国家职业标准具体要求。
民办职业培训学校设立审批程序一、审批范围国家机构以外的社会组织或者个人,利用非国家财政性经费举办以职业技能为主的职业资格培训、职业技能培训的民办职业学校。
二、审批条件1、举办民办学校的社会组织应当具有法人资格;举办民办学校的个人应当具有政治权利和完全民事行为能力.2、基本办学规模不低于200人,有与办学规模相适应的培训场所,租赁场所租赁期不少于3年。
理论课集中的教学场所应当达到300平米以上,无危房,有良好的照明、通风条件,桌椅、讲台和黑板设施齐全;有满足实习教学需要的实习操作场所,实习操作场所和食宿场所应符合环保、劳保、安全、消防、卫生等有关规定及相关工种的安全规程。
在居民楼或居民院举办民办学校的,需征得利害关系人同意。
3、应具有满足教学和技能训练需要的教学、实习、实验设施和设备,有充足的实习工位;各培训专业(职业、工种)技能训练条件符合相对应的国家职业标准具体要求。
4、应配备专职校长。
校长应具有大专以上文化程度及中级以上专业技术职务任职资格或三级以上国家职业资格,有2年以上职业教育培训工作经历,熟悉国家职业培训方针政策和法律法规。
5、学校理(董)事会由5人以上组成,其中1/3以上的理(董)事具有5年以上教育教学经验。
6、学校法定代表人由理事长、董事长或者校长担任.7、应根据办学规模配备相应数量的专职教学管理人员。
专职教学管理人员应当具有大专以上文化程度及中级以上专业技术职称或三级以上国家职业资格,有2年以上职业教育培训工作经历和丰富的教学管理经验.应配备从事职业指导和就业服务的相关人员.财务管理人员应具有财会人员资格证书.8、应配备与办学规模相适应、结构合理的专兼职教师队伍.专职教师一般不少于教师总数的1/4,所开设的每个专业(职业、工种)至少配备2名以上理论课教师和实习指导教师。
理论课教师和实习指导教师均应具有与其教学岗位相应的教师上岗资格,并达到相应职业标准要求的任教条件。
9、具有与培训专业(职业、工种)相对应的教学(培训)计划、大纲和教材。
民办职业培训学校设立审批程序一、审批范围国家机构以外的社会组织或者个人,利用非国家财政性经费举办以职业技能为主的职业资格培训、职业技能培训的民办职业学校。
二、审批条件1、举办民办学校的社会组织应当具有法人资格;举办民办学校的个人应当具有政治权利和完全民事行为能力。
2、基本办学规模不低于200人,有与办学规模相适应的培训场所,租赁场所租赁期不少于3年。
理论课集中的教学场所应当达到300平米以上,无危房,有良好的照明、通风条件,桌椅、讲台和黑板设施齐全;有满足实习教学需要的实习操作场所,实习操作场所和食宿场所应符合环保、劳保、安全、消防、卫生等有关规定及相关工种的安全规程.在居民楼或居民院举办民办学校的,需征得利害关系人同意。
3、应具有满足教学和技能训练需要的教学、实习、实验设施和设备,有充足的实习工位;各培训专业(职业、工种)技能训练条件符合相对应的国家职业标准具体要求。
4、应配备专职校长。
校长应具有大专以上文化程度及中级以上专业技术职务任职资格或三级以上国家职业资格,有2年以上职业教育培训工作经历,熟悉国家职业培训方针政策和法律法规.5、学校理(董)事会由5人以上组成,其中1/3以上的理(董)事具有5年以上教育教学经验.6、学校法定代表人由理事长、董事长或者校长担任.7、应根据办学规模配备相应数量的专职教学管理人员。
专职教学管理人员应当具有大专以上文化程度及中级以上专业技术职称或三级以上国家职业资格,有2年以上职业教育培训工作经历和丰富的教学管理经验。
应配备从事职业指导和就业服务的相关人员.财务管理人员应具有财会人员资格证书.8、应配备与办学规模相适应、结构合理的专兼职教师队伍。
专职教师一般不少于教师总数的1/4,所开设的每个专业(职业、工种)至少配备2名以上理论课教师和实习指导教师。
理论课教师和实习指导教师均应具有与其教学岗位相应的教师上岗资格,并达到相应职业标准要求的任教条件.9、具有与培训专业(职业、工种)相对应的教学(培训)计划、大纲和教材。
民办职业培训学校设立审批程序一、审批范围国家机构以外的社会组织或者个人,利用非国家财政性经费举办以职业技能为主的职业资格培训、职业技能培训的民办职业学校.二、审批条件1、举办民办学校的社会组织应当具有法人资格;举办民办学校的个人应当具有政治权利和完全民事行为能力。
2、基本办学规模不低于200人,有与办学规模相适应的培训场所,租赁场所租赁期不少于3年。
理论课集中的教学场所应当达到300平米以上,无危房,有良好的照明、通风条件,桌椅、讲台和黑板设施齐全;有满足实习教学需要的实习操作场所,实习操作场所和食宿场所应符合环保、劳保、安全、消防、卫生等有关规定及相关工种的安全规程。
在居民楼或居民院举办民办学校的,需征得利害关系人同意。
3、应具有满足教学和技能训练需要的教学、实习、实验设施和设备,有充足的实习工位;各培训专业(职业、工种)技能训练条件符合相对应的国家职业标准具体要求。
4、应配备专职校长.校长应具有大专以上文化程度及中级以上专业技术职务任职资格或三级以上国家职业资格,有2年以上职业教育培训工作经历,熟悉国家职业培训方针政策和法律法规.5、学校理(董)事会由5人以上组成,其中1/3以上的理(董)事具有5年以上教育教学经验。
6、学校法定代表人由理事长、董事长或者校长担任。
7、应根据办学规模配备相应数量的专职教学管理人员.专职教学管理人员应当具有大专以上文化程度及中级以上专业技术职称或三级以上国家职业资格,有2年以上职业教育培训工作经历和丰富的教学管理经验。
应配备从事职业指导和就业服务的相关人员.财务管理人员应具有财会人员资格证书。
8、应配备与办学规模相适应、结构合理的专兼职教师队伍。
专职教师一般不少于教师总数的1/4,所开设的每个专业(职业、工种)至少配备2名以上理论课教师和实习指导教师.理论课教师和实习指导教师均应具有与其教学岗位相应的教师上岗资格,并达到相应职业标准要求的任教条件。
9、具有与培训专业(职业、工种)相对应的教学(培训)计划、大纲和教材.职业资格培训的教学(培训)计划和教材应符合国家职业标准。
新设⽴民办职业培训学校审批办理(流程、材料、地点、费⽤、条件)更多关于新设⽴民办职业培训学校审批办理(流程、材料、地点、费⽤、条件)的法律知识,跟着店铺⼩编⼀起看看吧。
新设⽴民办职业培训学校审批办理(流程、材料、地点、费⽤、条件)⼀、办理条件符合下列全部条件,可提出申请:1)举办者应当符合国家法律、法规和政策规定的基本条件,符合民办职业培训的宏观发展规划。
2)国家机构以外的社会组织或个⼈。
申请举办民办职业培训学校的个⼈应当具有政治权⼒和完全民事⾏为能⼒,⽆违规办学经历。
3)有明确的名称、组织机构和学校章程。
民办职业培训学校名称应符合下列要求:a)只能使⽤⼀个名称,外⽂名称应与中⽂名称⼀致。
b)符合法律、法规的规定,并应规范、明确。
其名称应按所在⾏政区域确切表⽰,省属、中央、部队驻揭社会组织举办的学校(院)名称为“⼴东省某职业培训学校(院),市属单位或个⼈举请市属学校的名称为“揭阳市某职业培训学校”。
c)未经国家⼈⼒资源和社会保障部批准,不得冠以“中国”、“全国”、“世界”、“国际”字样。
4)符合《⼴东省劳动和社会保障厅转发⼈⼒资源和社会保障部办公厅关于进⼀步加强民办培训学校管理⼯作的通知》规定的条件。
5)有符合规定的专职管理⼈员和与办学类型、等级、规模相适应的理论和实习指导教师及管理⼈员。
6)有明确的办学宗旨、培训⽬标、教学计划、教学⼤纲和培训教材,有健全的管理制度。
7)有与办学规模相适应的固定教学场所、设备和设施,应达到⼈⼒资源社会保障部门规定的设置标准。
租赁的教学场所必须签订具有法律效⼒的租赁契约,租期不得少于3年。
8)有满⾜教学需要的资⾦和稳定的经费来源,财务应当独⽴核算,并能独⽴承担民事责任。
⼆、办理材料内容应当主要包括:举办者、培养⽬标、办学规模、办学层次、办学形式、办学条件、内部管理体制、经费筹措与管理使⽤等学校举办者应有稳定、可靠的经费来源,固定资产应达到20万元以上(单价2000元以上的仪器设备发票),注册资⾦10万元以上;学院固定资产应达到100万元以上(单价2000元以上的仪器设备发票),注册资⾦50万元以上。
事项编码:1902330127民办职业技能培训机构设立审批效劳指南人力资源和社会保障局民办职业技能培训机构设立审批效劳指南一、适用范围涉及的内容:〔一〕涉及的内容:举办实施以职业技能为主的职业资格培训、职业技能培训的民办学校。
〔二〕适用对象:国家机构以外具有法人资格的社会组织和具有政治权利和完全民事行为能力的个人。
适用对象:个人,法人,其他组织二、事项审查类型前审后批三、审批依据〔一〕?中华人民共和国民办教育促进法?〔中华人民共和国主席令第八十号;根据第十二届全国人民代表大会常务委员会第三次会议?关于修改〈中华人民共和国文物保护法〉等十二部法律的决定?修正;根据第十二届全国人民代表大会常务委员会第二十四次会议?关于修改〈中华人民共和国民办教育促进法〉的决定?第二次修正〕:“第十二条举办实施以职业技能为主的职业资格培训、职业技能培训的民办学校,由县级以上人民政府人力资源社会保障行政部门按照国家规定的权限审批,并抄送同级教育行政部门备案〞。
〔二〕?中华人民共和国民办教育促进法实施条例?〔中华人民共和国国务院令第399号〕:“第十一条设立民办学校的审批权限,依照有关法律、法规的规定执行〞。
〔三〕?浙江省劳动和社会保障厅关于印发〈浙江省民办职业培训学校管理方法〔试行〕〉的通知?〔浙劳社培〔 2009 〕 21 号〕( /html/zcfg/zcfgk/pxjnjd/33813.html)。
四、受理机构淳安县人力资源和社会保障局五、决定机构淳安县人力资源和社会保障局六、数量限制无数量限制七、申请条件〔一〕根本办学规模应不低于200人。
〔二〕应有与办学规模相适应的培训场所,租用的场所租赁期不少于3年。
办公用房至少20平米以上,有必须的办公设备条件;理论课集中教学场所应在300平米以上,无危房,有良好的照明、通风条件,桌椅、讲台和黑板设施齐全;有满足实习教学需要的实习操作场所,符合环保、劳保、平安、消防、卫生等有关规定及相关职业的平安规程。