旋转式压片机的结构特征与构造说明
- 格式:doc
- 大小:283.50 KB
- 文档页数:3
旋转式压片机的工作原理
旋转式压片机是一种常见的药物制剂设备,用于将药物粉末压缩成固体药片。
其工作原理如下:
1. 压制室:旋转式压片机的压制室由两个平行的扁平板组成,其中一个固定不动,另一个可以旋转。
这样的设计可以让药粉在两个平板之间受到均匀的压力。
2. 药粉喂入:药粉通过药粉进料口进入压制室。
进料量可以通过调整进料口的大小来控制。
3. 压力调节:旋转式压片机的压制室会施加一定压力,将药粉压缩成药片。
这个压力可以通过调节机器的压力控制装置来控制。
4. 旋转压片:当药粉被压缩成一定厚度时,压制室中的旋转平板会开始旋转,在旋转的同时继续施加压力,使药品更加紧密地结合在一起。
5. 药片出料:当旋转平板旋转到一个特定位置时,压制室中的药片就可以从药品出料口排出了。
总之,旋转式压片机的工作原理就是将药粉压缩成药片,通过旋转平板使得药片更加紧密地结合在一起,最终让药片从出料口排出。
- 1 -。
高速旋转压片机的工作原理高速旋转压片机是一种常用于制药、化工、食品等行业的设备,其工作原理主要是通过高速旋转的转盘将粉末物料压制成片状。
下面将详细介绍高速旋转压片机的工作原理。
一、转盘结构高速旋转压片机的核心部件是转盘,它由一系列的模具孔和模具孔内的压片部件组成。
转盘通过电机带动高速旋转,使模具孔依次经过不同的工作区域。
二、进料区在进料区,粉末物料通过上料装置被均匀地投入到模具孔中。
上料装置可以是振动进料装置或者螺旋进料装置等,其作用是将粉末物料按照一定的速率和量投放到模具孔内。
三、预压区在转盘转动过程中,模具孔进入预压区。
在预压区,模具孔内的压片部件开始对物料进行预压。
预压的目的是使物料在进入主压区之前形成初步的块状结构,以便于后续的主压工序。
四、主压区模具孔进入主压区后,物料被高速旋转的压片部件进行强力压制。
压片部件会对物料进行上下压制和旋转压制,使物料在瞬间产生高压力,从而使粉末物料在模具孔内形成均匀的片状。
五、排片区在压制完成后,模具孔进入排片区。
在排片区,压片部件会将已经压制好的片状物料从模具孔中排出,并将其传送到下一个工序或者收集装置中。
排片的速度和力度需要经过调整,以确保片状物料的质量和产量。
六、清洁区在清洁区,压片部件会对模具孔进行清洁,以确保下一次压制过程的干净和卫生。
清洁区可以采用刷子、气流等方式进行清洁,具体的清洁方式可以根据物料的性质和生产要求进行选择。
通过以上的工作过程,高速旋转压片机能够将粉末物料快速地压制成片状。
其工作原理的核心是利用高速旋转的转盘和压片部件对物料进行压制,使粉末物料在模具孔内形成均匀的片状。
在整个工作过程中,需要对转盘的转速、压片部件的压力和速度等参数进行合理的调整,以确保压制出的片状物料的质量和产量。
高速旋转压片机在制药、化工、食品等行业中具有广泛的应用。
其优点是生产效率高,压制速度快,能够保证片状物料的均匀性和一致性。
同时,高速旋转压片机还具有结构简单、操作方便、维护容易等特点,使其在工业生产中得到了广泛的应用和推广。
从结构角度看旋转式压片机常见问题以及处置情况从结构角度看旋转式压片机常见问题以及处置情况从结构角度看旋转式压片机常见问题及处置方法如下:1、转盘旋转式压片机的转盘是一个圆盘,每个冲孔和中心模孔均匀分布在四周。
当它在主轴的驱动下旋转时,每个冲头沿着弯曲的导轨上下移动,从而完成压片过程。
转台是压片机的重要工作部件。
在连续工作过程中,其常见故障分析及解决方法如下:(1)由于冲头孔或中模孔长期磨损导致两孔同轴度不符合要求:在使用过程中,由于磨损程度不同,冲头与中模孔之间可能会显现不同的轴现象,这将加添冲头上下移动的摩擦阻力,严重情况下,会导致正常压片失败。
假如磨损不是很严重,可以通过用铰刀铰孔来恢复其同轴度。
假如磨损严重,需要更换转盘。
(2)转盘向上移动会影响填充或切屑:转盘向上移动通常是由于固定转盘的锥形锁块松动引起的,可通过拧紧锥形锁块来解决。
假如紧固螺钉有问题,请立刻更换。
(3)中心模顶部螺钉松动导致中心模向上移动和进料器磨损:中心模向上移动重要是由于中心模顶部螺钉松动引起的,可以通过紧固中心模顶部螺钉来解决。
中模顶丝是一个易损件,由于长期磨损不能紧固中模,应适时更换。
2、导轨导轨是保证冲头沿曲线运动的紧要部件。
大多数故障是由润滑不足引起的。
常见故障分析和解决方案:(1)导轨磨损:冲头在导轨上呈曲线运动,以滑动摩擦的方式正常工作,导轨磨损是常见的维护和修理故障之一、导轨分为上导轨和下导轨组件。
假如冲头和导轨磨损,轻的冲头可以用油石打磨导轨,使其恢复正常。
假如磨损严重,只能更换导轨。
(2)导轨总成松动:连续工作后导轨总成可能松动,应适时紧固,注意使导轨过渡平稳。
(3)下导轨的桥接板磨损,导致冲头磨损导轨主体:下导轨的桥接板保护导轨主体。
假如磨损,轻的可以用油石修复,严重的只能更换。
3、压力辊旋转式压片机压轮部分可分为上压轮和下压轮。
它也是一种调整药片压力和加添保护的设备。
常见故障分析和解决方案:(1)压辊磨损:压辊外圈磨损严重,导致冲头尾部阻力大,需要重新更换压辊。
旋转式压片机常见故障及解决方法旋转式压片机是制药企业的主要生产设备之一,由于压片机在生产过程中高速运行,一旦出现故障将严重影响产品产量和质量。
所以操作人员和维修人员必须经过培训,做到“四懂三会”,1 旋转压片机的基本结构旋转压片机主要由底座、蜗轮箱、转台、导轨、压轮、加料、调节、电器及外围部分组成。
其工作原理:转盘在动力传动装置的带动下顺时针( 俯视)旋转,颗粒原料靠自重从加料斗中下落到加料靴(加料器)所框定的中模里,由加料靴(加料器)刮平后,通过上、下压力轮挤压上下冲头,把颗粒原料压制成片,然后经出片装置出片,转盘每转动一周经过两次充填、加压、出片。
2 压片机常见故障分析及解决方法2.1设备调试、维修的10项原则在日常生产和压片机的调试与维修工作中,常会遇到一些机械、电器故障,我们可以从机械、电器、辅机等若干方面来加以分析,并通过分析找到相应的解决方法。
维修、调试前的分析非常重要,无目的的拆卸往往会破坏压片机的公差参数,导致设备加工精度下降。
人们在实践中总结了设备调试、维修的10项原则,对压片机的维修、调试也很适用。
2.1.1先动口再动手对于发生故障的压片机,不应急于动手拆卸,应先询问设备操作人员,产生故障的前后经过及故障现象。
对于生疏的设备,还应先熟悉其原理和结构特点,遵守相应规则。
拆卸前要充分熟悉每个部件的功能、位置、连接方式以及与周围其他部件的关系,在没有结构图纸的情况下,应一边拆卸,一边画草图,并记上标记。
2.1.2先外部后内部应先检查设备各部件有无明显裂痕、缺损,了解其故障及维修史,然后再对设备内部进行检查。
拆卸前应先排除周边的故障因素,确定故障点后才能拆卸,否则,盲目拆卸可能将设备越修越坏。
2.1.3先机械后电气只有在确定机械零件无故障后,再进行电气方面的检查。
检查电路故障时,应利用检测仪器寻找故障部位,确认无接触不良故障后,再有针对性地查看线路与机械的运作关系,以免误判。
2.1.4先静态后动态在设备未启动时,判断设备主要部件是否良好,从而判定故障的所在。
旋转式压片机压片质量原因及处理方法摘要:旋转式压片机在药品生产中经常会出现压片质量问题,本文就旋转式压片机的基本结构进行阐述,并对其常见的压片质量问题进行分析,并提出相应的处理方法。
关键词:压片机;压片质量问题;处理方法1 旋转式压片机的基本结构旋转式压片机的基本结构主要是由外围部分以及蜗轮箱、底座、压轮、导轨、电机、调节、加料、转台组成,见图1。
1.料斗2.上压轮及压力安全装置3.上导轨4.转盘装置5.传动轴附离合器装置 6.下导轨装置 7.下压轮 8.充填调节装置 9.无级变速装置 10.电机11.吸粉器压片机主电机通过交流变频无级调速器,并经蜗轮减速后带动转台旋转。
转台的转动使上、下冲头在导轨的作用下产生上、下相对运动。
颗粒经充填、顶压、主压、出片等工序被压成片剂。
在整个压片过程中,控制系统通过对压力信号的检测、传输、计算、处理等实现对片重的自动控制,废片自动剔除并能自动采样、显示故障和打印各种统计数据。
2 压片机常见的故障问题分析及解决方法2.1片重差异片重差异超过限度,原因和处理办法:1)颗粒粗细分布不匀,压片时颗粒流速不同,导致充填到中模孔内的颗粒粗细不均匀,如粗颗粒量多则片轻,细颗粒多则片重。
应将颗粒混匀或筛去过多细粉。
2)如有细粉粘附冲头而造成吊冲时可使片重差异幅度较大。
此时下冲转动不灵活,应及时检查,拆下冲模,清理干净下冲与中模孔。
3)颗粒流动性不好,流入中模孔的颗粒量时多时少,引起片重差异。
应重新制粒或加入适宜的助流剂如微粉硅胶等,改善颗粒流动性。
4)加料斗被堵塞,此种现象常发生于黏性或引湿性较强的药物。
应疏通加料斗、保持压片环境干燥,并适当加入助流剂解决。
5)带强迫加料器的,强迫加料器拨轮转速与转台转速不匹配。
应调整一致。
6)下冲长短不一,超差,造成充填量不均。
应修差,差±5μm以内。
7)压片机粉量器升降杆轴向窜动,引起计量不准,产生片重差异。
应检查小涡轮是否磨损,调整磨损零件。
旋转式制药压片机的构造说明旋转式制药压片机是一种自动旋转连续压片的机器。
它紧要用于制药、化工、陶瓷、食品、电子、塑料及粉末冶金等工业。
本机适用于把各种颗粒状原材料子压制成片剂,而不适用于半固体、潮湿粉子和无颗粒特细粉末压制。
旋转式制药压片机的构造说明:1、上压轮架及外围封闭装置本机装置在机器的上半部分,台板上设有两根圆形支柱及外围四根直角支承,以形成能防范压片时冲杆上压轮的压实反力及构成窗式封闭空间的压制室。
当上压轮经受的反力大于所设定的工作压力时,其上压轮偏心距构成的力矩大于压缩弹簧和杠杆所构成的平衡力矩,则弹簧将被压缩,并使上压轮让开。
其卸荷作用,有效地躲避了冲杆的超压损坏,与此同时一端的行程开关被撕开,掌控面板上指示灯发出过载信号并自动停机,以便操检查故障和及时调整工作压力。
调整压力时需打开操作面对面的上后门,然后依据需要调整弹簧套内弹簧的预紧力,实现设定压力的目的。
2、加料斗和月形栅式加料器为紧要供料装置。
安装和加料器时应注意其底面与转台间隙为0.030.1毫米,可由支柱来调整。
粉量调整是在料斗架的顶部有一旋钮,用以调整料斗的高度以掌控粉子的流量。
料斗的嘴部有一舌形插板可微调流量及不需要时关闭作用。
其调整的依据是不使加料器内部的粉子积储量溢出为宜,调整后应将侧面大案滚花螺钉旋紧。
3、转台和上轨导装置转台是本机工作的紧要零件,工作时必需顺时针旋转,以免下冲杆损坏下轨道。
上轨道装置相当于一个圆柱凸轮,工作时上冲尾部的槽沿轨道的凸缘作预定的升降运动。
4、主体和下轨道装置下轨道是分块式平面凸轮,它使下冲杆工作时沿着其作升降运动,在下行轨的出口处有一圆形装卸下冲用的垫块。
本机下轨道可在主体下部直接装拆。
主体是本机支承转台重力和抗御传动蜗轮轴向力的紧要零件。
本机采用主轴带动转台的传动方式,故在主体中心孔内安装有三档轴承。
主体一侧作为下压轮支承,并设有片厚调整装置。
5、传动装置本装置紧要由电机通过带轮传动带动蜗杆转动,再由蜗杆带动蜗轮及主轴转动,从而实现转台做回转运动的目的。
ZPYGS55升级亚高速旋转式压片机使用说明书山东聊城万合工业制造有限公司(原山东医疗器械厂)地址:山东聊城经济开发区辽河路163号电话:(0635)8513278 8515553传真:(0635)8515553 邮编:252022目录1. 引言 (1)2. 产品外形 (1)3. 产品用途和适用范围 (2)4. 主要规格和技术参数 (2)5. 主要结构及工作原理 (3)6. 安装说明 (8)7. 操作与使用 (9)8. 润滑 (19)9. 维护、保养及故障排除 (20)10、滚动轴承目录 (20)11 .装箱清单 (21)附A智能润滑系统使用说明 (22)1 引言1.1 执行标准:中华人民共和国制药机械行业标准JB20020-2004旋转式压片机。
1.2 产品型号及名称2 产品外形3 产品用途和适用范围本机是一种双压式自动旋转、连续压片,将颗粒状原料压制成片剂的设备。
它主要用于中西制药工业的片剂生产,符合GMP要求,同时适用于化工、食品、电子等工业部门。
要求颗粒均匀、不潮湿,颗粒比例不少于三分之二,颗粒大小范围:14-60目,具有良好的可压性及流动性。
4 主要规格及技术参数4.1 主要技术参数:型号ZPYGS55冲模数55最大产量(万片/小时)26最大压片直径(mm)13最大充填深度(mm)18最大片厚(mm)8最大压力(kN)120最大预压力(kN)20主电机功率(kW)7.5外形尺寸(长mm×宽mm)1220×1120高(mm)1850 重量(kg)20004.2 配用冲模:4.2.1 ZP型冲模。
4.2.2 主要结构尺寸:产品型号ZPYGS55上下冲杆杆身直径(mm Φ22上下冲杆长度(mm 115中模直径(mm Φ26中模高度(mm 224.3主要外接公用配套要求:4.3.1 电源制式应为380V,50Hz,三相五线制。
4.3.2 压片机工作环境条件应符合GMP要求。
我国片剂开发的一个潮流方向是创制新的剂型,片剂类新剂型之一便是缓控释药物,而有部分缓控释片剂需包芯处理,片剂包芯制备将依托包芯压片机机得以实施。
1包芯片的基本概念包芯片(如图1所示):采用压片的方式对芯片外层进行包衣,一般芯片缓释,外层速释(或控释),也是一种多次制备二组分药物的缓控释片剂,通过压制成为组分互相不混合的片剂。
中间内层称芯片,包芯片属缓解类片剂,能避光、控制氧化,也能分别控制各组分药物的释药速度。
2旋转式包芯压片机的结构与原理2.1组成旋转式包芯压片机由罩壳、上压轮、上与下轨道、转台、加料、下压轮、传动、润滑以及加芯部件或装置组成。
2.2原理该机在电动机带动下,转台转动,转台带动20副冲模旋转运动时,带有齿轮的转台也使加芯盘转动,由上下冲随曲线导轨作升降运动完成填充与压片动作,而由加芯装置动作完成加芯,这里外层初填充、加芯、再填充到完成包芯片的压制。
其中,上压轮可通过上下移动调节上冲进模深度,从而达到压制过程厚度的控制;上下轨道则相当于圆柱凸轮,其决定了上下冲在圆周上升降运动的轨道。
2.3几个特殊装量加芯采统是包芯压片机的关键,其涉及到芯片位置的精确定位和检测,这就需要在加芯盘运转时,确保芯片的加芯位置准确,并避免了芯片错位。
2.3.1吸粉装置该装置由吸粉嘴、阻尼销、弹簧与调节螺钉等组成。
吸粉嘴固定在机架上,其吸粉口对准芯盘节圆上,而吸口位上不可调,满足吸芯片要求;在吸粉嘴的前通孔中通过弹簧顶住阻尼销,调节螺钉顶在弹簧上,调节螺钉则用来调整弹簧松紧,使阻尼销的端面紧贴加芯盘,可消除由三组齿轮传动带动加芯盘时所产生的齿轮侧隙,使加芯盘运转平稳,相应提高了包芯的合格率。
机器运转时,吸粉装置可采用负压将卡住的芯片和粉末吸出,可避免芯片表面易产生粉末吸附在芯盘孔内卡位芯片,而发生“卡芯”现象则会造成片剂缺芯率上升,严重时被卡芯片会破裂使加芯过程不能进行。
2.3.2加芯装置该装置由转台、加芯盘、下冲杆、下冲加芯轨及齿轮组成。
旋转式压片机老式压片机设备工艺原理前言旋转式压片机是一种老式的压片机设备,经过多年的发展和改进已经逐渐被淘汰,但在一定程度上仍然存在着一定的市场需求。
本文将介绍旋转式压片机的工艺原理及其制作过程。
设备构造旋转式压片机主要由静态模板、动态模板、刀轮、压力轮、齿轮、定位轴等部件组成。
其中,静态模板与动态模板呈八角形,分布于两个平行的平面内,相互垂直。
刀轮则位于下方的静态模板内,压力轮则位于上方的动态模板内。
在压片机工作过程中,刀轮和压力轮会同时旋转,并压实药物质量均匀的药粒。
工艺原理旋转式压片机主要是通过压实药物来制作片剂。
其工艺过程如下:1.药粉混合药粉在投入旋转式压片机前需要进行混合,混合药粉的目的主要是为了使药粉中的成分达到均匀分布,以利于制作药片。
2.压制药物混合药粉后,将其投入旋转式压片机内,通过刀轮和压力轮的配合,压制药物成型,并在成型的过程中加入一定的压力,从而使药片达到足够的硬度。
3.排放成品完成制片的药物会从机器中排出,此时的药片还需经过空气流水的即时清洗,以免覆盖灰尘或杂质。
然后再送入烘干室进行烘干,使其达到合适的含水量。
4.包装经过烘干的药片再次进行质检,在不合格的药片被淘汰之后,将符合标准的药片投入包装机中,进行包装。
制作过程下面是旋转式压片机的制作流程:1.设计压片机结构旋转式压片机是一种相对复杂的设备,需要进行结构上的规划。
在设计时需考虑到成本、料质、效率、产量等制作因素,设计时应尽量以经济、实用、稳定、安全为考虑。
2.制作压片机模板据压片机结构设计,在合适的厚度下制作静态模板和动态模板,以便于进行零件的安装、定位和压制。
需要注意的是模板的平整度、硬度和耐磨性,因为它们直接关系到药片的成型质量。
3.制作压力轮、刀轮和齿轮压力轮与刀轮的制作需要保证它们具有坚固耐磨、平滑无齿的特点,否则不利于药片的成型和质量。
齿轮是旋转式压片机的动力支撑,它需要具备高强度、精度和稳定性的特点,以确保旋转式压片机的稳定运转。
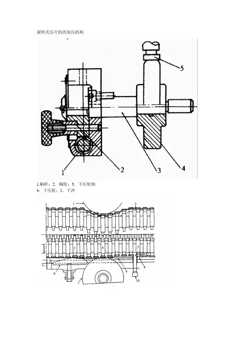
旋转式压片机的加压机构1.蜗杆;2.蜗轮;3.下压轮轴4.下压轮;5.下冲图3—35 旋转式压片机压片过程示意图1、上压力盘2、上冲轨道3、出片4、加压5、加料6、片重调节器7、下压力盘8、下冲轨道9、出片轨道10、出片调节器上压轮的安全装置当上压轮受力过大时,由曲轴的偏心力矩作用而使弹簧压缩,增大上、下压轮间的距离,以此保护冲模和机器。
出片出片机构的主要作用是将中模孔内压制成型的片剂推出。
这一机构无论是何种压片机,其方法都是使下冲升高并能将片剂顶出中模为止。
在旋转式压片中,常采用坡度导轨,使下冲渐渐上升,直至推出片剂。
单冲压片机的压片过程ZP33型旋转式压片机由传动机构、工作机构及电器装置、机身等部件组成。
工作原理:每旋转一周,冲模经过二次压片过程,有两套加料装置。
中药前处理工艺中药材--挑选--洗药--切制---炮炙、烘干---粉碎---筛分--包装。
中药提取工艺技术按药材在设备内加入方式可分为间歇式、半连续式和连续式。
按药材在设备内处理方式的不同,药材浸出在药厂常称为提取、浸渍(对静态浸出)、煎煮(水提热回流)等。
工艺流程方框简图提取:水提、醇提;动态、静态提取;多能提取、索氏提取等。
分离:筛网分离;离心分离;膜分离等。
浓缩:三效浓缩;球形真空浓缩;蒸发浓缩;膜浓缩等。
干燥:喷雾干燥;真空干燥;烘干;冻干等。
多能提取流程 如图所示加料 填充 压片 出片 投料 提取 分离 浓缩 干燥 包装 出渣 醇沉 蒸馏该流程可进行水提,也可进行醇提。
一般投料与水为1:10由于非有效成分的浸出,热回流提取液澄明度较差,一般用于固体口服制剂或外用药。
多能提取器示意图1.提取罐;2.泡沫捕集器;3.气液分离器4.冷却器;5.冷凝器;6.油水分离器;7.水泵;8.管道过滤器提取操作根据不同需要采取不同方式:①加热方式用水提取时通入蒸气加热,当温度达到提取温度后停止向罐内而改向夹层通蒸气进行间接加热,以维持罐内温度在规定范围内。
旋转式压片机的组成
旋转式压片机是一种常见的固体制剂生产设备,用于将粉末制剂压制成片剂或块状,具有结构简单、操作方便、生产效率高等优点。
下面我们将介绍旋转式压片机的组成。
1.机架:机架是旋转式压片机的主体部分,主要负责支撑和固定其他零部件。
2.主电机:旋转式压片机的主电机驱动旋转制片器,通过变速箱调节旋转速度,控制片剂质量和产量。
3.送料器:旋转式压片机的送料器主要负责将粉末料进入制粒系统,在生产中,根据研磨质量和匀浆情况,选择单、双、多层送料,保证粉末的充填量恒定,从而保证均匀压制。
4.压制系统:压制系统是旋转式压片机的核心部分,通常由若干个压制站(一般为4-12个)组成,每个压制站由一个压机、一个制片器和一个进料口组成。
刚启动时,每个压制站的进料口向外露出,供给粉料。
在压片后,压机向下推,压击制片器。
使制片器旋转并将粉末压成片,此时进料口自动关闭。
5.卸药机构:卸药机构是旋转式压片机的重要组成部分,主要负责将压制后的片剂自动卸下,卸药方式有振动式和搬运式两种方式,使得片剂可以进一步成型。
6.润滑系统:润滑系统是防止设备零件损坏和抗磨损的关键因素,也是保证压片机长期稳定工作的重要保障。
润滑系统包括油泵、油箱、油管等部件。
油泵将润滑油液送往设备的有润滑部位,岩每个润滑点都会有安装在设备上的润滑嘴,保证设备有充足的润滑油液,使设备可以长期稳定工作。
以上就是旋转式压片机的组成,每个部分各司其职,共同构成了完整的压制系统。
需要注意的是,在使用旋转式压片机时,要严格按照操作规程进行,保证生产环节的安全和效率,从而生产出高质量的片剂产品。
旋转式压片机的组成旋转式压片机是一种常用于制药行业的设备,主要用于制作片剂。
它由许多组成部分组成,下面我们来详细介绍一下。
1. 主机旋转式压片机的主机是整个设备的核心部分。
它由机架、压轮和压轮座等组成,能够完成片剂的压制工作。
主机的转速和压力可以根据需要进行调节,以确保片剂的质量和产量。
2. 进料系统进料系统是将原料输送到主机中的重要部分。
它由进料斗、振动器和送料器等组成。
振动器能够将原料均匀地输送到送料器中,并确保原料的流动性,从而保证片剂的质量和产量。
3. 压力控制系统压力控制系统是控制主机压力的重要部分。
它由压力表、调节阀和气动缸等组成。
压力表能够显示主机的压力情况,调节阀能够根据需要调节压力大小,气动缸则能够实现压力的自动调节。
4. 系统控制部分系统控制部分是整个设备的控制中心。
它由电气控制箱、PLC控制器和触摸屏操作面板等组成。
电气控制箱能够对设备进行电气保护和控制,PLC控制器则能够对设备进行自动化控制,触摸屏操作面板则能够方便地对设备进行操作。
5. 清洗系统清洗系统是对设备进行清洗和维护的重要部分。
它由清洗水箱、喷淋管和联动阀等组成。
清洗系统能够对设备进行彻底的清洗和消毒,保证设备的卫生和长期使用。
6. 辅助设备辅助设备是对旋转式压片机进行补充和扩展的设备。
它包括颗粒干燥机、颗粒包装机和颗粒混合机等。
这些设备能够对片剂的生产线进行补充和扩展,提高片剂的产量和质量。
旋转式压片机是一种功能强大的设备,具有广泛的应用前景。
它的组成部分繁多,需要精心设计和制造,才能保证设备的稳定性和可靠性。
旋转式压片机由传动机构、工作机构、电器控制装置、机身等组成。
该讲以ZP-33型为例,转盘转速12~34r/min,生产能力4.3~11万片/h,最大压力40kN。
1传动机构传动机构包括电动机、变速装置、传动皮带轮、离合器、蜗轮蜗杆等组成。
电动机的旋转通过变速装置、传动皮带轮传递给蜗杆,在蜗杆传动轴的一端装有一个手轮,供试车用。
在另一端装有一套离合器装置,当离合器脱开时,传动皮带轮空转,嵌合后传动轮带动传动轴上的蜗杆旋转,此时蜗轮与转台也一起运转,工作机构开始运行。
2工作机构工作机构包括转台、上下冲模、轨道、压轮及调节装置,加料装置,充填装置等部件组成。
转台为一个整体的铸件,周围有均匀分布的33个冲模孔。
下端轮缘与蜗轮刚性联接。
当转台旋转时,带着33副上下冲头一方面作圆周运动,另一方面沿着上下轨道,在模孔内按照轨导的轨迹,作垂直运动。
完成充填、压片。
出片等压片全过程工作。
转台每旋转一周,冲模经过二次压片过程,压轮分别在左右两侧,相距半圆周。
整个压片的工艺过程如图1所示。
冲模包括上下冲头和中摸,其制造精度要求较高。
中模与模孔为过渡配合,安装时应使中模的上平面与转台平面一致,不可高出。
冲头与中模孔的直径公差为0.035一0.050mm之间。
冲头长短不宜超过0.035mm。
中模安装好后应将六角球端螺钉旋紧。
上冲安装完毕后,必须将嵌舌对准上冲杆颈部翻下。
下冲安装完毕后必须将圆盖板放平,否则不能开车。
压片的形状是由冲头及冲模内孔的形状所决定的。
圆片的直径一般在5.5~14mm之间。
ZP-33型压片机只能压制圆形片,但转台经改制后,可用于异形片的压制。
上轨导是由轨导盘和曲线导轨组合成的整体平面凸轮。
上冲尾部的凹槽沿轨导的凸边运转,作上下运动。
下轨导是由主体台面、充填导轨与用螺钉安装在主体台面上的导轨组成。
当下冲运行时,它的尾部嵌在轨导槽内,沿糟的坡度和充填导轨的坡度而作上下运动。
完成加料、填充、出片动作。
3旋转式压片机的改进通过多年努力,旋转式压片机有着改进,改进后的旋转式压片机具有压力大、噪声低、运转稳定可靠、调试与安装方便等优点。
ZP9A型旋转式压片机的操作作者通过多年教学工作经验,介绍了ZP9A型旋转式压片机的结构特征及工作原理。
并详细阐述了ZP9A型旋转式压片机操作过程。
标签:ZP9A型;旋转式压片机;操作前言片剂系指药材提取物、药材提取物加药材细粉或药材细粉与适宜辅料混匀压制成的圆片状或异形片状的固体制剂。
目前,片剂已成为品种多、产量大、用途广、服用和贮运方便、质量稳定的中药剂型之一。
片剂在我国以及其他许多国家的药典所收载的制剂总量中均占1/3以上。
旋转式压片机是制药企业生产片剂中最重要的设备,其操作是操作工必须掌握的操作技能。
1 ZP9A型旋转式压片机概述ZP9A型旋转式压片机是我校实训教学用压片设备,用以将各种颗粒原料压制成圆片及异形片,是适合批量生产的基本设备。
其结构为单压式,有一套加料装置和两套轮。
转盘上可装9付冲模,即旋转一周可压制9片。
压片时转盘的速度、物料的充填深度、压片厚度可调节。
1.1 旋转式压片机结构特征1.1.1 本机的上半部为压片结构。
它的组成主要为上冲、中模、下冲三个部分连成一体,周围9付冲模均匀排列在转盘的边缘上、上下冲杆的尾部嵌在固定的曲线导轨上,当转盘作旋转运动时,上下冲即随着曲线轨导作升降运动而达到压片目的。
1.1.2 加料机构。
本机采用流栅式加料机构,能使物料均匀地充满模孔,减少片重差异。
1.1.3 设备速度调节。
电动机装在机座内,用三角皮带拖动蜗杆传动转盘,并在电动机轴上装置无级变速皮带轮,通过电机的移动,可任意调节速度,使用安全可靠无噪音。
1.2 ZP9A型旋转式压片机工作原理ZP9A型旋转式压片机为9冲单流程压片设备,即仅有一套压力盘(上、下各一)和一个加料斗,旋转一圈每个冲可压一个药片。
工作部分有绕轴转动的机台,机台分为三层,上层装上冲,中层装着模圈,下层装下冲;冲模均匀排列在转盘的边缘,上、下冲杆的尾部嵌在固定的曲线导轨上。
另有固定不动的上、下压力盘、片重调节器、压力调节器、料斗、加料器、出片调节器等。
ZP27D旋转式压片机技术资料
一、结构特点:
1:本机用以将各种颗粒状原料压制成片剂,除能压制圆片外还能压制各种几何形状的异形片、双面刻字片,中药片剂、西药片剂、钙片、口含片、螺旋藻片、奶片、糖果片、泡腾片、咀嚼片、调味块、鸡精块、
樟脑丸(卫生球)、芳香片、消毒片、化肥片、农药片、纽扣电池、电子元件、冶金粉末陶瓷粒等
2:其结构为双压式,两套压轮,变频调速,充填深度,压片厚度均能调节。
3: 机上装有机械缓冲装置,压力过载时能自动停车,机上还装有断冲保护装置,可避免零件遭受损坏. 4: 整机符合GMP要求.
5: 按用户要求可配置吸尘器、筛片机、加料机等.
二、主要技术参数
三:主要电器配置清单
四、主要材料配置清单。
旋转式压片机的4个结构
旋转式压片机是现代制药、食品等行业中广泛使用的一种工业设备。
它可以将一定规格的原料粉末压成片状,以便于包装和运输。
在这篇文章中,我们将重点介绍旋转式压片机的4个结构。
1. 上压轮
上压轮是压片机中最重要的零部件之一。
它位于压片机的顶部,负责对原料粉末施加压力。
一般情况下,上压轮的压力可以通过调整压力调节器来进行调节。
同时,上压轮的材料一般采用高强度不锈钢,以保证其在高速旋转时的稳定性和耐用性。
2. 下压轮
下压轮与上压轮相对应,位于压片机的底部。
它通过与上压轮配合,将原料粉末压成片状并输出。
和上压轮一样,下压轮的材料也一般采用高强度不锈钢。
3. 台板
台板是旋转式压片机中的平台,用于支撑原料粉末和压片轮。
它的直径和高度是可以调整的,以适应不同规格的原料和片药。
台板通常由不锈钢制成,以保证其强度和耐腐蚀性。
4. 旋转轴
旋转轴连接着上下压轮和电机,使得压片机的上下压轮能够高速旋转。
旋转轴的直径和长度也是可以调节的,以便于适应不同规格的压片机。
与其他结构一样,旋转轴的材料也常常是不锈钢,以保证其强度和耐用性。
综上所述,旋转式压片机的4个结构分别是上压轮、下压轮、台板和旋转轴。
这些零部件的材料和规格都非常重要,直接关系到压片机的性能和使用寿命。
旋转式压片机的结构特征与构造说明
广州市旭朗机械设备有限公司生产的旋转式压片机,用以将各种颗粒原料压制成圆片及异形片,是适合批量生产的基本设备。
其结构为双压式,有两套加料装置和两套轮。
转盘上可装33付冲模,旋转一周即可压制66片。
旋转式压片机压片时转盘的速度、物料的充填深度、压片厚度可调节。
机上的机械缓冲装置可避免因过载而引起的机件损坏。
机内配有吸粉箱。
通过吸嘴可吸取机器动转时所产生的粉尘,避免粘结堵塞,并可回收原料重新使用。
旋转式压片机结构特征:
1、本机的上半部为压片结构:它的组成主要为上冲、中模、下冲三个部分连成一体,周围19付冲模均匀排列在转盘的边缘上、上下冲杆的尾部嵌在固定的曲线导轨上,当转盘作旋转运动时,上下冲即随着曲线轨导作升降运动而达到压片目的。
2、主要工作过程分为:⑴充填;⑵压片;⑶出片。
三道程序连续进行,充填和压片有调节控制机构,附有表牌说明,操作简易。
3、本机采用流栅式加料机构,能使物料均匀地充满模孔,减少片重差异。
4、电动机装在机座内,用三角皮带拖动蜗杆传动转盘,并在电动机轴上装置无级变速皮带轮,通过电机的移动,可任意调节速度,使用安全可靠无噪音。
5、机座的侧面装有吸粉箱,其中有鼓风机、储粉室、滤粉室,当机器在高速运转中,产生飞粉和中模下坠的粉末,通过吸粉嘴排除之,不致粘结塞住,保持运转平稳正常。
旋转式压片机构造说明:
1、上压轮架装置
上盖为整体铸件,槽内装压轮,它套在曲轴上,轴外端有械杆连接螺旋弹簧,当压轮面上受压过大时,使曲轴的偏心力矩作用而使弹簧压缩,增大上下压轮间距离,减低压力,借以保护件和冲模模的安全使用,压力的调节,旋转花形手把改变弹簧的长度,使弹簧的压力恰至足够需要。
2、上轨道装置
导轨盘为一圆盘形,周围嵌有经过热处理的导轨片,用螺钉紧固,上冲尾部的凹槽沿着导轨的凸边运转,而作有轨迹的升降运动。
3、19孔转盘装置
转盘为一整体铸件,周围有19个垂直均匀排列的模孔,孔内装置19付冲模,整体套在固定立轴上,工作时由蜗杆传动,整体的转盘它抱着全部冲模作顺时针方向旋转。
4、传动轴附离合器装置
传动轴水平安装在轴承托架内,中间有蜗杆,前端有试车手轮,后端为锥形圆盘离合器,有手柄控制开关与停车,离合器的接触靠螺旋弹簧的压力传输,若机器的负荷超过弹簧的压力时,就发生打滑,这样勿使机器遭受严重的损坏。
5、加料器装置
圆桶锥底形料斗和月形回流栅式的加料器,为供料给压轮压片。
加料器的装置注意其平面应校准至将碰面末碰转盘面,一般留空隙0.03-0.1毫米,空隙可由支柱装置调节。
粉量调整方法,在料斗架的顶部有一滚花螺钉,为调节料斗的高度,控制粉子的流量,其高度须根据颗粒的大小和充填量,可观察栅式加料器内粉子的积贮量勿外溢为合格。
调整后应将侧面的滚花螺钉旋紧。
6、主体、下导轨、下压轮装置
主体为一方箱形,长方形槽内装下压轮,其平面上装有一副经过热处理的轨导,用螺钉紧固着,当下冲在运行时,它的尾部嵌在轨导槽内,随着槽的坡度而作升降运动,轨导的末端有一个圆孔,用圆面积片盖着,为装置下冲之用,下压轮装在主体的槽内,它套在曲轴上,曲轴的外端装有斜齿轮和蜗杆连结,旋转蜗杆,通过齿轮的减速而作微量的转动,当轴的偏心向上时,压轮上升,压力增加片薄,下则片厚,借以控制片剂的厚度和软硬。
表牌上的标记从0-6相应于片剂的厚度,由于斜齿轮有自锁作用,允许在运转中进行调节,但调整后,应将中间的花形手把扳紧。
7、充填调节装置
充填调节机构装置在主体的内部,在主体的平面上可观察到月形皣??模孔和安装的冲模逐件揩擦干净,做好准备工作,依照以下步骤进行安装。
(1)中模装置:将转盘上的中模固紧螺钉逐件族出与转盘外圆面积平,勿使中模装入与螺钉的头部碰着,中模装置甚紧,放置时要平,可用中模打棒(随机工具)则上冲孔穿入,用于锤轻轻打入,中模进入模。
孔生其平面不可高出转台平面为合格,然后将螺钉固紧之。
(2)上冲装置:应将上导轨盘的缺口处嵌舌扳上,中杆的尾部涂些植物油,逐件插入孔内,用大拇指和食指旋转冲杆,检验头部进入中模上下及转动灵活,须无硬擦现象为合格,全部装妥后应将嵌舌扳下。
(3)下冲装置:拉开主体上的小门,由主体的圆孔装上,装法与上冲同,装妥后必须将圆片盖平。
(4)冲模全部套装毕后,将拆下的零件按原位置装好,用手继续转动试车手轮,使转盘旋转1-2转,观察上下冲
进入中模孔和在曲线导上行动,必须灵活无碰撞和硬擦现象,开动电动机,使空车运转2-3分钟,平稳正常即可投入生产。