一级蜗轮蜗杆减速器设计-周礼达
- 格式:doc
- 大小:603.50 KB
- 文档页数:21
一、课程设计任务书题目:设计某带式传输机中的蜗杆减速器工作条件:工作时不逆转,载荷有轻微冲击;工作年限为10年,二班制。
已知条件:滚筒圆周力F=4400N;带速V=0.75m/s;滚筒直径D=450mm。
80,则总传动比合理范围为动机转速的可选范围为:⨯~80)63.69750、1000、根据容量和转速,由有关手册查出有四种适用的电动机型号,因此有四种传动比方案,综合考虑电动机和传动装置尺寸、重量、' 54838)348.24cos5.71=48.24从教材5.7110.9592140140=-=知许用弯曲应力][F =σ查得由ZCuSn10P15.71;v =ϕ119.681000cos cos5.71n γ=值法查大于原估计值,因此不用重算。
(68.885S 0.92t c =<∴=油的工作温度)合格。
= 68.8cS 0.92=设计小结经过几周的课程设计,我终于完成了自己的设计,在整个设计过程中,感觉学到了很多的关于机械设计的知识,这些都是在平时的理论课中不能学到的。
还将过去所学的一些机械方面的知识系统化,使自己在机械设计方面的应用能力得到了很大的加强。
除了知识外,也体会到作为设计人员在设计过程中必须严肃、认真,并且要有极好的耐心来对待每一个设计的细节。
在设计过程中,我们会碰到好多问题,这些都是平时上理论课中不会碰到,或是碰到了也因为不用而不去深究的问题,但是在设计中,这些就成了必须解决的问题,如果不问老师或是和同学讨论,把它搞清楚,在设计中就会出错,甚至整个方案都必须全部重新开始。
比如轴上各段直径的确定,以及各个尺寸的确定,以前虽然做过作业,但是毕竟没有放到非常实际的应用环境中去,毕竟考虑的还不是很多,而且对所学的那些原理性的东西掌握的还不是很透彻。
但是经过老师的讲解,和自己的更加深入的思考之后,对很多的知识,知其然还知其所以然。
刚刚开始时真的使感觉是一片空白,不知从何处下手,在画图的过程中,感觉似乎是每一条线都要有一定的依据,尺寸的确定并不是随心所欲,不断地会冒出一些细节问题,都必须通过计算查表确定。
机械设计课程设计设计说明书题目设计者指导教师班级提交日期全套CAD图纸加153893706目录一、设计任务 (1)1、工作条件 (1)2、原始数据 (1)3、传动方案 (1)二、总体设计 (2)1、传动方案 (2)2、选择电机 (4)3、确定传动装置的总传动比和分配传动比 (5)4、减速器各轴转速、功率、转距的计算 (6)5、蜗轮蜗杆传动的设计 (7)6、轴的结构设计 (12)7、轴的校核 (16)8、平键联接计算 (19)9、滚动轴承校核 (20)10、润滑设计 (21)11、箱体及附件的设计 (22)三、设计心得与体会 (23)四、参考文献 (24)一设计任务1.题目F:设计一级蜗杆减速器,拉力F=7000N,速度v=0.538m/s,直径D=400mm,每天工作小时数:16小时,工作寿命:8年,工作天数(每年):300天,2.原始数据3.传动方案项目数据运输带拉力 F(KN)7000二 总体设计1、传动方案:已经给出,如第1页附图12、选择电动机(1)选择电动机的类型:无特殊要求,电机类型通常选用Y系列的三相笼型异步电动机,因其结构简单,工作可靠,价格低廉,维护方便。
(2)选择电动机的容量工作机所需功率为370.53810 3.76610001000w FV P KW KW KW ⨯⨯=== 式中g r c ηηη、、、1η分别为蜗轮蜗杆传动、一对滚动轴承、联轴器、工作机传动效率,。
取gη=0.8、r η=0.99、c η=0.99、10.95η=则312..a g r c ηηηηηη=⋅⋅=0.8×0.993×0.99×0.95×0.96=0.7电动机所需工作功率为: 3.7665.020.75wd aP P KW η===(3)确定电动机转速卷筒工作速度为6010006010000.538/min 25.71/min 400w v n r r D ππ⨯⨯⨯===⋅⋅按高等教育出版社出版的机械设计课程设计指导书表3-1,常见机械传动的主要性能推荐的传动比合理范围,一级蜗杆减速器传动比10~40,根据V 带的传动比范围2 ~4经查表按推荐的合理传动比范围,一级蜗杆减速器传动比范围为:10--80,可选择的电动机转速范围为nd=(10-80)×25.71=257.1--2056.8r/min 。
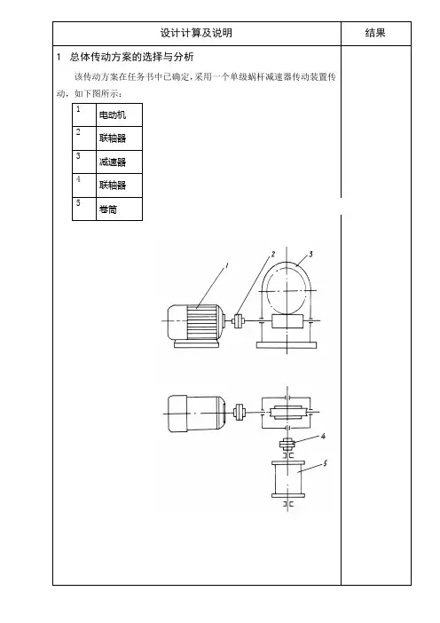
1总体传动方案的选择与分析该传动方案在任务书中已确定,采用一个单级蜗杆减速器传动装置传动,如下图所示:1电动机2联轴器3减速器4联轴器5卷筒因传递的功率不大,并对重量及结构尺寸无特殊要求,故选用材料45钢,调质处理。
轴径可按下式求得,有表取A= 106 则 d ≥333.9010645.3050p A mm n =⨯= 考虑有键槽,将直径增大5%,则:d=45.30×(1+5%)mm=47.56mm 轴伸安装联轴器,考虑补偿轴的可能位移,选用弹性元件的联轴器,由转速和转矩得Tc=KT2=1.5×744900=1117350N •mm 查表GB/T 5014-2003弹性柱销联轴器选用 LX4,标准孔径d=55mm ,即轴伸直径为38mm ,半联轴器的长度L=84mm 。
初选圆锥滚子轴承30213(GB/T 297-1994)各段轴的长度及直径:d ≥45.30mm211233446666558260456560.570737524.56524.5l d mml mm d mmmmd mm l mm d mm l mm d mm l mm d mm l mm============箱体的各零件间,如箱盖与箱座间、及外伸轴的输出、输入轴与轴承盖间,需设置不同形式的密封装置。
对于无相对运动的结合面,常用密封胶、耐油橡胶垫圈等;对于旋转零件如外伸轴的密封,则需根据其不同的运动速度和密封要求考虑不同的密封件和结构。
本设计中由于密封界面的相对速度较小,故采用接触式密封。
输入轴与轴承盖间V <3m/s,输出轴与轴承盖间也为V <3m/s,故均采用半粗羊毛毡封油圈。
8 减速器附件的选择确定8.1 轴承端盖根据下列的公式对轴承端盖进行计算:d0=d3+1mm;D0=D +2.5d3;D2=D0+2.5d3;e=1.2d3;e1≥e;m由结构确定;D4=D -(10~15)mm;D5=D0 -3d3;D6=D -(2~4)mm;d1、b1由密封尺寸确定;b=5~10,h=(0.8~1)b8.2油面指示器用来指示箱内油面的高度8.3. 放油孔及放油螺塞为排放减速器箱体内污油和便于清洗箱体内部,在箱座油池的最低处设置放油孔,箱体内底面做成斜面,向放油孔方向倾斜1°~2°,使油易于流出。
1总体传动方案的选择与分析该传动方案在任务书中已确定,采用一个单级蜗杆减速器传动装置传动,如下图所示:1 电动机2 联轴器3 减速器4 联轴器5 卷筒由上表可知同步转速高的电动机质量低,但综合考虑有表中数据可知两个方案均可行,但方案1的总传动比较小,传动装置结构尺寸较小,并且节约能量。
因此选择方案1,选定电动机的型号为Y160M-6。
2.2传动比分配各级传动比分配: 由于为蜗杆传动,传动比都集中在蜗杆上,其他不分配传动比。
4.1950970n n i w m === 2.3计算传动装置的运动和动力参数2.3.1蜗杆蜗轮的转速:蜗杆转速和电动机的额定转速相同, n 杆=970r/min蜗轮转速:min /504.19970r n == 滚筒的转速和蜗轮的转速相同,n 滚=50r/min2.3.2功率蜗杆的功率:p=5.55*0.99=5.49kW蜗轮的功率:p=5.49*0. 725*0.98=3.90kW 滚筒的功率:p=3.90*0.99*0.98*0.96=3.63kW2.3.3各轴转矩电动机型号:Y160M-6。
i=19.4n 杆=970r/minn =50r/minn 滚=50r/minP 杆=5.49kWP 蜗=3.90kW p 筒=3.63kW)342.42cos11.31=中可查得齿形系数11.3110.9192140=-=][FN F K =σ—8查得由ZCuSn10P111.31;v =ϕ1 4.1441000cos cos11.31n γ==0.0235, 因此不用重算。
69.6285a t t c =+=<所以S=1.10 轴的设计计算蜗轮上的轴向力、圆周力、径向力分别与 蜗杆上相应的圆周力、轴向力、径向力大小相等,方向相反。
4.1.2蜗杆轴的设计计算选用45调质,硬度217~255HBS ,并查表15-3,取A0=120 d ≥335.4912021.39970p A mm n =⨯= 考虑有键槽,将直径增大5%,则:d=21.39×(1+5%)mm=22.46mm 轴伸安装联轴器,考虑补偿轴的可能位移,选用无弹性元件的联轴器,由转速和转矩得 Tc=KT1=1.5×54090=81135N •mm 查表GB/T 5014-2003弹性柱销联轴器选用 LX4,标准孔径d=50mm ,即轴伸直径为38mm ,半联轴器的长度L=84mm 。
目录前言 (2)一、传动方案的拟定及说明 (3)二、电动机的选择 (4)2.1 、选择电动机的类型 (4)2.2 、选择电动机的容量 (4)2.3 、确定电动机的转速 (5)三、计算传动装置以及动力参数 (6)3.1、传动比的计算与分配 (6)3.2、传动和动力参数计算 (6)四、蜗轮蜗杆设计计算 (8)4.1蜗杆蜗轮参数设计计算 (8)4.3蜗轮蜗杆尺寸总结 (9)五、轴的设计计算 (112)5.1 高速轴(蜗杆轴)的设计计算 (112)5.2 低速轴的设计计算 (13)六、键联接的选择及校核计算 (16)七、滚动轴承的选择及计算 (17)7.1 高速轴上轴承的选择及校核 (17)7.2 高速轴上轴承的选择及校核 (17)八、联轴器的选择 (19)8.1、电动机与高速轴之间的联轴器 (19)8.2、低速轴与卷筒之间的联轴器 (19)九、减速器箱体尺寸及结构的确定 (200)9.1 箱体尺寸的设计 (200)9.2 箱体各部件结构的设计 (211)十、参考文献 (233)前言课程设计是考察学生全面在掌握基本理论知识的重要环节。
根据学院的教学环节,在2011年6月14日-2010年7月05日为期三周的机械设计课程设计。
本次是设计一个一级蜗杆减速器,减速器是用于电动机和工作机之间的独立的闭式传动装置。
本减速器属单级蜗杆减速器(电机——联轴器——减速器——联轴器——带式运输机),在袁逸萍老师指导下独立完成的。
该课程设计内容包括:任务设计书,参数选择,传动装置总体设计,电动机的选择,运动参数计算,蜗轮蜗杆传动设计,蜗杆、蜗轮的基本尺寸设计,蜗轮轴的尺寸设计与校核,减速器箱体的结构设计,减速器其他零件的选择,减速器的润滑等和装配图A0图纸一张、零件图A3图纸4张(包括蜗杆轴与蜗轮)。
设计参数的确定和方案的选择通过查询有关资料所得。
该减速器的设计基本上符合生产设计要求,限于作者初学水平,错误及不妥之处望老师批评指正。
1)初步估算轴的最小直径结论本文通过对单级蜗杆减速器的结构形状进行分析,得出总体方案.按总体方案对各零部件的运动关系进行分析得出单级蜗杆减速器的整体结构尺寸,然后以各个系统为模块分别进行具体零部件的设计校核计算,得出各零部件的具体尺寸,再重新调整整体结构,整理得出最后的设计图纸和说明书.此次设计通过对单级蜗杆减速器的设计,使我对成型机械的设计方法、步骤有了较深的认识.熟悉了蜗轮、轴等多种常用零件的设计、校核方法;掌握了如何选用标准件,如何查阅和使用手册,如何绘制零件图、装配图;以及设计非标准零部件的要点、方法。
参考文献[1] 濮良贵纪名刚等著《机械设计(第七版)》北京高等教育出版社 2001[2] 王世刚张秀亲苗淑杰《机械设计实践》哈尔滨工程大学出版社 2003[3] 唐照民等著《机械设计》西安交通大学出版社 1995[4] 任金泉等著《机械设计课程设计》西安交通大学出版社 2003[5] 刘鸿文《材料力学3版》北京机械工业出版社 1992[6] 孙桓陈作模主编《机械原理6版》北京高等教育出版社 2001[7] 机械设计手册编委会《机械设计手册》新版北京机械工业出版社 2004[8] 林景凡王世刚李世恒《互换性与质量控制基础》北京中国科学技术出版社1999[9] 张培金蔺联芳等著《机械设计课程设计》上海交通大学出版社 1988[10] 吴克坚主编《机械原理》高等教育出版社 1989[11] 刘鸿文主编《材料力学》高等教育出版社 1991[12] 吴宗泽主编《机械设计》高等教育出版社 1990[13] 成大先主编《机械设计手册 [M]》 1994年4月第三版第五卷化学工业出版社。
1、《机械设计课程设计》(修订版)鄂中凯,王金等主编东北工学院出版社 1992年2、《机械设计第八版》主编濮良贵高等教育出版社 2006年3、《机械设计、机械设计基础课程设计》王昆等主编高等教育出版社 1995年4、《机械设计课程设计图册》(第三版)龚桂义主编高等教育出版社 2002年5、《机械零件设计课程设计》吴宗泽罗圣国编高等教育出版社 2002年6. 《机械设计课程设计》张培金蔺联芳编上海交通大学出版社 1992年7.《机械设计课程设计》刘俊龙何在洲主编机械工业出版社 1993年8.《机械零件设计课程设计》毛振扬陈秀宁施高义编浙江大学出版社 1989年致谢首先,我要特别感谢我的指导老师郑艳博,她对我毕业设计给予了很多的指导花费了很多的心血,使我最后圆满完成了毕业设计。
(此文档为word格式,下载后您可任意编辑修改!)以下文档格式全部为word格式,下载后您可以任意修改编辑。
一级蜗轮蜗杆减速器设计说明书第一章绪论1.1本课题的背景及意义计算机辅助设计及辅助制造(CADCAM)技术是当今设计以及制造领域广泛采用的先进技术。
本次设计是蜗轮蜗杆减速器,通过本课题的设计,将进一步深入地对这一技术进行深入地了解和学习。
1.1.1 本设计的设计要求机械零件的设计是整个机器设计工作中的一项重要的具体内容,因此,必须从机器整体出发来考虑零件的设计。
设计零件的步骤通常包括:选择零件的类型;确定零件上的载荷;零件失效分析;选择零件的材料;通过承载能力计算初步确定零件的主要尺寸;分析零部件的结构合理性;作出零件工作图和不见装配图。
对一些由专门工厂大批生产的标准件主要是根据机器工作要求和承载能力计算,由标准中合理选择。
根据工艺性及标准化等原则对零件进行结构设计,是分析零部件结构合理性的基础。
有了准确的分析和计算,而如果零件的结构不合理,则不仅不能省工省料,甚至使相互组合的零件不能装配成合乎机器工作和维修要求的良好部件,或者根本装不起来。
1.2.(1)国内减速机产品发展状况国内的减速器多以齿轮传动,蜗杆传动为主,但普遍存在着功率与重量比小,或者传动比大而机械效率过低的问题。
另外材料品质和工艺水平上还有许多弱点。
由于在传动的理论上,工艺水平和材料品质方面没有突破,因此没能从根本上解决传递功率大,传动比大,体积小,重量轻,机械效率高等这些基本要求。
(2)国外减速机产品发展状况国外的减速器,以德国、丹麦和日本处于领先地位,特别在材料和制造工艺方面占据优势,减速器工作可靠性好,使用寿命长。
但其传动形式仍以定轴齿轮转动为主,体积和重量问题也未能解决好。
当今的减速器是向着大功率、大传动比、小体积、高机械效率以及使用寿命长的方向发展。
1.3.本设计的要求本设计的设计要求机械零件的设计是整个机器设计工作中的一项重要的具体内容,因此,必须从机器整体出发来考虑零件的设计计算,而如果零件的结构不合理,则不仅不能省工省料,甚至使相互组合的零件不能装配成合乎机器工作和维修要求的良好部件,或者根本装不起来。
机械设计课程设计2010-2011第2学期姓名:冉毅班级:机械设计一班指导教师:罗红成绩:日期:2011 年4月摘要这篇课程设计的论文主要阐述的是一套系统的关于蜗轮蜗杆减速器的设计方法。
下置式蜗轮蜗杆是减速器的一种形式,它与蜗杆上置式减速器相比具有搅油损失小,润滑条件好等优点,适用于传动V≤4-5 m/s。
在论文中,首先,对此次课程设计要求作了简单的介绍,接着阐述了蜗轮蜗杆的结构和条件。
然后对其结构粗设计,接着就按课程设计准则和设计理论进行尺寸的计算和校核。
代表着减速器的一般过程。
对其他的蜗轮蜗杆的设计工作也有一定的价值。
目前,在蜗轮蜗杆减速器的设计、制造以及应用上,国内与国外先进水平相比仍有较大的差距。
国内在设计制造蜗轮蜗杆减速器的过程中存在着很大程度的缺点,问题如:轮齿根切;蜗杆毛坯的正确设计;刚度的条件;蜗轮蜗杆的校核。
关键词:滚子轴承、蜗轮蜗杆减速器、蜗杆、蜗轮、键、联轴器ABSTRACTThis article mainly elaborates the course design of the paper was a system about worm reducer design method. Underneath type worm is a form of speed reducer, and the worm compared with style reducer placed on small, stirring oil loss as well as good lubrication condition, suitable for transmission V acuities 4-5 m/s.In the paper, firstly, to the curriculum design requirements made simple introduction, then expounds the structure of worm and condition. Then the structure design, then press coarse curriculum design standards and design theory to calculate and check the size of. Represents the general process of speed reducer. To the rest of the worm design work also has a certain value. At present, in the worm reducer design, manufacturing and application, compared with domestic and foreign advanced level are still big gap. Domestic in designing and manufacturing process of worm gear reducer exist in large degree of faults, questions like: wheel dedendum cut; The correct design; worm blank Stiffness conditions; Worm dynamicrigidity.KEY WORDS:Roller bearings, worm reducer, worm and worm and key, coupling目录1、机械设计课程设计任务书 -----------------------------------(1)2、传动方案的拟定与分析--------------------------------------(2)3电动机的选择及传动比----------------------------------------(2) 3.1、电动机类型的选择------------------------------------(2) 3.2、电动机功率选择--------------------------------------(2) 3.3、确定电动机转速--------------------------------------(3)3.4、总传动比--------------------------------------------(4)4、运动学与动力学计算 ---------------------------------------(5)4.1、蜗杆蜗轮的转速--------------------------------------(5) 4.2、功率------------------------------------------------(5)4.3、转矩-----------------------------------------------(5)5、传动零件设计计算------------------------------------------(6) 5.1、选择蜗杆传动类型------------------------------------(6) 5.2、选择材料--------------------------------------------(6) 5.3、按齿面接触疲劳强度进行设计--------------------------(6) 5.4、蜗杆与蜗轮的主要参数与几何尺寸----------------------(7) 5.5、校核齿根弯曲疲劳强度--------------------------------(8) 5.6、验算效率 ------------------------------------------(9) 5.7、精度等级公差和表面粗糙度的确定----------------------(9)5.8.热平衡核算------------------------------------0------(9)6、轴的设计计算及校核---------------------------------------(10) 6.1、连轴器的设计计算-----------------------------------(10)6.2、输入轴的设计计算-----------------------------------(10)6.3、输出轴的设计计算 ----------------------------------(13)7、轴承的校核 ----------------------------------------------(15) 7.1、计算输入轴轴承 ------------------------------------(15)7.2、计算输出轴轴承 ------------------------------------(18)8、联轴器及键等相关标准的选择-------------------------------(19) 8.1、连轴器与电机连接采用平键连接-----------------------(19) 8.2、输入轴与联轴器连接采用平键连接---------------------(19) 8.3、输出轴与联轴器连接用平键连接-----------------------(20)8.4、输出轴与涡轮连接用平键连接-------------------------(20)9、减速器结构与润滑的概要说明-------------------------------(20) 9.1、箱体的结构形式和材料-------------------------------(20) 9.2、铸铁箱体主要结构尺寸和关系-------------------------(20) 9.3、齿轮的润滑-----------------------------------------(21) 9.4、滚动轴承的润滑-------------------------------------(21) 9.5、密封-----------------------------------------------(22)9.6、注意事项-------------------------------------------(22)10、设计小结------------------------------------------------(23)11、参考资料------------------------------------------------(23)参考文献[1] 濮良贵、纪名刚.机械设计(第八版).北京:高等教育出版社2005年12 月[2] 荣涵锐.机械设计课程设计简明图册.哈尔滨工业大学出版社、2004年10 月[3] 机械设计课程设计.第四版2010年1月。
(此文档为word格式,下载后您可任意编辑修改!)以下文档格式全部为word格式,下载后您可以任意修改编辑。
一级蜗轮蜗杆减速器设计说明书第一章绪论1.1本课题的背景及意义计算机辅助设计及辅助制造(CADCAM)技术是当今设计以及制造领域广泛采用的先进技术。
本次设计是蜗轮蜗杆减速器,通过本课题的设计,将进一步深入地对这一技术进行深入地了解和学习。
1.1.1 本设计的设计要求机械零件的设计是整个机器设计工作中的一项重要的具体内容,因此,必须从机器整体出发来考虑零件的设计。
设计零件的步骤通常包括:选择零件的类型;确定零件上的载荷;零件失效分析;选择零件的材料;通过承载能力计算初步确定零件的主要尺寸;分析零部件的结构合理性;作出零件工作图和不见装配图。
对一些由专门工厂大批生产的标准件主要是根据机器工作要求和承载能力计算,由标准中合理选择。
根据工艺性及标准化等原则对零件进行结构设计,是分析零部件结构合理性的基础。
有了准确的分析和计算,而如果零件的结构不合理,则不仅不能省工省料,甚至使相互组合的零件不能装配成合乎机器工作和维修要求的良好部件,或者根本装不起来。
1.2.(1)国内减速机产品发展状况国内的减速器多以齿轮传动,蜗杆传动为主,但普遍存在着功率与重量比小,或者传动比大而机械效率过低的问题。
另外材料品质和工艺水平上还有许多弱点。
由于在传动的理论上,工艺水平和材料品质方面没有突破,因此没能从根本上解决传递功率大,传动比大,体积小,重量轻,机械效率高等这些基本要求。
(2)国外减速机产品发展状况国外的减速器,以德国、丹麦和日本处于领先地位,特别在材料和制造工艺方面占据优势,减速器工作可靠性好,使用寿命长。
但其传动形式仍以定轴齿轮转动为主,体积和重量问题也未能解决好。
当今的减速器是向着大功率、大传动比、小体积、高机械效率以及使用寿命长的方向发展。
1.3.本设计的要求本设计的设计要求机械零件的设计是整个机器设计工作中的一项重要的具体内容,因此,必须从机器整体出发来考虑零件的设计计算,而如果零件的结构不合理,则不仅不能省工省料,甚至使相互组合的零件不能装配成合乎机器工作和维修要求的良好部件,或者根本装不起来。
机械设计综合课程设计报告(一级蜗轮蜗杆
减速器)
自查报告。
自查报告。
一、设计过程回顾。
在本次课程设计中,我负责设计一级蜗轮蜗杆减速器。
在设计过程中,我首先进行了相关的理论学习和调研,了解了蜗轮蜗杆减速器的工作原理、结构特点以及设计要求。
然后,我进行了传动比的计算和齿轮参数的确定,选择了适当的材料,并进行了零部件的设计和装配。
二、设计结果分析。
经过设计和计算,我得到了一级蜗轮蜗杆减速器的设计方案,并进行了相关的分析。
在设计过程中,我充分考虑了传动比的合理性、齿轮的强度和耐磨性、传动效率等因素,确保了设计方案的合理性和可行性。
三、存在的问题和改进措施。
在设计过程中,我发现了一些存在的问题,如装配精度要求较高、零部件加工难度较大等。
针对这些问题,我将进一步完善设计方案,优化零部件结构,提高装配精度要求,简化加工工艺,以确保设计方案的实施和可行性。
四、总结与展望。
通过本次课程设计,我对一级蜗轮蜗杆减速器的设计有了更深入的了解,提高了自己的设计能力和实践能力。
在今后的学习和工作中,我将继续努力,不断提升自己的设计水平,为实际工程问题的解决做出更大的贡献。
以上就是我在机械设计综合课程设计中的自查报告,谢谢!。
一级蜗轮蜗杆减速器设计说明书第一章绪论1.1本课题的背景及意义计算机辅助设计及辅助制造(CAD/CAM)技术是当今设计以及制造领域广泛采用的先进技术。
本次设计是蜗轮蜗杆减速器,通过本课题的设计,将进一步深入地对这一技术进行深入地了解和学习。
1.1.1 本设计的设计要求机械零件的设计是整个机器设计工作中的一项重要的具体内容,因此,必须从机器整体出发来考虑零件的设计。
设计零件的步骤通常包括:选择零件的类型;确定零件上的载荷;零件失效分析;选择零件的材料;通过承载能力计算初步确定零件的主要尺寸;分析零部件的结构合理性;作出零件工作图和不见装配图。
对一些由专门工厂大批生产的标准件主要是根据机器工作要求和承载能力计算,由标准中合理选择。
根据工艺性及标准化等原则对零件进行结构设计,是分析零部件结构合理性的基础。
有了准确的分析和计算,而如果零件的结构不合理,则不仅不能省工省料,甚至使相互组合的零件不能装配成合乎机器工作和维修要求的良好部件,或者根本装不起来。
1.2.(1)国内减速机产品发展状况国内的减速器多以齿轮传动,蜗杆传动为主,但普遍存在着功率与重量比小,或者传动比大而机械效率过低的问题。
另外材料品质和工艺水平上还有许多弱点。
由于在传动的理论上,工艺水平和材料品质方面没有突破,因此没能从根本上解决传递功率大,传动比大,体积小,重量轻,机械效率高等这些基本要求。
(2)国外减速机产品发展状况国外的减速器,以德国、丹麦和日本处于领先地位,特别在材料和制造工艺方面占据优势,减速器工作可靠性好,使用寿命长。
但其传动形式仍以定轴齿轮转动为主,体积和重量问题也未能解决好。
当今的减速器是向着大功率、大传动比、小体积、高机械效率以及使用寿命长的方向发展。
1.3.本设计的要求本设计的设计要求机械零件的设计是整个机器设计工作中的一项重要的具体内容,因此,必须从机器整体出发来考虑零件的设计计算,而如果零件的结构不合理,则不仅不能省工省料,甚至使相互组合的零件不能装配成合乎机器工作和维修要求的良好部件,或者根本装不起来。
一级蜗轮减速器机械设计课程设计。
一、课程设计任务书标题:带式输送机蜗轮减速器工作条件的设计:工作时,它不会反转,负载会有轻微的影响。
工作年限为10年,分两班工作。
已知条件:滚筒圆周力f=4400n皮带速度v=0.75米/秒;滚筒直径d=450毫米。
其次,由于本课程设计的传输方案的制定和分析已经给出:要求设计下面带有单级蜗杆的减速器。
与蜗杆减速器相比,它具有搅油损失小、润滑条件好等优点。
适用于变速器V≤4-一、课程设计任务书标题:带式输送机蜗轮减速器工作条件的设计:工作时,它不会反转,负载会有轻微的影响。
工作年限为10年,分两班工作。
已知条件:滚筒圆周力f=4400n皮带速度v=0.75米/秒;滚筒直径d=450毫米。
其次,由于本课程设计的传输方案的制定和分析已经给出:要求设计下面带有单级蜗杆的减速器。
与蜗杆减速器相比,它具有搅油损失小、润滑条件好等优点,适用于驱动v ≤ 4: 2的电机所需的功率;3、确定电机转速计算滚筒工作速度:根据《机械设计》教材推荐的合理传动比范围,如果取第一级蜗轮蜗杆减速器的传动比范围,总传动比的合理范围为1=5 ~ 80。
因此,电机速度的可选范围是:该范围内的同步转速为750、1000、1500和3000转/分。
根据容量和转速,在相关手册中找到四种适用的电机型号,因此有四种传动比方案。
考虑到电机和传动装置的尺寸、重量、价格以及皮带传动和减速器的传动比,可以看出第四种方案更合适,选择n=3000r/min。
4.确定电机型号。
根据以上选择的电机类型、要求的额定功率和同步速度,选择的电机型号为Y132S1-3、确定电机转速计算滚筒工作速度:根据《机械设计》教材推荐的合理传动比范围,如果取第一级蜗轮蜗杆减速器的传动比范围,总传动比的合理范围为1=5 ~ 80。
因此,电机速度的可选范围是:该范围内的同步转速为750、1000、1500和3000转/分。
根据容量和转速,在相关手册中找到四种适用的电机型号,因此有四种传动比方案。
机械设计课程设计设计说明书设计题目:一级蜗轮蜗杆减速器的设计专业:班级:学号:学生姓名:指导老师:20**年6月30日目录1、机械设计课程设计任务书------------------------------第2页2、运动学与动力学计算------------------------------------第3页3、传动零件设计计算----------------------------------------第7页4、轴的设计计算及校核-------------------------------------第12页5、箱体的设计-------------------------------------------------第22页6、键等相关标准的选择-------------------------------------第24页7、减速器结构与润滑、密封方式的概要说明----------第26页8、参考文献----------------------------------------------------第28页9、设计小结----------------------------------------------------第29页1.《机械设计》课程设计任务书一、设计题目设计用于带式运输机的传动装置。
二、工作原理及已知条件工作原理:带式输送机工作装置如下图所示。
己知条件工作条件:一班制,连续单向运转。
载荷平稳,室内工作,有粉尘(运输带与卷筒及支撑件,包括卷筒轴承的摩擦阻力影响已在F中考虑)。
使用期限:十年,大修期三年。
生产批量:10台。
动力来源:电力,三相交流,电压380/220 V。
运输带速度允许误差:±5%。
生产条件:中等规模机械厂,可加工7-8级精度齿轮及蜗轮。
滚筒效率:ηj=(包括滚筒与轴承)。
设计工作量: 1.减速器装配图一张(A0或A1)。
2.零件图1-2张。