工程力学课后习题问题详解
- 格式:doc
- 大小:2.25 MB
- 文档页数:15
4日1-1试画出以下各题中圆柱或圆盘的受力争.与其它物体接触处的摩擦力均略去.12140 sin 600530 cos6005207 164 o y AC o x BC AC AC BC F F F F F F F F F N F N =⨯+-==⨯--=∴==∑∑AC 与BC 两杆均受拉.2-3 程度力F 感化在刚架的B 点,如图所示.如不计刚架重量,试求支座A 和D 处的束缚力.解:(1) 取整体(2) 22D A F2-4 在简支梁AB 的中点C 感化一个竖直45o 的力F,力的大小等于20KN,如图所示.若梁的自重不计,试求两支座的束缚力.解:(1) 研讨AB ,(2)类似关系:B A F F FCDE cde CD CE ED ∆≈∆∴==几何尺寸:11 222CE BD CD ED =====FFF AF D求出束缚反力:12010 22010.4 45arctan 18.4B A o oCE F F kNCDED F F kNCDCECD α=⨯=⨯==⨯===-= 2-6 如图所示构造由两弯杆ABC 和DE 构成.构件重量不计,图中的长度单位为cm.已知F =200N,试求支座A 和E 的束缚力.解:(1)取 (2) 取3-1已知梁,支座A和B解:(a) A B M F F l∴==(b) 受力剖析,画受力争;A.B 处的束缚力构成一个力偶;0 0 B B A B M M Fl M F lM F F l=⨯-==∴==∑(c)受力剖析,画受力争;A.B 处的束缚力构成一个力偶;列均衡方程:cos cos A B MM l M F F l θθ==∴==∑3-3 齿轮箱的两个轴上感化的力偶如题图所示,它们的力偶矩的大小分离为M 1=500Nm,M 2=125Nm.求两螺栓处的铅垂束缚力.图中长度单位为cm.解:(1);(2) 500125750 50750 A B M N F F N-===∴==∑3-5 四连杆机构在图示地位均衡.已知OA=60cm,BC=40cm,感化BC 上的力偶的力偶矩大小为M 2=1N.m,试求感化在OA 上力偶的力偶矩大小M 1和AB 所受的力F AB .各杆重量不计.解:(1) 研讨BC 杆,列均衡方程:22015 0.4sin 30sin 30BB o oM M F N BC ====⨯BF F B(2) 研讨AB (二力杆),受力如图:可知:'' 5 A B B F F F N===(3) 研讨OA 杆,受力剖析,画受力争:列均衡方程:113 M M M Nm==∴=∑4-1 试求题4-1图所示各梁支座的束缚力.设力的单位为kN,力偶矩的单位为kN ⋅m,长度单位为m,散布载荷集度为kN/m.(提醒:盘算非均布载荷的投影和与力矩和时需应用积分). 解:(b):(1) 整体受力剖析,(2) 选坐标系Axy ,(20AB B MF +⨯=∑0B =(c):(1) 研讨AB 杆,受力剖析,画出受力争(平面随意率性力系); (2) 选坐标系Axy ,0A B AF (e)F x F20: 2cos3004.24 kNo y Ay B B F F dx F F =-⨯+==∑⎰0: sin 3002.12 kNo xAx B Ax FF F F =-==∑束缚力的偏向如图所示.(e):(1) 研讨C ABD 杆,受力剖析,画出受力争(平面随意率性力系);(2) 选坐标系Axy ,(021 kNAB B MF F ==∑0.80: 2020015 kNyAy B Ay Fdx F F F =-⨯++-==∑⎰束缚力的偏向如图所示.4-13 运动梯子置于滑腻程度面上,并在铅垂面内,梯子两部分AC 和A B 各重为Q ,重心在A 点,彼此用搭钮A 和绳索DE 衔接.一人重为P 立于F 处,试求绳索DE 的拉力和B .C 两点的束缚力.解:(1):研讨整体,受力剖析,(2) 选坐标系Bxy ,)()0: -2cos 2cos 0B C C M F Q l a F l F αα=-+⨯=∑0: 202yB C B FF F Q P a F Q P l=+--==+∑(3) 研讨AB ,受力剖析,画出受力争(平面随意率性力系);xq x(4) 选A 点为矩心,()0:0A D M F F h α=+⨯=∑4-16 由AC 和CD 4-16图所示.已知均布载荷集度q =10 kN/m,力偶M =40 kN ⋅m,a =2 m,不计梁重,试求支座A .B .D 的束缚力和搭钮C 所受的力.解:(1) 研讨CD 杆,(2) 选坐标系Cxy ,20D a ⨯=∑0: 025 kNy C D C F F q dx F F =-⨯-==∑⎰(3) 研讨ABC 杆,受力剖析,画出受力争(平面平行力系);(4) 选坐标系Bxy ,'()0B C M F x F a -⨯=∑'080 kNyB C B FF F =-==∑束缚力的偏向如图所示.4-17 刚架ABC 和刚架CD 经由过程搭钮C 衔接,并与地面经由过程搭钮A .B .D 衔接,如题4-17图所示,载荷如图,试求刚架的支座束缚力(尺寸单位为m,力的单位为 kN,载荷集度单x(a):(1) 研讨CD 杆,它是二力杆,又依据D 点的束缚性质,可知:F C =F D =0;(2) 研讨整体,受力剖析,画出受力争(平面随意率性力系);(3) 选坐标系Axy ,60B F ⨯=∑180 kNy Ay B Ay F ==束缚力的偏向如图所示.(b):(1) 研讨CD 杆,受力剖析,画出受力争(平面随意率性力系);(2) 选C 点为矩心,3015 kN D q dx x F ⨯⨯+⨯=(3) 研讨整体,);(4) 选坐标系35030AyM⨯+⨯=∑300: 010 kNyAy B D B FF q dx F F F =-⨯-+==∑⎰束缚力的偏向如图所示.=50x5-5 感化于半径为120 mm 的齿轮上的啮合力F 推进皮带绕程度轴AB 作匀速迁移转变.已知皮带紧边拉力为200 N,松边拉力为100 N,尺寸如题5-5图所示.试求力F 的大小以及轴承A .B 的束缚力.(尺寸单位mm).解: (1) 研讨整体,8-2 试画出8-1解:(a) (b)(c) (d) 8-14 图示桁架,杆与d 2=20mm,两杆材料雷同,F =80kN 感化,试校解:(1) 对节点A(2) 列均衡方程0 sin 0 cos30x AB yAB FF FF =-=∑∑解得:41.4 58.6AC AB F kN F kN ====(2)分离对两杆进行强度盘算;[][]1282.9131.8ABAB ACAC F MPa A F MPa A σσσσ====所以桁架的强度足够.8-15 图示桁架,杆1为圆截面钢杆,杆2为方截面木杆,在节点A 处推却铅直偏向的载荷F 感化,试肯定钢杆的直径d 与木杆截面的边宽b .已知载荷F =50kN,钢的许用应力[σS ] =160MPa,木的许用应力[σW ] =10MPa.解:(1) 对节点A;50AB F kN ==(2) []322 20.070.71010 84.1ABAC ACW d mm F MPa b mm A b σσσ≥⨯==≤=≥所以可以肯定钢杆的直径为20mm,木杆的边宽为84mm. 8-16 题8-14所述桁架,试定载荷F 的许用值[F ].解:(1) 由8-14得到AB.AC 两杆所受的力与载荷F 的关系;AC AB F F ==(2) 应用强度前提,分离对两杆进行强度盘算;[]211160 154.54ABAB F MPa F kN A d σσπ==≤=≤[]222160 97.14ACAC F MPa F kN A d σσπ==≤=≤取[F ]=97.1kN.8-18图示阶梯形杆AC ,F =10kN,l 1= l 2=400mm,A 1=2A 2=100mm 2,E =200GPa,试盘算杆AC 的轴FFF ABF AC向变形△l .解:(1)(2) 分段盘算个杆的轴向变形;33112212331210104001010400200101002001050 02 N N F l F l l l l EA EA .mm⨯⨯⨯⨯∆=∆+∆=+=-⨯⨯⨯⨯=-AC 杆缩短.8-26 图示两头固定等截面直杆,横截面的面积为A ,推却轴向载荷F 感化,试盘算杆内横截面上的最大拉应力与最大压应力.解:(1)xA B(2) 用截面法求出AB .BC .CD 段的轴力;123 N A N A N BF F F F F F F =-=-+=-(3) 用变形调和前提,列出补充方程;AB BC CD l l l ∆+∆+∆=代入胡克定律;231 /3()/3/3 0N BC N CDN ABAB BC CD A A B F l F l F l l l l EA EA EA F l F F l F l EA EA EA ∆=∆=∆=-+-+-=求出束缚反力:/3A B F F F ==FACB(b)(4) 最大拉应力和最大压应力;21,max ,max 2 33N N l y F F F FA A A A σσ====-8-27 图示构造,梁BD 为刚体,杆1与杆2用统一种材料制成,横截面面积均为A =300mm 2,许用应力[σ]=160MPa,载荷F =50kN,试校核杆的强度.解:(1) 对BD=(2) 由变形调和关系,代之胡克定理,可得;21212 2N N N N F l F lF F EA EA ==解联立方程得:122455N N F F F F ==(3) 强度盘算;[][]3113222501066.7 160 530045010133.3 160 5300N N F MPa MPaA F MPa MPaA σσσσ⨯⨯====⨯⨯⨯====⨯所以杆的强度足够.8-33 图示接头,推却轴向载荷F 感化,试校核接头的强度.已知:载荷F =80kN,板宽b =80mm,板厚δ=10mm,铆钉直径d =16mm,许用应力[σ]=160MPa,许用切应力[τ] =120MPa,许用挤压应力[σbs ] =340MPa.板件与铆钉的材料相等.解:(1)[]21499.5 120 14QSF F MPa MPaA d ττπ===≤=(2) 校核铆钉的挤压强度;[]14125 340 b bs bs b FF MPa MPaA d σσδ===≤=(3) 斟酌板件的拉伸强度; 对板件受力剖析,画板件的轴力争;校核1-1160 MPa校核2-2] 160 MPa =所以,接头的强度足够.10-2. 解:(c)(1) (2) 11111 (0/2) (0/2)S F F x l M Fx x l =-=-≤≤ ()21221 (/2) (/2)S F F l x l M F l x l x l ==--≤≤(3) 画剪力争与弯矩图 F xq(d)(1) )S F l 21 (0)42M x x x l =-≤(2) 画剪力争与弯矩图10-5(b)(1) 求束缚力;(2) 画剪力争和弯矩图 (c)(1) 求束缚力; q AxF xM A xF S(2) 画剪力争和弯矩图; (d)(1) 求束缚力;(2) 画剪力争和弯矩图;(e)(1) 求束缚力;(2) 画剪力争和弯矩图 (f)(1) 求束缚力;(2) 11-6图示悬臂梁,折正应力,解:(1)(2) (3) 盘算应力: 最大应力:F SM xFzK 点的应力:11-7图示梁,由No22槽钢制成,弯矩M =80N.m,并位于纵向对称面(即x-y 平面)内.试求梁内的最大曲折拉应力与最大曲折压应力.解:(1)79 b mm =(2) 最大曲折拉应力(产生鄙人边缘点处)()30max880(7920.3)10 2.67 17610x M b y MPaI σ-+-⋅-⨯-⨯===⨯(3) 最大曲折压应力(产生在上边缘点处)30max88020.3100.92 17610x M y MPa I σ---⋅⨯⨯===⨯6max max max227.510176 408066ZM M MPabh W σ⨯====⨯6max max 337.51030132 ********K ZM y M y MPa bh I σ⋅⋅⨯⨯====⨯MMz。
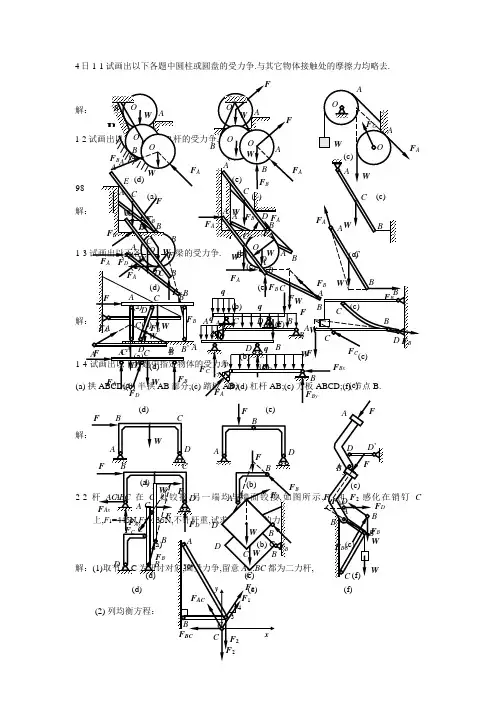
1-1试画出以下各题中圆柱或圆盘的受力图。
与其它物体接触处的摩擦力均略去。
解:1-2 试画出以下各题中AB 杆的受力图。
(a) B(b)(c)(d)A(e) A(a)(b) A(c)A(d)A(e)(c)(a)(b)解:1-3 试画出以下各题中AB 梁的受力图。
(d)(e)BB(a)B(b)(c)F B(a)(c)F (b)(d)(e)解:1-4 试画出以下各题中指定物体的受力图。
(a) 拱ABCD ;(b) 半拱AB 部分;(c) 踏板AB ;(d) 杠杆AB ;(e) 方板ABCD ;(f) 节点B 。
解:(a)F (b)W(c)(d)D(e)F Bx(a)(b)(c)(d)D(e)W(f)(a)D(b)B(c)BF D1-5 试画出以下各题中指定物体的受力图。
(a) 结点A ,结点B ;(b) 圆柱A 和B 及整体;(c) 半拱AB ,半拱BC 及整体;(d) 杠杆AB ,切刀CEF 及整体;(e) 秤杆AB ,秤盘架BCD 及整体。
解:(a)(d)FC(e)WB(f)F FBC(c)(d)AT F BAF (b)(e)(b)(c)(d)(e)CAA C’CDDB2-2 杆AC 、BC 在C 处铰接,另一端均与墙面铰接,如图所示,F 1和F 2作用在销钉C 上,F 1=445 N ,F 2=535 N ,不计杆重,试求两杆所受的力。
解:(1) 取节点C 为研究对象,画受力图,注意AC 、BC 都为二力杆,(2) 列平衡方程:12140 sin 600530 cos6005207 164 o y AC o x BC AC AC BC F F F F F F F F F N F N=⨯+-==⨯--=∴==∑∑ AC 与BC 两杆均受拉。
2-3 水平力F 作用在刚架的B 点,如图所示。
如不计刚架重量,试求支座A 和D 处的约束力。
解:(1) 取整体ABCD 为研究对象,受力分析如图,画封闭的力三角形:(2)F 1F FDF F AF D211 1.122D A D D A F F FF F BC AB AC F F F F F =====∴===2-4 在简支梁AB 的中点C 作用一个倾斜45o 的力F ,力的大小等于20KN ,如图所示。
第一章静力学基本概念与物体的受力分析下列习题中,未画出重力的各物体的自重不计,所有接触面均为光滑接触。
1.1试画出下列各物体(不包括销钉与支座)的受力图。
解:如图1.2画出下列各物体系统中各物体(不包括销钉与支座)以及物体系统整体受力图。
解:如图F B F Ax A---- M\—2>C 談F N F CFAyBF B (a) FAx J' CF B• %(b)x-7丫AFaFC(d)(C)(e) (f)(g)(h)OAF12 ◎F F(i)1.3铰链支架由两根杆AB、CD和滑轮、绳索等组成,如题 1.3图所示。
在定滑轮上吊有重为W的物体H。
试分别画出定滑轮、杆CD、杆AB和整个支架的受力图。
解:如图1.4题1.4图示齿轮传动系统,O i为主动轮,旋转方向如图所示。
试分别画出两齿轮的受力图。
解: Bxo2y1.5结构如题1.5图所示,试画出各个部分的受力图。
解:第二章汇交力系2.1在刚体的A点作用有四个平面汇交力。
其中F i = 2kN , F2=3kN , F3=lkN , F4=2.5kN , 方向如题2.1图所示。
用解析法求该力系的合成结果。
F1 = 1kN , F2=2kN , F3=|.5kN。
求该力系解F RX=' X = F J COS300 F4 COS450 - F2 COS600 - F3 COS450 = 1.29KN F R y 八丫=F1 sin300 -F4cos450 F2 sin600 - F3 cos450 = 2.54KNF R - F RX F Ry =2.85KN(F R,X)二arctan^ =63.0702.2题2.2图所示固定环受三条绳的作用,已知的合成结果。
解:2.2图示可简化为如右图所示F R^ \ X -F2 F3COS60° =2.75KNF Ry 二'丫二F i —F s Sin600= —0.3KNF R— F RX F Ry =2.77KNF3FRy 0W(F R ,X)二 arctan6.2F Rx2.3力系如题2.3图所示。
第一章静力学的基本概念受力图第二章 平面汇交力系2-1解:由解析法,23cos 80RX F X P P Nθ==+=∑12sin 140RY F Y P P Nθ==+=∑故:22161.2R RX RY F F F N=+=1(,)arccos2944RYR RF F P F '∠==2-2解:即求此力系的合力,沿OB 建立x 坐标,由解析法,有123cos45cos453RX F X P P P KN==++=∑13sin 45sin 450RY F Y P P ==-=∑故: 223R RX RY F F F KN=+= 方向沿OB 。
2-3 解:所有杆件均为二力杆件,受力沿直杆轴线。
(a ) 由平衡方程有:0X =∑sin 300AC AB F F -=0Y =∑cos300AC F W -=0.577AB F W=(拉力)1.155AC F W=(压力)(b ) 由平衡方程有:0X =∑ cos 700AC AB F F -=0Y =∑sin 700AB F W -=1.064AB F W=(拉力)0.364AC F W=(压力)(c ) 由平衡方程有:0X =∑cos 60cos300AC AB F F -=0Y =∑sin 30sin 600AB AC F F W +-=0.5AB F W= (拉力)0.866AC F W=(压力)(d ) 由平衡方程有:0X =∑sin 30sin 300AB AC F F -=0Y =∑cos30cos300AB AC F F W +-=0.577AB F W= (拉力)0.577AC F W= (拉力)2-4 解:(a )受力分析如图所示:由x =∑ 22cos 45042RA F P -=+15.8RA F KN∴=由Y =∑ 22sin 45042RA RB F F P +-=+7.1RB F KN∴=(b)解:受力分析如图所示:由x =∑3cos 45cos 45010RA RB F F P ⋅--=0Y =∑1sin 45sin 45010RA RB F F P ⋅+-=联立上二式,得:22.410RA RB F KN F KN==2-5解:几何法:系统受力如图所示三力汇交于点D ,其封闭的力三角形如图示所以:5RA F KN= (压力)5RB F KN=(与X 轴正向夹150度)2-6解:受力如图所示:已知,1R F G = ,2AC F G =由x =∑cos 0AC r F F α-=12cos G G α∴=由0Y =∑ sin 0AC N F F W α+-=22221sin N F W G W G G α∴=-⋅=--2-7解:受力分析如图所示,取左半部分为研究对象由x =∑cos 45cos 450RA CB P F F --=0Y =∑sin 45sin 450CBRA F F '-=联立后,解得:0.707RA F P=0.707RB F P=由二力平衡定理0.707RB CB CBF F F P '===2-8解:杆AB ,AC 均为二力杆,取A 点平衡由x =∑cos 60cos300AC AB F F W ⋅--=0Y =∑sin 30sin 600AB AC F F W +-=联立上二式,解得:7.32AB F KN=-(受压)27.3AC F KN=(受压)2-9解:各处全为柔索约束,故反力全为拉力,以D ,B 点分别列平衡方程(1)取D 点,列平衡方程由x =∑sin cos 0DB T W αα-=DB T Wctg α∴==(2)取B 点列平衡方程:由0Y =∑sin cos 0BDT T αα'-=230BD T T ctg Wctg KN αα'∴===2-10解:取B 为研究对象:由0Y =∑sin 0BC F P α-=sin BC PF α∴=取C 为研究对象:由x =∑cos sin sin 0BCDC CE F F F ααα'--=由0Y =∑ sin cos cos 0BC DC CE F F F ααα--+=联立上二式,且有BCBC F F '= 解得:2cos 12sin cos CE P F ααα⎛⎫=+⎪⎝⎭取E 为研究对象:由0Y =∑ cos 0NH CEF F α'-=CECE F F '= 故有:22cos 1cos 2sin cos 2sin NH P PF ααααα⎛⎫=+= ⎪⎝⎭2-11解:取A 点平衡:x =∑sin 75sin 750AB AD F F -=0Y =∑cos 75cos 750AB AD F F P +-=联立后可得: 2cos 75AD AB PF F ==取D 点平衡,取如图坐标系:x =∑cos5cos800ADND F F '-=cos5cos80ND ADF F '=⋅由对称性及ADAD F F '=cos5cos5222166.2cos80cos802cos 75N ND AD P F F F KN'∴===⋅=2-12解:整体受力交于O 点,列O 点平衡由x =∑cos cos300RA DC F F P α+-=0Y =∑sin sin 300RA F P α-=联立上二式得:2.92RA F KN=1.33DC F KN=(压力)列C 点平衡x =∑405DC AC F F -⋅=0Y =∑ 305BC AC F F +⋅=联立上二式得: 1.67AC F KN=(拉力)1.0BC F KN=-(压力)2-13解:(1)取DEH 部分,对H 点列平衡x =∑05RD REF F '= 0Y =∑05RD F Q =联立方程后解得: 5RD F Q =2REF Q '=(2)取ABCE 部分,对C 点列平衡x =∑cos 450RE RA F F -=0Y =∑sin 450RB RA F F P --=且RE REF F '=联立上面各式得: 22RA F Q =2RB F Q P=+(3)取BCE 部分。
第一篇理论力学篇模块一刚体任务一刚体的受力分析(P11)一、简答题1.力的三要素是什么?两个力使刚体平衡的条件是什么?答:力的三要素,即力的大小、力的方向和力的作用点。
两个力使刚体处于平衡状态的必要和充分条件:两个力的大小相等,方向相反,作用在同一直线上。
2.二力平衡公理和作用与反作用公理都涉及二力等值、反向、共线,二者有什么区别?答:平衡力是作用在同一物体上,而作用力与反作用力是分别作用在两个不同的物体上。
3.为什么说二力平衡公理、加减平衡力系公理和力的可传性都只适用于刚体?答:因为非刚体在力的作用下会产生变形,改变力的传递方向。
例如,软绳受两个等值反向的拉力作用可以平衡,而受两个等值反向的压力作用就不能平衡。
4.什么是二力构件?分析二力构件受力时与构件的形状有无关系。
答:工程上将只受到两个力作用处于平衡状态的构件称为二力构件。
二力构件受力时与构件的形状没有关系,只与两力作用点有关,且必定沿两力作用点连线,等值,反向。
5.确定约束力方向的原则是什么?活动铰链支座约束有什么特点?答:约束力的方向与该约束阻碍的运动方向相反。
在不计摩擦的情况下,活动铰链支座只能限制构件沿支承面垂直方向的移动。
因此活动铰链支座的约束力方向必垂直于支承面,且通过铰链中心。
6.说明下列式子与文字的意义和区别:(1)12=F F ,(2)12F F =, (3)力1F 等效于力2F 。
答:若12=F F ,则一般只说明两个力大小相等,方向相反。
若12F F =,则一般只说明两个力大小相等,方向是否相同,难以判断。
若力1F 等效于力2F ,则两个力大小相等,方向和作用效果均相同。
7.如图1-20所示,已知作用于物体上的两个力F1与F2,满足大小相等、方向相反、作用线相同的条件,物体是否平衡?答:不平衡,平衡是指物体相对于惯性参考系保持静止或匀速直线运动的状态,而图中AC 杆与CB 杆会运动,两杆夹角会在力的作用下变大。
二、分析计算题1.试画出图1-21各图中物体A 或构件AB 的受力图(未画重力的物体重量不计,所有接触均为光滑接触)。
3.3 图3.3所示钢架的点B 作用一个水平力F ,钢架重量忽略不计。
求支座A 、D 的约束力。
解:由图3.3可以确定D 点受力的方向,这里将A 点的力分解为x 、y 方向,如图3.3.1 根据力与矩平衡有)2(:)(0:)(0:)(=-=-=-∑∑∑FL L F A M F F y F F F x F Dy Dx (1)解上面三个方程得到 )(2),(2),(↑=↓=←=F F F F F F D y x3.5如图3.5铰链四杆机构ABCD 的CD 边固定,在铰链A 、B 处有力F1、F2作用,如图所示。
该机构在图示位置平衡,杆重忽略不计。
求力F1和力F2的关系。
解:(1)对A 点分析,如图3.5.1,设AB 杆的内力为T ,则将力投影到垂直于AC 方向的AM 上有0)15cos()30cos(:)(1=︒-︒∑T F AM F ①图3.5(2)对B 点分析,如图3.5.2,将力投影到垂直于BD 方向的BN 有 0)30cos()60cos(:)B N (2=︒-︒∑T F F ②由①、②可得 22108593790.64395055332F F F ≈+=3.8如图3.8有5根杆件组成的结构在A 、B 点受力,且CA 平行于DB ,CA DE BE DB ===。
F=20kN,P=12kN 。
求BE 杆的受力。
解:(1)对A 点受力分析,将力投影到垂直于AC 方向的AN 上有060sin :)(=-︒∑F FAN F AB①(2)对B 点受力分析,如图3.8.2.将力投影到垂直于BD 方向的BM 上有060cos 60sin 30cos :)B M (=︒-︒-︒∑P F FF BE AB②由①、②可得373095kN 16.1658075kN 328≈=BE F (方向斜向上)3.9如图(见书上)所示3根杆均长2.5m ,其上端铰结于K 处,下端A 、B 、C 分别与地基铰结,且分布在半径r=1.5m 的圆周上,A 、B 、C 的相对位置如图所示。
1—1试画出以下各题中圆柱或圆盘的受力图。
与其它物体接触处的摩擦力均略去。
解:1-2 试画出以下各题中AB 杆的受力图。
(a) B(b)(c)(d)(e)A(a)(b) A(c)A(d)(e)(c)(a)(b)解:1-3 试画出以下各题中AB 梁的受力图。
解:(e)BB(a)B(b)(c)F B(a)(c)F (b)(d)(e)FWA1—4 试画出以下各题中指定物体的受力图。
(a) 拱ABCD ;(b) 半拱AB 部分;(c ) 踏板AB;(d) 杠杆AB;(e ) 方板ABCD;(f ) 节点B 。
解:(d)D(e)F Bx(a)(b)(c)(d)(e)W(f)(a)D(b) CB(c)BF DF CBF F BC1-5 试画出以下各题中指定物体的受力图。
(a) 结点A ,结点B ;(b) 圆柱A 和B 及整体;(c) 半拱AB ,半拱BC 及整体;(d ) 杠杆AB ,切刀CEF 及整体;(e ) 秤杆AB ,秤盘架BCD 及整体。
解:(a )(b )(c )(c)(d)ATFBAF(b)D(e)(d )(e)’CB2—2 杆AC 、BC 在C 处铰接,另一端均与墙面铰接,如图所示,F 1和F 2作用在销钉C 上,F 1=445 N ,F 2=535 N ,不计杆重,试求两杆所受的力。
解:(1) 取节点C 为研究对象,画受力图,注意AC 、BC 都为二力杆,(2) 列平衡方程:12140 sin 600530 cos6005207 164 o y AC o x BC AC AC BC F F F F F F F F F N F N=⨯+-==⨯--=∴==∑∑ AC 与BC 两杆均受拉。
2—3 水平力F 作用在刚架的B 点,如图所示.如不计刚架重量,试求支座A 和D 处的约束力。
解:(1) 取整体ABCD 为研究对象,受力分析如图,画封闭的力三角形:(2)F 1F FDF F AF D211 1.122D A D D A F F FF F BC AB AC F F F F F =====∴===2-4 在简支梁AB 的中点C 作用一个倾斜45o的力F ,力的大小等于20KN ,如图所示。
工程力学练习册学校学院专业学号教师姓名第一章静力学基础1-1 画出下列各图中物体A,构件AB,BC或ABC的受力图,未标重力的物体的重量不计,所有接触处均为光滑接触。
(a)(b)(c)(d)(e)(f)(g)1-2 试画出图示各题中AC杆(带销钉)和BC杆的受力图(a)(b)(c)(a)1-3 画出图中指定物体的受力图。
所有摩擦均不计,各物自重除图中已画出的外均不计。
(a)(b)(c)(d)(e)(f)(g)第二章 平面力系2-1 电动机重P=5000N ,放在水平梁AC 的中央,如图所示。
梁的A 端以铰链固定,另一端以撑杆BC 支持,撑杆与水平梁的夹角为30 0。
如忽略撑杆与梁的重量,求绞支座A 、B 处的约束反力。
题2-1图∑∑=︒+︒==︒-︒=PF F FF F F B A yA B x 30sin 30sin ,0030cos 30cos ,0解得: N P F F B A 5000===2-2 物体重P=20kN ,用绳子挂在支架的滑轮B 上,绳子的另一端接在绞车D 上,如图所示。
转动绞车,物体便能升起。
设滑轮的大小及轴承的摩擦略去不计,杆重不计,A 、B 、C 三处均为铰链连接。
当物体处于平衡状态时,求拉杆AB 和支杆BC 所受的力。
题2-2图∑∑=-︒-︒-==︒-︒--=030cos 30sin ,0030sin 30cos ,0P P F FP F F F BC yBC AB x解得: PF P F AB BC 732.2732.3=-=2-3 如图所示,输电线ACB 架在两电线杆之间,形成一下垂线,下垂距离CD =f =1m ,两电线杆间距离AB =40m 。
电线ACB 段重P=400N ,可近视认为沿AB 直线均匀分布,求电线的中点和两端的拉力。
题2-3图以AC 段电线为研究对象,三力汇交NF N F F F FF F F C A GA yC A x 200020110/1tan sin ,0,cos ,0=======∑∑解得:ααα2-4 图示为一拔桩装置。
工程力学课后答案篇一:工程力学习题解答(详解版)工程力学答案详解1-1试画出来以下各题中圆柱或圆盘的受到力图。
与其它物体碰触处的摩擦力均省略。
b(a)(b)a(d)(e)解:aa(a)(b)a(d)(e)1-2试画出来以下各题中ab杆的受到力图。
(a)(b)(c)a(c)(c)(d)解:b(a)(b)(c)bb(e)1-3试画出来以下各题中ab梁的受到力图。
f(a)(b)(c)(d)(e)求解:d(d)(a)(b)fw(c)fbx(e)1-4试画出来以下各题中选定物体的受到力图。
(a)拱abcd;(b)半拱ab部分;(c)踏板ab;(d)杠杆ab;(e)方板abcd;(f)节点b。
解:(a)(b)(c)bfdb(d)(e)(f)(a)dw(b)(c)1-5试画出来以下各题中选定物体的受到力图。
(a)结点a,结点b;(b)圆柱a和b及整体;(c)半拱ab,半拱bc及整体;(d)杠杆ab,切刀cef及整体;(e)秤杆ab,秤盘架bcd及整体。
(b)(c)(e)解:(a)atfc(d)(e)fbc(f)w(d)ffba(b)(c)ac(d)’c(e)dbacdc’篇二:工程力学课后习题答案工程力学学学专学教姓习册校院业号师名练第一章静力学基础1-1画出下列各图中物体a,构件ab,bc或abc的受力图,未标重力的物体的重量不计,所有接触处均为光滑接触。
(a)(b)(c)(d)(e)(f)(g)1-2试画出图示各题中ac杆(带销钉)和bc杆的受力图(a)(b)(c)(a)1-3图画Theil中选定物体的受到力图。
所有摩擦均数等,各物蔡国用除图中已图画出来的外均数等。
(a)篇三:工程力学习题及答案1.力在平面上的投影(矢量)与力在坐标轴上的投影(代数量)均为代数量。
正确2.力对物体的促进作用就是不能在产生外效应的同时产生内效应。
错误3.在静力学中,将受力物体视为刚体(d)a.没特别必要的理由b.是因为物体本身就是刚体c.是因为自然界中的物体都是刚体d.是为了简化以便研究分析。
第一章静力学根底P20-P23 习题:1-1、:F1=2000N,F2=150N, F3=200N, F4=100N,各力的方向如图1-1所示。
试求各力在x、y轴上的投影。
解题提示:计算方法:F x= + F cosαF= + F sinαy注意:力的投影为代数量;式中:F x、F y的“+〞的选取由力F的指向来确定;α为力F与x轴所夹的锐角。
图1-11-2、铆接薄钢板在孔A、B、C、D处受四个力作用,孔间尺寸如图1-2所示。
:F=50N,F2=100N, F3=150N, F4=220N,求此汇交力系的合力。
1解题提示:——计算方法。
一、解析法F=F1x+F2x+……+F n x=∑F xR xF=F1y+F2y+……+F ny=∑F yR yF= √ F R x2+ F R y2Rtanα=∣F R y/ F R x∣二、几何法按力多边形法那么作力多边形,从图1-2图中量得F R的大小和方向。
1-4、求图1-4所示各种情况下力F对点O的力矩。
图1-4解题提示:——计算方法。
①按力矩的定义计算M O〔F〕= + Fd②按合力矩定理计算M O〔F〕= M O〔F x〕+M O〔F y〕1-5、求图1-5所示两种情况下G与F对转心A之矩。
解题提示:此题按合力矩定理计算各力矩较方便、简捷。
以图1-5a为例:力F、G至A点的距离不易确定,如按力矩的定义计算力矩图1-5既繁琐,又容易出错。
假设将力F、G分别沿矩形两边长方向分解,那么各分力的力臂不需计算、一目了然,只需计算各分力的大小,即可按合力矩定理计算出各力的力矩。
M〔F〕= -F cosαb- F sinαaAM〔G〕= -G cosαa/2 - G sinαb/2A1-6、如图1-6所示,矩形钢板的边长为a=4m,b=2m,作用力偶M〔F,F′〕。
当F=F′=200N时,才能使钢板转动。
试考虑选择加力的位置与方向才能使所费力为最小而到达使钢板转一角度的目的,并求出此最小力的值。
(完整版)工程力学课后习题答案一、选择题1. 在静力学中,刚体是指()A. 不可变形的物体B. 受力后不发生变形的物体C. 受力后变形很小的物体D. 受力后变形可以忽略的物体答案:D2. 平面汇交力系的平衡方程是()A. ΣF = 0B. ΣF_x = 0,ΣF_y = 0C. ΣM = 0D. ΣM_x = 0,ΣM_y = 0答案:B3. 在材料力学中,胡克定律适用于()A. 弹性体B. 塑性体C. 非线性体D. 理想弹性体答案:D二、填空题1. 静力学的基本公理有:______、______、______。
答案:力的平行四边形法则、二力平衡公理、力的可传递性公理2. 材料力学的任务是研究材料在______、______、______作用下的力学性能。
答案:外力、温度、湿度3. 轴向拉伸和压缩时,应力与应变的关系可表示为______。
答案:σ = Eε三、计算题1. 题目:一重10kg的物体,受到两个力的作用,如图所示。
求两个力的合力大小和方向。
答案:解:首先,将重力分解为水平和竖直两个方向的分力。
重力大小为F_g = mg = 10 × 9.8 = 98N。
水平方向分力为F_x = F_g × cos30° = 98 × 0.866 = 84.82N竖直方向分力为F_y = F_g × sin30° = 98 × 0.5 = 49N设合力大小为 F,合力方向与水平方向的夹角为α。
根据力的平行四边形法则,可得:F_x = F × cosαF_y = F × sinα联立以上两个方程,解得:F = √(F_x^2 + F_y^2) = √(84.82^2 + 49^2)≈ 95.74Nα = arctan(F_y / F_x) ≈ 28.96°所以,合力大小为 95.74N,方向与水平方向的夹角为28.96°。
工程力学课后习题答案(单辉祖著)工程力学课后习题答案(单辉祖著)在工程力学课程中,习题是提高学生运用理论知识解决实际问题的有效途径。
然而,在自学过程中,学生常常会遇到一些困难和疑惑。
为了帮助同学们更好地掌握工程力学的知识,我将为大家提供工程力学课后习题的答案和详细解析,希望能够对大家的学习有所帮助。
1. 第一章:静力学1.1 问题1:答案:根据平面力系统的平衡条件,可以将每个力分解为水平力和垂直力的分量,然后通过求和计算每个方向上的合力和力矩。
使用力学平衡方程,可以解得所需的未知量。
1.2 问题2:答案:该问题是一个平面力系统的静力平衡问题。
通过绘制自由体图,在各个方向上应用平衡条件,计算出所需的未知量。
2. 第二章:静力学2.1 问题1:答案:根据刚体受力平衡的条件,可以通过求和计算每个力的合力和力矩,并解得所需的未知量。
2.2 问题2:答案:该问题是一个刚体受力平衡的问题。
通过绘制刚体的自由体图,在各个方向上应用平衡条件,计算出所需的未知量。
3. 第三章:运动学3.1 问题1:答案:根据物体的运动规律,可以利用位置、速度和加速度之间的关系,通过计算得到所需的未知量。
3.2 问题2:答案:该问题是一个物体运动规律的问题。
根据已知条件,计算物体的加速度、速度和位置等参数。
4. 第四章:动力学4.1 问题1:答案:根据牛顿第二定律和动量定理,利用所给条件计算物体的加速度、速度和位置等参数。
4.2 问题2:答案:该问题是一个物体的动力学问题。
根据已知条件,应用动力学定律,计算所需的未知量。
5. 总结与展望通过解答上述习题,我们可以更深入地理解和应用工程力学的知识。
在解题过程中,我们不仅要熟练掌握理论知识,还需要运用数学工具进行计算和分析。
希望同学们在学习过程中能够勤思考、勤问问题,并结合实际进行练习,以提高解决实际问题的能力。
通过学习工程力学,在实际工程中可以更好地应用科学知识,并解决现实生活中的问题。
《工程力学》复习资料1.画出(各部分)的受力图(1) (2)(3)2.力F 作用在边长为L 正立方体的对角线上。
设Oxy 平面与立方体的底面ABCD 相平行,两者之间的距离为h ,试求力F 对O 点的矩的矢量表达式。
解:依题意可得:ϕθcos cos ⋅⋅=F F x ρϕθsin cos ⋅⋅=F F y ρθsin ⋅=F F z ρ其中33sin =θ 36cos =θ ο45=ϕ 点坐标为:()h l l ,, 则()3)()(3333333j i h l F k F j F i F F M ρρρρρρρρρ+⋅+=-+-=3.如图所示力系由F 1,F 2,F 3,F 4和F 5组成,其作用线分别沿六面体棱边。
已知:的F 1=F 3=F 4=F 5=5kN, F 2=10 kN ,OA=OC/2=1.2m 。
试求力系的简化结果。
解:各力向O 点简化.0.0.523143=-==-==+-=C O F A O F M C B F A O F M C O F C O F M Z Y X ρρρρρρρρρρρρρρρρρρ即主矩的三个分量 kN F F Rx 55==ρkN F F Ry 102==ρkN F F F F RZ5431=+-=ρρ即主矢量为: k j i ρρρ5105++合力的作用线方程 Z yX ==24.多跨梁如图所示。
已知:q=5kN ,L=2m 。
试求A 、B 、D 处的约束力。
取CD 段0=∑ciM 0212=-⋅ql l F D 解得 kN F D 5= 取整体来研究,0=∑iyF 02=+⋅-+D B Ay F l q F F 0=∑ixF0=Ax F0=∑iAM032=⋅+⋅-⋅l F l ql l F D B联合以上各式,解得 kN F F Ay A 10-== kN F B 25=5.多跨梁如图所示。
已知:q=5kN ,L=2m ,ψ=30°。
试求A 、C 处的约束力。
(5+5=10分)取BC 段0=∑iyF 0cos 2=⋅+⋅-ϕC B F l q F 0=∑ixF0sin =⋅-ϕC Bx F F 0=∑icM022=⋅⋅+⋅-l l q l F By联合以上各式,解得 kN F Bx 77.5= kN F By 10= kN F C 574.11= 取整体研究0=∑ixF 0sin =⋅-ϕC Ax F F 0=∑iyF0cos 2=⋅+⋅-ϕC Ay F l q F 0=∑iAM04cos 32=⋅⋅+⋅⋅-l F l l q M C A ϕ联合以上各式,解得 kN F Ax 774.5= kN F Ay 10= m kN M A ⋅=406.如图无底的圆柱形容器空筒放在光滑的固定地面上,放两个重球。
设每个球重为G ,半径为r ,圆筒的半径为R ,若不计各接触面的摩擦,试求圆筒不致翻倒的最小重量Qmin (R <2r <2R )。
解:圆桶将向右边翻倒,在临界状 态下,其受力图如右图示。
由小球的对称性 ''D C N N -=''min min 0/D D Q R N d Q N d R ⋅-⋅=⇒=⋅22222)(2R Rr r R r d -=--=以球为研究对象,其受力图如右图示。
∑=0xF 0cos =-D F N a N ∑=0yFsin 0F N a G -=d r R a )(2tan -=2()tan D R r N G a G d -=⋅= 'min2()2(1)D d d R r r Q N G G R R d R-==-=- 7.在图示结构中,假设AC 梁是刚杆,杆1、2、3的横截面积相等,材料相同。
试求三杆的轴力。
解法一:(1)以刚杆AC 为研究对象, 其受力和变形情况如图所示 (2)由平衡方程 :02 0)(0032321=+==-++=∑∑a N a N F m P N N N Y Aρ(3)由变形协调条件: Δ2ΔΔ 231l l l =+ (4)由物理关系 :Δ Δ Δ332211EA l N l EA lN l EA l N l ===5)联立求解得:PN P N P N 6131 65321-=== 解法二:因为∑=0Y 所以 FF FF 3N 2N 1N +=+又因为 0M A =∑ 所以 0aF 2aF3N 2N =—又因为0MB=∑所以 0aF a F aF -3N 1N =+—联立上式得:PN P N P N 61 31 65321-===8.砖夹宽28cm ,爪AHB 和HCED 在H 点铰接,如图3示。
被提起的砖共重G ,提举力F P 作用在砖夹中心线上。
已知砖夹与砖之间的摩擦因数μs=0.5,问尺寸b 应多大,才能保证砖不滑掉。
解:设距离b 刚好保证砖不下滑,则砖夹和砖之间的静摩擦力达到最大值以砖为研究对象,受力图如右图示。
B A N N =,P B A F F F 5.0==以ABH 为研究对象,受力图如右图示。
∑=0H M ,07070=-+b N F F A A P ,bF N AA 210=由于a AAf N F ≤,所以mm f b a 105210=≤9.一传动轴,已知d =4.5cm , n =300r/min 。
主动轮输入功率NA =36.7kW ,从动轮B 、C 、D 输出的功率NB =14.7kw ,NC=ND =11kW 。
轴的材料为45号钢,G =80⨯103MPa ,]τ[=40MPa ,]θ[=2︒/m ,试校核轴的强度和刚度。
(1)计算外力偶矩m N n N T A A ⋅=⨯==1173007.3695509550m N n N T B B ⋅=⨯==46830014795509550m N n N T T C D C ⋅=⨯===3513001195509550(2)画扭矩图,求最大扭矩用截面法求得AB 、AC 、CD 各段的扭矩分别为:m N T T B ⋅-==468-1m N T T T B A ⋅=-=-=70246811702m N T T T T C B A ⋅=--=--=35135146811703画出扭矩图,如图所示可知m N T ⋅=702max (3)强度校核[]MPa MPa Pa W T T 408.38108.38045.02.070263max max =<=⨯=⨯==ττ 强度达到要求 (4)刚度校核[]m m GI T p οο223.1180045.01.0108070218049max max =<=⨯⨯⨯⨯=⨯=θππθ 刚度达到要求11.拉伸试验机原理如图所示,假设试验机的CD 杆与试件AB 的材料同为低碳钢,试验机最大拉力为 100 k N ,(1)利用该试验机做拉断试验时,试件直径最大可达多少?(2)若试验机的安全系数为 n = 2,则CD 杆的横截面积为多大?(3)若试件直径为 d =10 mm ,现测量其弹性模量E ,则所加载荷最大值为多少?已知:材料(1)拉断时,采用强度极限b σ44001010023mb m d NA πσ=⨯== mm d m 8.17≥(2)CD 杆不变形,采用屈服极限[]MPa n A N s 1202240max max ===≤=σσσ 2383312010100mm A =⨯≥(3)在线弹性围,采用比例极限 P ANσ≤ kN N A N P 7.15107.15200104132=⨯=⨯⨯=≤πσ载荷不能超过15.7kN12. 一悬臂梁AB ,在自由端B 作用一集中力P ,如图。
求梁的转角方程和挠度方程,并确定最大转角和最大挠度。
解:以梁左端A 为原点,取一直接坐标系,令x 轴向右,y 轴向上。
(1)列弯矩方程M(x)=-P(l-x)(2)列挠曲线近似微分方程并积分EIy``=-Pl-Px 通过两次积分得:EIy`=-Plx+C Px +22MPaMPa MPa b s P 400,240,200===σσσEIy=D Cx Px xPl +++62-32(3)确定积分常数 悬臂梁的固定端出的挠度和转角为零即:在x=0处,0`==y A θ 解得:C=0,D=0,0=A y (4)建立转角方程和挠度方程(5)求最大转角和最大挠度在自由端B 处的转角和挠度绝对值最大,以x=1代入上式可得13.5吨单梁吊车,NK =3.7kW ,n =32.6r/min.试选择传动轴CD 的直径,并校核其扭转刚度。
轴用45号钢,[τ]=40MPa ,G =80×103MPa ,[θ ]= 1º/m 。
(1) 计算扭矩马达的功率通过传动轴传递给两个车轮,故每个车轮所消耗的功率为)2(2`x l EIPxy --==θ)3(62x l EIPx y --=2EI-2Pl B =θEI Pl 22max =θ即EI Pl y 33max=即EI Pl y B 33-=kW N N k k 85.127.32===轮轴CD 各截面上的扭矩等于车轮所受的外力偶矩轮T 则m N nN T T k ⋅=⨯===54332685.195509550轮轮 (2)计算轴的直径 由强度条件得 []τTW t ≥[]τTd ≥32.0[]cm m T d 07.40407.010402.05432.0363==⨯⨯=≥τ 选取轴的直径为d=4.5cm(3)校核轴的刚度[]m m GI T P ︒=<︒=⨯⨯⨯⨯=⨯=1945.0180045.01.0108054318049θππθ 轴的刚度符合要求14.一简支梁如图示,在全梁上受集度为 q 的均布载荷作用.试求此梁的转角方程和挠度方程,并确定最大转角|θ|max 和最大挠度|y |max 。
由边界条件2ql F F RB RA ==222)(x q x ql x M -=222x q x ql y EI -=''Cx q x ql y EI +-='3264D Cx x q x ql EIy ++-=4324120;00===D y x A ,24;0,3ql C y l x B -===最大转角和最大挠度分别为:15-2 已知如图15-2所示,铆接钢板的厚度10mmδ=,铆钉的直径为17d mm=,铆钉的许可切应力[]140MPaτ=,许可挤压应力[]320bsMPaσ=,24P kN=试作强度校核。
图15-2解:(1)剪切强度校核铆钉受力图如图15-2 (b)所示,只有一个剪切面,此情况称为单剪。
取为铆钉剪切面下侧部分为研究对象,作受力图如图15-2(c)所示。
图15-2由平衡条件X=∑,0Q P-=DCxxqxqlEIy++-=432412xqlxqxql242412343--=)2(24323xlxlEIqxy+--=2464332qlxqxqlyEI--=')46(24323xlxlEIq+--=θEIqlyylx384542max===EIqlBA243max==-=θθθ得剪切面上的剪力24Q P kN == 剪切切面面积 232262(1710)2271044d A m m ππ--⨯===⨯铆订的工作切应力为 362410105.7[]14022710Q Pa MPa MPa A ττ-⨯===<=⨯ (2)挤压强度校核挤压力24P kN =,挤压面积等于被挤压的半圆柱面的正投影面积.即33262(10101710)17010bs A d m m δ---==⨯⨯⨯=⨯ 铆钉的工作挤压应力为362410141.2[]32017010bs bs bs P Pa MPa MPa A σσ-⨯===<=⨯18-2 一外伸梁由铸铁制成,受力及截面如图,已知铸铁许用拉应力和许用压应力分别为[]40t MPa σ=,[]60c MPa σ=,梁的截面惯性矩4476510z I mm .=⨯,试校核梁的强度。