现场监理办公室上墙框图(制度牌)(1)
- 格式:doc
- 大小:66.50 KB
- 文档页数:9
驻地监理办公室机构图审查主要内容1、 施工组织设计、施工工艺机械、设备、人员到位情自检系统情况是否健全 材料到位情况及原材料试 验报告3、 4、 5、承包人工地试验室及标准 试验情况6、测量放样资料返工或补救措施返工或补救措施返工或补救措施质量控制程序 审查承包人《分项工程开工申请报告》 按《黑龙江省公路建设项目 《分项工程开工申请报告》已批 准,分项工程开工 承包人报送《分项工程检验申请 和中间交验申批表》及《施工放 料报验单》,经监理批准,即正式 进入分项工程质检程序 承包人按工序进展,申报有关施工 记录、检测记录等 签认施工记录、检测 记录 承包人报送抽样(施工)试验 报告(单) 试验室主任签认试验 报告(单) 施工统一用表》规定的分项 工程质保资料目录准备好 表格及现场认为须要补充 的专业或其他表格。
驻地办按规定频率(不少于承 包人全频率的 30%)进行抽 检,验证承包人质量自检工作 的可信度 驻地办按规定频率(不少于 承包人全频率的 10〜20%) 进行平行试验,验证承包人 试验可信度 承包人报送《分项工程现场质量检 验报告单》,并要求中间交验 分项工程质保资料编订成 册,作为中间交验和计量 支付的依据 驻地办抽检审核,并给予中 间交验签认《申批表》 承包人编报分项工程竣工图表 驻地办王任签认竣工按竣工图表要求归档工程进度控制流程图驻地监理工程师职责(1)以我单位在本工程项目代表的身份,与业主、承包单位及政府监督部门和有关单位协调沟通有关方面问题;(2)主持制定监理规划,组织编写并批准施工监理细则;(3)对业主负责,组织各专业监理工程师全面熟悉合同文件,纠正设计图纸中的明显错误,必要时报业主;(4)主持召开常规工地会议,研究和解决施工中的各种问题;(5)签发分项工程开工令,审查分包工程和分包商,签认中期支付证书和最终支付证书,签认中间交工证书;(6)检查施工质量、进度以及施工方法,及时解决合同执行过程中的问题。
总监理工程师职责1.总监理工程师职责1)确定项目监理机构人员的分工和岗位职责。
2)主持编写项目监理规划、审批项目监理实施细则,并负责管理项目监理机构的日常工作。
3)审查分包单位的资质,并提出审查意见。
4)检查和监督监理人员的工作,根据工程项目的进展情况可进行人员调配,对不称职的人员应调换其工作。
5)主持监理工作会议,签发项目监理机构的文件和指令。
6)审定承包单位提交的开工报告、施工组织设计、技术方案、进度计划。
7)审核签署承包单位的申请支付证书和竣工结算。
8)审查和处理工程变更。
9)主持或参与工程质量事故调查。
10)调解建设单位与承包单位的合同争议、处理索赔、审批工程延期。
11)组织编写并签发监理月报、监理工作阶段报告、专题报告和项目监理工作总结。
12)审核签发分部工程和单位工程的质量检验评定资料,审查承包单位的竣工申请,组织监理人员对工程项目进行质量检查,参与工程项目的竣工验收。
13)主持整理工程项目的监理资料。
总监理工程师代表职责1)负责总监理工程师指定或交办的监理工作。
2)按总监理工程师的授权,行使总监理工程师的部分职责和权力。
总监理工程师不得将下列工作委托总监理工程师代表:1)主持编写项目监理规划、审批项目监理实施细则;2)签发工程开工/复工报审表、工程暂停令、工程款支付证书、工程竣工报验单;3)审核签认竣工结算;4)调解建设单位与承包单位的合同争议、处理索赔,审批工程延期;5)根据工程项目的进展情况进行监理人员的调配,调换不称职的监理人员。
专业监理工程师代表职责1)负责编制本专业的监理实施细则。
2)负责本专业监理工作的具体实施。
3)组织、指导、检查和监督本专业监理员的工作,当人员需要调整时,向总监理工程师提出建议。
4)审查承包单位提交的涉及本专业计划、方案、申请、变更,并向总监理工程师提出报告和意见。
5)负责本专业分项工程验收及隐蔽工程验收。
6)定期向总监理工程师提交本专业监理工作实施情况报告,对重大问题及时向总监理工程师汇报和请示。
总监理工程师职责1.总监理工程师职责1)确定项目监理机构人员的分工和岗位职责。
2)主持编写项目监理规划、审批项目监理实施细则,并负责管理项目监理机构的日常工作。
3)审查分包单位的资质,并提出审查意见。
4)检查和监督监理人员的工作,根据工程项目的进展情况可进行人员调配,对不称职的人员应调换其工作。
5)主持监理工作会议,签发项目监理机构的文件和指令。
6)审定承包单位提交的开工报告、施工组织设计、技术方案、进度计划。
7)审核签署承包单位的申请支付证书和竣工结算。
8)审查和处理工程变更。
9)主持或参与工程质量事故调查。
10)调解建设单位与承包单位的合同争议、处理索赔、审批工程延期。
11)组织编写并签发监理月报、监理工作阶段报告、专题报告和项目监理工作总结。
12)审核签发分部工程和单位工程的质量检验评定资料,审查承包单位的竣工申请,组织监理人员对工程项目进行质量检查,参与工程项目的竣工验收。
13)主持整理工程项目的监理资料。
专业监理工程师代表职责1)负责编制本专业的监理实施细则。
2)负责本专业监理工作的具体实施。
3)组织、指导、检查和监督本专业监理员的工作,当人员需要调整时,向总监理工程师提出建议。
4)审查承包单位提交的涉及本专业计划、方案、申请、变更,并向总监理工程师提出报告和意见。
5)负责本专业分项工程验收及隐蔽工程验收。
6)定期向总监理工程师提交本专业监理工作实施情况报告,对重大问题及时向总监理工程师汇报和请示。
7)根据本专业监理工作实施情况做好监理日记。
8)负责本专业监理资料的收集、汇总及整理,参与编写监理月报。
9)核查进场材料、设备、构配件的原始凭证、检测报告等质量证明文件及其质量情况,根据实际情况认为有必要时对进场材料、设备、构配件进行检验,合格时予以签认。
负责本专业的工程计量工作,审核工程计量的数据和原始凭证。
现场办公室及会议室上墙图表布置第一节施工现场办公室上墙图牌设置一、施工现场办公室必须悬挂工程组织机构、工程管理人员岗位责任制及工程工程有关目标控制图牌,各种图牌要求规格尺寸统一,颜色、文字和形状必须保持一致,边框以蓝、灰两种颜色为主,文字以蓝、黑为主、字体以黑体、宋体为主。
具体规格及制作方法见附图5—13。
二、工程管理班子必设岗位及最低人数要求按表一、表二设置。
4、工程经理岗位职责〔图13〕5、工程工程师岗位职责6、工程工长岗位职责7、工程技术员岗位职责8、工程质量员岗位职责9、工程平安员岗位职责10、工程机管员岗位职责11、工程材料员岗位职责12、工程预算员岗位职责13、施工方案进度图表〔图11〕14、施工方案进度实际完成图表〔参照图12制作图牌〕15、质量目标方案及控制图〔图12〕16、公司企业文化图牌17、工程党、工、团组织机构图工程管理组织机构图图. z.此尺寸根据工程施工方案实际需要确定 工程工程施工进度方案表式样注:本表格挂墙规格要求高度80厘米,宽度可以变化随意图 11工程质量目标方案及实际完成控制图表工程施工进度表 编号 工程名称 延续时间〔天〕 日劳动力〔人〕进度日程月份: 日期:劳动力需求量80c m. z.及控制图 图 1280c m四、工程岗位责任制容工程经理岗位职责一、负责本工程工程合同的经济技术的履约要求。
组织协调本工程外业务关系。
二、负责本工程质量、工期、本钱、平安、产值各项指标的完成,健全质量保证体系,参与过程检验,并组织好全过程的预防、预控,制定各职能分工。
三、组织或参与编写施工组织设计,组织编写施工过程动态方案及生产方案。
负责标后预算本钱方案编制及结算工作。
四、负责组织落实施工组织设计,负责组织编制施工过程的劳动力、机具、材料方案,并实施动态管理。
五、负责质量方案的实施和落实质量责任制。
把好材料进场检验和使用质量关,杜绝使用不合格材料。
六、负责落实平安责任制、负责文明施工及实现文明工地要求和目标。
总监理工程师职责1.总监理工程师职责1)确定项目监理机构人员的分工和岗位职责。
2)主持编写项目监理规划、审批项目监理实施细则,并负责管理项目监理机构的日常工作。
3)审查分包单位的资质,并提出审查意见。
4)检查和监督监理人员的工作,根据工程项目的进展情况可进行人员调配,对不称职的人员应调换其工作。
5)主持监理工作会议,签发项目监理机构的文件和指令。
6)审定承包单位提交的开工报告、施工组织设计、技术方案、进度计划。
7)审核签署承包单位的申请支付证书和竣工结算。
8)审查和处理工程变更。
9)主持或参与工程质量事故调查。
10)调解建设单位与承包单位的合同争议、处理索赔、审批工程延期。
11)组织编写并签发监理月报、监理工作阶段报告、专题报告和项目监理工作总结。
12)审核签发分部工程和单位工程的质量检验评定资料,审查承包单位的竣工申请,组织监理人员对工程项目进行质量检查,参与工程项目的竣工验收。
13)主持整理工程项目的监理资料。
总监理工程师代表职责1)负责总监理工程师指定或交办的监理工作。
2)按总监理工程师的授权,行使总监理工程师的部分职责和权力。
总监理工程师不得将下列工作委托总监理工程师代表:1)主持编写项目监理规划、审批项目监理实施细则;2)签发工程开工/复工报审表、工程暂停令、工程款支付证书、工程竣工报验单;3)审核签认竣工结算;4)调解建设单位与承包单位的合同争议、处理索赔,审批工程延期;5)根据工程项目的进展情况进行监理人员的调配,调换不称职的监理人员。
专业监理工程师代表职责1)负责编制本专业的监理实施细则.2)负责本专业监理工作的具体实施。
3)组织、指导、检查和监督本专业监理员的工作,当人员需要调整时,向总监理工程师提出建议.4)审查承包单位提交的涉及本专业计划、方案、申请、变更,并向总监理工程师提出报告和意见。
5)负责本专业分项工程验收及隐蔽工程验收.6)定期向总监理工程师提交本专业监理工作实施情况报告,对重大问题及时向总监理工程师汇报和请示。
建筑工程办公室上墙制度牌一、管理目的本制度是为了加强建筑工程办公室的管理,规范办公行为,提高工作效率,并推动建筑工程项目的顺利进行。
二、适用范围本制度适用于建筑工程办公室内部所有工作人员。
三、工作时间1. 办公时间为每天上午8:30至下午5:30,中午12:00至1:30为午休时间,周六上午8:30至12:00为加班时间,工作人员需按时到岗,不得早退或迟到。
2. 若有特殊情况需要请假或调休,需提前向主管领导请假,并经批准后方可离开。
四、办公环境1. 办公室内保持整洁、卫生,禁止吸烟、喧哗,不得在办公室内饮食。
2. 使用办公设备应当爱护如家当,使用完毕后及时关机。
3. 保密文件应妥善保管,避免泄露。
五、工作纪律1. 工作人员需按照分配的工作任务和时间节点,认真完成工作。
2. 不得在办公时间浏览非工作相关的网站,不得私自看视频、玩游戏。
3. 严格遵循领导的工作安排,不得逾越职责范围。
4. 保持工作秩序,不得相互干扰,避免无谓的争吵。
5. 保持良好的工作态度,礼貌待人,不得恶语相向。
六、安全制度1. 注意办公室内的安全隐患,如插座是否接地、电闸是否合格等,若发现问题需及时汇报给维修人员。
2. 注意个人安全保护,不得在办公室内做危险动作,如脱鞋、跳跃等。
3. 发现安全隐患需及时报告主管领导,避免事故发生。
七、重要通知1. 重要通知将会在办公室上墙发布,请工作人员定期查看并及时关注。
2. 请保持手机通畅,若需加班或临时有事,主管领导会通过手机联系您。
八、处分措施1. 对于擅离职守、工作不认真、违纪违规的工作人员,主管领导将视情节轻重进行相应处理,包括警告、记过、降级等处分。
2. 重大违规行为,将立即进行严肃处理,情节严重者将追究法律责任。
以上为建筑工程办公室上墙制度,望广大员工严格遵守,共同努力,为建筑工程项目顺利进行贡献力量。
监理办公室规章制度牌第一条为规范监理办公室的工作秩序,维护监理工程的正常进行,特制定本规章制度。
第二条监理办公室是负责监督、检查和管理监理工程的机构。
监理人员应当遵守本规章制度,维护监理工程的权益,维护社会和谐。
第三条监理办公室的职责包括但不限于:监督工程施工质量,检查工程进度,协调工程安全等工作。
第四条监理人员应当具备相关专业知识及工作经验,且必须遵守法律法规,不得从事与监理工程无关的工作,不得参与违法违规行为。
第五条监理人员应当严格遵守工作纪律,按时按质完成监理工作。
不得私自更改监理文件,不得泄露工程信息,不得接受任何形式的贿赂。
第六条监理人员应当保持良好的工作态度,与项目人员和谐相处。
不得与业主、承包商等相关人员发生冲突,不得对监理工程产生不利影响。
第七条监理办公室应当建立健全的工作制度,包括但不限于:监理文件管理制度、监理进度管理制度、监理质量管理制度等。
第八条监理办公室应当加强对监理人员的培训和考核,确保监理人员具备足够的能力和素质从事监理工作。
第九条监理办公室应当及时反馈工作情况,定期向相关部门汇报监理进展情况,提出合理化建议,推动工程进度。
第十条监理办公室应当保护监理工程的合法权益,依法维护监理合同权益,与业主、承包商协调处理工程问题。
第十一条监理办公室应当妥善处理工程纠纷,保持工程施工秩序,及时协调解决工程问题,保障监理工程的顺利进行。
第十二条违反本规章制度的监理人员将受到相应的处罚,包括但不限于:提醒、警告、记过、记大过、开除等处罚。
第十三条本规章制度由监理办公室负责解释,并不时修订更新。
所有监理人员必须遵守本规章制度。
以上为监理办公室规章制度,如有违反,将会受到相应的处罚。
希望每位监理人员严格遵守,共同维护监理工程的正常进行,保障工程质量和安全。
工程监理上墙制度牌
在现代建筑工程管理中,工程监理扮演着守护工程质量与安全的守门人角色。
为了加强现场管理,提升项目透明度,工程监理上墙制度牌应运而生。
这份制度牌不仅是监理工作的展示窗口,也是各方沟通的桥梁。
以下便是一份标准的工程监理上墙制度牌内容构成。
制度牌的顶部应明确标注项目名称、施工单位、监理单位以及制度牌的更新日期。
这是为了让所有进入施工现场的人员一目了然地知晓当前项目的基本情况。
核心部分是对监理工作职责的概述。
这包括监理工程师的基本职责、对施工过程的监督检查、质量控制要点、安全生产监督、环境保护要求等方面。
例如,监理工程师需确保施工方案的实施符合设计图纸及规范要求,同时对施工现场的安全生产负有不可推卸的责任。
进一步,制度牌要详细列出监理日常巡查的内容和频次,如对重要结构部位、隐蔽工程、关键工序等进行重点检查,并记录检查结果。
这有助于保障施工质量和及时发现问题。
制度牌还需规定监理日志、周报、月报的编写与提交流程。
这些文档是反映项目进展和存在问题的重要依据,必须保证其准确性和时效性。
为了强化责任意识,制度牌还将包含对监理违规行为的处理办法。
一旦发现监理人员未履行职责或存在渎职行为,应当按照既定程序进行处理,并及时向有关管理层报告。
联系方式的展示也是必不可少的一环。
制度牌会提供监理工程师的姓名、职务以及联系方式,方便施工人员和其他利益相关者在必要时与其沟通协调。
总结而言,工程监理上墙制度牌是实现工程透明化管理、加强现场监督的有效工具。
它不仅明确了监理的职责和要求,还为现场人员提供了沟通渠道,促进了项目管理的规范化和专业化。
工序或单元工程质量控制监理工作程序图质量评定监理工作程序图进度控制监理工作程序图工程款支付监理工作程序图变更监理工作程序图广西瑞海工程监理有限公司,于2004年1月18日在合浦县工商行政管理局登记成立,是广西沿海三市唯一具有水利水电工程建设监理资质的企业。
公司注册资金200万元,资质等级为甲级。
公司的组织机构健全、组织章程和管理制度完善。
公司设有董事长室、总经理室、办公室、项目管理科、经营科、财务科、人力市场科、测量试验室,拥有专业技术人员共99人。
监理工程师52人,高级技术职称人员11人、总监理工程师10人,监理员46人。
公司成立以来,注重科学管理,运用先进技术和科学管理方法完成建设监理任务。
在不断提高监理服务质量的同时,培养、锻炼了一批优秀的监理人才。
本公司已通过ISO9001国际标准质量体系认证,技术力量雄厚,管理经验丰富,始终遵循“守法、诚信、公正、科学”的执业准则,派往工程项目的监理人员,以严格监理为宗旨,发挥综合性服务能力,始终以合同管理贯穿工程施工管理的全过程,在工程质量控制、工程进度控制、工程投资控制、合同管理、信息管理、组织协调等各方面为业主提供全天候、全方位、全过程的优质监理服务,得到了工程业主及政府质量监督部门的好评。
近年来,公司共完成监理项目有:桂平市城区郁江西堤一期工程、灵山县2011年农村饮水安全工程、平南县六陈水库电站增效扩容改造工程、广西中越国境界河归春河整治工程、广西灵山县思明水库除险加固工程、环江县农业综合开发川南灌区节水改造工程、广西防城港市防城区田丰电站工程、北海市银海区西竹海堤加固整治工程等数百项,所有建设监理任务的工程项目多项均被评为优良工程。
其中北海市铁山港工业区诚德新材料项目周边排水工程、合浦县大排水库除险加固工程荣获“2012年广西水利建设工程文明工地”称号。
今后,我公司将继续秉承诚信、科学、进取、慎独的优良传统,同时以现代企业制度为基础,以人为本,在企业管理上、监理服务质量上不断创新,用我们的技术为社会奉献出更好更高质量的工程。
驻地监理办公室机构图工程进度控制流程图驻地监理工程师职责(1)以我单位在本工程项目代表的身份,与业主、承包单位及政府监督部门和有关单位协调沟通有关方面问题;(2)主持制定监理规划,组织编写并批准施工监理细则;(3)对业主负责,组织各专业监理工程师全面熟悉合同文件,纠正设计图纸中的明显错误,必要时报业主;(4)主持召开常规工地会议,研究和解决施工中的各种问题;(5)签发分项工程开工令,审查分包工程和分包商,签认中期支付证书和最终支付证书,签认中间交工证书;(6)检查施工质量、进度以及施工方法,及时解决合同执行过程中的问题。
根据合同规定签发指令,重要和重大问题应及时报业主;(7)审查和处理承包人的报告、报表和函件,必要时报业主;(8)审查一般工程变更及对重要或重大工程变更提出处理意见,报业主;(9)对发生的合同争端提出处理意见,并报业主;(10)主持驻地监理办的一切监理业务工作,对驻地监理进行管理;(11)主持、督查施工单位及各驻地办竣工文件的编制工作;(12)主持建立监理信息系统,全面负责信息沟通工作;(13)定期和不定期向本公司报告监理情况。
专业监理工程师职责(路基、路面)(1)协助驻地监理工程师并对驻地监理工程师负责,在驻地监理工程师领导下,负责工程项目本专业的工程监理工作;(2)全面熟悉合同条款、技术规范和设计图纸。
对工程质量、进度、投资进行全面控制,对施工中出现的问题,要按技术规范要求及时提出处理意见;(3)负责制定各专业的监理细则,组织、领导现场监理工作,作好监理日志;(4)开工前配合所辖工程项目的承包商对主要结构物地形、水文、防护工程等情况进行全面的复查。
审查承包人的施工组织计划和分项施工方案及施工进度计划、人员和设备配备情况,并检查其执行情况;(5)检查承包人的质量保证体系及其运行情况;(6)审查进场原材料的数量和质量,使其符合合同规定和规范要求;(7)审查承包人提出的各种资料,制定控制工程质量、进度和投资的各种图表;(8)负责分项工程各工序中间检查和检验,组织对分项工程的质量评定,签署质量评定表;(9)协助驻地监理工程师,具体负责质量缺陷和质量事故的调查处理,对质量事故处理方案进行审查,并负责编写“质量事故处理监理报告”,报驻地监理工程师;(10)各专业工程师之间相互配合,审查承包人的工程计量报表;(11)协助驻地监理工程师处理工程变更、合同纠纷等工作;(12)对工地安全状况进行经常性的巡查,消除安全隐患;(13)定期或不定期向驻地监理工程师汇报工作,办理驻地监理工程师交办的其它工作。
工程监理上墙流程制度牌一、概述为了规范和统一工程监理上墙的流程,提高工程监理工作的效率和质量,特制定本制度。
本制度适用于各类工程监理单位的工程监理上墙工作。
二、工程监理上墙流程1. 提前准备监理单位在开始进行工程监理上墙工作前,应提前准备相关资料和信息,包括但不限于:- 监理合同- 工程施工图纸- 监理标准及规范- 工程施工进度计划- 工程施工方案- 监理人员名单及联系方式2. 确认监理上墙时间和地点监理单位应根据实际情况,确定监理上墙的时间和地点,并提前告知相关施工单位和监理人员。
3. 开展监理上墙会议监理单位在上墙前,应组织相关监理人员进行监理上墙会议,明确会议议程和主题,确保会议顺利进行。
4. 展示工程监理资料在监理上墙会议上,监理单位应展示相关工程监理资料和信息,与施工单位进行交流和沟通,共同解决工程监理中的问题和难题。
5. 监理上墙会议记录监理单位应在监理上墙会议期间,对会议进行记录,包括但不限于会议主要内容、问题讨论和解决方案等内容,确保监理工作的有据可查。
6. 完成监理上墙工作监理单位在监理上墙会议结束后,应及时完成相关监理上墙工作,包括整理资料、制定监理意见、与施工单位签署相关文件等工作。
7. 审核和批准监理单位应对监理上墙工作进行审核和批准,确保监理上墙工作的合规性和准确性。
8. 监理反馈和监督监理单位应定期对监理上墙工作进行反馈和监督,确保监理工作持续有效进行。
三、工程监理上墙流程制度1. 工程监理上墙流程的规范性及操作性- 工程监理上墙流程应具有明确的规范性和操作性,包括但不限于流程步骤、责任人员、相关资料和信息等内容。
2. 工程监理上墙流程的调整和改进- 监理单位在实施工程监理上墙流程时,如有需要可以根据实际情况进行调整和改进,但需事先经过相关部门的批准和备案。
3. 工程监理上墙流程的监督和评估- 监理单位应对工程监理上墙流程进行监督和评估,及时发现问题和改进措施,确保监理工作的顺利进行。
1. 驻地办必须有专人负责安全防火工作,落实安全防火措施;2. 任何人不得擅自私扯、私拉、私接电线和更换超容量保险丝;3. 需要有电加热器取暖的保温办公室、宿舍和试验室,当人离开时,必须切断电源,而且附近不得摆放易燃物品;4. 易燃易爆物品,应按规定,派专人负责妥善保管,在使用易燃物品时,应按操作规程正确使用(如酒精);5. 对于各种电气设备当人离开时应切断电源,以免时间长设备过热,发生火灾;6. 对于明火,如烟头、炉火,当人离开时,应检查、察看是否有隐患存在,妥帖后方可离开;7. 对于需要加热器保温的试验,应安排专人定时的检查加热状况,及时发现及时处理。
为了加强驻地办车辆管理,保证工作用车的安全有序,特制定本管理制度一、所有车辆由驻地办主任统一管理。
用车必须向驻地办主任提出申请,完成任务后及时返回。
二、车辆及驾驶员应在驻地办随时待命,保证随叫随到,按时出车。
严禁驾驶员酒后和私自出车,若发现,第一次罚款 500 元,第二次扣除当月工资,第三次予以清退。
三、驾驶员不得换开车辆。
平时要注意对车辆的保养,特别是安全性能的例行检查,保持车辆的清洁及出车完好率。
四、所有车辆夜间必须停在驻地办,并采取安全防盗措施,未经驻地办主任批准,不得外出。
五、车辆加油由驻地办主任统一管理。
监理人员工作纪律制度为规范监理工作,提高工作质量和工作效率,特制定本制度。
1﹑举止文明 ,不讲脏话,树立良好的自身形象 ,不断提高综合素质。
2、应有严格的组织性、纪律性和饱满的工作热情。
3、要严格遵守监理工作人员各项规章制度,做到令行禁止。
4、工作中要积极主动,雷厉风行,圆满完成本职工作和领导交办的其他工作。
5、严禁酒后上岗,不得打仗斗殴。
6、上岗应着监理服装并佩戴胸卡。
7、工作中应认真负责,不得玩忽职守。
8、不得无故干扰和影响施工生产。
9、不得利用工作之便以权谋私,不得发生对施工单位勒、拿、卡、要。
10、不得伪造单据,出据虚假证明欺骗指挥部。
工序或单元工程质量控制监理工作程序图质量评定监理工作程序图进度控制监理工作程序图工程款支付监理工作程序图变更监理工作程序图广西瑞海工程监理有限公司,于2004年1月18日在合浦县工商行政管理局登记成立,是广西沿海三市唯一具有水利水电工程建设监理资质的企业。
公司注册资金200万元,资质等级为甲级。
公司的组织机构健全、组织章程和管理制度完善。
公司设有董事长室、总经理室、办公室、项目管理科、经营科、财务科、人力市场科、测量试验室,拥有专业技术人员共99人。
监理工程师52人,高级技术职称人员11人、总监理工程师10人,监理员46人。
公司成立以来,注重科学管理,运用先进技术和科学管理方法完成建设监理任务。
在不断提高监理服务质量的同时,培养、锻炼了一批优秀的监理人才。
本公司已通过ISO9001国际标准质量体系认证,技术力量雄厚,管理经验丰富,始终遵循“守法、诚信、公正、科学”的执业准则,派往工程项目的监理人员,以严格监理为宗旨,发挥综合性服务能力,始终以合同管理贯穿工程施工管理的全过程,在工程质量控制、工程进度控制、工程投资控制、合同管理、信息管理、组织协调等各方面为业主提供全天候、全方位、全过程的优质监理服务,得到了工程业主及政府质量监督部门的好评。
近年来,公司共完成监理项目有:桂平市城区郁江西堤一期工程、灵山县2011年农村饮水安全工程、平南县六陈水库电站增效扩容改造工程、广西中越国境界河归春河整治工程、广西灵山县思明水库除险加固工程、环江县农业综合开发川南灌区节水改造工程、广西防城港市防城区田丰电站工程、北海市银海区西竹海堤加固整治工程等数百项,所有建设监理任务的工程项目多项均被评为优良工程。
其中北海市铁山港工业区诚德新材料项目周边排水工程、合浦县大排水库除险加固工程荣获“2012年广西水利建设工程文明工地”称号。
今后,我公司将继续秉承诚信、科学、进取、慎独的优良传统,同时以现代企业制度为基础,以人为本,在企业管理上、监理服务质量上不断创新,用我们的技术为社会奉献出更好更高质量的工程。
总监理工程师职责1.总监理工程师职责1)确定项目监理机构人员的分工和岗位职责。
2)主持编写项目监理规划、审批项目监理实施细则,并负责管理项目监理机构的日常工作。
3)审查分包单位的资质,并提出审查意见。
4)检查和监督监理人员的工作,根据工程项目的进展情况可进行人员调配,对不称职的人员应调换其工作。
5)主持监理工作会议,签发项目监理机构的文件和指令。
6)审定承包单位提交的开工报告、施工组织设计、技术方案、进度计划。
7)审核签署承包单位的申请支付证书和竣工结算。
8)审查和处理工程变更。
9)主持或参与工程质量事故调查。
10)调解建设单位与承包单位的合同争议、处理索赔、审批工程延期。
11)组织编写并签发监理月报、监理工作阶段报告、专题报告和项目监理工作总结。
12)审核签发分部工程和单位工程的质量检验评定资料,审查承包单位的竣工申请,组织监理人员对工程项目进行质量检查,参与工程项目的竣工验收。
13)主持整理工程项目的监理资料。
总监理工程师代表职责1)负责总监理工程师指定或交办的监理工作。
2)按总监理工程师的授权,行使总监理工程师的部分职责和权力。
总监理工程师不得将以下工作委托总监理工程师代表:1)主持编写项目监理规划、审批项目监理实施细则;2)签发工程开工/复工报审表、工程暂停令、工程款支付证书、工程竣工报验单;3)审核签认竣工结算;4)调解建设单位与承包单位的合同争议、处理索赔,审批工程延期;5)根据工程项目的进展情况进行监理人员的调配,调换不称职的监理人员。
专业监理工程师代表职责1)负责编制本专业的监理实施细则。
2)负责本专业监理工作的具体实施。
3)组织、指导、检查和监督本专业监理员的工作,当人员需要调整时,向总监理工程师提出建议。
4)审查承包单位提交的涉及本专业计划、方案、申请、变更,并向总监理工程师提出报告和意见。
5)负责本专业分项工程验收及隐蔽工程验收。
6)定期向总监理工程师提交本专业监理工作实施情况报告,对重大问题及时向总监理工程师汇报和请示。
监理上墙制度牌(可以直接使用,可编辑优秀版资料,欢迎下载)总监理工程师职责1.总监理工程师职责1)确定项目监理机构人员的分工和岗位职责。
2)主持编写项目监理规划、审批项目监理实施细则,并负责管理项目监理机构的日常工作。
3)审查分包单位的资质,并提出审查意见.4)检查和监督监理人员的工作,根据工程项目的进展情况可进行人员调配,对不称职的人员应调换其工作。
5)主持监理工作会议,签发项目监理机构的文件和指令.6)审定承包单位提交的开工报告、施工组织设计、技术方案、进度计划。
7)审核签署承包单位的申请支付证书和竣工结算。
8)审查和处理工程变更。
9)主持或参与工程质量事故调查。
10)调解建设单位与承包单位的合同争议、处理索赔、审批工程延期。
11)组织编写并签发监理月报、监理工作阶段报告、专题报告和项目监理工作总结。
12)审核签发分部工程和单位工程的质量检验评定资料,审查承包单位的竣工申请,组织监理人员对工程项目进行质量检查,参与工程项目的竣工验收。
13)主持整理工程项目的监理资料。
总监理工程师代表职责1)负责总监理工程师指定或交办的监理工作。
2)按总监理工程师的授权,行使总监理工程师的部分职责和权力。
总监理工程师不得将下列工作委托总监理工程师代表:1)主持编写项目监理规划、审批项目监理实施细则;2)签发工程开工/复工报审表、工程暂停令、工程款支付证书、工程竣工报验单;3)审核签认竣工结算;4)调解建设单位与承包单位的合同争议、处理索赔,审批工程延期;5)根据工程项目的进展情况进行监理人员的调配,调换不称职的监理人员。
专业监理工程师代表职责1)负责编制本专业的监理实施细则。
2)负责本专业监理工作的具体实施。
3)组织、指导、检查和监督本专业监理员的工作,当人员需要调整时,向总监理工程师提出建议.4)审查承包单位提交的涉及本专业计划、方案、申请、变更,并向总监理工程师提出报告和意见。
5)负责本专业分项工程验收及隐蔽工程验收.6)定期向总监理工程师提交本专业监理工作实施情况报告,对重大问题及时向总监理工程师汇报和请示。
总监理工程师职责1.总监理工程师职责1)确定项目监理机构人员的分工和岗位职责。
2)主持编写项目监理规划、审批项目监理实施细则,并负责管理项目监理机构的日常工作.3)审查分包单位的资质,并提出审查意见。
4)检查和监督监理人员的工作,根据工程项目的进展情况可进行人员调配,对不称职的人员应调换其工作。
5)主持监理工作会议,签发项目监理机构的文件和指令。
6)审定承包单位提交的开工报告、施工组织设计、技术方案、进度计划。
7)审核签署承包单位的申请支付证书和竣工结算。
8)审查和处理工程变更。
9)主持或参与工程质量事故调查。
10)调解建设单位与承包单位的合同争议、处理索赔、审批工程延期。
11)组织编写并签发监理月报、监理工作阶段报告、专题报告和项目监理工作总结.12)审核签发分部工程和单位工程的质量检验评定资料,审查承包单位的竣工申请,组织监理人员对工程项目进行质量检查,参与工程项目的竣工验收.13)主持整理工程项目的监理资料。
总监理工程师代表职责1)负责总监理工程师指定或交办的监理工作。
2)按总监理工程师的授权,行使总监理工程师的部分职责和权力。
总监理工程师不得将下列工作委托总监理工程师代表:1)主持编写项目监理规划、审批项目监理实施细则;2)签发工程开工/复工报审表、工程暂停令、工程款支付证书、工程竣工报验单;3)审核签认竣工结算;4)调解建设单位与承包单位的合同争议、处理索赔,审批工程延期;5)根据工程项目的进展情况进行监理人员的调配,调换不称职的监理人员。
专业监理工程师代表职责1)负责编制本专业的监理实施细则。
2)负责本专业监理工作的具体实施。
3)组织、指导、检查和监督本专业监理员的工作,当人员需要调整时,向总监理工程师提出建议。
4)审查承包单位提交的涉及本专业计划、方案、申请、变更,并向总监理工程师提出报告和意见.5)负责本专业分项工程验收及隐蔽工程验收。
6)定期向总监理工程师提交本专业监理工作实施情况报告,对重大问题及时向总监理工程师汇报和请示。
总监理工程师职责1.总监理工程师职责1)确定项目监理机构人员的分工和岗位职责。
2)主持编写项目监理规划、审批项目监理实施细则,并负责管理项目监理机构的日常工作.3)审查分包单位的资质,并提出审查意见。
4)检查和监督监理人员的工作,根据工程项目的进展情况可进行人员调配,对不称职的人员应调换其工作。
5)主持监理工作会议,签发项目监理机构的文件和指令。
6)审定承包单位提交的开工报告、施工组织设计、技术方案、进度计划。
7)审核签署承包单位的申请支付证书和竣工结算。
8)审查和处理工程变更。
9)主持或参与工程质量事故调查。
10)调解建设单位与承包单位的合同争议、处理索赔、审批工程延期.11)组织编写并签发监理月报、监理工作阶段报告、专题报告和项目监理工作总结.12)审核签发分部工程和单位工程的质量检验评定资料,审查承包单位的竣工申请,组织监理人员对工程项目进行质量检查,参与工程项目的竣工验收.13)主持整理工程项目的监理资料。
总监理工程师代表职责1)负责总监理工程师指定或交办的监理工作.2)按总监理工程师的授权,行使总监理工程师的部分职责和权力。
总监理工程师不得将下列工作委托总监理工程师代表:1)主持编写项目监理规划、审批项目监理实施细则;2)签发工程开工/复工报审表、工程暂停令、工程款支付证书、工程竣工报验单;3)审核签认竣工结算;4)调解建设单位与承包单位的合同争议、处理索赔,审批工程延期;5)根据工程项目的进展情况进行监理人员的调配,调换不称职的监理人员.专业监理工程师代表职责1)负责编制本专业的监理实施细则。
2)负责本专业监理工作的具体实施.3)组织、指导、检查和监督本专业监理员的工作,当人员需要调整时,向总监理工程师提出建议。
4)审查承包单位提交的涉及本专业计划、方案、申请、变更,并向总监理工程师提出报告和意见.5)负责本专业分项工程验收及隐蔽工程验收。
6)定期向总监理工程师提交本专业监理工作实施情况报告,对重大问题及时向总监理工程师汇报和请示。
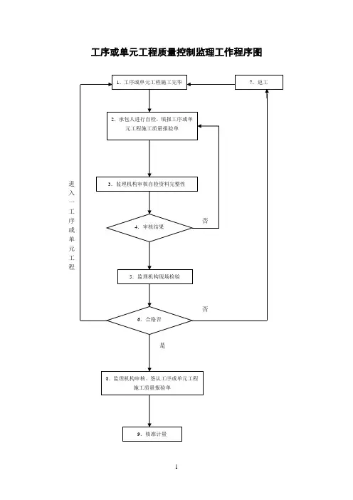
工序或单元工程质量控制监理工作程序图
变更监理工作程序图
广西瑞海工程监理有限公司,于2004年1月18日在合浦县工商行政管理局登记成立,是广西沿海三市唯一具有水利水电工程建设监理资质的企业。
公司注册资金200万元,资质等级为甲级。
公司的组织机构健全、组织章程和管理制度完善。
公司设有董事长室、总经理室、办公室、项目管理科、经营科、财务科、人力市场科、测量试验室,拥有专业技术人员共99人。
监理工程师52人,高级技术职称人员11人、总监理工程师10人,监理员46人。
公司成立以来,注重科学管理,运用先进技术和科学管理方法完成建设监理任务。
在不断提高监理服务质量的同时,培养、锻炼了一批优秀的监理人才。
本公司已通过ISO9001国际标准质量体系认证,技术力量雄厚,管理经验丰富,始终遵循“守法、诚信、公正、科学”的执业准则,派往工程项目的监理人员,以严格监理为宗旨,发挥综合性服务能力,始终以合同管理贯穿工程施工管理的全过程,在工程质量控制、工程进度控制、工程投资控制、合同管理、信息管理、组织协调等各方面为业主提供全天候、全方位、全过程的优质监理服务,得到了工程业主及政府质量监督部门的好评。
近年来,公司共完成监理项目有:桂平市城区郁江西堤一期工程、灵山县2011年农村饮水安全工程、平南县六陈水库电站增效扩容改造工程、广西中越国境界河归春河整治工程、广西灵山县思明水库除险加固工程、环江县农业综合开发川南灌区节水改造工程、广西防城港市防城区田丰电站工程、北海市银海区西竹海堤加固整治工程等数百项,所有建设监理任务的工程项目多项均被评为优良工程。
其中北海市铁山港工业区诚德新材料项目周边排水工程、合浦县大排水库除
险加固工程荣获“2012年广西水利建设工程文明工地”称号。
今后,我公司将继续秉承诚信、科学、进取、慎独的优良传统,同时以现代企业制度为基础,以人为本,在企业管理上、监理服务质量上不断创新,用我们的技术为社会奉献出更好更高质量的工程。
总监理工程师职责
1、主持编制监理规划,制定监理机构规章制度,审批监理实施细则;签发监理机构的文件。
2、确定监理机构各部门职责分工及各级监理人员职责权限,协调监理机构内部工作。
3、指导监理工程师开展工作;负责本监理机构中监理人员的工作考核,调换不称职的监理人员;根据工程建设进展情况,调整监理人员。
4、主持审核承包人提出的分包项目和分包人,报发包人批准。
5、审批承包人提交的施工组织设计、施工措施计划、施工进度计划和资金流计划。
6、组织或授权监理工程师组织设计交底;签发施工图纸。
7、主持第一次工地会议,主持监理例会和监理专题会议。
8、签发进场通知、合同项目开工令、分部工程开工通知、暂停施工通知和复工通知等重要监理文件。
9、组织审核付款申请,签发各类付款证书。
10、主持处理合同违约、变更和索赔等事宜,签发变更和索赔的有关文件。
11、主持施工合同实施中的协调工作,调解合同争议,必要时对施工合同条款做出解释。
12、要求承包人撤换不称职或不宜在本工程工作的现场施工人员或技术、管理人员。
13、审核质量保证体系文件并监督其实施;审批工程质量缺陷
的处理方案;参及或协助发包人组织处理工程质量及安全事故。
14、组织或协助发包人组织工程项目的分部工程验收、单位工程完工验收、合同项目完工验收,参加阶段验收、单位工程投入使用验收和工程竣工验收。
15、签发工程移交证书和保修责任终止证书。
16、检查监理日志;组织编写并签发监理月报、监理专题报告、监理工作报告;组织整理监理合同文件和档案资料。
监理工程师职责
1、参及编制监理规划,编制监理实施细则。
2、预审承包人提出的分包项目和分包人。
3、预审承包人提交的施工组织设计、施工措施计划、施工进度计划和资金流计划。
4、预审或经授权签发施工图纸。
5、核查进场材料、构配件、工程设备的原始凭证、检测报告等质量证明文件及其质量情况。
6、审批分部工程开工申请报告。
7、协助总监理工程师协调参建各方之间的工作关系。
按照职责权限处理施工现场发生的有关问题,签发一般监理文件。
8、检验工程的施工质量,并予以确认或否认。
9、审核工程计量的数据和原始凭证,确认工程计量结果。
10、预审各类付款证书。
11、提出变更、索赔及质量和安全事故处理等方面的初步意见。
12、按照职责权限参及工程的质量评定工作和验收工作。
13、收集、汇总、整理监理资料,参及编写监理月报,填写监理日志。
14、施工中发生重大问题和遇到紧急情况时,及时向总监理工程师报告、请示。
15、指导、检查监理员的工作。
必要时可向总监理工程师建议调换监理员。
监理员职责
1、核实进场原材料质量检验报告和施工测量成果报告等原始资料。
2、检查承包人用于工程建设的材料、构配件、工程设备使用情况,并做好现场记录。
3、检查并记录现场施工程序、施工工法等实施过程情况。
4、检查和统计计日工情况;核实工程计量结果。
5、核查关键岗位施工人员的上岗资格;检查、监督工程现场的施工安全和环境保护措施的落实情况,发现异常情况及时向监理工程师报告。
6、检查承包人的施工日志和试验室记录。
7、核实承包人质量评定的相关原始记录。