招投标流程图
- 格式:doc
- 大小:56.00 KB
- 文档页数:4
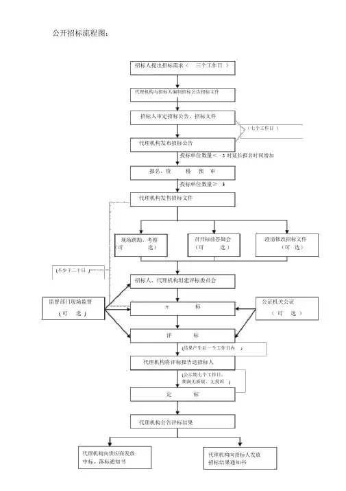
公开招标流程图:招标人提出招标需求( 三个工作日 )代理机构与招标人编制招标公告招标文件招标人审定招标公告、招标文件(七个工作日 )代理机构发布招标公告投标单位数量< 3 时延长报名时间增加报名、资格 预 审 投标单位数量≥ 3代理机构发售招标文件 现场踏勘、考察 (可 选)召开标前答疑会(可 选)澄清修改招标文件(可 选)(不少于二十日 )招标人、代理机构组建评标委员会监督部门现场监督标公证机关公证( 可开( 可 选 )选 )评 标(结果产生后一个工作日内)代理机构将评标报告送招标人(公示期七个工作日, 期满无质疑、无投诉 )定 标代理机构公告评标结果代理机构向供应商发放中标、落标通知书代理机构向招标人发放招标结果通知书附件六、邀请招标流程图:招标人、用户方向招标代理机构发出招标委托函招标代理机构根据用户方需求编制招标文件用户审定、确认招标文件向三个以上具备承担招标项目的能力,资信良好的招标代理机构向合格供应商发出投标邀请书法人或其他组织投标人报名,代理机构发售招标文件召开标前答澄清修改招现场踏勘、疑会(可选)标文件(可考察(可选)(可选)选)(可选)投标人投标交纳投标保证金招标文件发出至投标保证金须于提交投标文件截招标文件规定的依法组建评标委员会截止日前到账止之日止,最短不得少于二十日开标、唱标、评标失败失败更改招标文件更改招标方式招标成功否重新招标重新招标由评标委员会推荐中标候选人公示期 3个招标代理机构发布预告中标公告日历日用户方确认评标结果、定标招标代理机构发布中标公告及发送中标通知书招标代理机构向投标商退还投标保证金和收取中标服务费。
01招投标流程概述Chapter招投标定义与目的定义目的招投标基本流程010*******监督机构对招投标活动进行监督的机构,负责监督招投标活动的合法性、公正性和透明度,防止腐败现象的发生。
招标人提出招标项目、进行招标的法人或者其他组织,负责编制招标文件、组织评标、确定中标人并签订合同。
投标人响应招标、参加投标竞争的法人或者其他组织,负责编制投标文件、参加开标会议、接受评标委员会的评审和比较。
评标委员会由招标人组建的负责评审投标文件的临时性机构,负责按照招标文件规定的评标标准和方法进行评审、推荐中标候选人或者直接确定中标人。
招投标参与方及职责02六种招投标流程图详解Chapter编制招标文件发布招标公告投标人投标定标开标评标编制招标文件与公开招标相同。
发出投标邀请书向三个以上具备承担招标项目能力、资信良好的特定法人或其他组织发出邀请。
投标人投标与公开招标相同。
开标、评标、定标流程与公开招标相同,但邀请招标的开标可以不公开进行。
竞争性谈判流程图单一来源采购流程图公示采购信息协商采购事宜签订合同履行合同询价采购流程图制定询价通知书明确询价内容、标准、合同草案的条款等事项。
确定被询价的供应商名单从符合相应资格条件的供应商名单中确定不少于三家的供应商进行询价。
询价向被询价的供应商发出询价通知书让其报价。
确定成交供应商根据符合采购需求、质量和服务相等且报价最低的原则确定成交供应商,并将结果通知所有被询价的未成交的供应商。
电子招投标流程图编制并提交投标文件投标报名与购买招标文件投标人在电子招投标交易平台上进行报名并购买招标文件。
发布招标公告与招标文件开标、评标、定标流程与公开招标相同,但采用电子化方式进行。
签订合同03招投标关键环节分析Chapter01020304明确招标范围与要求编制规范的文件格式设定合理的评标标准注明重要时间与地点招标文件编制要点01020304检查投标文件是否符合招标文件的要求,如资格证明、保证金等。
招标采购流程图一、背景介绍招标采购是指企业或者机构通过公开竞争的方式,向供应商征集产品或者服务,并最终选择合适的供应商进行采购的过程。
招标采购流程图是描述招标采购过程中各个环节和步骤的图形化展示,有助于理清流程、规范操作、提高效率。
二、招标采购流程图示例招标采购流程图如下所示:1. 需求确认阶段- 内部部门提出采购需求- 需求评估和审核- 制定采购计划2. 招标准备阶段- 制定招标文件- 发布招标公告- 筹备招标文件评审小组3. 投标阶段- 供应商获取招标文件- 供应商准备投标文件- 供应商提交投标文件- 招标文件评审小组评审投标文件- 筛选合格投标供应商- 组织供应商现场演示或者答辩5. 中标确定阶段- 综合评审结果- 确定中标供应商- 与中标供应商签订合同6. 履约与验收阶段- 供应商交付产品或者提供服务- 采购方验收产品或者服务- 结算付款7. 供应商管理阶段- 监督供应商履行合同- 供应商绩效评估- 供应商关系维护三、招标采购流程图详细解析1. 需求确认阶段在这个阶段,内部部门提出采购需求,并经过评估和审核,最终确定采购计划。
这个阶段的关键是明确需求和制定采购计划,确保采购的合理性和有效性。
在这个阶段,采购方制定招标文件,包括招标公告、招标说明、技术规范、合同范本等,并发布招标公告。
同时,需要筹备招标文件评审小组,确保评审的公正和客观。
3. 投标阶段在这个阶段,供应商获取招标文件,并准备投标文件。
投标文件通常包括技术方案、商业报价、公司资质等。
供应商需要按照招标文件的要求,准备全面、准确的投标文件。
4. 投标评审阶段在这个阶段,招标文件评审小组对投标文件进行评审,筛选出符合要求的供应商。
有时还需要组织供应商进行现场演示或者答辩,以更全面地评估供应商的能力和可行性。
5. 中标确定阶段在这个阶段,综合评审结果,确定中标供应商。
中标供应商与采购方进行合同谈判,并最终签订合同。
这个阶段的关键是确保中标供应商具备满足采购需求的能力,并达成合理的合同协议。
工 作 阶 段 招 标 人 投 标 人 监督管理部门5、资格预审,确定合格的投 标申请人工作阶段招标人投标人监督管理部门工作阶段招标人投标人监督管理部门工作阶段招标人投标人监督管理部门工程概况某民用商住楼工程。
设计使用年限为50年,建筑耐火等级为二级,建筑物安全等级为二级,建筑物抗震设防烈度为六度。
屋面防水等级为叁级。
砖混结构。
总建筑面积:7000㎡。
分五个单元,建筑层数七层,建筑物东西长70.30米,南北宽22.40米。
建筑物层高:一层为车库、储藏室、商业房层高3.50米,住宅标准层层高3.10米。
本工程设计基础部分:桩基础,混凝土标号C30,标高-0.08米以下为M10水泥砂浆砌Mu10实心机制砖。
主体部分:砌体为M5.0混合砂浆砌Mu10实心机制砖。
圈梁、构造柱、柱、板及其他均为C20钢筋混凝土现浇。
装饰装修部分:按一般民用住宅要求,室内装修做法为:顶棚和内混合沙浆抹面;刷乳胶漆。
卫生间、厨房内墙瓷赚到顶、顶棚水泥沙浆抹面,刷乳胶漆。
水泥地面,全瓷抛光地面砖楼面。
外墙贴面砖,部分为水泥沙浆抹面,刷外墙涂料,卫生间地面、厨房地面、阳台地面、屋面为SBS防水层。
工程量清单3、施工组织管理3.1、组织管理机构根据工程结构特点和复杂程度,遵循合理分工与密切协作以及因事设职选人的原则,公司专门成立项目经理部,该项目部下设各施工职能部门及施工专业班组。
管理部门包括计划、技术、施工、材料设备、物资供应、质量安全、生活保障等。
组织管理机构如图所示:3.2、现场主要管理部门、人员分工及权限3.2.1、项目经理负责项目经理部的行政领导工作,并对整个项目的施工计划、生产进度、质量安全、经济效益等全面负责。
分管材料、计划、治安和后勤管理工作等。
3.2.2、项目副经理是项目经理的助手,负责项目施工的各项生产工作,对施工进度、质量、安全负直接责任。
分管安全管理组。
3.2.3、项目工程师(技术负责人)是项目经理的助手,负责项目施工中的全部技术管理,质量控制和安全监督工作。
招标投标流程图招标投标是指以公开、公正、公平的方式,通过招标文件的发布和投标人的参与,选择最合适的供应商或承包商的过程。
招标投标流程图是用来展示招标投标过程中各个环节和步骤的图形化表示,有助于理清流程,提高工作效率。
下面是一个典型的招标投标流程图的标准格式:1. 准备招标文件- 制定招标公告- 准备招标文件,包括技术规范、合同条款、评标标准等- 设定投标截止日期和时间2. 发布招标公告- 在相关媒体、网站、公告栏等渠道发布招标公告- 确保公告内容准确、清晰、详细3. 投标人获取招标文件- 投标人自行购买或下载招标文件- 确保投标人获取的招标文件与发布的招标公告一致4. 投标人提问和答疑- 投标人在规定时间内提出问题和疑问- 招标人或招标代理机构回答并公布答复结果5. 投标人递交投标文件- 投标人按照要求准备投标文件,包括技术方案、商务报价等- 在规定的投标截止日期和时间前递交投标文件6. 开标- 在公开场所进行开标,确保透明公正- 招标人或招标代理机构组织开标过程,记录开标结果7. 评标- 评标委员会根据招标文件中的评标标准进行评审- 对投标文件进行综合评分,确定中标候选人或中标人8. 中标公示- 公示中标候选人或中标人的名称和报价等信息- 确保公示内容准确、及时、公正9. 签订合同- 招标人与中标候选人或中标人进行合同洽谈- 确定合同条款、签署合同文件10. 履约- 招标人和中标人按照合同约定履行各自的责任和义务- 监督合同执行情况,确保项目顺利进行以上是一个典型的招标投标流程图的标准格式,流程图的绘制可以根据实际情况进行调整和补充。
招标投标流程图的使用有助于提高招标投标工作的效率和透明度,确保公平竞争和优质供应商的选择。
招标工作流程图
立项招标
程序一
确定招标小组人员制定评标方法标准制作招标书
招标公告及投标报名
资格预审
发出邀标书及收集投标书
开标、评标
现场看苗、议标
定标
签约程序二确定招标小组人员制定评标方法标准制作招标书向符合资格的供方发出招标书及收集投标书开标、评标现场看苗、议标定标签约程序三确定招标小组人员制作邀标函并向合资格供方发出邀标收集报价资料比价分析评审现场看苗、议价确定供方签约。
红色字体为投标书编制流程,黑色字体为招标书和标底编制流程,在标底编制流程中会出现两个SWZ格式的文件,一个由斯维尔软件直接生成;另一个由标底编制系统导入ZBS生成。
但是,实际工程中,客户都是直接在斯维尔软件中编制清单的时候,已经把套价工作完成,然后直接导出SWZ和SWT(招标控制价);SWZ通过招标编制系统生成ZBS(此过程中措施项目的编码可能会发生变化),然后将ZBS和SWT(直接导出的招标控制价)导入标底编制系统导出BDS(标底)。
在这过程中就会出现ZBS和SWT中措施项目的编码不统一,导致不能导出标底文件。
措施项目编码问题总部一直在与筑龙软件沟通,目前无结果,如果出现编码不一致的情况,客户只能
在斯维尔项目文件中(QDG或QDG2)把每个单位工程的措施项目编码改为跟ZBS文件的编码一致才可以。
附件1-001:招标项目内部审批表常用附件:附件1-002:招标(采购)文件确认书附件1-003:购买招标(采购)文件登记表附件1-004:出售招标(采购)文件汇总表附件1-005:质疑投诉过程记录表附件1-006:抽取评审专家申请表附件1-007:专家抽取记录表附件1-008:交易结果确认书附件1-009:服务费通知单附件1-010:中标(成交)通知书附件1-011:资料汇编目录附件1-012:顾客满意度调查表附件1-013:归档资料登记表……如有质询如有修改处理完毕如有如需如有处理质疑答疑、补遗距截标时间不得少于法定天数项目开始确定项目经理签订代理协议项目立项申请编号 (填写并提交《项目内部审批表》)招标前期资料准备(包括资质要求、技术要求、招标公告的形式、内容、标段的划分等)编制、修改招标公告和文件并内部互审管理部审核招标公告、招标文件管理部审定终版文件(填写并提交《项目内部审批表》)发布招标公告/邀请书接受报名,发售文件(自行项目报名结束后1个工作日内提交出售招标文件汇总表)专家抽取(自行项目见专家抽取流程图)开标、评标、定标开标不足三家(流标)评标后不足三家(废标)重大问题重新招标)终止招标管理部审核评标报告及附件(《项目内部审批表》签字)招标人结果确认(交易结果确认书)中标公示(告)向管理部提交服务费通知单、中标通知书(项目内部审批表,项目经理同时提交OA回款单)管理部通知交费(发出中标通知书)财务退未中标保证金整理归档资料项目结束管理部归档备案(按《归档资料登记表》审核)招标人及监管部门备案(同时向招标人索取《顾客满意度调查表》)招标人与中标人签订合同财务收取代理费(退还中标单位保证金)投标人编制投标文件财务核实标书款及保证金招标人确认招标公告及文件(对招标文件加盖齐缝章或在招标文件确认书上盖章)招标全过程流程图。