车辆登记卡表格格式
- 格式:docx
- 大小:8.59 KB
- 文档页数:2
(完整版)车辆登记表模板
本文档提供了一份完整版的车辆登记表模板,用于记录车辆的相关信息和所有权归属情况。
该模板包括以下内容:
1. 车辆信息:
- 车辆品牌和型号
- 车牌号码
- 车辆颜色
- 发动机号码
- 车架号码
- 购买日期
- 购买价格
- 车辆状况(良好、中等、损坏等)
2. 所有人信息:
- 所有人姓名
- 联系方式
- 住址
- 身份证号码
- 驾驶证号码
3. 车辆使用情况:
- 使用性质(个人、商务、租赁等)
- 使用地点(家庭、公司、租赁地点等)
- 车辆用途(代步、运货、出租等)
- 使用期限(长期、临时、租期等)
4. 异议声明:
- 所有人对车辆信息的申报和真实性做出声明
使用该模板时,请根据实际情况填写相关信息,并确保信息准确无误。
该模板可用于个人、企业等所有者登记车辆信息并留存备案。
请注意:本文档仅为模板,使用时请根据实际需求进行修改和调整。
感谢您使用本文档模板!如有任何疑问或需要进一步帮助,请随时联系我。
*提示:如需保存此模板,请复制文本并粘贴到您的文档编辑软件中保存。
*。
车辆信息登记表车辆信息登记表是用于记录车辆相关信息的重要文件。
它包含了车辆的基本信息、所有人信息以及历史记录等内容。
本文将详细介绍车辆信息登记表的格式要求和内容要点,以帮助读者全面了解并准确填写此类表格。
一、基本信息车辆信息登记表的第一部分是基本信息,包括车辆型号、车牌号码、发动机号码、车架号码等。
这些信息用于唯一标识一辆车辆,确保车辆可追溯和辨识性。
在填写基本信息时,需要确保准确无误,避免出现录入错误的情况。
二、所有人信息车辆信息登记表的第二部分是所有人信息,包括车辆当前所有人的姓名、性别、联系电话、地址等。
这些信息用于记录车辆的所有权归属,并在需要时与车辆所有人进行联系。
填写所有人信息时,需要确保与实际情况一致,防止填写错误或虚假信息。
三、历史记录车辆信息登记表的第三部分是历史记录,用于记录车辆的历史信息,如购买日期、上牌日期、年检情况、事故记录等。
这些信息对于车辆的价值评估、安全检测以及法律纠纷的解决都具有重要作用。
在填写历史记录时,需要真实详尽地记录车辆的历史情况,确保信息的完整性和准确性。
四、维修记录车辆信息登记表的第四部分是维修记录,包括维修日期、维修类型、维修内容、维修费用等。
这些信息用于记录车辆的维修情况,帮助车辆买卖双方了解车辆的保养情况和潜在问题。
在填写维修记录时,需要按照时间顺序记录维修事件,并详细描述维修内容,包括更换的零部件、维修的原因等。
五、其他信息车辆信息登记表的第五部分是其他信息,用于记录与车辆有关的其他重要信息,如车辆保险情况、违章记录等。
这些信息对于车辆的综合评估和交易决策也具有一定的影响。
在填写其他信息时,需要注明具体的保险公司名称、保险金额、违章时间和地点等。
总结:车辆信息登记表是一份重要的文件,它记录了车辆的基本信息、所有人信息以及历史记录等内容。
填写车辆信息登记表时,需要确保信息的准确性和完整性,以避免信息错误和虚假。
同时,也需要按照事实进行描述,注明时间和具体细节,以便将来的查询和验证。
一、轮胎更换、更换位置、拆卸备用均应注明胎号、规格、厂牌,俾为查考。
二、每月固定保养、打腊均应详细逐条填具,以明一、二级保养责任。
三、其他车辆之各项维护项目支出均应详载,俾了解车况及驾驶人维护情形。
一、本表每月使用乙张请详实填写,俾了解车况,作为车辆保养维护暨上级经费补助核拨之重
要依据。
二、表首车号、厂牌、型式、排气量、年份、购置日期请依原始资料填写,上次定期保养填写
前次送甲、乙种汽车保修厂实施三级以上定期保养之日期里程,上月里程表即本月里程表之起码,其余表首资料请依月底统计实况填载。
三、工作记要请逐日填写,包含行驶纪录、缺失与问题、保养维护及更换零件纪录与金额。
四、起码填当日上工前之里程表里程、止码则填收班里程,两者相减为当日行驶里程。
五、燃油添加【油卡加油】与【自费加油】分栏填写,支援校外教学与各项活动必需有自费加
油纪录。
六、机油添加填写引擎室机油添加纪录,其余总成、机构不列入本项纪录。
七、驾驶与管理人应逐日签章,总务主任每周检查签章,校长每月至少实施检查签章乙次。
八、寒暑假或其他不用上学之上班日,亦应实施每日保养、检查及纪录。
范例
种不同增加检查项目。
二、检查结果:”○”表示车况良好及”V”表示正常但须留意(惟事後应尽速处理),以上
二种状况可行驶。
倘若为”X”表示须进一步检查修理,因影响行驶安全,应立即处理
不得免强行驶,处理完後请加圆框注记,方能继续行驶。
三、行驶前检查─驾驶纪录签章後存放学校备查,行驶中、後检查返校後填载,本表请妥善保存。
花莲县○○○○学校交通车派车单编
号:。
公司车辆信息登记表格模板推荐随着企业的发展壮大,公司车辆的管理变得越来越重要。
为了更好地管理公司车辆,提高车辆使用效率,许多企业开始使用车辆信息登记表格来记录和管理车辆信息。
本文将推荐一种适用于公司车辆信息登记的表格模板,帮助企业更好地管理车辆。
一、表格模板概述该车辆信息登记表格模板包含以下几个主要部分:车辆基本信息、车辆使用信息、车辆维护信息和车辆保险信息。
每个部分都有相应的字段,方便用户填写和查询相关信息。
二、车辆基本信息车辆基本信息部分包括车辆编号、车牌号码、车辆品牌、车辆型号、购买日期、购买价格等字段。
这些信息是车辆的基本属性,通过填写这些信息,可以清晰地了解每辆车的基本情况。
三、车辆使用信息车辆使用信息部分包括车辆使用人员、使用部门、使用日期、使用地点等字段。
这些信息可以帮助企业了解车辆的使用情况,包括使用人员、使用频率、使用地点等,有助于合理安排车辆的使用和调度。
四、车辆维护信息车辆维护信息部分包括保养日期、保养项目、保养费用、维修日期、维修项目、维修费用等字段。
这些信息可以帮助企业及时了解车辆的保养和维修情况,及时进行维护和修理,保证车辆的正常运行。
五、车辆保险信息车辆保险信息部分包括保险公司、保险类型、保险金额、保险起止日期等字段。
这些信息可以帮助企业及时了解车辆的保险情况,确保车辆在发生事故时能够得到及时赔付和维修。
六、表格使用方法使用该车辆信息登记表格模板非常简单。
只需按照表格中的字段逐一填写相关信息即可。
在填写过程中,可以根据实际情况增加或删除字段,以满足企业的具体需求。
七、表格优势该车辆信息登记表格模板具有以下几个优势:1. 结构清晰:表格按照车辆信息的不同分类,将相关字段分组排列,使信息整理更加有序。
2. 信息完整:表格包含了车辆的基本信息、使用信息、维护信息和保险信息,能够全面记录和管理车辆相关信息。
3. 灵活性强:表格可以根据企业的实际需求进行修改和调整,方便企业根据自身情况进行个性化管理。
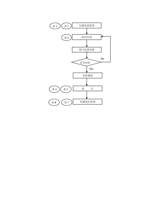
车辆管理台账编号:车辆管理台账车牌号码:车辆类别:车辆型号:建档日期:表1车辆登记卡车牌号车辆类别固定资产编码发动机号车辆识别号保养周期5000公里购置日期品牌型号车身颜色发动机排量变速器形式油箱容量保险记录保险公司保险单号保险种类保险周期保险内容年审记录年检时间送检人/代理人下次年检时间收费单位年检费用保养记录保养时间保养项目保养厂家预计下次保养期保养人表2车辆维修保养登记表日期保养/维修保养(维修)原因保养(维修)项目维修单位送修人费用表3车辆油耗情况登记表年度年初里程(公里)年终里程(公里)总行驶里程(公里)年加油金额(元)年加油量(升)平均油耗(升/百公里)表4车辆交通事故情况登记表事故发生时间驾驶人事故发生地点事故性质事故责任车辆损坏情况说明:1.事故性质是指特大事故或重大事故;2.事故责任是指全部责任、主要责任、同等责任、次要责任和无责任。
表5行驶事故处理报告书驾驶人姓名车辆牌号事故报告日期事故发生地点损坏程度对事故的处理及解决方法损坏额(A)对人、物赔偿额治疗费、修车费保险承担金额(B)对方承担金额(C)自赔金额(A)—(B)—(C)其他事项(参考)事故照片(照片多时,另纸贴上提出)表6车辆日常使用记录车牌号:日期:项目星期洗车加油记录车况纪录汽油机油金额配件外观操控加油换油轮胎音响冷气里程数里程数星期一星期二星期三星期四星期五星期六星期日车辆出入停放管理规定为加强对出入、停放本小区车辆的管理,维护小区正常生活秩序,确保住户的生命财产安全,特对出入、停放本小区的车辆作如下规定:1、凡装有易燃、易爆、剧毒等危险性物品的车辆,严禁驶入小区。
2吨以上的卡车一律不得进入小区,特殊情况除外。
2、本小区有车辆的住户,应向本公司申请办理通行IC卡,凭IC卡通行大门,及在小区停放,按规定收取IC卡工本费、停车费。
3、本小区住户车辆进入小区后,有车库的住户必须将车停放在车库内,无车库住户必须将车停放在指定停车位置,严禁乱停乱放。
公司用车登记表欧阳光明(2021.03.07)司机姓名:车辆牌号:出车日期:公司用车登记表司机姓名:车辆牌号:出车日期:公司用车协议因乙方需要借用车辆,现向甲方借用北汽电动汽车EV160,经双方协商达成如下协议:1.甲方将车牌号为:电动汽车车借给乙方使用,该车性能良好,手续齐全。
2.甲方提供性能良好、手续齐全的车辆给乙方使用,在乙方使用期间,甲方不得随意用车,如用须征得乙方同意。
乙方需保证驾驶该车辆者有驾驶资格。
3.乙方在使用该车期间遵守交通法规,违反交通法规所造成的违章、罚款、扣车、安全等一切责任由乙方承担。
4.乙方在使用该借用车辆期间,须确保车辆安全,如发生了交通事故应及时向发生事故所在地公安交通管理部门报案,以及所属保险公司报案,在24小时内通知甲方协助解决,乙方并要承担交通管理部门裁定的责任及保险公司赔付后不足部分及其它费用,如保险公司不受理此案则由乙方全部负责,并承担由本案产生的直接和间接的费用。
5.借用的车辆只能由乙方正常使用,不得用于或参与违法犯罪活动。
严禁酒后驾驶、不得将借用车辆转借他人、不得将该车交给无证人员驾驶,由于乙方原因造成不正当使用的一切后果由其负担并承担相关损失。
6.乙方在借用车辆期间,应妥善保管车辆及一切证件、牌照。
如被盗、丢失,乙方应补办。
7.严禁从事营运或违法活动,因乙方的非法行为造成甲方车辆被扣的,所造成的经济责任及法律后果由乙方全部承担。
8.本协议一式两份,甲乙双方各持一份,签字之日起生效。
借出方:借用方:年月日年月日公司用车协议因乙方需要借用车辆,现向甲方借用北汽电动汽车EV160,经双方协商达成如下协议:2.甲方将车牌号为:电动汽车车借给乙方使用,该车性能良好,手续齐全。
2.甲方提供性能良好、手续齐全的车辆给乙方使用,在乙方使用期间,甲方不得随意用车,如用须征得乙方同意。
乙方需保证驾驶该车辆者有驾驶资格。
3.乙方在使用该车期间遵守交通法规,违反交通法规所造成的违章、罚款、扣车、安全等一切责任由乙方承担。