加工贸易合同核销文档
- 格式:docx
- 大小:394.08 KB
- 文档页数:4
贸易合同:加工贸易合同核销加工贸易经营单位应于合同到期或最后一批成(产)品出口之日起一个月内,持《登记手册》向主管海关办理核销结案手续。
办理时必须向海关提交如下材料:(1)加工贸易登记手册;(《登记手册》中的进口料件登记栏和出口成品登记栏的进出口记录,须有进出境地海关的签章确认;须填写手册中的《核销申请表》并加盖印章);(2)进出口货物报关单原件;(3)企业填写的《加工贸易核销申请表》(由海关提供);(4)核销时如涉及退还保证金的,需填写《保证金(函)核销申请审批表》,提交原保证金收据复印件及加盖财务专用章的收款专用发票;(5)海关认为必要的其它单证。
加工贸易合同备案须知一、审批程序1、加工贸易企业向海关递交有关单证;2、海关审批同意后签发《银行保证金台帐开设联系单》;3、企业凭《银行保证金台帐开设联系单》到中国银行开设台帐并将《保证金台帐开设通知单》一联交回海关;4、海关核注台帐并发送数据至口岸海关,收到回执后签发登记手册。
二、应提交单证1、外经贸主管部门签发的《加工贸易业务批准证》、加工企业所在地县以上外经贸主管部门出具的《加工贸易加工企业生产能力证明》(此证明只需在首次办理加工贸易业务时提供);2、属于异地加工贸易的,需同时提供经营单位主管海关出具的《中华人民共和国海关加工贸易异地加工申请表》;3、来料加工合同、进料加工进口合同,如属对口合同则须同时提交出口合同(正本复印件或副本);4、内容填写齐全、清楚、签字盖章(企业公章)的空白《登记手册》;5、加工贸易经营单位、加工单位签定的委托加工合同;6、海关需要的其它有关资料(工艺流程图、排料图等)。
三、注意事项:1、对首次办理加工贸易的企业,需经海关下厂审验合格后方可办理;2、AA类企业免设银行台帐;A、B类企业进口料件总值在一万美元以下的,实行银行保证金台帐空转;B类企业备案进口限制类商品实行银行保证金台帐实转(税款的50%);C类企业不论金额大小均实行银行保证金台帐实转(税款的100%);D类企业不得开展加工贸易业务。
报告编号:[填写编号]报告日期:[填写日期]报告单位:[填写单位名称]报告部门:[填写部门名称]一、报告概述尊敬的海关领导:根据我国海关关于加工贸易监管的相关规定,我单位在开展加工贸易业务过程中,已按照规定完成了各项海关申报、缴纳税费及监管手续。
现将我单位加工贸易业务的核销申请报告如下,请予以审批。
二、基本情况1. 企业基本信息企业名称:[填写企业名称]统一社会信用代码:[填写统一社会信用代码]法定代表人:[填写法定代表人姓名]注册地址:[填写注册地址]经营地址:[填写经营地址]2. 加工贸易业务概述(1)业务范围:[填写业务范围,如:生产、加工、组装等](2)业务规模:[填写业务规模,如:年加工贸易额、进出口货物种类等](3)业务周期:[填写业务周期,如:一年、半年等]三、核销依据1. 符合海关核销条件的证明材料:(1)加工贸易合同:[填写合同编号及签订日期](2)进出口货物报关单:[填写报关单编号及申报日期](3)海关核销申请表:[填写核销申请表编号及申报日期]2. 符合海关核销规定的业务流程:(1)签订加工贸易合同:我单位与境外企业签订加工贸易合同,明确双方权利义务。
(2)办理进出口通关手续:我单位按照规定办理进出口通关手续,确保货物合法进出口。
(3)缴纳相关税费:我单位按规定缴纳进出口税费,包括关税、增值税等。
(4)执行海关监管:我单位严格遵守海关监管规定,接受海关监管部门的检查和监督。
四、核销申请内容1. 核销范围:[填写核销范围,如:全部加工贸易业务、部分加工贸易业务等]2. 核销金额:[填写核销金额,如:人民币若干万元]3. 核销时间:[填写核销时间,如:截至本报告日期前]五、核销申请原因1. 业务完成:我单位加工贸易业务已按照合同约定完成,符合核销条件。
2. 税费缴纳:我单位已按规定缴纳相关税费,不存在欠税情况。
3. 监管合规:我单位在加工贸易业务过程中,严格遵守海关监管规定,不存在违规行为。
加工贸易手册备案及核销管理办法三篇篇一:加工贸易手册备案及核销管理办法一、目的为规范本公司手册备案、核销之作业流程,提高工作效率,保证公司进出口业务的正常运行,依据海关相关规定及结合公司实际状况,特制定本管理办法。
二、适用范围本企业加工区外各工厂所发生的加工贸易,悉依本办法办理。
第一章新手册的备案或老手册的变更、增补一、工厂生管部门需要提供的资料1、对于新案子,工厂生管部门须比第一次出口提前2个月通知工厂关务部门办理新手册备案,并提供至少6个月的FCST。
2、对于老案子,工厂关务部门在每个月5日列出老手册成品备案量、已出口数量,还可以出口的余量,并发邮件通知工厂生管。
工厂生管须在每个月10日前,确认需要增补备案的数量给工厂关务,同时说明增补数量是哪个时间段的出货数量,是如何计算出来的。
需要增补的数量最早是2个月后才需要出货的数量,且至少涵盖后续第3个月至第8个月的出货数量。
例:20XX年7月5日关务发送手册余量给生管确认,如需增量,增量成品出货计划须是20XX年9月--20XX年2月内的。
老手册增补每个月只进行一次,工厂生管须在每个月10日集中通知工厂关务部门。
3、对于老案子因为产品版本升级而需要变更手册的,工厂生管须提前1个月通知工厂关务,并提供6个月的出货数量给关务去变更手册备案。
4、工厂生管在提供FCST的同时,须提供其他必要的文件,如BOM表、产品标准、码克清单、码裁图等,这些文件必须准确,且互相印证,工厂生管部门须对其准确性负责。
BOM表里只包含保税料件,非保税料件需要剔除。
特别注意:老手册停用时,其成品余量一律取消,生管在通知关务备案手册的数量时,需要通知总数给关务去备案新手册,不能扣除老手册的备案余量。
例如老手册7月底到期,5月初就要开始办理新手册,老手册6月初停用,同时启用新手册。
新手册的备案量应该包含自5月份开始的8个月的成品出货预估量。
二、工厂关务部门的职责:1、对生管部门提供的资料进行审核:1-1、新备案或新增补的成品清单是否包含了该案子所有的成品代号,其数量是否合理。
加工贸易手册核销需知
为进一步规范余杭辖区内企业办理加工贸易手册核销业务,现将有关加工贸易手册核销规定作以下说明:
一、企业在申领加工贸易手册并履行完成进出口合同后,企业应当在手册有效期限内向海关进行报核申请,若手册未到期但合同已履行完毕企业则应在最后一批货物出口后30天内向海关提出核销申请。
二、企业在向海关提出核销申请前应自行进行料件和成品的盘库,计算是否有剩余料件、边角料、残次品、副产品,若存在则需统计具体数量、金额,同时核对财务、仓库帐册和手册单证,并规范填制《加工贸易核销申请表》、《加工贸易核销核算表》、《加工贸易核销作业单》。
若核对手册数据后发现存在下列情况则需填写情况说明:1.进出口重量倒挂
2.进出口时间倒挂
3.进出口金额倒挂
4.手册平衡差额较大
5.进出口报关单不齐全
三、数据核对无误后企业方可向海关申请报核,报核时应向海关提供下列单证:
(一)申请核销加工贸易货物的书面材料,包括《加工贸易核销申请表》、《加工贸易核销核算表》、《加工贸易核销作业单》、《保税
业务代理委托书》
(二)加工贸易手册,包括分册、续册;
(三)加工贸易专用进出口报关单;
(四)手册存在剩余料件和边角料需要补税时,则需要向海关提供《补税申请报告》、《内销征税联系单》及其附表,涉及
国家贸易管制的货物,还需提供相关批准证件。
剩余料件
价值不超过1万人民币且占进口料件总价值的3%以内,
免于向主管外经委部门申领《内销批准证》,其余情况则需
申领,边角料补税不论金额多少都免于申领《内销批准证》。
(五)异常情况说明、及海关所需其他单证。
四、核销单证统一使用A4纸打印,填写内容不能涂改,单证应加盖单位公章,小数点后保留两位。
加工贸易核销结案手册随附单证结案手册号:核销单证1、核销结案审批表变更单证1、加工贸易备案合同变更(展期)呈批表2、代理报关委托书2、代理报关委托书3、企业合同核销申请表3、银行保证金台账登记通知单4、合同核销核算表4、银行保证金台账变更联系单5、企业提供的情况说明5、《加工贸易业务批准证》变更证明6、排料图及款式图6、变更合同7、下厂核销报告7、变更预录入呈报表(一)8、银行保证金台账核销联系单8、变更预录入呈报表(二)9、银行保证金台账核销通知单9、企业加工合同备案表10、进口报关单份10、变更次数共次11、出口报关单份深加工1、保税货物深加工结转审批表12、内销征税税单复印件2、报关委托书13、其它3、加工贸易深加工结转申请表备案单证1、加工贸易合同备案呈批表4、深加工结转合同2、代理报关委托书内销征税单证1、内销征税呈批表3、验厂报告2、代理报关委托书4、银行保证金台账登记通知单3、加工贸易进口料件内销批准证5、银行保证金台账开设联系单4、内销征税申请6、加工贸易单耗报备表5、内销征税货物清单7、加工贸易单耗情况报备表6、加工贸易货物内销征税联系单8、加工企业生产能力证明7、原进口发票和报关单复印件9、加工贸易业务批准证及备案清单8、来料加工外商准予内销的合同10、进口合同余料结转1、余料结转审批表11、出口合同2、代理报关委托书12、加工协议(委托加工)3、企业余料结转申请13、排料图及款式图4、余料结转清单14、合同预录入呈报表5、加工贸易剩余料件结转联系单15、进口料件预录入呈报表放弃货物1、加工贸易放弃货物审批表16、出口成品预录入呈报表2、代理报关委托书17、单耗预录入呈报表3、企业放弃申请18、企业加工合同备案表4、放弃货物清单19、其它5、加工贸易企业放弃加工贸易货物交接单备注:交单人:接单人:。
江苏省电子税务局加工贸易手册核销流程下载温馨提示:该文档是我店铺精心编制而成,希望大家下载以后,能够帮助大家解决实际的问题。
文档下载后可定制随意修改,请根据实际需要进行相应的调整和使用,谢谢!并且,本店铺为大家提供各种各样类型的实用资料,如教育随笔、日记赏析、句子摘抄、古诗大全、经典美文、话题作文、工作总结、词语解析、文案摘录、其他资料等等,如想了解不同资料格式和写法,敬请关注!Download tips: This document is carefully compiled by theeditor. I hope that after you download them,they can help yousolve practical problems. The document can be customized andmodified after downloading,please adjust and use it according toactual needs, thank you!In addition, our shop provides you with various types ofpractical materials,such as educational essays, diaryappreciation,sentence excerpts,ancient poems,classic articles,topic composition,work summary,word parsing,copy excerpts,other materials and so on,want to know different data formats andwriting methods,please pay attention!江苏省电子税务局加工贸易手册核销流程是一个线上办理的过程,旨在方便企业进行加工贸易手册的核销操作。
保税区内公司加工贸易合同的核销一、业务概括保税区内公司在加工贸易合同期满或加工产品出口后的一准时间内,应拥相关《加工贸易登记手册》、《出入口货物报关单》及其余相关资料,向保税区海关办理核销手续。
海关对保税货物的入口、储藏、加工、使用和出口状况进行核实,确立最后征免税后,该存案合同方可核销了案。
二、做事依照《中华人民共和国海关法》《保税区海关看管方法》三、做事机构四、做事准备1、应具备的资格:应由保税区内生产加工型公司的报核人员,持凭报核员证办理相关手续。
2、需交验以下资料:(1)与《登记手册》入口料件登记栏对应的《保税区进境货物存案清单》正本 , 登记栏和存案清单均须加盖海关验讫章,随附详尽发票、装箱单;(2)与《登记手册》出口成品登记栏对应的《保税区出境货物存案清单》正本,登记栏和存案清单均须加盖海关出口回执章,随附详尽发票、装箱单;(3)加盖公司印章的《核销申请登记表》。
假如有料件、成品结转状况的,应交验接转时经保税区海关批准的《保税区内深加工结转存案申请表》、发票、装箱单、结转合同。
五、做事机构义务海关对公司交验的相关单证进行审查,切合相关规定的,办理加工贸易手册核销了案手续。
六、做事程序第1 步:保税区内加工公司报核员向保税区海关提出报核到期合同《登记手册》的申请,填写《核销申请登记表》,交验以下资料:(1)与《登记手册》入口料件登记栏对应的《保税区进境货物存案清单》正本 , 登记栏和存案清单均须加盖海关验讫章,随附详尽发票、装箱单;(2)与《登记手册》出口成品登记栏对应的《保税区出境货物存案清单》正本,登记栏和存案清单均须加盖海关出口回执章,随附详尽发票、装箱单;(3)加盖公司印章的《核销申请登记表》。
别的,假如有料件、成品结转状况的,应交验接转时经保税区海关批准的《保税区内深加工结转存案申请表》、发票、装箱单、结转合同。
第2 步:海关审查上述资料正确无误后,接受报核申请。
同时视情下厂核销。
加工贸易核销手册管理一、引言加工贸易核销手册是指对于加工贸易企业与海关签订的合同进行管理和审批的文件,是企业参与加工贸易的前提文件之一。
加工贸易核销手册管理是指对加工贸易核销手册的制定、管理、变更和使用情况进行监督和管理的过程。
二、加工贸易核销手册的内容加工贸易核销手册通常包括以下内容:1.企业基本信息:包括企业名称、注册地址、联系方式等基本信息。
2.加工贸易项目:详细列出加工贸易项目的商品名称、数量、规格等信息。
3.合同信息:包括加工贸易合同号、签订日期、有效期限等信息。
4.海关手续:列出申请核销的海关手续和所需文件。
5.核销流程:说明核销流程和相关责任部门。
6.变更和更新:规定加工贸易核销手册的变更和更新方式。
三、加工贸易核销手册的管理加工贸易核销手册的管理主要包括以下几个方面:1. 制定手册企业在参与加工贸易前需制定加工贸易核销手册,确保手册内容准确、完整,并符合海关规定。
2. 提交审批制定完加工贸易核销手册后,企业需将手册提交至有关部门进行审批,并按规定流程操作。
3. 变更管理在加工贸易过程中,一旦发生与核销手册内容不符的情况,企业需要及时申请变更并更新手册,确保手册的有效性。
4. 使用监督企业在使用加工贸易核销手册时需严格按照手册规定操作,并建立相应的监督机制,确保加工贸易活动的合规性。
四、加工贸易核销手册的重要性加工贸易核销手册的合理管理对企业参与加工贸易活动至关重要,主要体现在以下几个方面:1.提高核销效率:合理管理加工贸易核销手册可以明确流程、规范操作,提高核销效率。
2.降低风险:通过严格管理和监督,可以减少操作失误、减小风险。
3.符合法规:加工贸易核销手册是企业进行加工贸易活动的必要文件,合理管理有助于企业遵守相关法规。
4.保障权益:加工贸易核销手册对双方权益均有保障作用,避免因不规范管理导致权益受损。
五、总结加工贸易核销手册管理是企业参与加工贸易活动的重要环节,合理管理加工贸易核销手册可以提高企业的核销效率、降低风险、符合法规要求,保障企业与海关等相关方的权益。
加⼯贸易⼿册备案,核销流程及注意事项加⼯贸易保税货物的报关流程与⼀般的报关流程没太⼤的区别,只是申报的进出⼝商品需要要事先在加⼯贸易⼿册中有备案,如果是纸质⼿册的话报关时须提供该⼿册,且进出⼝总数在备案数量范围内。
加⼯贸易货物⼀般指成品,⽽加⼯贸易保税货物⼀般指保税原材料。
作者: fjz9602 时间: 2009-05-02 21:23:28⼀、加⼯⽣产企业1、加⼯企业应在所在地主管海关注册备案并按时进⾏年审。
年审时间为每年三⽉份前。
2、加⼯企业在每次办理加⼯贸易⼿册时,需提供经当地经贸部门年审,加盖企业公章的《加⼯贸易加⼯企业⽣产能⼒证明》复印件。
3、加⼯企业应设置符合海关要求的专门存放加⼯贸易进⼝货物的仓库,设置符合海关监管要求的账簿及其它有关单证。
(具体标准和规定参阅当地海关⽂件)4、加⼯企业未经海关批准,⽆权外发加⼯贸易保税货物。
⼆、申请办理进(来)料加⼯⼿册必须提供下列单据5、办理进料加⼯⼿册必须提供购货合同(正本)贰份,销售合同(正本)贰份,⽣产加⼯企业营业执照和税务登记证⼀份(副本),当地外经贸部门认可的⽣产能⼒证明表壹份(加盖企业公章的复印件)。
并填写海关监制的单耗备案申请表壹份,合同备案申请表壹份,成品备案申请表壹份,料件备案申请表壹份,合计玖份。
以及海关认为需提交的其他证明⽂件和材料,包括进⼝许可证(正本)、⼯艺流程、排版图壹份(正或副本)等。
6.办理来料加⼯⼿册必须提供销售合同(正本)贰份,我司与⽣产加⼯企业签订的委托加⼯协议书(正本)壹份,⽣产加⼯企业营业执照和税务登记证壹份(副本),当地外经贸部门认可的⽣产能⼒证明表壹份(加盖公章的复印件)。
并填写海关监制的单耗备案申请表壹份,合同备案表壹份,成品备案申请表壹份,料件备案申请表壹份,合计玖份。
以及海关认为需提交的其他证明⽂件和材料,包括进⼝许可证(正本)、⼯艺流程、排版图壹份(正或副本)等。
三、⼿册延期7、加⼯贸易货物备案后需要变更内容,经营企业应在⼿册有效期限内向备案海关申请变更。
协议编号:LX-FS-A68968 加工贸易合同核销标准范本After Negotiation On A Certain Issue, An Agreement Is Reached And A Clause With Economic Relationship Is Concluded, So As To Protect Their Respective Legitimate Rights And Interests.编写:_________________________审批:_________________________时间:________年_____月_____日A4打印/ 新修订/ 完整/ 内容可编辑加工贸易合同核销标准范本使用说明:本协议资料适用于经过谈判或共同协商的某个问题,在取得一致意见后并订立的具有经济或其它关系的契约条款,最终实现保障各自的合法权益的结果。
资料内容可按真实状况进行条款调整,套用时请仔细阅读。
加工贸易合同核销(一)申请条件:1、具有法人资格的加工贸易经营企业;2、加工贸易合同项下的进口料件已加工复出口;3、合同履约后的余料、边角料、成品、残次品、副产品已核算清楚,能向海关如实申报;4、合同履约后的余料、边角料、成品、残次品、副产品等已办理了内销征税、退运、放弃或余料结转等手续;5、在加工贸易手册项下最后一批成品出口或者加工贸易手册到期之日起30日内提出;6、加工贸易合同因故提前终止的,应当自合同终止之日起30日内提出。
(二)申请时应提交的文件:1、合同核销申请表;2、加工贸易登记手册,包括分册、续册;3、齐全、有效的进出口报关单(按《登记手册》的进出口记录顺序编列);进出口报关单票数和相关内容应当与登记手册进出口登记栏的进出口记录一致;4、核销核算表;5、合同履约后的余料、边角料、成品、残次品、副产品等已办理过内销征税、放弃、销毁等手续的,应提供税单复印件等资料和证明文件;6、备案后因故中止执行、未发生进出口而申请撤销的合同,应提供商务主管部门的批件;7、遗失进出口报关单的合同,提交报关单留存联、补发联,或加盖原报关地海关印章的报关单复印件;8、遗失《登记手册》的合同,应向海关提供遗失情况的书面说明。
加工贸易合同核销合同编号: [合同编号]核销人: [核销人姓名]核销日期: [核销日期]经核实,现核销以下加工贸易合同:甲方(买方):名称: [甲方名称]地址: [甲方地址]法定代表人: [甲方法定代表人]联系电话: [甲方联系电话]乙方(卖方):名称: [乙方名称]地址: [乙方地址]法定代表人: [乙方法定代表人]联系电话: [乙方联系电话]合同概述:根据甲乙双方的商务谈判和协商,就以下加工贸易合同达成一致意见:1. 加工产品及标准:甲方委托乙方对甲方提供的原材料进行加工,并按照甲方要求生产成品。
2. 价格及支付方式:甲方将根据加工产品的数量和质量,以及乙方提供的加工工艺和技术要求,与乙方商定加工费用。
3. 交货时间及方式:甲方将提供原材料并协商具体交货时间。
交货方式可以是货运或者其他双方协商一致的方式。
4. 质量要求:乙方应当按照甲方的要求进行加工,并保证产品的质量符合法律法规和国家标准要求。
5. 合同违约责任:如因一方违约给对方造成损失,违约方应负有相应的赔偿责任。
若乙方不能按合同约定的时间完成加工任务,甲方有权终止合同,并要求乙方退还已支付的加工费用。
6. 保密条款:甲、乙双方应对涉及到的商业信息和技术保密内容进行保密,并不得向第三方透露或披露。
根据甲乙双方的实际执行情况,本次核销涉及的金额为[核销金额]。
甲方应支付给乙方的已核销费用为[已核销费用],乙方同意放弃后续的支付权益。
甲乙双方确认,本次核销完成后,合同将正式终止,双方的权益和义务也随之解除。
甲方(买方)确认:签字: _________________ 日期: _________________ 乙方(卖方)确认:签字: _________________ 日期: _________________。
合同编号:YT-FS-2473-24加工贸易合同核销(完整版)Clarify Each Clause Under The Cooperation Framework, And Formulate It According To The Agreement Reached By The Parties Through Consensus, Which Is Legally Binding On The Parties.互惠互利共同繁荣Mutual Benefit And Common Prosperity加工贸易合同核销(完整版)备注:该合同书文本主要阐明合作框架下每个条款,并根据当事人一致协商达成协议,同时也明确各方的权利和义务,对当事人具有法律约束力而制定。
文档可根据实际情况进行修改和使用。
加工贸易合同核销(一)申请条件:1、具有法人资格的加工贸易经营企业;2、加工贸易合同项下的进口料件已加工复出口;3、合同履约后的余料、边角料、成品、残次品、副产品已核算清楚,能向海关如实申报;4、合同履约后的余料、边角料、成品、残次品、副产品等已办理了内销征税、退运、放弃或余料结转等手续;5、在加工贸易手册项下最后一批成品出口或者加工贸易手册到期之日起30日内提出;6、加工贸易合同因故提前终止的,应当自合同终止之日起30日内提出。
(二)申请时应提交的文件:1、合同核销申请表;2、加工贸易登记手册,包括分册、续册;3、齐全、有效的进出口报关单(按《登记手册》的进出口记录顺序编列);进出口报关单票数和相关内容应当与登记手册进出口登记栏的进出口记录一致;4、核销核算表;5、合同履约后的余料、边角料、成品、残次品、副产品等已办理过内销征税、放弃、销毁等手续的,应提供税单复印件等资料和证明文件;6、备案后因故中止执行、未发生进出口而申请撤销的合同,应提供商务主管部门的批件;7、遗失进出口报关单的合同,提交报关单留存联、补发联,或加盖原报关地海关印章的报关单复印件;8、遗失《登记手册》的合同,应向海关提供遗失情况的书面说明。
加工贸易的合同核销(一)申请条件:1、具有法人资格的加工贸易经营企业;2、加工贸易合同项下的进口料件已加工复出口;3、合同履约后的余料、边角料、成品、残次品、副产品已核算清楚,能向海关如实申报;4、合同履约后的余料、边角料、成品、残次品、副产品等已办理了内销征税、退运、放弃或余料结转等手续;5、在加工贸易手册项下最后一批成品出口或者加工贸易手册到期之日起30日内提出;6、加工贸易合同因故提前终止的,应当自合同终止之日起30日内提出。
(二)申请时应提交的文件:1、合同核销申请表;2、加工贸易登记手册,包括分册、续册;3、齐全、有效的进出口报关单(按《登记手册》的进出口记录顺序编列);进出口报关单票数和相关内容应当与登记手册进出口登记栏的进出口记录一致;4、核销核算表;5、合同履约后的余料、边角料、成品、残次品、副产品等已办理过内销征税、放弃、销毁等手续的,应提供税单复印件等资料和证明文件;6、备案后因故中止执行、未发生进出口而申请撤销的合同,应提供商务主管部门的批件;7、遗失进出口报关单的合同,提交报关单留存联、补发联,或加盖原报关地海关印章的报关单复印件;8、遗失《登记手册》的合同,应向海关提供遗失情况的书面说明。
必要时提供手册遗失证明;9、其他海关需要的资料,如排料图、线路图、配方表等。
(三)办理程序:1、报核受理企业向海关递交核销所需要的各项文件。
海关审核后受理。
2、海关核销海关对企业报核的合同审核,并出具台帐核销联系单;企业凭海关开出的台账核销联系单到中国银行核销台账。
3、核销结案海关凭银行开出的台账核销通知书核发加工贸易合同结案通知书。
(四)办理时限:自受理报核之日起二十个工作日内。
加工贸易合同核销5篇第一篇:加工贸易合同核销核销加工贸易合同时应向海关递交的材料(一)、加工贸易合同核销应向海关递交的有关文件:1、加工贸易登记手册(《登记手册》中的“进口料件登记栏”和“出口成品登记栏”的进出口记录,须有进出境地海关的签章确认)2、专用进出口货物报关单。
3、企业填写的“企业合同核销申请表”和“核销申请表”。
4、海关认为必要的其它单证和证件。
(二)、加工贸易合同核销的注意事项:1、各项单证内容必须真实、准确、齐全、有效;2、进口料件加工成品出口后,一个月内办理核销手续;3、保税仓库每月5日前将上月转存货物的收、付、存情况列表报主管海关;4、保税工厂应于每季度第一个月的十五日前将上季度的进、产、销、存情况季报表报送主管海关;5、登记手册丢失应及时到海关备案;6、除保税工厂、保税仓库、保税集团直接加工复出口以外,其他企业进口保税料件如需内销,应事先提出申请,经海关批准交纳税款后方准予内销,若属于国家限制进口商品还需交验进口许可证和批件。
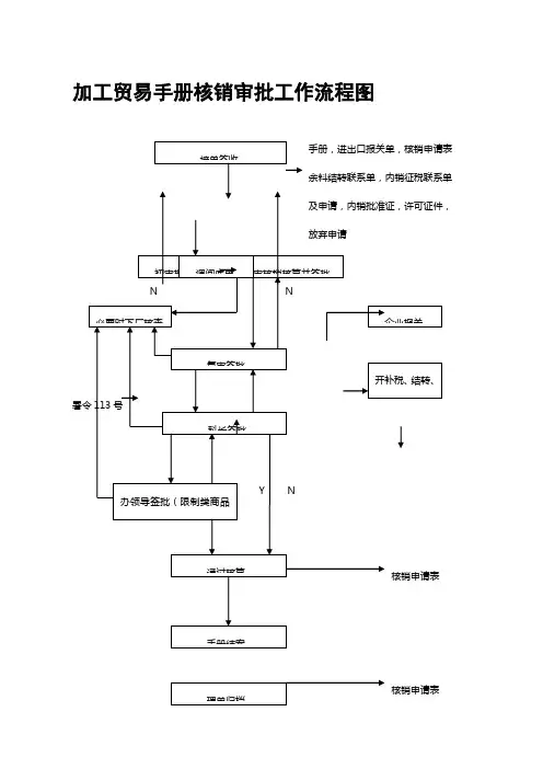
第二篇:加工贸易核销程序:企业核算---企业报核---海关受理---海关核销。
(一)企业核算。
财务、仓库、生产车间对加工贸易货物情况进行单损耗核算,清点成品、余料、边角料、残次品、副产品,整理单证。
(二)企业报核。
报核行为是加工贸易企业应承担的一项法律义务。
申报内容也是海关执法依据,企业需对所申报内容承担法律责任。
申报内容为:如实申报进出口情况,单损耗、余料、残次品、边角料等情况。
(三)受理报核及海关核销。
受理报核是对审核单是否齐全,纸质单证与海关电子数据是否一致,申报内容是否详实。
海关核销可采用单证核销和下厂核查核销两种方式。
单证核销。
海关通过单证的审核,单耗和进出口平衡核算,直接核销。
下厂核销。
海关对加工企业进行查账,查实物、查库存等手段进行的核销方式。
海关监管的是物,目的是防止物的流失。
因此监管的重点是两个方面:一是确定料件已生产成成品出口;二是出口成品对料件的耗用。
加工贸易合同核销文档Processing trade contract verification document
甲方:
乙方:
签订日期:年月日
加工贸易合同核销文档
小泰温馨提示:贸易合同又称契约或合约,是进口出口双方当事人依照法律通过协商就各自的在贸易上的权利和义务所达成的具有法律约束力的协议。
本文档根据贸易合同内容要求和特点展开说明,具有实践指导意义,便于学习和使用,本文下载后内容可随意修改调整及打印。
加工贸易合同核销
1、具有法人资格的加工贸易经营企业;
2、加工贸易合同项下的进口料件已加工复出口;
3、合同履约后的余料、边角料、成品、残次品、副产品已核算清楚,能向海关如实申报;
4、合同履约后的余料、边角料、成品、残次品、副产品等已办理了内销征税、退运、放弃或余料结转等手续;
5、在加工贸易手册项下最后一批成品出口或者加工贸易手册到期之日起30日内提出;
6、加工贸易合同因故提前终止的,应当自合同终止之日起30日内提出。
(二)申请时应提交的文件:
1、合同核销申请表;
2、加工贸易登记手册,包括分册、续册;
3、齐全、有效的进出口报关单(按《登记手册》的进出口记录顺序编列);
进出口报关单票数和相关内容应当与登记手册进出口登记栏的进出口记录一致;
5、合同履约后的余料、边角料、成品、残次品、副产品等已办理过内销征税、放弃、销毁等手续的,应提供税单复印件等资料和证明文件;
6、备案后因故中止执行、未发生进出口而申请撤销的合同,应提供商务主管部门的批件;
7、遗失进出口报关单的合同,提交报关单留存联、补发联,或加盖原报关地海关印章的报关单复印件;
8、遗失《登记手册》的合同,应向海关提供遗失情况的书面说明。
必要时提供手册遗失证明;
9、其他海关需要的资料,如排料图、线路图、配方表等。
企业向海关递交核销所需要的各项文件。
海关审核后受理。
海关对企业报核的合同审核,并出具台帐核销联系单;企业凭海关开出的台账核销联系单到中国银行核销台账。
海关凭银行开出的台账核销通知书核发加工贸易合同结案通知书。
-------- Designed By JinTai College ---------。