工程造价工作流程图
- 格式:doc
- 大小:54.50 KB
- 文档页数:8
工程造价管理流程图
→ → →
根据公司规定邀请招标造价咨询单位(小于规定公开招标的项目)
确定中标单位,委托做施工图预算编制
根据造价咨询单位所做造价进行审核,公司上会确定招标控制价。
按规定发布清单及招标控制价。
确定中标单位,审核中标单位投标报价有无不平衡报价,并根据约定总价不变情况下局部调整不平衡报价,签订合同。
按公司安排工作进行下列工作
合同登记,建立台账。
合同变更 合同结算 合同支付
合同变更:即施工现场签证审核,由施工方提交于公司工程部经工程部审核工程量,同时进行审核其价格,由一名审核人员及一名复核人员签字审查并做好电子台账,审核完毕交由审计部门审核,最终由第三方审计最终审定。
合同支付计划:根据合同约定计量,有
重大变更费用的先经公司审核确定完毕,由预留金中按约定支付此部分一定费用,其它按正常支付办理手续,建立电子台账。
合同结算:对所报结算进行全面审核,并出审核报告,在交审计部门审
核,最终以第三方审计审核为准。
竣
工 结 算
支付合同约定款项,按合同约定质保期满支付质保金。
1、概述:为合理确定工程造价,有效提高工程预结算编制和审核质量,维护预结算正常秩序,促进合同和成本管理的规化,特制定本流程。
施工图预算根据施工图设计文件、施工组织设计、招投标资料、施工合同、预算定额及有关文件编制。
施工图预算是确定工程预算造价、支付工程进度款和控制工程建安成本控制的依据。
工程结算是在工程完工后,根据合同、竣工图纸、变更签证等所有与工程造价相关的资料编制的最终工程造价文件。
、适用围和依据文件适用围2.1.1 公司所有工程的预结算编制、审核工作2.1.2 工程实施过程中发生的变更、签证、索赔等费用审核工作2.1.3 工程实施过程中的造价控制依据文件2.2.1 技术开发部提供完整的、配套的、经审查合格的施工图,并附加电子版。
2.2.2 公司初步暂定以下材料需由甲定、乙供的:如防水材料、保温材料、玻璃、五金、油漆、涂料、地毯、实木地板、复合地板、塑胶垫、天花板、河卵石、硬木、热镀锌钢材、铸铁制品、外墙涂料、钢构件热镀锌、氟碳漆、成品烟道、铸铁大门、铸铁栏杆、铁艺、成品景观等。
具体由合约管理部根据工程项目确定。
2.2.3 工程结算依据文件为:单项工程竣工验收合格;竣工图绘制完毕并经监理单位、工程管理部审核通过、职责合约管理部经理负责工程预结算、工程预结算审计等全面工作。
合约管理部预结算小组全面负责管理工程预结算,负责编制或审定工程预结算,负责工程量的计算、统计,审核供方工程量,负责工程款的支付审核及台帐记录。
负责工程结算的委托和审核。
合约管理部审计主管负责工程预结算成果的审查工作。
合约管理部合约主管负责根据经审查合格的施工图,明确总包施工围及甲方直接分包的工程项目,甲供,甲定、乙供材料及设备的分工和材料单价参考价、单价或综合价、工程预算工作程序工程(合同)预算4.1.1 根据技术开发部提供完整的、配套的、经审查合格的施工图,并附加电子版。
要求施工图设计作法明确、尺寸标高标注准确、具有装修表、块料面层应有尺寸及颜色、无明显错误。
工程造价程序一、熟悉图纸1拿到图之后首先把图纸粗略的浏览一遍,看看建筑面积和层数以及结构类型等等,对该工程有一个大致的了解。
2检查轴线尺寸,核对开间和净深的尺寸,检查结构图与建筑图的轴线尺寸是否符合,如不符合提出答疑。
3看看基础标高、室外地坪标高、层高。
4了解该工程的基础类型和材料,包括装修材料和主体的材料,对不常见的材料和本地区没有的材料提出答疑。
5仔细阅读图纸,把疑点和不懂得地方勾画出来,待算到它时再解决。
二、算量(一)框架结构(先钢筋、后图形)1、先进入钢筋抽样软件,填入工程名称、计算规则(重要)、结构类型(重要)、设防烈度(重要)、檐高(重要)等信息。
2、楼层设置:照图输入楼层层数和层高。
3、绘图输入:建立轴网。
抽钢筋前先看图纸确定钢筋的保护层厚度、板中分布筋、梁中的拉筋、吊筋如何配筋。
按照施工程序依次从基础层到顶层画基础、基础梁、框架柱、框架梁、现浇板,并定义钢筋,按图纸要求设置现浇板上的温度筋(容易忽视)。
4主体框架设置完成后再从一层到顶层画填充墙,输入砌体加筋,建立门窗洞口和过梁,按图纸要求设置构造柱、抱框柱、圈梁、现浇带等等。
5设置女儿墙、构造柱、压顶。
4单构件输入:检查没有进入绘图输入的构件,在单构件里输入,比如楼梯、休息平台、挑檐、阳台雨棚、飘窗等小型构件。
5汇总计算后查看单方含钢量是否符合常规,如不符合分析原因,有时间的话可以找人帮忙全部核对一遍构件的尺寸和钢筋,确认无误后再导入图形算量。
6、打开图形算量软件,填写必须填写的资料如所选的定额、清单、定义室外高差。
7导入图形算量后在基础层定义土方(土方开挖、回填、外运),有地下室的定义大开挖土方,在一层定义平整场地。
8定义基础、基础梁、框架柱、剪力墙等构件,按图纸要求套用相应清单和定额,包括模板、混凝土、防腐。
做法相同的构件利用做法刷将做法刷到其他构件。
9、上到一层依次定义从钢筋抽样软件导入的构件(主体),将相同做法的构件利用做法刷刷到其他楼层。
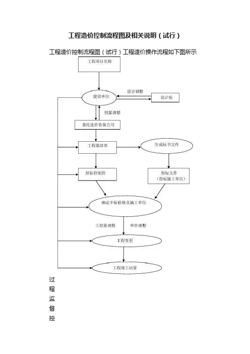
工程造价控制流程图
图 11
工程量计算清单
工程量计算方法
依照施工合同
依照原批计划
依照施工图纸监理工程师建议
建设单位建议
工程质量合格证明
填报花费索赔审批表
施工图估算或招标报价审批
报送工程款支付申请表
能否同意
是
报送工程款支付证书
总监能否同意
是
工程款支付
监理工程师建议
工程施工质量合格
办理
否
办理
否
工程完工查收
填报完工结算报表
能否同意
建设单位建议总监能否同意
否
是
磋商建议
是
签发花费索赔审批表签发完工结算文件
完工查收文件
签发最后工程款支付证书。
工程造价咨询工作流程图XXX的工程造价咨询工作管理流程是为了反映公司各级人员在咨询工作中的基本岗位责任,明确了管理人员在为项目服务过程中,应该督查和指导的重点环节,规定了为保证工程造价咨询质量必须履行的基本控制程序。
本流程主要以结算审核业务为例,对其他类型造价咨询业务的实施流程,可参考进行。
签订业务委托约定书的流程如下:1.审核业务委托约定书,结合项目具体情况选用合同类型(格式范本合同、公司格式合同等)和完善合同内容。
2.业务委托约定书由公司经理或授权人与委托方沟通协商,由公司审查会签后签章,交委托方盖章后由办公室存档。
3.业务委托约定书一般一式四份,受托方和委托方各执两份。
4.议定并任命项目负责人。
接收资料的流程如下:1.请委托方召开一次审前会议,了解招投标及合同签订情况、开竣工情况、工程发包方式、主要参建单位、过程中产生的争议情况、结算的申报审批情况、各方关注的重点问题等。
2.相互认识并建立联系,提请受托方指定一位熟悉项目的人员担任项目联络人,配合审核工作,协调参建各方,传递资料,介绍情况、交换意见。
3.结合审核项目具体情况编制填写《工程造价咨询所需资料清单》,提前送达委托方。
4.交接清单采用《工程资料移交清单》一式贰份,双方各执一份,作为归还资料的依据。
资料的交接需重点注意以下方面:一般不能直接接受承包单位任何资料,只通过委托方接收资料,其他渠道来源资料不作为审核依据。
需在移交清单中注明各承包单位的送审金额。
检查资料的完整情况,尽可能一次性将所需资料收集齐全。
交接时登记好接受资料的名称、份数或页数、接收时间,双方签字认可。
制定造价咨询实施方案的流程如下:实施方案一般由项目负责人编制,内容主要包括:工程概况:包括项目名称、委托方、主要参建单位、招投标情况(关注投标价及中标价)、合同价、送审结算价、发包方式、结算方式等;拟成立项目组人员计划;拟安排的人员分工;审核各个阶段的时间计划;审核方法及目的;审核时重点关注的问题。
工程造价控制流程图及相关说明(试行)工程造价控制流程图(试行)工程造价操作流程如下图所示过程监督控制相关内容详细说明一、关于工程量清单监督控制在咨询公司编制工程量清单过程中可能会出现工程量存在偏差,由建设单位进行二次把关,减少工程量偏差。
同时能够有效的控制工程控制价直接费用。
二、关于设计图纸调整在咨询公司在统计工程量过程中,会存在设计院所提供的设计图纸考虑不够全面会存在漏项等问题;如设计图纸说明存在不够详细;在局部细部设计图纸上考虑不够详细及设计图纸没有具体说明局部细部图参照那册图集及页数;这些问题都会在计算工程量时发现,同时也能够影响到工程量计算及控制价。
这样把设计可能存在这些问题需要由建设单位或咨询公司跟设计院进行沟通。
把设计图纸进行一次完善设计,能够很好的控制因设计图纸问题而发生的设计变更。
设计变更的存在会增加建设单位的建设期成本,如果建设单位在招标前能够发现这些设计问题,就会减少建设单位在建设期的成本。
三、关于招标控制价监督控制在做工程招标控制价时会存在预算整体价格偏高或偏低现象,综合单价也会存在偏高或者偏低现象,需要建设单位在这方面与咨询公司进行沟通,把招标控制价控制在比较合理范围内。
四、确定中标价及施工单位监督控制在工程评标过程中,施工单位在投标时会预计某项工程量可能增减的项目,投标价格会存在不均衡报价,建设单位要减少施工单位存在不均衡报价。
通过评标选择施工经验丰富、信誉度高、施工质量好、施工进度快的施工单位。
五、工程变更监督控制在施工过程中,无法避免工程变更及洽商,需要咨询公司进行对工程变更及洽商进行审核,同时建设单位要对发生的变更、洽商等合理性需要确认,如果发生的不合理建设单位不予签字确认,咨询公司就此事件发生费用不予进行审核,对工程变更及洽商存在量价调整过程中需要建设单位签字确认,确认后方可支付工程费用。
六、工程结算监督控制工程结算是整个工程建设期发生的最终费用,包括工程合同金额、变更费用、洽商费用、及施工单位向建设方索赔的其他费用。
河南平原建筑工程造价咨询有限公司工程造价咨询工作管理流程本流程主要以结算审核业务为例,对其他类型造价咨询业务的实施流程,可参考进行。
工程造价咨询工作管理流程反映了公司各级人员在咨询工作中的基本岗位责任,明确了管理人员在为项目服务过程中,应该督查和指导的重点环节,规定了为保证工程造价咨询质量必须履行的基本控制程序,原则上,上一流程未履行,不允许进入下一流程。
一、签订业务委托约定书1.审核业务委托约定书,结合项目具体情况选用合同类型(格式范本合同、公司格式合同等)和完善合同内容。
2.业务委托约定书由公司经理或授权人与委托方沟通协商,由公司审查会签后签章,交委托方盖章后由办公室存档。
3.业务委托约定书一般一式四份,受托方和委托方各执两份。
4.议定并任命项目负责人。
二、审前会议并接收资料正式委托后,请委托方召开一次审前会议,也可与资料的交接工作一并进行。
1.了解招投标及合同签订情况、开竣工情况、工程发包方式、主要参建单位、过程中产生的争议情况、结算的申报审批情况、各方关注的重点问题等。
2.相互认识并建立联系,为后续审核工作提供方便;提请受托方指定一位熟悉项目的人员担任项目联络人,配合审核工作,协调参建各方,传递资料,介绍情况、交换意见。
3.结合审核项目具体情况编制填写《工程造价咨询所需资料清单》,提前送达委托方。
4.交接清单采用《工程资料移交清单》一式贰份,双方各执一份,作为归还资料的依据。
资料的交接需重点注意以下方面:1)一般不能直接接受承包单位任何资料,只通过委托方接收资料,其他渠道来源资料不作为审核依据。
2)需在移交清单中注明各承包单位的送审金额。
3)检查资料的完整情况,尽可能一次性将所需资料收集齐全。
4)交接时登记好接受资料的名称、份数或页数、接收时间,双方签字认可。
三、制定造价咨询实施方案实施方案一般由项目负责人编制,内容主要包括:1)工程概况:包括项目名称、委托方、主要参建单位、招投标情况(关注投标价及中标价)、合同价、送审结算价、发包方式、结算方式等;2)拟成立项目组人员计划;3)拟安排的人员分工;4)审核各个阶段的时间计划;5)审核方法及目的;6)审核时重点关注的问题。
中方建筑工程咨询人员岗位职责一、部门负责人(含副职)1.负责本部门人员聘任、培训、分工、考核、收入分配,对本部门的质量负责。
2.负责对本部门项目的承接与实施、对部门间人员调配与工作协调负责。
3.负责本部门计划制定、组织实施、阶段检查,确保按时高质完成任务。
4.受公司领导委托负责分管围的相关事务。
二、业务人员1.在部门负责人的统一指挥下,按计划完成相关业务,确保按时高质完成相关任务。
2.按工作计划安排进行工作,并对结果承担应尽的责任。
3.负责部档案的归档与管理,确保档案安全与。
造价咨询部工作流程第一部分:清单编制一、任务下达1.部门负责人负责前期的业务沟通,并指定项目负责人。
2.部门负责人按本部门特点填写《工作任务单》,容包括:编制依据与标准、工作容、质量与进度要求、应注意的问题与需要改进的有关信息及人员分工等。
进度及人员安排可随工作的进展作必要的调整。
二、清单编制人员部工作流程1.根据招标图纸,对细部图工程量进行摘抄、统计。
2.依据招标文件的计量规则进行清单、清单说明的编制,并进行自检。
3.提交清单初稿,包括以下容:(1)清单说明、清单初稿(书面版本、电子版本)。
(2)计算书(电子版本)。
(3)招标图纸(书面版本)。
(4)与业主、等来往的文件(书面版本)。
4.填写校审单,容至少包括:(1)需要解决或不清楚的问题。
(2)对图纸中不清楚,自己做了假设部分的描述。
5.将清单初稿交复核人员复核,根据复核人员意见调整清单,并将调整结果交复核人员签字确认。
6.将清单交审核人员审核,根据审核人员意见调整清单,,并将调整结果交审核人员签字确认。
7.将清单交审定人员审定,根据审定人员意见调整清单,,并将调整结果交审定人员签字确认。
8.将最终清单交由项目负责人,并与业主进行沟通。
二、清单复核人员部工作流程1.根据清单编制人员提交的清单初稿进行清单复核,并将复核结果返还编制人员,并对调整清单进行签字确认。
三、清单审核人员部工作流程1.根据清单编制人员提交的清单复核稿进行清单审核,并将审核结果返还编制人员,并对调整清单进行签字确认。
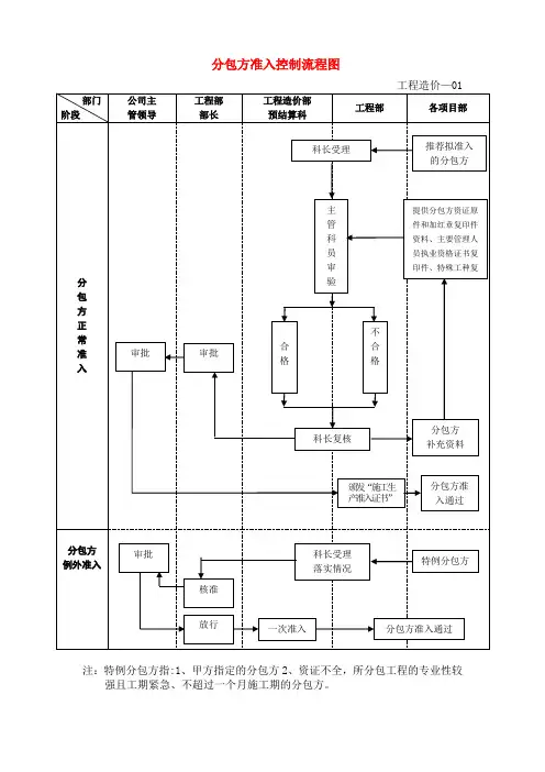
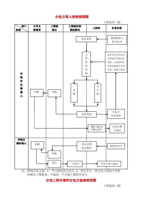
部门 阶段公司主 管领导分包方准入控制流程图工程部 部长工程造价部 预结算科工程造价—01工程部各项目部科长受理推荐拟准入 的分包方分包方正常准审批入审批主提供分包方资证原管件和加红章复印件科资料、主要管理人员员执业资格证书复审印件、特殊工种复验印件等不合合格格科长复核分包方 补充资料颁发“施工生 产准入证书”分包方准 入通过分包方 例外准入审批核准 放行科长受理 落实情况特例分包方一次准入分包方准入通过注:特例分包方指:1、甲方指定的分包方 2、资证不全,所分包工程的专业性较 强且工期紧急、不超过一个月施工期的分包方。
部门 阶段总经理分包工程申请和分包方选择流程图主管领导公司工程管 理部工程造价部 预结算科工程造价-02项目经理项目 合同预算部提分包出 申请审审批分批包申请工程分包申请阶段受理 审核项目经 理签字项目 合同 预算 部主 管领 导签 字审批结 果反馈准备招标文件或重新申请分包方 选择、确定阶段审核分包方 信息据工程性质 预选分包方配合经营管理部 准备招标文件选择参与投标 合格分包方办理分包方 安全准入证公开招标 或议标确 定分包方签合同合同交底及合 同执行部门 阶段公司主 管领导主管 领导 审核 主要 条款分包合同签订和补充协议办理流程图工程造价部部长预结算科部长 审核 条款起草 合同项目经理项目总经及项目经 理审核合同条款工程造价-03项目 合同预算部项目合同预算部配合预 结算科起草合同合同条款 修改确定分包方法人或其委托代理人 签字,盖合同专用章分包合同签订备案审批阶段预结 算科 审核盖章合同生效登记建档备案 上报相关部门项 目 经 理 签 字金安 全 生 产 风 险 抵 押组 织 分 包 方 交 纳备齐分包合同、法人授权委托书、 有效的施工生产准入证、安全合同、承诺书等备查补充审批协议办理阶段合同 原则 内审 批审核起草补充 协议按分包合同 程序办理提出签订补充协议申请 配合预结算科起草补充协议补充协议执行部门 阶段日常 管理 阶段月、季 考核 评价 阶段季度考核 结果公布阶段项目部建立项目分包 方管理台帐 对分包方日常教 育、检查、监督 每月考核分包方填写分包方考核评价表每季度考核分包方填写分包方考核评价表分包方考核、评价流程图工程造价部预结算科 建立公司分包方管理台帐预结算科 对分包方日常检查、监督对分包方进行季度考核评价 表部长审核汇总分包方考核评价表发布季度分包方考核结果工程造价—04 公司其它职能部门(工程、安全、质量、总工办)建立公司分包方管理台帐对分包方日常检查、监督对分包方进行季度考核评价 表部长审核注:考核评价按《施工分包控制程序》中相应的《分包方考核评价表》认真执行,分出等级:优良、合格、基本合格、不合格四个等级.公司按考核 结果推荐使用单位优先选择优良的分包方。