02—15年浙江行测图形推理真题和答案
- 格式:doc
- 大小:6.68 MB
- 文档页数:35
浙江省考行测历年真题及答案第一部分常识判断1.2024年1月19日,()可重复使用火箭垂直返回技术在我国酒泉卫星发射中心完成首次飞行试验。
A.力箭一号B.风云三号C.天鹊二号D.朱雀三号【答案】:D2.2024年1月3日7时37分,我国在西昌卫星发射中心使用长征二号丙运载火箭成功发射()卫星。
A.如意星座02组B.吉祥星座02组C.幸运星座02组D.吉利星座02组【答案】:D3.近日,国家标准委、国家发展改革委、财政部等18部委联合印发()。
《工作方案》对照国家界定的基本公共服务事项清单,进一步对幼有所育、学有所教、劳有所得、病有所医、老有所养等9大领域标准化工作作出全面部署。
A.《健全基本公共服务体系建设工程工作方案》B.《基本公共服务标准体系建设工程工作方案》C.《基本公共服务标准体系建设全面工作方案》D.《基本公共服务质量体系建设工程工作方案》【答案】:B4.国家能源局消息,()我国将初步建成煤矿智能化标准体系。
A.2025年B.2028年C.2027年1/ 15【答案】:A5.2023年全国著作权登记总量达892万余件,同比增长()。
A.50.46%B.20.46%C.30.46%D.40.46%【答案】:D6.如果要查阅墨子的光学八条等方面的论述,应该查阅()。
A.经部B.集部C.史部D.子部【答案】:D7.下列四种颜色中哪种颜色的光波最长()A.红B.蓝C.黄D.绿【答案】:A8.个人可支配收入是指个人在一定时期(通常为一年)。
内实际得到的可用于个人开支或储蓄的那一部分收入,其英文简称是()。
A.GNPB.NIC.PID.DPI【答案】:D9.烟草中的()有很大的毒性,能使人上瘾或产生依赖性,重复使用还会让人心跳加速、血压升高、食欲降低等。
A.香豆素2/ 15C.苯酚D.尼古丁【答案】:D10.李白的诗歌具有豪放飘逸的风格,雄起壮美的意象,大胆恣意的夸张和清醒明快的语言,下列诗句为李白所写的是()。
2015年浙江省公务员录用考试《行政职业能力测验(A类)》试卷注意事项这项测验共有五个部分,125道题,总时限为120分钟。
各部分不分别计时,但都给出了参考时限,供你参考以分配时间。
请在机读答题卡上严格按照要求填写好自己的姓名、报考部门,涂写准考证号。
请仔细阅读下面的注意事项,这对你获得成功非常重要:1.题目应在答题卡上作答,不要在试题本上作任何记号。
2.监考人员宣布考试开始时,你才可以开始答题。
3.监考人员宣布考试结束时,你应立即放下铅笔,将试题卡、答题卡和草稿纸都留在桌上,然后离开。
4.在这项测验中,可能有一些试题较难,因此你不要在一道题上思考时间太久,遇到不会答的题目,可先跳过去,如果有时间再去思考。
否则,你可能没有时间完成后面的题目。
5.试题答错不倒扣分。
6.特别提醒你注意,涂写答案时一定要认准题号。
严禁折叠答题卡!7.考生可以在试题本的空白位置及草稿上进行演算。
这项测验要求你必须严格按照监考人员的指示去做,否则,会影响你的成绩!停!请不要往下翻!听候监考老师的指示。
否则,会影响你的成绩。
第一部分常识判断(共20题,参考时限15分钟)根据题目要求,在四个选项中选出一个最恰当的答案。
1.下列情形符合法律规定的是:A.甲乙二人自由恋爱,因两人均年满20周岁,经双方父母同意,两人可以结婚B.丙12岁,玩火酿成火灾造成重点财产损失,但丙不承担失火罪的刑事责任C.丁6岁,春节收到红包若干,其母认为丁尚年幼,红包里的钱应归监护人所有D.19岁的大学生戊,认为父母有义务支付他的教育费及生活费至其独立工作为止2.目前我国正大力推进文化制度改革,特别是对国内的动漫产业和影视剧通过内部管理的方式促进其发展,下列不属于行政手段的是:A.规定各级电视台每日播出境外各类影视节目时间B.设立专项经费用于鼓励本土作家创作优秀剧本C.国家出台“限娱令”规范娱乐节目播出类型D.每年引进的境外动漫作品同类题材数量设置上限3.2014年是“和平共处五项原则”发表60周年,下列与其发表时间相同的历史事件是:A.东西两德统一B.古巴导弹危机C.联合国军完全撤出朝鲜D.越南抗美战争彻底结束4.古人记月除常用的序数法外,还以物候的特点来命名,或以孟、仲、季来命名各季节的三个月。
2015年国家公务员考试地市级行测真题:图形推理(含答案)试卷说明:题量:130答题时间:120分总分:100图形推理根据题目要求,在四个选项中选出一个最恰当的答案。
请开始答题:71.把下面的六个图形分为两类,使每一类图形都有各自的共同特征或规律,分类正确的一项是:A.①②④,③⑤⑥B.①③④,②⑤⑥C.①④⑥,②③⑤D.①⑤⑥,②③④72.下面的六个图形分类两类,使每一类图形都有各自的共同特征或规律,分类正确的一项是:A.①②③,④⑤⑥B.①③⑤,②④⑥C.①②⑥,③④⑤D.①④⑥,②③⑤73.把下面的六个图形分类两类,使每一类图形都有各自的共同特征或规律,分类正确的一项是:A.①②③,④⑤⑥B.①③⑤,②④⑥C.①②⑥,③④⑤D.①④⑥,②③⑤74.把下面的六个图形分为两类,使每一类图形都有各自的共同特征或规律,分类正确的一项是:A.①③④,②⑤⑥B.①②⑥,③④⑤C.①③⑤,②④⑥D.①⑤⑥,②③④75.把下面的六个图形分为两类,使每一类图形都有各自的共同特征或规律,分类正确的一项是:A.①②⑥,③④⑤B.①④⑤,②③⑥C.①②⑤,③④⑥D.①②③,④⑤⑥76.一正方体如下图所示切掉了上半部分的。
现在从任意面剖开,下面哪一项不可能是该多面体的截面?A.B.如图所示C.如图所示D.如图所示77.左边给定的是纸盒的外表面,下列哪一项能由它折叠而成?A.如图所示B.如图所示C.如图所示D.如图所示78.从所给四个选项中,选择最合适的一个填入问号处,使之呈现一定规律性:A.如图所示B.如图所示C.①如图所示D.如图所示79.从所给四个选项中,选择最合适的一个填入问号处,使之呈现一定规律性:A.如图所示B.如图所示C.如图所示D.如图所示80.从所给四个选项中,选择最合适的一个填入问号处,使之呈现一定规律性:A.如图所示。
2015年浙江省考之判断推理华图教育观察近十年的国考真题,可以发现每年此部分的题量变化不大,基本是35题或40,共四类题型,即图形推理、逻辑判断、类比推理和定义判断,下面就分别以此四类题型为线索分析考生的备考方向。
(一)图形推理图形题是一个考察考生观察、分析与推理能力的题型,考生在拿到图形题以后不要盲目的套用规律,而要注意细心观察该图形的特点,判断其可能要考察的方向,例如图形外在雷同,可以考虑其是否存在位置的变化:平移、旋转和翻转变化;若结构组成都比较凌乱,可以考虑是否存在数量的变化:常考点如线段、笔画、封闭空间、元素以及点的数量变化等等,因此对于图形题,考生要学会梳理然后进行判断和分析,培养建立起自己快速有效的解题思路,即:读题断题型→分析察变化→应用找技巧。
(二)逻辑判断逻辑判断对于很多没有任何逻辑基础的考生来说,几乎如同噩梦,因为其存在较强的专业性,但其实学员经过一个简单系统的学习就能够掌握大部分的逻辑技巧,往往技巧性越强的题目,其实才是学员可以更快提高成绩的部分,所以,要想在本部分取得高分,学员应该首先学习并掌握基本的逻辑解题技巧,其次辅以大量的练习强化技巧,最终形成自己的做题习惯和解题风格。
(三)类比推理类比推理是国考当中技巧性相对较弱的题型,而且其考察方向经常会与常识部分相结合,考生若想一举拿下确实不是件容易的事情,但观察历年的考试情况,可以发现以下两类是类比推理的主考方向:一是词性分析,包括语法结构等;二是二元关系,即词与词之间的逻辑关系或本质属性。
考生只要对这两个角度进行系统强化复习,相信定能取得较为满意的效果。
(四)定义判断定义判断主要考察考生对关键信息的获取能力,虽然其涉及到的定义可能包括法学、社会学、管理学、经济学、心理学等各类学科知识,但考生只要能够紧扣题干关键信息即能选出正确答案,而且,在国考当中,仅只考察单定义判断,相对于前面三类题型,其难度并不是很大,考生要做的就是提高自己的做题速度,节约时间,以最快速度提炼关键信息对应选项,选出答案。
浙江公务员行测图形推理习题(一)1.左边给定的是立体图形外表面的展开图,右边哪一项能由它折叠而成2.左边给定的是立体图形外表面的展开图,右边哪一项能由它折叠而成3.左边给定的是立体图形外表面的展开图,右边哪一项能由它折叠而成4.左边给定的是立体图形外表面的展开图,右边哪一项能由它折叠而成5.左边给定的是立体图形外表面的展开图,右边哪一项能由它折叠而成浙江公务员行测图形推理习题答案1.【解析】B。
A、C项右侧面均应为空心圆,D项左侧面应为空白,B项正确。
2.【解析】A。
注意平行四边形阴影所在的方向。
B项右侧面小三角应为阴影。
C、D项错误相同,右侧面应仅有一条与两面公共边平行的线段。
3.【解析】B。
A、D项错误,两条斜线所在的斜线方向应有一条指向其公共边。
C项下侧面斜线方向错误,B项正确。
4.【解析】D。
根据已知图形可以判断,实心圆与实心三角,空心圆与空心三角分别是相对面,不可能相邻,A、C项排除。
实心三角有一边应与其所在面和空心三角所在面的公共边平行,B项平行边错误,排除。
5.【解析】C。
两个空白面不可能有公共边,A、B项排除;带横线的面中的横线与相邻的阴影面的边要平行,排除D项。
浙江公务员行测图形推理习题(二)1.从所给的四个选项中,选择最合适的一个填入问号处,使之呈现一定的规律性:2.从所给的四个选项中,选择最合适的一个填入问号处,使之呈现一定的规律性:3..下图中的立体图形①是由立体图形②、③和④组合而成,下列哪一项能够填入问号处4.从所给的四个选项中,选择最合适的一个填入问号处,使之呈现一定的规律性:5.下图中的立体图形①是由立体图形②、③和④组合而成,下列哪一项能够填入问号处浙江公务员行测图形推理习题答案1.【答案】A。
解析:各个图形的部分数依次为3、1、4、5、(9),构成和数列,选项中只有A项部分数为9。
2.【答案】C。
解析:观察两组图形,每组图形的内部图形与外部图形相接的边数,依次是0、1、2。
2015年浙江公务员考试行测真题及答案解析常识判断1.以下符合法律规定的是〔〕A.甲乙二人自由恋爱,因两人均年满20周岁,经双方父母同意,两人可以结婚B.丙12岁,玩火酿成火灾,造成重大财产损失,但丙不承担失火罪的刑事责任C.丁6岁,春节收到红包假设干,其母认为丁尚年幼,红包里的钱应归监护人所有D.19岁的大学生戊,认为父母有义务支付他的教育费及生活费至其独立工作为止【参考答案】B【参考解析】A选项是错误的,甲乙均年满20周岁,不符合我国婚姻法关于结婚的年龄规定,我国婚姻法规定,男性结婚年龄不得低于22周岁,女性不得低于20周岁。
丙12岁,属于无刑事责任年龄阶段,对过失犯罪是不承担刑事责任的,B选项是正确的。
此题应选B丁属于无民事行为能力人,但是,收红包是单方受益行为,因此,应该是有效的,钱包不应归监护人所有。
C选项是错误的。
《婚姻法》第21条规定:“父母对子女有抚养教育的义务;父母不履行抚养义务时,未成年的或者不能独立生活的子女,有要求父母付给抚养费的权利。
”这说明,子女如果已经年满18周岁,这是父母没有义务支付抚养费,就是说,不是必须支付抚养费。
D选项是错误的。
2.目前我国正大力推进文化体制改革,特别是对国内的动漫产业和影视剧通过内容管控的方式促进其发展。
以下不属于行政手段的是〔〕A规定各级电视台每日播出境外各类影视节目时间B设立专项经费用于鼓励本土作家创作优秀剧本C国家出台“限娱令”标准娱乐节目播出类型D每年引进的境外动漫作品同类题材数量设置上限【参考答案】B【参考解析】国家宏观调控的手段分为:经济手段,行政手段和法律手段。
〔1〕经济手段是指国家运用经济政策和计划,通过对经济利益的调整而影响和调节社会经济活动的措施,包括财政政策、货币政策。
〔2〕法律手段是指国家通过制定和运用经济法规来调节经济活动的手段。
〔3〕行政手段是指国家通过行政机构,采取行政命令、指示、指标、规定等行政措施调节和管理经济的手段;很显然,ACD都属于形成手段,B属于经济手段。
浙江公务员图形推理训练题带答案1【解析】B。
第一组图形的规律是三个元素的重心分别在下、中、上,第二组图形也应符合此规律,A、C、D三项的重心都不在上部。
2【解析】A。
此题的规律为,第一组图形的第一幅图是由两个完全相同的图形重叠而成,将其中一个图形向左(或右)移动12个小正方形的边长的距离,即得到第二幅图,继续移动那么得到第三幅图。
依此规律,第二组图中的第一幅图形是由两个相同的图形半重合而成(如第一组第二幅图的竖直状态)按照上述规律移动,即得到A答案。
3【解析】A。
第一组图形的规律是,第一个图形可以拆分成第二个和第三个图形,依次规律,符合要求的只有A项。
应选A。
4【解析】A。
这个九宫格的规律是每一格里的图形都是由几个小图像组成,有的小图形是互相连接,有的是小图形在较大的图形内部,且都是交替出现,相邻的两格不相同。
依此规律,问号处的图形应该是小图形在大图形内部,四个选项中,只有A项符合。
5【解析】A。
第一组图形的三幅图分别与边框有4个相交的局部,第二组图形的前两幅图分别与边框有5个相交的局部,依上述规律,所求图形应与边框有5个相交的局部。
浙江公务员图形推理训练题(二)1、1【解析】D。
该题是2022年的国考题。
经观察,此题呈纵向规律,图形之间存在着数量关系。
此题中,每条线段可被看作是1,而曲线不计数,为0,由此可知,第一列和第二列3个图的关系分别是:4-0=4和5-4=1,依此,第三列那么为:8-3=(5),应选D。
2【解析】C。
只要细心,此题并不难。
该题中,随着图形的变化,角的数量在不断增加,所以正确答案为C。
3【解析】A。
该题依然是数量关系规律,仔细观察可以发现,每一行3个图的构成局部之和分别是:3+2+3=8;l+3+4=8;3+4+(1)=8,因此,正确答案为A。
4【解析】B。
这是一题以汉字笔画为内容的题目。
其规律是每一行3个汉字的笔画之间存在着乘法关系,即25=l0;34=l2;44=16。
2001-2012年浙江图形推理真题2001年浙江图形推理真题72、A 73、D 74、C 75、C2002年浙江图形推理真题DACDA DCCABBCCBC51、B 52、A 53、A 54、D 55、C 56、D 57、C 58、C 59、B 60、C2005年浙江图形推理真题51. D 52. C 53. A 54. D 55. B 56. C 57. A 58. D 59. B2006年浙江图形推理真题46.A B C D47.A B C D48.49.50.51.52.53.ABCDB BDC2007年浙江图形推理真题56、57、58、59、请开始答题:60、61、62、63、开始答题:64、65、1.象指纹的那个,选B,同一个平面旋转 B2.有一个求同去异,答案是两个点, A3.四个里面与众不同的一题,(可能是里面的横线问题,选A,其他三个横线都是直的,A 的是左右分开,没有直的连接到边,个人认为),有人认为是轴对称,选D4.两个三角形那个,据说是平行四边形,D5.三×三九宫格有两个题目,一个是,+、圆、三角那个,看不出来,蒙的,,,6.三×三九宫格第一个图形的右边和第二个图形的左边相加得第三个图形7.图形的个数,这个简单,图形个数递增,8.桌球那个,好多数字,,,看不出来,只看出来第二行数字相加-1是第一行数字9.还有个火柴,,,应该是前面一个图形移动一根火柴变成后面的图形10.第一题,骰子旋转那个,6和5?具体忘了,应该是跟题目上第一个图一样的,转回来了2007年浙江图形推理真题56.【解析】A。
观察每个图形的点数,前面图形的点数分别为(6,5),(5,1),(1,2),(2,6),可以得出前一个图形的第二个点数应是下一个图形的第一个点数,因此选项中的第一个点数应为6,只有A项满足规律。
57.【解析】D。
左边每个图形中元素的种类数目依次是1,2,3,4,并且每个图形中均有一种元素的数目至少是2,那么第5个图形中应有5种元素且有一种元素的数目至少是2,符合该规律的只有D项。
国家公务员考试行测冲刺备考举一反三灵活解答规律特征型图形推理题近年来国家公务员考试的难度在不断加大,反映在图形推理中就是规律越来越复杂隐蔽。
相比于数学运算、资料分析,图形推理似乎并无取巧之处。
这也造成了很多考生反映的图形推理完全没有思路,做了很多练习但临场就发懵的现状。
中公教育专家认为,突破图形推理,适度的练习是必要的,但关键在于通过这些练习学会举一反三。
图形问题在考察内容上主要分为:规律特征型推理思路、平面图形的空间还原与立体图形的平面展开、拼图及图形拆分与组合、意指型图形。
其中,以规律特征型推理思路考察得最为广泛和普遍,也是让考生最为头疼的题型。
在此,中公教育专家结合例题对这一类型的题目进行深入分析,正确引导考生的解题思路。
例题1:答案:B。
解题思路:定位此题,为组合图形的变化,故思维圈定于图形内部分割部分数;内部图形与外部图形的替代关系;图形求同。
图形内部分割部分数:第一组图的部分数分别为三部分、两部分、两部分,第二组图的部分数分别为九部分、三部分,不具有数字规律性,故此思维被否定。
内部图形与外部图形的替代关系:第一组图形中,图形一的外面正方形在图形二中移到内部,图形二中的六边形在图形三中并未发生替代关系,故此思维被否定。
图形求同:在第一组图中,均含有正方形,在第二组图中,均含有圆形,对照选项,只有B项含有圆形,可得题解。
例题2:答案:D。
解题思路:此题为细节变化问题,故思维圈定为前后图对比寻找细节差异。
第一图与第二图比较可发现,箭头方向发生变化、左边的小线段从最下面减少一条,对比第二图与第三图,箭头方向又发生变化、右边的小线段从最上面减少一条,即可推得可能性规律,以第三、四幅图进行验证,符合,对照选项,可得题解为D。
例题3:答案:C。
解题思路:定位此题为图形种类的变化,故思维圈定为某一或某几个图形的数量呈现规律性变化、每个图形总数量的恒定。
某一或某几个图形的数量呈现规律性变化:前五个图出现的六种图形的数量并未符合任何规律性分布,故此思维被否定。
图形推理方法攻略及真题解析(一)一:阴影部分的题目阴影图形题的解法主要有以下几种思路1 颜色不同的变色,相同的不变色。
两个例子来说明2 和面积有关3 和阴影的旋转变化有关例题 12005浙江解:这种题是给定三个图形,需要你找到变化的规律。
然后再给定2个图形叫你推出第三个图形。
答案 C解析:方法一第一套图形中,子图1与子图2中相同的局部在子图3中的相应部分呈现白色,不同的部分呈现黑色。
(个人习惯的叫法:不同变黑,相同变白)。
按照此规律很容易得出结论。
类似题一此题解法和上题一样(供大家参考)个人觉得A的左下角是白色的圆就对了(感觉没答案)类似题二例题 207四川答案 A解析:第一套图形中有两个阴影部分,他们的面积是相等的;第二套图中亦如此。
(面积问题)例题 305湖南答案:C解析:面积的题一般2种:1 两个图素的面积和等于第三个图素(此题便是)2 阴影各部分面积相等(见例题2,07四川)此题第一套图形中,第一个图中阴影部分占整个面积的1/4,第二个图中,阴影部分也占1/4。
第三个图中,阴影部分占1/2即1/4+1/4=1/202国家答案 C解析:方法三此题属于复杂旋转问题,观察第一套图,发现小黑正方形逆时针旋转,每次90度;外面的直角状阴影也是顺时针旋转。
到第二套图中,规律亦如此。
例题 503国家答案 B解析:1和2图去掉想同的部分,然后把第一图旋转180度放在第二个图上面----得到第三个图例题6(06四川)答案:A图素的总量是:3黑3白2灰色1竖线型第二幅图也如此第二部分:我把它叫做汉字和字母题。
一般有以下几种方法1 笔画数2 对称3 封闭空间数4直线和曲线的问题03浙江答案 B解析:第一套图形中子图1---子图2----子图3,分别是由直线----直线和曲线-----曲线够成第二套亦如此。
例题 209广东答案 B成轴对称的说法不严谨,但是图中画出来的解析:考察的是轴对称图形(个人认为“B”就比较对称了,呵呵)例题 308四川观察图素:第一图和第三图,笔画都为4,且都是一部分。
2015年浙江公务员考试行测真题及答案解析常识判断1.下列符合法律规定的是()A.甲乙二人自由恋爱,因两人均年满20周岁,经双方父母同意,两人可以结婚B.丙12岁,玩火酿成火灾,造成重大财产损失,但丙不承担失火罪的刑事责任C.丁6岁,春节收到红包若干,其母认为丁尚年幼,红包里的钱应归监护人所有D.19岁的大学生戊,认为父母有义务支付他的教育费及生活费至其独立工作为止【参考答案】B【参考解析】A选项是错误的,甲乙均年满20周岁,不符合我国婚姻法关于结婚的年龄规定,我国婚姻法规定,男性结婚年龄不得低于22周岁,女性不得低于20周岁。
丙12岁,属于无刑事责任年龄阶段,对过失犯罪是不承担刑事责任的,B选项是正确的。
本题应选B丁属于无民事行为能力人,但是,收红包是单方受益行为,因此,应该是有效的,钱包不应归监护人所有。
C选项是错误的。
《婚姻法》第21条规定:“父母对子女有抚养教育的义务;父母不履行抚养义务时,未成年的或者不能独立生活的子女,有要求父母付给抚养费的权利。
”这说明,子女如果已经年满18周岁,这是父母没有义务支付抚养费,就是说,不是必须支付抚养费。
D选项是错误的。
2.目前我国正大力推进文化体制改革,特别是对国内的动漫产业和影视剧通过内容管控的方式促进其发展。
下列不属于行政手段的是()A规定各级电视台每日播出境外各类影视节目时间B设立专项经费用于鼓励本土作家创作优秀剧本C国家出台“限娱令”规范娱乐节目播出类型D每年引进的境外动漫作品同类题材数量设置上限【参考答案】B【参考解析】国家宏观调控的手段分为:经济手段,行政手段和法律手段。
(1)经济手段是指国家运用经济政策和计划,通过对经济利益的调整而影响和调节社会经济活动的措施,包括财政政策、货币政策。
(2)法律手段是指国家通过制定和运用经济法规来调节经济活动的手段。
(3)行政手段是指国家通过行政机构,采取行政命令、指示、指标、规定等行政措施调节和管理经济的手段;很显然,ACD都属于形成手段,B属于经济手段。
2015浙江公务员考试行测判断推理A卷(来源于网络)2015浙江公务员考试行测判断推理A卷(来源于网络)76.从所给四个选项中,选择最合适的一个填入问号处,使之呈现一定的规律性:【答案】B【所属考试模块】判断推理【题型】图形推理【考点】数量类——线、面【难度系数】一般【作者】韩娜【解析】本题考查数量类里面直线与面的数量。
前三个图形面的数量为4,5,6,第四个图形应为7个面,排除A、D选项,前三个图形外围直线数为3,4,5,第四个图形外围直线数应为6。
因此,本题答案为B选项。
【拓展】数量类包括点、线、角、面、素。
复合数量类的考法属于近期比较频繁出现,即同一道题中需要考虑两个或者更多数量考点才能得出唯一的正确答案。
77.【答案】D【所属考试模块】判断推理【题型】图形推理【考点】数量类——角【难度系数】一般【作者】高小玲【解析】数直角个数,直角的个数递增1、2、3、4、578.【答案】C【所属考试模块】判断推理【题型】图形推理【考点】数量类——线,一笔画【难度系数】一般【作者】高小玲【解析】数笔画,题干所有图形均为一笔画,选C。
79.从所给四个选项中,选择最合适的一个填入问号处,使之呈现一定的规律性:【答案】B【所属考试模块】判断推理【题型】图形推理【考点】样式类——运算【难度系数】容易【作者】韩娜【解析】本题考查运算里面的颜色变化,根据前两行的颜色运算规则可知,白+阴影=阴影,阴影+白=阴影,阴影+阴影=白,白+白=阴影,第三行进行运算可得B选项。
因此,本题答案为B选项。
【拓展】颜色运算的题目,颜色包括白色,黑色,阴影,需要特别注意的是颜色的方向如果不同代表不同的颜色。
80.从所给四个选项中,选择最合适的一个填入问号处,使之呈现一定的规律性:【答案】B【所属考试模块】判断推理【题型】图形推理【考点】数量类——线【难度系数】较难【作者】韩娜【解析】本题考查图形内外的交线数,每个图形由外部图形与内部黑色图形构成,第一列图形内外图形的交线数分别为2,1,1;第二列图形内外图形的交线数分别为3,2,1;可知列进行相减2-1=1,3-2=1,则第三列应为1-0=1,即答案的相交线应为1条。
图形推理【例题1】左这的图形由若干个元素组成。
右边的备选图形中只有一个是组成左边图形的元素组成的,请选出这一个。
【解答】此题的正确答案A。
【例题2】【解答】最左边的图形中的直线是向上直立的,其后图形中的直线逐渐向右倒下。
第5个图形中的直线应该恰好倒下。
因此,正确的答案是D。
【例题3】【解答】黑点在正方形中顺时针移动。
在第5个图形中,应该正好移动到左上角。
因此,正确答案是B。
【例题4】每道题包含两套图形和可供选择的4个图形。
这两套图形具有某种相似性,也存在某种差异。
要求你从四个选项中选择你认为最适合取代问号的一个。
正确的答案应不仅使两套图形表现出最大的相似性,而且使第二套图形也表现出自己的特征。
【解答】正确答案为C。
因为在第一套图形中多边形均有一条边双线,在第二套图形中的有两条相邻的边双线。
【例题5】在右面的4个图形中,只有一个是由左边的纸板折叠而成。
你需要选出正确的一个。
【解答】在例题中,只有D可以由左边的纸板折叠而成。
因此,正确答案是D。
2003年国家A类16.17.18.19.20.21.22.23.24.25.2003年国家B类16.17.18.19.20.21.24.25.2004年国家A类51.52.53.54.55.56.57.58.59.60.2004年国家B类51.52.53.54.55.56.57.58.59.60.2005年国家一卷51.52.53.54.55.56.57.58.59.60.2005年国家二卷51.52.53.54.55.56.57.58.59.60.2006年国家一卷/二卷51. 52.53. 54.55.56.57.58.59.60.2007年国家61. 62.63. 64.65.2008年国家61.请从所给的四个选项中,选择最适合的一个词填入问号处,使之呈现一定的规律性()62.请从所给的四个选项中,选择最适合的一个词填入问号处,使之呈现一定的规律性()63.请从所给的四个选项中,选出最符合左边五个图形一致性规律的选项()64.请从所给的四个选项中,选出最符合左边五个图形一致性规律的选项()65.下面四个所给的选项中,哪一个选项的盒子不能由左边给定的图形做成()2009年国家66.请从所给的四个选项中,选择最合适的一个填入问号处,使之呈现一定的规律性:()。
2001年国家公务员考试图形推理真题二、图形推理:共10题,每道题包含两套图形和可供选择的四个图形。
这两套图形既有某种相似性,也存在某种差异。
要求你从四个选项中选择你认为最适合取代问号的一个。
正确的答案应不仅使两套图形表现出最大的相似性,而且使第二套图形也表现出自己的特征。
请开场答题:71.A B C D72.A B C D73.A B C D74.A B C D75.A B C D76.A B C D77.A B C D78.A B C D79.A B C D80.A B C D2002年国家公务员考试图形推理真题请开场答题:46.47.48.49.50.51.52.53.54.55.2003年国家公务员考试图形推理真题一、图形推理:本局部包括两种类型的题目,共10题。
1.每道题目的左边4个图形呈现一定的规律性。
你需要在右边所给出的备选答案中选出一个最合理的正确答案。
每道题只有一个正确答案。
请看例题。
在例题1中,最左边的图形中的直线是向上直立的,其后图形中的直线逐渐向右倒下。
第5个图形中的直线应该恰好倒下。
因此,正确的答案是D。
在例题2中,黑点在正方形中顺时针移动。
在第5个图形中,应该正好移动到左上角。
因此,正确答案是B。
【例题1】A B C D【例题2】A B C D请开场答题:16.A B C D17.A B C D18.A B C D19.A B C D20.A B C D21.A B C D22.A B C D2.每道题包含两套图形和可供选择的4个图形。
这两套图形具有某种相似性,也存在某种差异。
要求你从四个选项中选择你认为最适合取代问号的一个。
正确的答案应不仅使两套图形表现出最大的相似性,而且使第二套图形也表现出自己的特征。
【例题】A B C D解答:正确答案为C。
因为在第一套图形中多边形均有一条边双线,在第二套图形中均有两条相邻的边双线。
请开场答题:23.A B C D24.A B C D25.A B C D2004国家公务员考试图形推理真题一、图形推理(共10题)。
2015年浙江省各级机关录用公务员考试综合应用能力(一)真题完美解析版注意:1、本卷为全主观题,请用黑色字迹的钢笔或签字笔在答题纸上作答,直接在试卷上作答无效。
2、请在试卷、答题纸上严格按要求填写姓名、填涂准考证号。
3、本卷总分100分,考试时间为150分钟。
4、特别提醒,请在答题纸规定的区域内作答,超出答题区域作答无效。
一、案例分析题(根据所给案例,回答后面的问题。
50分)案例一资料一成都美女交警胡玲在执法过程中连敬13个礼,最终令违法者带着“满意”接受罚单,视频一经网络曝光,胡玲迅速走红网络,并被冠以“温柔一刀”的美名。
“只会开罚单,不近人情,那不是我们新时代交警的形象。
”被称为“北京最帅交警”的孟昆玉说。
有一次,孟昆玉在某路口夜查时,一辆夏利车“歪歪扭扭”地驶来。
经检测,驾驶员为酒后驾车。
孟昆玉正准备处罚时,驾驶员的父亲突然从车上下来,“他就喝了一瓶啤酒,至于吗?”进而阻挠孟昆玉开具法律文书。
孟昆玉没急没恼,等老人情绪稍微缓和后,问了他一句话:“今天您坐在车上,儿子开车您放心,明天您不坐在车上,他喝完酒再开车,您能放心吗?”老人顿时沉默了……最后,老人握住孟昆玉的手说:“警察同志,谢谢你,是你让我想起了一个父亲的责任。
”随后,他拿过儿子的驾照亲自交到孟昆玉的手中。
资料二某段时间,在某市老城区违章停车的市民会先收到一张红色“罚单”,和以往收到的白色罚单相比,红色“罚单”并不罚款,上面只有友情告知,温馨提示车主违停了。
这是该市交警“人性化执法”的新举措,首次违停贴红色“罚单”温馨提醒,如再次违停将会贴上白色罚单。
这项举措试行头一周效果良好。
该市交巡警一大队副教导员田某说,推行红色友情告知单后,不少车主的文明交通意识有所提高,停车尽量停在停车场或者临时停车位内,违停数量有所减少。
但事情的发展并非如交警部门所预料。
数据显示,试行友情告知单的7月份,该市老城区的违停现象不减反增。
据交警部门统计,从7 月5日至7月31日,在辖区内友情告知的违停车辆共计11697辆次。
2002年浙江公务员考试行测真题图形推理:1 / 332 / 33 36. D 37. A 38. C 39. D 40. A 41. D 42. C 43. C 45. B2003年浙江公务员考试行测真题3 / 3344. A 66.ABCD 67.ABCD 68.ABCD 69.ABCD 70.ABCD66. B[解读]本题所给图形都是四段。
故选B。
67. C[解读]第一图与第二图形相叠加,然后去掉重合部分。
68. B[解读]第一套图形均由两条曲线构成。
第二套图形是两条曲线,一条直线,只有B选项合要求。
69. B[解读]组成元素笔画数变化:3,2,1。
70. C[解读]图形旋转同时部分元素数量呈规律增加。
4 / 332004年浙江省公务员录用考试行测真题及答案一、图形推理:包括三种类型的题目,共10题。
1. 每道题目的左边4个图形呈现一定的规律性。
根据这种规律,你需要在右边所给出的备选答案中选出一个最合理的正确答案。
每道题只有一个正确答案。
2. 每道题包含两套图形。
这两套图形具有某种相似性,也存在某种差异。
要求你从四个选项中选择你认为最适合取代问号的一个。
正确的答案应不仅使两套图形表现出最大的相似性,而且使第二套图形也表现也自己的特征。
请开始答题:5 / 333. 在右面的4个图形中,只有一个是由左面的纸板折叠而成的。
你需要选出正确的一个。
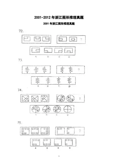
请开始答题:6 / 3351、B 52、A 53、A 54、D 55、C 56、D 57、C 58、C 59、B 60、C2005年浙江省图形推理;包括三种类型的题目,共10题1、每道题目的左边4个图形呈现一定的规律性。
根据这种规律,你需要在右边所给出的备选答案中选出一个最合理的正确答案。
每道题只有一个正确答案。
请开始答题:7 / 332、每道题包含两套图形。
这两套图形有某种相似性,也存在某种差异。
要求你从四个选项中选择你认为最合适报代问号的一个。
正确的答案应不仅使两套图形表现出最大的相似性,而且使第二套图形也表现出自己的特征。
2002年浙江公务员考试行测真题图形推理:36. D 37. A 38. C 39. D 40. A 41. D 42. C 43. C 44. A 45. B2003年浙江公务员考试行测真题66.ABCD67.ABCD68.ABCD69.ABCD70.ABCD66. B[解析]本题所给图形都是四段。
故选B。
67. C[解析]第一图与第二图形相叠加,然后去掉重合部分。
68. B[解析]第一套图形均由两条曲线构成。
第二套图形是两条曲线,一条直线,只有B选项合要求。
69. B[解析]组成元素笔画数变化:3,2,1。
70. C[解析]图形旋转同时部分元素数量呈规律增加。
2004年浙江省公务员录用考试行测真题及答案图形推理:包括三种类型的题目,共10题。
1. 每道题目的左边4个图形呈现一定的规律性。
根据这种规律,你需要在右边所给出的备选答案中选出一个最合理的正确答案。
每道题只有一个正确答案。
2. 每道题包含两套图形。
这两套图形具有某种相似性,也存在某种差异。
要求你从四个选项中选择你认为最适合取代问号的一个。
正确的答案应不仅使两套图形表现出最大的相似性,而且使第二套图形也表现也自己的特征。
请开始答题:3. 在右面的4个图形中,只有一个是由左面的纸板折叠而成的。
你需要选出正确的一个。
请开始答题:51、B 52、A 53、A 54、D 55、C 56、D 57、C 58、C 59、B 60、C2005年浙江省图形推理;包括三种类型的题目,共10题1、每道题目的左边4个图形呈现一定的规律性。
根据这种规律,你需要在右边所给出的备选答案中选出一个最合理的正确答案。
每道题只有一个正确答案。
请开始答题:2、每道题包含两套图形。
这两套图形有某种相似性,也存在某种差异。
要求你从四个选项中选择你认为最合适报代问号的一个。
正确的答案应不仅使两套图形表现出最大的相似性,而且使第二套图形也表现出自己的特征。
3、在右面的4个图形中,只有一个不是由左面的纸板折叠而成的,你需要选出错误的那一个。
请开始答题:51. D 52. C 53. A 54. D 55. B 56. C 57. A 58. D 59. B60. B2006年浙江行测验试卷46.A B C D 47.A B C D48.A B C D49.A B C D请从所给的四个选项中,选择最适合的一个填在问号处,使之呈现一定的规律性。
50.51、A B C D A B C D52.53.A B C D A B C D46、[答案]A[解析]本题的一个对角斜线是按照顺时针旋转90度,排除BC,而阴影部分的位置是左上角和右下角对应该为左上角,所以接下来应该为左上角,所以排除D。
选择A47、[答案]B[解析]本题第一个图形的最左侧的长方形向右推移一次得到第二个图形,再推移一次得到第三个图,再推移一次得到第四个图形,那么反过来左侧最短那个向右推移一次得到B。
48、[答案]C[解析]本题主要是看一三五变化,回到初始位置,所以选择C49、[答案]D[解析]主要看图形种类个数的变化,分别递增,所以接下来应该是五种图形,所以选择D50、[答案]A[解析]本题为综合规律,主要看二三行的图形完全相反,所以选择A51、[答案]B[解析]本题为综合规律,通过比较看眼应该是缺一个左黑右白的,排除D,嘴应该是平的,排除C,耳朵应该左短右长,所以选择B52、[答案]D[解析]本题规律为每组的一二个图形去同得到第三个图形,所以选择D53、[答案]C[解析]本题为综合规律,看黑点和白球的个数变化,应该选择C。
2007年浙江公务员考试行测A类真题56.ABCD57.ABCD58.ABCD59.ABCD(二)请从所给的四个选项中,选择最适合的一个填在问号处,使之呈现一定的规律性。
请开始答题:60.ABCD61.ABCD62.ABCD63.ABCD(三)请从以下四个图形中选出与其他三个不同的。
请开始答题:64.ABCDABCD56. A[解析]前面图形中的点数依次是6、5;5、1;1、2;2、6。
由此可知,前一个图形后面的点数正好是后一个图形前面的点数,因此,选项中图形的前面的点数应该为6,A正确。
57. D[解析]看图可知,题干图形中符号的种类依次为1、2、3、4,且每个图形中至少有一种符号数量为偶数,符合该规律的只有D项。
58. D[解析]观察题干图形可知,第一行数字是第二行数字之和减一而来,第二行数字分别是第三行数字两两之和,因此选D。
59. A[解析]题干中后一个图形都是通过移动前一个图形中的一根火柴得到的,且移动的火柴均是顺时针旋转90°,符合该规律的只有A项。
60. B[解析]每一行第三个图是前二个图不同元素的集合。
61. D[解析]图中每一行的后一个图形都是将前一个图形最右边的符号去掉,另添一个符号放在最左边得来的,且第三个图形添加的符号是第一个图形去掉的符号。
符合该规律的只有D项。
62. A[解析]第一二个图形叠加去异存同得到第三个图形。
63. C[解析]第一纵行的图形是关于x轴对称,第二纵行是关于y轴对称,第三纵行既关于x轴对称,也关于y轴对称。
64 .C[解析]只有C项中的方框内没有平行线。
65. B[解析]只有B项方框中线条的盘旋方向是逆时针的。
2007年浙江公务员考试行测B类真题、图形推理:共7题。
这两套图形具有某种相似性,也存在某种差异。
要求你从四个选项中选择最适合取代问号的一个。
正确的答案应不仅使两套图形表现出最大的相似性,而且使第二套图形也表现出自己的特征。
请开始答题:56.ABCD57.ABCD58.ABCD59.ABCD60.ABCD61.ABCD62.56. A57. D58. C59. B60. D61. C 62. A2008年浙江公务员考试行测真题及答案解析56.A B C D57.A B C D58.A B C D59.A B C D60.A B C D61.A B C D2.请从所给的四个选择项中,选择最适合的一个填在问号处,使之呈现一定的规律性。
请开始答题:62.A B C DA B C D64.A B C D65.A B C D56. C[解析]朝向为“/”的斜线和朝向为“\”的斜线数目一致(数每一个小方格内的斜线)。
57. D [解析]本题为图形元素类题目。
具体分析,一个菱形等于2个三角形,将题干中的菱形都换成三角形,则每个图都是由12个三角形组成,符合此规律的只有D项。
[华图名师点评]此题的解题点是图形的数量。
58. B[解析]时针和分针都是顺时针旋转,时针每次旋转3个单位,分针每次旋转4个单位。
59. D[解析]看交点的个数。
交点的个数依次为:8、7、6、5,依次递减。
因此选D。
[华图名师点评]此题的解题点是图形的数量。
60. C[解析]图一中图形共有8条线段,图二、图三、图四和正确选项分别去掉其中的两条,并且不重复,故选C。
[华图名师点评]此题的解题点是图形的位置。
61. C[解析]看弧线的数量。
前四个图形中弧线的数量依次为1、2、3、4,依次递增,故选C。
[华图名师点评]此题的解题点是图形的形状和数量。
62. D[解析]第一行均为一个部分,第二行均可分为不牵连的两个部分,第三行均可分为不牵连的三个部分。
63. B[解析]每行第一个图形面数加第三个图形面数等于第二个图形面数,故选B。
64. B[解析]①阴影与空白变化:相同变空白,不同为阴影;②图形叠加优先保留顺序:□>△>○,据此两条规律,将第一图与第二图叠加形成第三图。
65. A[解析]每一行只有一个五角星在弯月的中间,且每个图形均只含一个黑色五角形。
2009年浙江省公务员图形推理:包括两种类型的题目,共10题。
1.每道题目的左边4个图形呈现一定的规律性。
根据这种规律,您需要在右边所给出的备选答案中选出一个最合理的正确答案。
每道题只有一个正确答案。
请开始答题:56.【答案】B【解析】空间数量变化题。
空间数分别为2、3、4、5、6,选B。
57.【答案】D【解析】图形数量题。
每个图形都是12条边,选D。
58.A B C D A B C D【答案】A 【解析】移动题。
黑色方块依次顺时针移动2、3、4、5格,选A 。
59.【答案】A 【解析】数量题。
交点数分别为3、4、5、6、7,选A 。
60.【答案】A 【解析】两个三角形其中必有一个走斜线到头,另一个走半斜线(类似象棋中跳马),则在A 、D 中选,五角星每次移动都只有一格,所以选A 。
61.【答案】B 【解析】图形转换题。
一个圆圈等于5个三角形,一个正方形等于4个三角形,每个图换算过来都是22个三角形,选B 。
2.请从所给的四个选择项中,选择最适合的一个填在问号处,使之呈现一定的规律性。
请开始答题:62.【答案】D【解析】移动题。
每行均为四个图,其中最右边一图隐藏不见。
第一行最右隐藏的为全黑正方形,第二行最右隐藏为全白圆圈,隐藏的图在下一行中从左边出现。
每行图形依次从左到右移动,第一行到第二行在移动过程中同时伴随颜色(条纹、全黑、全白、黑白)变化,也是从左到右加快一格。
第二行到第三行图形移动,但颜色不变,所以选D 。
A B C DA B C D A B C DA B C D【答案】B【解析】规律类比题。
每行的火柴都有垂直、平行和相交,且只有一个是有交点。
64.A B C D【答案】A【解析】网格方块依次为2,4,6,选A。
65.A B C D【答案】B【解析】求同去同题。
每一行去同存异,选B。
2010年浙江省各级机关考试录用公务员行政职业能力测验卷A 36.37.38.39.40.41.42.43.36.【解析】C。
题干中图形均由两种元素组成,符合条件的只有C项。
37.【解析】A。
元素之间的换算,把一个向上的三角形转换为四个向下的三角形,则题干中向下三角形的个数分别为10、9、8、7,下一幅图换算后应为6个向下的三角形,符合条件的只有A项。
38.【解析】D。
题干中各个图形的封闭部分的个数均为6个,符合条件的只有D项。
39.【解析】B。
题干中各个图形均有3条曲线,符合条件的只有B项。
40.【解析】A。
题干中各个图形里均有2组相连的一样的图形,且一组呈竖直排列,一组呈横向排列,符合条件的只有A项。
41.【解析】A。
单独的元素每次沿九宫外沿移动一格,连在一起的元素每次沿外沿移动两格,第四幅图移动后得到A项所示图形。
42.【解析】C。
每行的三幅图的线段总数均为10.43.【解析】D。
每行对称轴之和为4,第三行中,第一幅图有一条对称轴,第二幅图有两条对称轴,所以第三幅图应有1条对称轴,符合条件的只有D项。
2013年14年2.3.1..C【解析】已知图形均可以一笔画出来。
故正确答案为C。
2.B【解析】第一套图形中,第一个和第三个图形附带的小圆圈的数量之和等于中间小圆圈的数量。