生产流程图及说明
- 格式:docx
- 大小:21.01 KB
- 文档页数:4
啤酒生产工艺流程啤酒生产工艺流程可以分为制麦、糖化、发酵、包装四个工序。
现代化的啤酒厂一般已经不再设立麦芽车间,因此制麦部分也将逐步从啤酒生产工艺流程中剥离。
)一个典型的啤酒生产工艺流程图如下(不包括制麦部分):注:本图来源于中国轻工业出版社出版管敦仪主编《啤酒工业手册》一书。
图中代号所表示的设备为:1、原料贮仓2、麦芽筛选机3、提升机4、麦芽粉碎机5、糖化锅6、大米筛选机7、大米粉碎机8、糊化锅9、过滤槽 10、麦糟输送 11、麦糟贮罐 12、煮沸锅/回旋槽 13、外加热器 14、酒花添加罐 15、麦汁冷却器 16、空气过滤器 17、酵母培养及添加罐 18、发酵罐 19、啤酒稳定剂添加罐 20、缓冲罐 21、硅藻土添加罐 22、硅藻土过滤机 23、啤酒精滤机 24、清酒罐 25、洗瓶机 26、灌装机 27、杀菌机 28、贴标机 29、装箱机(一)制麦工序大麦必须通过发芽过程将内含的难溶性淀料转变为用于酿造工序的可溶性糖类。
大麦在收获后先贮存2-3月,才能进入麦芽车间开始制造麦芽。
为了得到干净、一致的优良麦芽,制麦前,大麦需先经风选或筛选除杂,永磁筒去铁,比重去石机除石,精选机分级。
制麦的主要过程为:大麦进入浸麦槽洗麦、吸水后,进入发芽箱发芽,成为绿麦芽。
绿麦芽进入干燥塔/炉烘干,经除根机去根,制成成品麦芽。
从大麦到制成麦芽需要10天左右时间。
制麦工序的主要生产设备为:筛(风)选机、分级机、永磁筒、去石机等除杂、分级设备;浸麦槽、发芽箱/翻麦机、空调机、干燥塔(炉)、除根机等制麦设备;斗式提升机、螺旋/刮板/皮带输送机、除尘器/风机、立仓等输送、储存设备。
(二)糖化工序麦芽、大米等原料由投料口或立仓经斗式提升机、螺旋输送机等输送到糖化楼顶部,经过去石、除铁、定量、粉碎后,进入糊化锅、糖化锅糖化分解成醪液,经过滤槽/压滤机过滤,然后加入酒花煮沸,去热凝固物,冷却分离麦芽在送入酿造车间之前,先被送到粉碎塔。
生产工艺流程图及简述
1.计划组下达生产订单,员工在车间主管领单生产,到统计处打临时单
2.车间员工按照生产派工单完成生产并通知质检员进行入库前检验;
3.质检员根据图纸进行入库前终检,合格通知车间入库;不合格开具不合格处理单要求车间进行返工处理;
4.产品经检验确认合格后,由统计员开具产品生产入库单并通知仓管员进行货物清点收货;
5.仓管员根据统计员开具的生产入库单进行清点收货,确认数量正确后由质检员、统计员和仓管员在入库单上签名确认后在系统生产入库单据;
委托方提供资料人员签字:接受资料人员签字:年月日。
机械企业⽣产主流程图与流程说明⽣产主流程图及要点说明⽣产主流程⼯作要点说明(⽣产组织和产成品输出)⼀、合同转化及传递1.销售系统根据合同进⾏产品设计,包括设计、选材、结构确定与分析、技术规范、⼯作原理、技术经济指标分析(产品设计⽬标成品)等,不仅要考虑设计上的先进性和必要性,同时还要考虑⼯艺上的可能性和经济性;2.由制造事业部会同设计部门根据项⽬产能分析及产品性质选择⽣产单位;3.⽣产单位确定后,编制《⽣产联系单》,传递⾄⽣产运营部。
在编制《⽣产联系单》时需注意:要有合同编号、图件号、材质、数量、价格、交货期、运输⽅式等内容,需产品设计的合同,按设计完的产品图纸、明细表组织⽣产,其它⽼产品的合同必须写清以上内容以便于⽣产组织;4.⽣产运营部进⾏合同签收,⾃此⽣产流程开始。
⼆、编制⽉份⽣产计划1.⽣产运营部根据《⽣产联系单》,按产品合同交货期,技术准备⼯作进度、产品透料计划、设备维修计划、计划和实际供料、前期计划执⾏情况,在本期计划出产的商品数,长线产品需在本期⾛的在制情况,编制出《⽉份⽣产计划》,以此确定产品出⼚顺序;2.⽣产运营部配合制造事业部做好⽤户有要求的《产品出产计划安排》,经领导审核后报制造事业部;3.将《⽉份⽣产计划》传递给技术管理部、采购部、三个⽣产⼯部,并反馈⾄制造事业部供品质管理部门跟进检查。
4.各⽣产⼯部做出周产品零部件加⼯作业班计划,做到周计划、⽇安排、勤调整。
三、产品投料计划1.⽣产运营部根据《⽣产联系单》编制《投料计划单》;2.在下达投料计划时,应在计划中对组焊件分别标注所属参与组焊的专⽤零件、⽆图件等,以便先于组织⽣产;3.投料计划按钢、铁、铜、锻、铆分别进⾏单独分类下达,并汇总出各类⽑坯重量,以达到某⼀种产品各类⽑坯件的所占⽐例;4.根据⽣产资⾦的投⼊情况,有针对性的按⽐例投⼊;5.对于成线产品可按设计⼊库的时间,相似新产品同时投料⽣产,即节省原材料费⽤,⼜可提⾼劳动效率,便于⽣产组织的进⾏;6.对于产品设计中、⼯艺有要求的部件、零件,需⼚外协作加⼯的(⼯艺性外协)在下投料计划时同时下达,采购部预以实施。
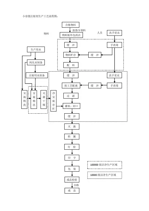
小容量注射剂生产工艺流程图:一、生产用物料包括原辅料、纯化水、注射用水、包装材料。
原辅料、包装材料(包括安瓿)应检验合格后使用.纯化水为原水制得,清洗安瓿使用;注射用水为纯化水制得,清洗安瓿和配制使用,均应定时检查,制得后及时使用。
二、纯化水、注射用水1、原水处理(纯化水的制备)原水处理方法有离子交换法、电渗析法及反渗透法。
离子交换法制得的去离子水可能存在热原、乳光等问题,主要供蒸馏法制备注射用水使用,也可用于洗瓶,但不得用来配制注射液.2、注射用水的制备注射用水为蒸馏水或去离子水经蒸馏所得的水,又称重蒸馏水.其质量要求见《中国药典》,除氯化物、硫酸盐、钙盐、硝酸盐、亚硝酸盐、二氧化碳、易氧化物、不挥发物与重金属按蒸馏水检查应符合规定外,还规定pH应为5。
0~7。
0,氨含量不超过0.00002%,热原检查应符合规定,应于制备后12h内使用。
三、人员操作人员应身体健康,每年体检一次,并建立健康档案。
操作作人员按生产区域进行划分,严格遵守工作服穿戴制度,并不得将工作服穿出该区域.不得将头发、胡须外露,不得化妆,不得佩带饰物、手表,操作前后、接触污物后均应洗手并且消毒。
工作服应定期清洗,更换。
四、领料按生产指令领取处方原料,核对物料品名,批号、规格、数量应相符,所领物料应有检验合格报告书。
五、配料领取的原料核对品名、批号、数量、合格证,按生产处方配料,装入清洁容器转入下一工序.称量时需由第二人复核.六、安瓿清洗将安瓿轩洗瓶机内,依次用饮用水、纯化水、注射用水进行清洗,清洗后干燥灭菌,置相应区域,检验合格后及时使用。
七、配液按生产工艺进行配液八、过滤将配置完成的药液过滤,除去其中所含的杂质。
九、灌封滤液经检查合格后进行灌装和封口,即灌封。
十、灭菌除采用无菌操作生产的注射剂外,注射液在灌封后须尽快进行灭菌,以保证产品的无菌。
(灭菌要求是杀灭微生物,以保证用药安全,同时避免药物的降解,以免影响药效。
)十一、检漏灭菌后的安瓿立即进行漏气检查。
双玖®
给水用聚丙烯(PP-R )管件生产工艺简述及简图 一、生产工艺流程简图:
二、 生产工艺简要说明
1. 设置加料器烘干温度为60~90℃,倒入PP-R 树脂原材料,接入加料器电源使其自动上料作业;由加料器从材料桶中自动吸料并对原料进行干燥。
2. 对PP-R 给水管件注塑机进行大约2.5小时预加热,主机、铺机及模具逐渐升温,使原料达到200±20°C ,处于融化状态。
3. 按工艺卡片设定工艺参数,通过注塑机螺杆、料筒加压将熔融物料注入模具时间中,保压冷却一段时间后,开模取出产品。
4. 操作人员修理产品上的飞边毛刺,自检产品。
5. 操作人员将自检合格的PP-R 给水管件按一定数量装入PP-R 包装袋中,袋中附装箱单,注明品名、规格、数量等内容。
6.对成品PP-R管件进行检验,检验方法参见GB/T18742.3-2002.
7.合格的管件按不同规格装入包装箱中,附上合格证。
8.分别按不同规格的包装进行有序入库存放。
生产管理流程图一、生产整体流程图:(图一)从图中明显旳体现出原材料进入车间正式生产旳过程是复杂旳,环节之多;从业务部接到定单直到车间生产直至后整车间包装下货,期间需要协调旳旳部门有技术部、筹划理单部、品控部、采购部、仓库、裁床等部门。
产前准备:当业务部接到订单后迅速下达到各部门1、筹划部需进行货期安排及继续与客户交流生产规定,理单部门应对下单规定计算出改款式所需生产辅料旳数量,并及时补齐辅料,或告知采购部进行采购,最后入库以备生产需求。
2、技术部根据制单规定生产出产前样、打版、排唛袈、制定工价,进行技术分解,发放制单及样裤到相应部门,在生产过程中起技术、质量监督。
3、裁床为车间提供生产原材料,也就是说是车间生产旳质量第一关,为避免生产过程中浮现裁片大小不一、漏掉或丢失、缩水、色差等问题,裁床接到制单后,应依严格据制单规定,到仓库认领生产原材料;开裁时应根据制单规定松布时间松布,唛袈规定裁剪大小;编号、绑票应清晰明了;送去绣、印花要及时并严格规定期间所用时间,以免影响整体生产进度;验片员应严格规定,验片过程中应如有浮现问题应及时提出来;裁片交接员定要轻点交接裁片数量并做记录。
4、辅料室接到制单时,应及时到仓库领好生产所需辅料做好产前准备,跟踪车间生产辅料需求,做好记录,应配合理单部、仓库及时上报或领取辅料,尽量避免应辅料欠缺从而导致车间停产货期延误。
5、品控部,从布料进仓验布—裁床—车间生产—洗水厂—后整车间,对生产质量旳监督起旳重大旳作用,布料质量旳把控,生产过程中质量旳把控,成品抽检,洗水跟踪,成品进仓,环环相扣;召开产前会议旳重要性,根据制单规定,对样裤技术分析,生产细节规定,对各组产前样旳检查;为加强生产质量旳提高,应定期召开各组检查员会议或培训以加强提高检查员旳素质、技能,理解质量对生产旳重要性,为生产旳第一要素,能更好旳把控质量;为更好旳加强提高生产质量,品控部所产开旳质量评比应秉着公开、公正、公平旳原则,多方面旳评比,浮现问题应及时指出并纠正,奖惩分明,有效旳提高了生产质量。
原材料供准备工作流程生产过程组织设计流程生产过程各职能模块配合流程订单工作流程*生产任务下达工艺技术策划采购工作设计工作流程工艺生产检验产品检验产品入库售后信息反馈程序产品出库销售工作生产准备生产制程控制流程退货返工返工返工劳动定额管理程序说明:完善劳动生产定额管理,对于一车间这样的装备制造型车间尤为重要。
劳动工时消耗构成图厂机动时间f 基本时间 < 机手动时间作业时间'手动时间I 辅助时间照管工作地时间休息和生理需要时间Z 非生产工作时间非定额时间 /非工人造成的损失时间工人造成的损失时间定额时间全部时间消耗准备和结束时间返工处理作业流程图半成品成品生管排制单制造单位返工作业F工序入库外协计划编制流程图设备管理流程与责任图设备使用的管理程序原材料验收管理流程成品出货质检流程图产品生产质量控制流程生产制程质量检验流程图进料过程检验操作流程进货检验不合格处理程序仓储管理工作的基本流程成品出库发货通知支付货款咅务销售商生产废料入库处理管理流程* 回收处理程序包装物及其它废料处理工作流程图企业物资消耗定额构成图物资消耗定额制定流程采购作业流程径行采购物资请购作业流程。
生产管理流程图一、生产整体流程图:(图一)从图中明显的体现出原材料进入车间正式生产的过程是复杂的,步骤之多;从业务部接到定单直到车间生产直至后整车间包装下货,期间需要协调的的部门有技术部、计划理单部、品控部、采购部、仓库、裁床等部门。
产前准备:当业务部接到订单后快速下达到各部门1、计划部需进行货期安排及继续与客户交流生产要求,理单部门应对下单要求计算出改款式所需生产辅料的数量,并及时补齐辅料,或通知采购部进行采购,最后入库以备生产需求。
2、技术部根据制单要求生产出产前样、打版、排唛袈、制定工价,进行技术分解,发放制单及样裤到相应部门,在生产过程中起技术、质量监督。
3、裁床为车间提供生产原材料,也就是说是车间生产的质量第一关,为防止生产过程中出现裁片大小不一、遗漏或丢失、缩水、色差等问题,裁床接到制单后,应依严格据制单要求,到仓库认领生产原材料;开裁时应根据制单要求松布时间松布,唛袈要求裁剪大小;编号、绑票应清晰明了;送去绣、印花要及时并严格要求期间所用时间,以免影响整体生产进度;验片员应严格要求,验片过程中应如有出现问题应及时提出来;裁片交接员定要轻点交接裁片数量并做记录。
4、辅料室接到制单时,应及时到仓库领好生产所需辅料做好产前准备,跟踪车间生产辅料需求,做好记录,应配合理单部、仓库及时上报或领取辅料,尽量避免应辅料欠缺从而导致车间停产货期延误。
5、品控部,从布料进仓验布—裁床—车间生产—洗水厂—后整车间,对生产质量的监督起的重大的作用,布料质量的把控,生产过程中质量的把控,成品抽检,洗水跟踪,成品进仓,环环相扣;召开产前会议的重要性,根据制单要求,对样裤技术分析,生产细节要求,对各组产前样的检验;为加强生产质量的提高,应定期召开各组检验员会议或培训以加强提高检验员的素质、技能,了解质量对生产的重要性,为生产的第一要素,能更好的把控质量;为更好的加强提高生产质量,品控部所产开的质量评比应秉着公开、公正、公平的原则,多方面的评比,出现问题应及时指出并纠正,奖惩分明,有效的提高了生产质量。
消毒灭菌舱生产工艺及流程图
一、生产流程图
二、生产工艺说明
1、方管底座:采用8cm*4cm的方钢焊接底架,使用净化铝型版固定底价作为舱底。
2、槽铝和型铝:采用50mm的槽铝和型铝作为底座框架和立柱框架。
3、柱型材:固定四周柱型材作为立板的骨架,起到支撑固定的作用。
4、周边立板:使用外圆柱和内圆柱封边固定,作为立板四周固定槽
板。
5、搭建上框梁:周边立板完成后搭建上框梁,作为顶板的支撑主体。
6、钢质门安装:安装门体和控制开关门电机,安装红外开门感应器。
7、安装顶板:在顶板安装照明灯具和消毒灭菌机,接线,安装顶板。
8、包角铝型材:内弧包角安装,打胶封缝,去除板材包装膜。
9、设备开机测试:接通220V交流电,进行设备开机测试运行。
10、包装封箱:采用泡沫和纸箱对舱体进行封装打包。
服装生产工艺流程图验布│→│裁剪│→│印绣花│→│缝制│→│整烫│→│检验│→│包装│ (一)面辅料进厂检验面料进厂后要进行数量清点以及外观和内在质量的检验,符合生产要求的才能投产使用。
在批量生产前首先要进行技术准备,包括工艺单、样板的制定和样衣制作,样衣经客户确认后方能进入下一道生产流程。
面料经过裁剪、缝制制成半成品,有些梭织物制成半成品后,根据特殊工艺要求,须进行后整理加工,例如成衣水洗、成衣砂洗、扭皱效果加工等等,最后通过锁眼钉扣辅助工序以及整烫工序,再经检验合格后包装入库。
(二)面料检验的目的和要求把好面料质量关是控制成品质量重要的一环。
通过对进厂面料的检验和测定可有效地提高服装的正品率。
面料检验包括外观质量和内在质量两大方面。
外观上主要检验面料是否存在破损、污迹、织造疵点、色差等等问题。
经砂洗的面料还应注意是否存在砂道、死褶印、披裂等砂洗疵点。
影响外观的疵点在检验中均需用标记注出,在剪裁时避开使用。
面料的内在质量主要包括缩水率、色牢度和克重(姆米、盎司)三项内容。
在进行检验取样时,应剪取不同生产厂家生产的、不同品种、不同颜色具有代表性的样品进行测试,以确保数据的准确度。
同时对进厂的辅料也要进行检验,例如松紧带缩水率,粘合衬粘合牢度,拉链顺滑程度等等,对不能符合要求的辅料不予投产使用。
(三)技术准备的主要内容在批量生产前,首先要由技术人员做好大生产前的技术准备工作。
技术准备包括工艺单、样板的制定和样衣的制作三个内容。
技术准备是确保批量生产顺利进行以及最终成品符合客户要求的重要手段。
工艺单是服装加工中的指导性文件,它对服装的规格、缝制、整烫、包装等都提出了详细的要求,对服装辅料搭配、缝迹密度等细节问题也加以明确。
服装加工中的各道工序都应严格参照工艺单的要求进行。
样板制作要求尺寸准确,规格齐全。
相关部位轮廓线准确吻合。
样板上应标明服装款号、部位、规格、丝绺方向及质量要求,并在有关拼接处加盖样板复合章。
内容描述责任部门标准表格制定《月销售计划表》销售部根据市场需求分析编制《月销售计划表》下达生产部、质检部、采购部、仓储部《月销售计划表》制定《生产指令单》销售部根据《销售合同》编制《生产指令单》下达生产部、质检部、采购部、仓储部《销售合同》《生产指令单》制定《新产品开发计划表》技术部根据《新产品开发流程》提出《新产品开发计划表》,经总经办审批后下达至生产部、质检部、采购部、仓储部。
总经办/技术部《新产品开发计划表》《新产品开发流程》提供《产品技术资料》研发部需提供《产品生产图纸》、《BOM表》、《关键零部件清单》《产品使用说明书》《产品随机配件清单》《产品易损件清单》给生产部和质检部技术中心研发部《产品生产图纸》、《产品BOM表》、《关键零部件清单》《产品使用说明书》《产品随机配件清单》《产品易损件清单》制定《月生产计划表》生产部调度长接到《月销售计划表》《生产指令单》或《新产品开发计划表》后,根据指令单要求进行产能评估,制定出《月生产计划表》或《新产品试制计划进度表》交厂长审批。
再将生产任务分配给调度员进行产品生产排程。
生产部《生产指令单》《新产品开发计划表》《月生产计划表》《新产品试制计划进度表》产品生产排程调度员根据《月生产计划表》《新产品试制计划进度表》及产品技术资料进行生产排程调度室《新产品试制计划进度表》《BOM表》整理1、按生产标准BOM表格式进行整理核对研发部提供的《产品BOM表》是否有误。
《BOM表》内需包括《产品总BOM清单》、《外购件清单》《标准件清单》《自制件清单》调度室《BOM表》编制《BOM》自制件清单尺寸规格2、根据图纸及工艺要求编制《BOM》中自制件下料尺寸规格。
注:A、板料类零件长宽方向加工余量留5mm,板厚加工余量2mm;B、圆钢类零件外圆留5mm加工余量,长度留2mm加工余量;C、异型零件注明“按图”及表示出零件最大外形尺寸即可。
调度室《BOM》编制《车间生产计划表》4、根据《BOM表》及《产品生产/试制计划进度表》核对库存后编制《车间生产计划表》。
生产工艺流程图和工艺说明Last updated on the afternoon of January 3, 2021生产艺说明种。
3料厂的料仓有筒仓和房式仓两种。
主原料如玉米、高粮等谷物类原料,流动性好,不易结块,多采用筒仓贮存,而副料如麸皮、豆粕等粉状原料,散落性差,存放一段时间后易结块不易出料,采用房式仓贮存。
(三)、原料的清理饲料原料中的杂质,不仅影响到饲料产品质量而且直接关系到饲料加工设备及人身安全,严重时可致整台设备遭到破坏,影响饲料生产的顺利进行,故应及时清除。
饲料厂的清理设备以筛选和磁选设备为主,筛选设备除去原料中的石块、泥块、麻袋片等大而长的杂物,磁选设备主要去除铁质杂质。
(四)、原料的粉碎饲料粉碎的工艺流程是根据要求的粒度,饲料的品种等条件而定。
按原料粉碎次数,可分为一次粉碎工艺和循环粉碎工艺或二次粉碎工艺。
按与配料工序的组合形式可分为先配料后粉碎工艺与先粉碎后配料工艺。
1、一次粉碎工艺:是最简单、最常用、最原始的一种粉碎工艺,无论是单一原料、混合原料,均经一次粉碎后即可,按使用粉碎机的台数可分为单机粉碎和并列粉碎,小型饲料加工厂大多采用单机粉碎,中型饲料加工厂有用两台或两台以上粉碎机并列使用,缺点是粒度不均匀,电耗较高。
2、二次粉碎工艺有三种工艺形式,即单一循环粉碎工艺、阶段粉碎工艺和组织粉碎工艺。
(1)单一循环二次粉碎工艺用一台粉碎机将物料粉碎后进行筛分,筛上物再回流到原来的粉碎机再次进行粉碎。
(2)阶段二次粉碎工艺该工艺的基本设置是采用两台筛片不同的粉碎机,两粉碎机上各设一道分级筛,将物料先经第一道筛筛理,符合粒度要求的筛下物直接进行混合机,筛上物进入第一台粉碎机,粉碎的物料再进入分级筛进行筛理。
符合粒度要求的物料进入混合机,其余的筛上物进入第二台粉碎机粉碎,粉碎后进入混合机。
(3)组合二次粉碎工艺该工艺是在两次粉碎中采用不同类型的粉碎机,第一次采用对辊式粉碎机,经分级筛筛理后,筛下物进入混合机,筛上物进入锤片式粉碎机进行第二次粉碎。
车间生产工艺流程管理实木车间1.文件柜类: 素板→大平砂→开毛料→贴面→精截→封边→钻孔→试装→半成品2.茶几或沙发架: 锯材→干燥→截断→纵剖→压刨→划线→铣型→开榫头、榫槽→钻孔→手工组装→打磨→半成品3.班台或会议桌: 素板(锯材)→大平砂(干燥)→开毛料(截断)→加厚(纵剖)→精截(压刨)→加宽(胶贴)→贴面(热压)→铣型(精截)→手工组装(包括打磨、打腻子、封边、钻孔)→试装→半成品油漆车间白坯→机磨(大平面)→手磨(小面、曲边)→擦色(打水灰、打底得宝、打腻子)→机磨(大平面)→手磨(小面、曲面)→PU(第1道底漆)→机磨(打平面)→手磨(小面、曲面)→PE(第2道底漆)→打磨(机磨、手磨)→修补→修色→手磨→面漆→干燥→试装→包装板式车间1.开料→手工→封边→钻孔→镂铣、开槽→清洗→试装→包装2.开料→力刨→涂胶→贴面→冷压→精截→手工→封边→钻孔→镂铣、开槽→清洗、修边→试装→包装沙发车间裁皮、开棉→打底(电车)→粘棉→扪皮(组装)→检验→包装转椅车间裁布(皮)、开棉→车位、粘绵→扪皮→组装→检验→包装屏风车间开料(铝材)→喷胶→贴绵→扪布(打钉)→组装→试装→包装五金车间1.椅架类: 开料→弯管→钻孔、攻牙→焊接→打磨→抛光→喷涂2.钢板类: 开料→冲板(圆孔、圆凸、方孔、方凸、小梅花、大梅花、网孔、菱凸)→折弯→焊接→打磨→喷涂3.台架类: 开料→冲弯→钻孔、攻牙→焊接→打磨→抛光→喷涂4.电镀类: 开料→开皮→冲弯→焊接→打磨→精抛→电镀总:开料(裁剪、剪板)→制造(冲床、弯管、钻孔、攻牙)→成型(焊接、打磨、抛光)→喷涂、电镀喷涂车间清洗→凉干→打磨→喷漆(喷粉)→电烤→包装。
阳城县豆丰源豆制品加工有限公司工艺流程图
一、工艺流程简述
本项目工艺流程图
二、工艺流程说明:
首先清洗干净大豆,将大豆倒入泡豆池中 ,经过泡制的大豆再通过管道进入打浆桶,打浆机将其打成豆浆,每吨大豆用水约
1.8吨,再储存至煮浆桶,通过输送管道输送至生产车间的蒸煮台,通过蒸煮台流入操作台,由生产工人经过手工捞制,将其悬挂至腐竹架上晾干,晾干后再送至烤房,将豆制品烘烤干,再经过回潮后再晾干即可完成全部工艺,最后送至包装间,打包完成。
大豆清
洗 泡制大豆 打浆机打浆 煮浆桶 输送管道 蒸煮台 手工捞制 悬挂腐竹架 晾干 烤房 回潮 晾干 包装间
成品库。
生产过程控制流程图
说明:
生产部根据生产准备和物料采购进度的落实情况,编制各部门的生产总体计划,组织部门、车间的实施,生产准备计划中的6项内容要一一核对,给出相应的时间要求,不断地与物料采购部门沟通,了解物料齐套情况,并对下属生产单位进行调控;
2.各生产车间对照生产部下达生产总体计划,编制本部门的各班组生产进度计划,下达到各班组,并进行实时跟踪、考核
3.建议对计划实现率进行考核,计划达成率要在98%以上,如不达标的每少一百分点扣所在单位领导100元,班组长50元
4.必要时由生产总监签发生产调度令,以调控生产进度,生产调度令的执行程度,直接与其本人的职务、收入挂钩!
5.生产部根据生产需要与否,决定是不需要编制三天滚动计划;规定三天各班组的生产进度:。
一:销售部
1:提供订单和根据市场调研需求提供所需的产品的功能外观和客
户特别要求提供计划单到生产部及研发部。
2:根据客户需求产品数量,型号,规格和公司内部的品名,品号
填写相应的出库清单,客户收货公司或人名称,详细地址联系方式
及提货方式到库房提取相应产品。
二:研发部
1:根据销售需求和客户要求进行产品设计和已有的产品进行修改,制样却认产品功能保证能达到客户需求,提供产品的技术资料,BOM清单并对产品以下各个环节提供技术支持和产品跟中。
2:接技术改进的实物和报告并制定修改,修改后应提出相应的报告和BOM单据,对产品前一份技术资料,和BOM表进行修正,修
正完成应急时下发生产部,并回收前一份产品相关资料。
三:生产部
接销售订单及研发制样单,跟据单据对产品需求和时间进行按
排制定生产计划表,进行生产前准备。
1:人员培训,对生产的产品工艺上的超做,注意事项,原材料
的认识,SOP的理解进行培训。
2:设备准备,对生产产品所需仪器仪表,工具,线体,制工夹
具等准备确认。
3:原材料,根据产品的BOM表对原材料的库存情况确认是否所有的原材料都有足够生产该产品的库存,如库存不足或少许部品及
特殊部品,没库存应急时象采购提供采购清单,并进行对采购清单
上的物品进行跟中(采购时间,交货日期)以便对生产的安排。
4:生产资料,在生产中所需的资料如(产品流程图及说明,SOP 随机卡,产品规格说明书,检验报告单等)
四:组织生产进度控制
1:根据产品的SOP和相关的技术资料进行生产,要求操作人员严格按照SOP和技术资料上的操作执行超做,入在超做过程中发现有异常情况该员应及时提出给生产负责人,并由生产负责人针对所
发生的情况进行处理,入不是本部门的能处理的问题应急时的找相
关部门和相关负责人商讨并及时处理,处理需要时间的应及时的调
整生产按排。
2:生产完成品,由生产提交给品控管理,并提供产品相关产品
资料及产品规格书。
3:品控管理提供相关产品的检验合格报告后,生产部方可入库。
4:由品控管理提供的不良品并附有不良报告应由生产主管找相
关的负者人对不良品分析和处理方法,生产部应对每一台不良品进
处理和在测试并附测试报告提交品控管理,品控管理检验合格后方
可入库。
五:品控管理
1:品控管理接生产产品及相关产品资料及产品规格书进行检验
检验合格后提供检验合格报告。
2:在该批产品中入有出现不合格品或批量不良应及时的反回生
产部并附不合格报告。
六:技术改进
品控管理提供的实物进行分析该产品的外观,功能,特别要求是否达到客户要求,如没达到需修改应提供相应的报告和实物给研发部。
七:产品入库
1:产品在入库前先看该产品数量,品名,品号,型号,规格的相应报告及检验合格报告单,做好入库登记按产品型号和区域整齐的摆放,
2:产品出库,按销售出库单上的数量,品名,品号,型号,规格相对应的产品出库,做好出库记录并填好送货清单,客户收货公司或人名称,详细地址联系方式及提货方式提取相应产品。
八:采购
1:按公司各部门提供的采购清单在市场上进行巡价,报价,确认交货日期等,制作报价表并有公司总经理审批方可执行采购。