民政局业务工作流程图
- 格式:doc
- 大小:86.50 KB
- 文档页数:8
民政局办事流程图(1)、办理结婚登记行政许可流程图(2)、办理离婚登记行政许可流程图(3)、办理地名命名更名行政许可流程图(4)、办理社会团体登记行政许可流程图(5)、办理收养登记行政许可流程图目录一、政务公开事项1、应当公开事项 (4)1.1 民政局工作职能…………………………………………………………111.2 内部机构的设置及职责…………………………………………………121.3 机关机关工作人员姓名、照片及岗位职责……………………………142、重点公开事项 (4)2.1 社会团体登记……………………………………………………………172.2 社会团体分支机构、代表机构变更登记………………………………182.3 社会团体分支机构、代表机构注销登记………………………………192.4 社会团体修改章程核准…………………………………………………192.5 社会团体分支机构、代表机构设立登记………………………………202.6 民办非企业单位登记……………………………………………………212.7 民办非企业单位登记事项变更登记……………………………………222.8 民办非企业单位修改章程核准…………………………………………222.9 民办非企业单位注销登记………………………………………………232.10 社会福利企业的初审、上报……………………………………………242.11 结婚登记…………………………………………………………………252.12 离婚登记…………………………………………………………………252.13 收养登记…………………………………………………………………262.14 地名命名、更名…………………………………………………………272.15 县城公墓使用……………………………………………………………272.16 城市居民最低生活保障审批……………………………………………282.17 农村居民最低生活保障审批……………………………………………292.18 残疾军人残疾等级鉴定审批……………………………………………302.19 复退军人、“三属”享受定补、抚恤审批 (30)2.20 革命烈士审批……………………………………………………………312.21 退伍士兵接收……………………………………………………………322.22 优待安置证审批发放……………………………………………………332.23 农村五保户审批…………………………………………………………332.24 农村贫困户大病医疗救助审批…………………………………………342.25 城市困难居民重大疾病医疗救助审批…………………………………352.26 村(居)民委员会设立、撤销、范围调整 (35)2.27 遗属补助审批……………………………………………………………362.28 一次性抚恤金审批………………………………………………………373、本单位确定公开事项 (9)3.1 基本规则…………………………………………………………………383.2 工作制度…………………………………………………………………383.3 政务公开制度……………………………………………………………393.4 首办责任制………………………………………………………………393.5 办事接待制度……………………………………………………………403.6 信访工作制度……………………………………………………………403.7 廉政建设制度……………………………………………………………413.8 财务管理制度……………………………………………………………414、本单位确定对内公开事项………………………………………………10二、行政职权运行流程图1、社会团体登记流程图……………………………………………………432、民办非企业单位登记流程图……………………………………………443、社会福利企业年检流程图………………………………………………454、社会福利企业初审、上报流程图………………………………………465、申请办理城市低保流程图………………………………………………476、申请办理农村低保流程图………………………………………………487、残疾军人残疾等级鉴定审批流程图……………………………………498、革命烈士审批流程图……………………………………………………509、退伍军人接收安置流程图………………………………………………5110、复退军人、三属享受定补抚恤流程图…………………………………5211、农村五保审批流程图……………………………………………………5312、农村贫困家庭大病医疗救助审批流程图………………………………5413、城市困难居民重大疾病医疗救助流程图………………………………5514、村(居)民委员会设立、撤销、范围调整流程图 (56)15、收养登记流程图…………………………………………………………57一、应当公开事项:二、重点公开事项:三、确定公开事项:四、确定对内公开事项:一、应当公开事项附件1 :民政局工作职能一、拟定全县民政工作的政策、法规和规章,研究提出全县民政事业发展规划和年度计划,并负责组织实施和监督检查。
行政事业单位收入业务管理流程图1.收入登记及入账流程流程节点说明及输出要求:2.非税收入收取及缴库流程流程节点说明及输出要求:序流程步骤流程描述输出文档控制要素责任岗位责任科室3.支出事前申请及审批流程流程节点说明及输出要求:4.用款计划申请及审批流程流程节点说明及输出要求:科室进行用款执4 用款执行, 审批意见根据用款计划申请书的事项、金额、用款人,用款计划执行各科室5.借款申请及审批流程流程节点说明及输出要求:序流程步骤流程描述输出文控制要素责任岗责任科6.报销申请及审批流程流程节点说明及输出要求:.财政直接支付申请及审批流程流程节点说明及输出要求:财政直接支付入账通知书7送达财政直接支付凭证10账务处理序流程步骤流程描述输出文档控制要素责任岗位责任科室8.财政授权支付申请及审批流程流程节点说明及输出要求:序流程步骤流程描述输出文档控制要素责任岗责任科9.财政票据申领流程流程节点说明及输出要求:序流程步骤流程描述输出文档控制要素责任岗责任.财政票据核销流程财政票据核销流程图1票据核销申请在票据系统中打印核销申请表4登记造册■■流程节点说明及输出要求:销毁票票据管理岗在登记财政票据销毁簿后销毁票据时需在县财政局监督下进行据对相应财政票据进行销毁11 .公务卡报销及还款流程票据管理岗规划财务科公务卡报销及还款流程图规划财务科公务卡销序 号流程步骤流程描述输出文档控制要素责任岗位责任科室1提出申请持卡人拿原始凭证提出公务卡报销原始凭证报销单持卡人应提供真实的原始发票,本人签字的POS 单复印件等报销凭证。
持卡人2审核财务负责人审核公务卡原始凭证报销单审核报销凭证登记手续、现金消费金额、刷卡消费金额及时间,公审核岗规划财结束公 务 卡 款 5出纳岗进行支付处理6还款明细表和授权支付凭证7公务卡还款账务处理 流程节点说明及输出要求:12.会计档案建立与保管流程8审核9审批结束开始1收集档案资料2整理归档、装订成册、编号3编制会计档案目录清单4会计档案 5会计档案移交清单6会计档案存档7短期档案逾期销毁申请10销毁流程节点说明及输出要求:13 .会计档案借阅、归还流程销毁时必须有根据《会计档案管理办法》第十八条的相关规定,单位档案管理机构负责组织会计档案销毁 销毁监销11两人以上监销,工作,并与会计管理机构共同派员监销。
民政部关于印发民政部机关服务中心职能配置、内设机构和人员编制方案的通知正文:---------------------------------------------------------------------------------------------------------------------------------------------------- 民政部关于印发民政部机关服务中心职能配置、内设机构和人员编制方案的通知(民人发[1994]20号1994年7月6日)各司(局),各直属单位:《民政部机关服务中心职能配置、内设机构和人员编制方案》经1994年7月4日部党组会议研究批准,现予印发。
民政部机关服务中心职能配置、内设机构和人员编制方案根据《国务院各部门后勤机构改革实施意见》(中编办[1993]33号)的精神,结合民政部实际情况,制定民政部机关服务中心职能配置、内设机构和人员编制方案如下:一、机关后勤机构改革的基本原则、目标和主要内容根据国务院机构改革的总体要求,我部机关后勤机构改革的基本原则是:坚持政事职责分开和精简、统一、效能的原则,实行管理职能和服务职能分开,精简机构和编制;坚持为机关服务的宗旨,正确处理内外两方面服务的关系,不断提高管理水平和服务质量,保障机关职能活动的开展;适应社会主义市场经济发展的要求,以社会化为目标,转换后勤服务单位运行机制,减轻国家财政负担。
我部机关后勤机构改革要以机关后勤服务社会化为目标,根据具体情况分步实施。
第一步,使后勤服务部门与机关行政序列脱钩,改为事业单位,列支机关事业经费。
服务以机关为主,并与机关建立经济核算关系,实行多种形式的承包经营责任制,独立核算。
第二步,在保障机关服务的前提下,实行定额补贴,对机关进行有偿服务。
第三步,经营服务实体打破部门界限,逐步实现机关后勤服务社会化,条件成熟可自收自支,实行企业化管理。
遵循上述原则,为实现后勤机构改革的目标,当前我部机关后勤机构改革的主要内容是:(一)改革机关后勤服务机构。
民政局的工作沟通协调工作沟通协调是民政局日常工作中至关重要的一环。
通过有效的沟通和协调,能够促进工作的顺利进行,提高工作效率,减少冲突和误解,确保公共利益得到最大化的实现。
本文将从工作沟通方式、沟通渠道、沟通协调中的问题以及解决方案等方面进行探讨。
1. 工作沟通方式工作沟通方式是工作沟通的基础,选择合适的沟通方式对工作的高效性和准确性起着重要作用。
在民政局的工作中,常用的沟通方式包括面对面沟通、电话沟通和书面沟通。
面对面沟通是最直接、高效的沟通方式之一。
民政局的工作人员可以通过面对面的交流,实时解决工作中的问题,避免信息传递过程中的误解。
电话沟通是一种快捷高效的沟通方式,在快速解决问题和紧急情况下尤为重要。
民政局的工作人员可以通过电话与其他部门或相关单位进行沟通,迅速达成共识和决策。
书面沟通是正式、明确、留有记录的沟通方式。
在民政局的工作中,常常需要书面文件来明确工作要求、责任和流程。
书面沟通确保了工作的准确性和一致性。
2. 沟通渠道沟通渠道的畅通与否直接影响着工作的沟通效果和效率。
为了保证民政局的工作沟通能够顺利进行,建议在以下几个方面进行改进:信息化管理系统:建立健全的信息化管理系统,实现内部各部门之间的信息共享和协同工作。
通过信息化系统,可以减少信息丢失和传递不畅造成的问题,提高工作的响应速度和质量。
会议组织:定期组织工作会议,加强沟通和协调。
会议可以为工作人员提供一个交流和讨论的平台,及时解决工作中的问题,确保工作的顺利进行。
部门间协作:加强不同部门之间的沟通和协作。
民政局的工作涉及多个部门,需要各部门之间的协调配合,共同推动工作的进展。
3. 沟通协调中的问题在工作沟通协调过程中,常常会遇到一些问题,例如信息传递不畅、沟通方式不当、责任不明确等。
这些问题如果不及时解决,将会对工作产生负面影响。
信息传递不畅可能会导致工作的延误和错误。
为了解决这个问题,建议建立明确的信息传递渠道和规范的沟通流程,确保信息的准确传递和及时反馈。
社会组织工作流程一、社会团体成立登记办事指南(一)许可依据:《社会团体登记管理条例》;(二)许可对象:社团发起人:包括自然人、企事业单位与其她组织;(三)法定期限:受理之日起30个工作日;(四)承诺期限:受理之日起25个工作日;(五)许可条件:1、有50个以上的个人会员或者30个以上的单位会员;个人会员、单位会员混合组成的,会员总数不得少于50个;2、有规范的名称与相应的组织机构;3、有固定的住所;4、有与其业务活动相适应的专职工作人员;5、有合法的资产与经费来源,全国性的社会团体有10万元以上活动资金,地方性的社会团体与跨行政区域的社会团体有3万元以上活动资金;6、有独立承担民事责任的能力。
(六)许可程序:1、拟成立的社会团体发起人向民政局申请社会团体核名:提交核名报告、核名申请表、主要发起人或发起单位情况表与发起人在领域内的影响力情况材料(行业协会注册需6家在工商注册2年以上并正常开展业务的在本地从事本行业业务的企业或个体工商户做为发起人)。
2、民政局在7个工作日内(民政局向上级部门或相关单位征询意见期间不计入办理期)决定通不通过核名。
通过核名的发给核名通知书。
3、社会组织发起人收到《通过核名通知书》后,应在6个月内积极发展会员、制定章程、拟定领导班子、召开第一次会员大会(会员代表大会),向登记管理机关提交成立登记材料:成立登记申请书;住所使用权属材料;《社会团体法人登记申请表》;《社会团体法定代表人登记表》;《社会团体章程核准表》及社会团体章程(含电子版);《社会团体负责人备案表》及社会团体负责人身份证复印件与社会团体法定代表人无犯罪记录证明;会员签名名册;会员大会或会员代表大会会议记录;验资报告等。
4、民政局在收到社团申请成立的全部有效材料后30日内做出批不批准成立的决定。
批准成立的发给批准成立批文。
5、社会团体在拿到批准成立的文件后须在60日内刻制印章与向登记机关办理备案。
6、民政局在收到验备案材料后30日内发给《社会团体法人登记证书》。
三项制度流程图朔城区民政局2020.5目录一、行政执法事项清单 (3)1. 行政许可执法事项清单(共7项) (3)2. 行政确认执法事项清单(共7项) (10)3. 行政给付执法事项清单(共9项) (17)4. 行政奖励执法事项清单(共1项) (26)5. 行政处罚执法事项清单(共6项) (27)6. 其他行政执法事项清单(共2项) (33)二、行政执法事项服务指南 (35)社会团体成立、变更、注销登记事项服务指南 (35)社会团体修改章程核准事项服务指南 (38)民办非企业单位成立、变更、注销登记事项服务指南 (40)民办非企业单位修改章程核准事项服务指南 (43)地名命名、更名、登记审批事项服务指南 (45)建设殡仪馆、火葬场、殡仪服务站、骨灰堂、经营性公墓、农村公益性墓地审批事项服务指南 (47)公开募捐资格审核事项服务指南 (50)三、事项清单流程图 (52)社会团体成立登记流程图 (52)社会团体变更登记流程图 (53)社会团体修改章程核准流程图 (54)社会团体注销登记流程图 (55)民办非企业单位成立登记流程图 (56)民办非企业单位变更登记流程图 (57)民办非企业修改章程核准流程图 (58)民办非企业单位注销登记流程图 (59)养老机构设立许可流程图 (60)养老机构变更许可流程图 (61)养老机构注销许可流程图 (62)社会福利机构的设立、变更、合并及解散许可流程图 (63)非公募基金会成立登记流程图 (64)非公募基金会变更登记流程图 (65)非公募基金会修改章程核准流程图 (66)非公募基金会注销登记流程图 (67)城乡居民最低生活保障金给付图 (68)对孤儿基本生活保障金的给付流图 (69)城市生活无着流浪乞讨人员救助图 (70)临时救助金给付流程图 (71)结婚登记流程图 (72)离婚登记流程图 (73)收养登记流程图 (74)地名的命名、更名以及标准地名的使用流程图 (75)殡仪馆、火葬场、殡仪服务站、骨灰堂等殡葬设施建设的审核转报和农村公益性墓地审批流程图 (76)补发结/离婚证流程图 (77)孤儿生活费的给付运行流程图 (78)公开募捐资格审核流程图 (79)城乡困难群众临时救助申请办理流程 (80)最低生活保障金给付运行流程图 (81)特困人员供养权力运行流程图 (82)特殊救济对象补助金流程图 (83)老年人福利补贴 (84)志愿者星级评定 (85)慈善组织公开募捐资格认定流程图 (86)特困人员认定运行流程图 (87)临时救助对象认定运行流程图 (88)撤销婚姻登记流程图 (89)四、行政执法(监督)人员 (90)一、行政执法事项清单1.行政许可执法事项清单(共7项)2.行政确认执法事项清单(共7项)3.行政给付执法事项清单(共9项)4.行政奖励执法事项清单(共1项)5.行政处罚执法事项清单(共6项)。
一、杭州市民政局社会团体筹备成立流程图二、杭州市民政局民间组织成立登记流程图三、杭州市民政局民间组织变更登记流程图四、杭州市民政局民间组织注销登记流程图五、杭州市民政局社会团体分支机构(代表机构)设立登记流程图六、杭州市民政局社会团体分支机构(代表机构)注销登记流程图七、杭州市民政局建设殡仪服务设施审批流程图八、杭州市民政局公益性骨灰安葬(放)设施的审批流程图九、杭州市民政局民间组织年检工作流程图十、杭州市民政局备案社会团体(法律规定)办理流程图十一、杭州市民政局民间组织备案事项流程图十二、杭州市民政局对社会福利机构指导管理、监督和检查流程图制定方案十三、杭州市民政局对救助管理机构指导监管流程图十四、杭州市公墓年检流程图十五、杭州市民政局对农村五保供养工作的监督管理流程图十六、杭州市民政局对捐赠款物的使用发放情况进行监督检查流程图十七、杭州市民政局对城乡居民最低生活保障制度执行情况监督检查流程图十八、杭州市民政局行政处罚流程图十九、杭州市民政局对故意损毁或擅自移动行政区域界线(区、县界)标志物行为的处罚流程图二十、杭州市民政局对擅自编制行政区域界线详图或所绘地图界线画法与详图不一致行为的处罚流程图二十一、杭州市民政局对擅自进行地名命名更名行为的处罚流程图二十二、杭州市民政局对使用非标准地名行为的处罚流程图二十三、杭州市民政局对擅自出版地名密集出版物行为的处罚流程图二十四、杭州市民政局对退出现役军人补办评定残疾等级的审核流程图二十五、杭州市民政局对补办《中华人民共和国残疾军人证》的审核流程图二十六、杭州市民政局涉外、港澳台、华侨结(离)婚登记流程图二十七、杭州市民政局收养登记流程图二十八、杭州市民政局地名命名和标准地名使用审批流程图二十九、杭州市民政局对县、市、市辖区部分行政区域界线的变更办理流程图三十、杭州市民政局对乡、民族乡、镇、街道办事处的设立、撤销、更名和驻地迁移的办理流程图三十一、杭州市民政局对申办社会福利机构的审批流程图三十二、杭州市民政局军队离退休干部(含退休士官)和无军籍退休退职职工经费分配流程图三十三、杭州市民政局军队离退休干部管理机构经费分配流程图三十四、杭州市民政局对市内行政区域界线争议的裁决流程图三十五、民政局民办非企业单位名称预登记流程图三十六、杭州市民政局民间组织章程核准流程图三十七、杭州市民政局经营性公墓设立审核流程图三十八、民政局军队离休、退休人员接收、安置流程图三十九、杭州市民政局退役士兵接收安置流程图四十、杭州市民政局军用饮食供应保障流程图四十一、杭州市民政局特殊困难群众跨省救助返乡流程图四十二、杭州市民政局福利企业资格认定审核流程图四十三、杭州市民政局福利企业变更核准流程图四十四、杭州市民政福利企业年检年审核准流程图四十五、杭州市民政局指定专门救灾捐赠机构或者设立临时救灾捐赠机构流程图四十六、杭州市民政局《杭州市困难家庭救助证》制作流程图四十七、杭州市民政局指导村(居)委会换届选举工作流程图。
业务流程图及描述2.2.1 业务流程图—经费收支总流程(1)流程图(2)关键流程节点的详细说明控制活动名称:说明:一、经费支出结构分类本单位的各项经费支出主要包括单位运转支出和项目支出。
(一)单位运转支出1.差旅费(1)交通费●出差人员要按照规定等级乘坐交通工具,凭有效票据报销城市间交通费。
●若出差目的地有多种交通工具可选择时,出差人员在不影响公务、确保安全的前提下,应当在乘坐交通工具规定等级内,选乘经济便捷的交通工具。
●乘坐飞机的,民航发展基金、燃油附加费可以凭据报销。
乘坐飞机、火车、轮船等交通工具的,每人次可以购买交通意外保险一份。
单位统一购买交通意外保险的,不再重复购买。
●出差人员机票费要严格执行公务卡结算制度,严格执行郑水【2015】340号文规定。
(2)住宿费●出差人员应当在职务级别对应的住宿费标准限额内,选择安全、经济、便捷的宾馆住宿。
●住宿费按出差实际住宿天数计算,超出天数或规定等级部分由个人负担。
●出差人员住宿费要严格执行公务卡结算制度。
(3)伙食补助费●伙食补助费是对工作人员因出差期间给予的伙食补助费用。
●伙食补助费按照出差自然(日历)天数计算。
(4)公杂费●公杂费是指工作人员因公出差期间发生的市内交通和通讯费用支出。
2.公务用车运行费●公务用车燃料费、维修费、过桥过路费、保险费、停车费等支出。
3.会议费一类会议:市党代会、市人民代表大会、市政协全会、市劳模会。
二类会议:市委全委会、市委经济工作会、市人大常委会会议、市政协常委会会议、市纪委全会;各人民团体、各民主党派和市工商联召开的全市换届会议;市委、市政府召开,市辖市党委、政府负责人及其两个以上部门负责人参加的全市综合性会议。
三类会议:市直部门召开的全市性工作会议;以市委、市政府名义召开,市辖县(市、区)党委、政府分管某项工作的负责人参加的会议。
四类会议:除上述一、二、三类会议以外的其他业务性会议,包括小型研讨会、座谈会、评审会等。
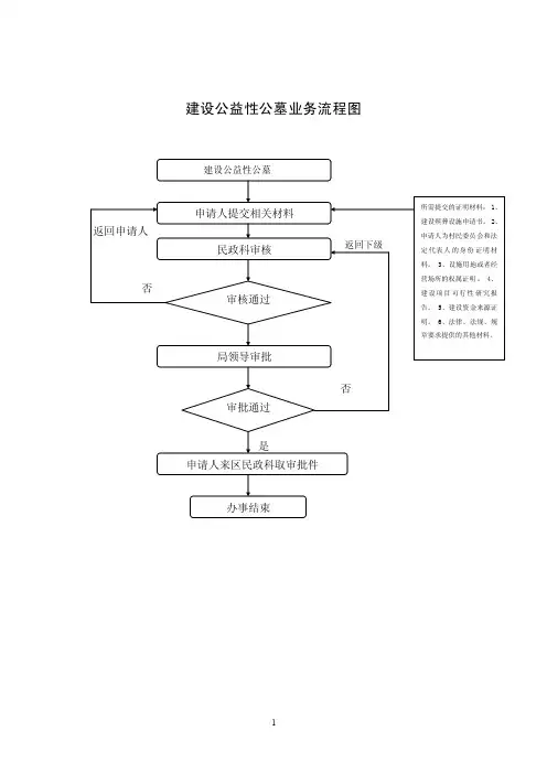
建设公益性公墓业务流程图
二、具体流程中
(1)、所需下载的材料或表单:不需要
(2)、所需提交的文件资料:
(一)建设殡仪服务站申请书;
(二)申请人具有法人资格的证明文件和法定代表人的身份证明材料;
(三)设施用地或者经营场所的权属证明;
(四)建设项目可行性研究报告;
(五)建设资金来源证明;
(六)法律、法规、规章要求提供的其他材料。
三、业务(政策)依据:
《殡葬管理条例》
四、受理范围:
海淀区内
五、办理时限:
20个工作日
六、申请条件:
(一)申请人具有法人资格;
(二)符合各区县殡仪服务站数量、布局规划;
(三)具有固定的经营场所,且营业面积不少于50平方米;
(四)有与其建设规模相适应的资金;
(五)法律、法规、规章规定的其他条件。
七、注意事项:
申报材料一式两份。
各种文件所需原件、复印件按要求上报。
八、办公时间:
周一至周五上午8:30—11:30,下午1:30—5:30,节假日除外。
九、办事地点:
北京市海淀区西苑操场15号民政科
十、办公通知形式:
书面递交材料审核后,电话通知结果。
十一、监督单位:
海淀区民政局政工科
十二、咨询电话:62625378。
市民政局建设经营性公墓审核公开运行流程图
2、建设经营性公墓:①办墓单位建设申请;②县级民政部门同意建墓的意见;③县级规划部门的规划书;
④县级发改委的立项书;⑤通过征地手续的土地使用证;⑥公墓建设申请表。
3、验收经营性公墓:①建墓单位公墓验收申请;②县级民政部门验收申请。
二、扩建经营性公墓
1、筹备扩建经营性公墓:①办墓单位筹备扩建申请;②《公墓建设可行性研究报告》;③建设资金来源证明;④办墓单位的法人资格证明文件和法定代表人身份证明材料;⑤县级规划部门同意扩建的意见;⑥县级发改委同意扩建的意见;⑦县级土地部门同意扩建的意见;⑧县级人民政府同意扩建的意见;⑨县级民政部门公墓筹备扩建请示;⑩公墓筹备扩建申请表。
2、建设经营性公墓:①办墓单位扩建申请;②县级民政部门同意扩建的意见;③县级规划部门的规划书;
④县级发改委的立项书;⑤通过征地手续的使用证;⑥公墓扩建申请表。
3、验收经营性公墓:①建墓单位公墓验收申请;②县级民政部门验收申请;③公墓验收申请表。
三、变更经营性公墓
①办墓单位变更申请;②县级民政部门变更申请;③公墓变更申请表;④公墓变更相关证明材料。
行政权力依据:《殡葬管理条例》(国务院令第225号)第八条第一款。