奥迪A6轿车各系统电脑板位置图
- 格式:doc
- 大小:71.00 KB
- 文档页数:2
大众车系编码与匹配和奥迪A6L电脑元件位置大众车系编码与匹配基本设置,匹配与编码:一基本设置1 电子节气门:01----04----060-----06 01---10---01-(上下50)2 强制降档:01-----04-----063------063 电动真空泵:01----04-----008-----06 踏制动4 线性节气门(带怠速开关F60):01-----04-----098------065 废气再循环:01----04-----074-----066 自动水平调节大灯:55-----04-----001(L)------06;55------04-----002-----06(R)7 二次空气喷射:01----04-----077------068 制动放气:03-----04-----001-------069 暴震传感器;01—04---028(转速1800—2200)10 前氧传感器;01—04—034(044)1800---2200转(B1----SIIO)(B2—SIIO)11 后-----------;12 AKF系统设定;01—04---70---0613 设定条件:温度在+5---95度范围内,进气温度大于5度ECU供电电压大于11。
5V。
巡舰正常。
发动机无故障。
关闭用电设备主题:帕萨特2.8/V6 更换控制器J104或转角传感器G85后对ESP的设定步骤:车型:帕萨特2.8/V6车型在更换控制器J104或转角传感器G85后,必须进行控制器编码和对转角传感器进行补偿的操作。
否则,ESP系统无法正常工作。
设定步骤:1)连接故障阅读仪V.A.G1552,接通点火开关并输入地址词03。
2)进入08阅读数据块,选择005显示组观察第一显示区(注:在进行设定前车辆方向盘必须处在直线行驶位置,转向角的额定值应为±5℃)。
3)按C键退出,输入11选择登入,输入登入码09597。
05.2012带记忆功能的电动调节装置,舒适型座椅自2011 年 1 月起ws=白色sw=黑色ro=红色rt=红色br=褐色gn=绿色bl=蓝色gr=灰色li=淡紫色vi=淡紫色ge=黄色or=橘黄色rs=粉红色驾驶员侧前部座椅开关模块2, 驾驶员侧按摩功能按钮, 带记忆功能的座椅调节和转向柱调节装置E418 - 座椅纵向调整按钮E424 - 座椅高度调节按钮E425 - 靠背调节按钮E667 - 驾驶员侧前部座椅开关模块2E670 - 驾驶员侧按摩功能按钮J136 - 带记忆功能的座椅调节和转向柱调节装置T2kc - 2芯插头连接, 驾驶员座椅内T4cf - 4芯插头连接T32m - 32 芯插头连接413- 接地连接4,座椅调节导线束中ws=白色sw =黑色ro =红色rt =红色br =褐色gn =绿色bl =蓝色gr =灰色li =淡紫色vi =淡紫色ge =黄色or =橘黄色rs =粉红色驾驶员侧前部座椅开关模块, 带记忆功能的座椅调节和转向柱调节装置E96 -驾驶员座椅靠背调节开关E222 -驾驶员座椅倾斜度调节开关E363 -驾驶员座椅纵向调节开关E364 -驾驶员座椅高度调节开关E663 -驾驶员侧前部座椅开关模块J136 -带记忆功能的座椅调节和转向柱调节装置T12z - 12 芯插头连接T32m - 32 芯插头连接413- 接地连接 4,座椅调节导线束中ws=白色sw=黑色ro=红色rt=红色br=褐色gn=绿色bl=蓝色gr=灰色li=淡紫色vi=淡紫色ge=黄色or=橘黄色rs=粉红色带记忆功能的座椅调节和转向柱调节装置, 驾驶员座椅倾斜度调节电机,驾驶员座椅高度调节电机J136 - 带记忆功能的座椅调节和转向柱调节装置T4cg - 4芯插头连接T4ck - 4芯插头连接T4cl - 4芯插头连接T12x - 12 芯插头连接V243 - 驾驶员座椅倾斜度调节电机V245 - 驾驶员座椅高度调节电机V256 - 驾驶员座椅高度调整电机* - 仅适用于带右置方向盘的车辆ws=白色sw =黑色ro =红色rt =红色br =褐色gn =绿色bl =蓝色gr =灰色li =淡紫色vi =淡紫色ge =黄色or =橘黄色rs =粉红色带记忆功能的座椅调节和转向柱调节装置, 驾驶员座椅纵向调节电机, 驾驶员座椅靠背调节开关J136 -带记忆功能的座椅调节和转向柱调节装置T4ce - 4 芯插头连接T4cl - 4 芯插头连接T12x -12 芯插头连接T12y - 12 芯插头连接, 驾驶员座椅内V28 -驾驶员座椅纵向调节电机V45 -驾驶员座椅靠背调节开关* -仅适用于带右置方向盘的车辆ws=白色sw =黑色ro =红色rt =红色br =褐色gn =绿色bl =蓝色gr =灰色li =淡紫色vi =淡紫色ge =黄色or =橘黄色rs =粉红色带记忆功能的座椅调节和转向柱调节装置, 驾驶员座椅靠背风扇, 驾驶员座椅座垫风扇J136 -带记忆功能的座椅调节和转向柱调节装置T3ba - 3 芯插头连接T3bb - 3 芯插头连接T3be -3 芯插头连接T3bf - 3 芯插头连接T8ac -8 芯插头连接, 驾驶员座椅内T16q - 16 芯插头连接V388 -驾驶员座椅靠背风扇V390 -驾驶员座椅座垫风扇V417 - 驾驶员座椅靠背风扇 2V419 - 驾驶员座椅座垫风扇 2136- 接地连接 2,在座椅加热导线束中 145 - 接地连接 3,在座椅加热导线束中 M41- 连接 1,在驾驶员侧座椅导线束中 M42 - 连接 2,在驾驶员侧座椅导线束中 M43 - 连接 3,在驾驶员侧座椅导线束中 M44- 连接 4,在驾驶员侧座椅导线束中*-仅适用于带座椅通风的车辆V439 -驾驶员多仿形座椅压缩机* -见保险丝布置所适用的电路图*2 -C AN 总线(舒适便捷功能)ws=白色sw =黑色ro =红色rt =红色br =褐色gn =绿色bl =蓝色gr =灰色li =淡紫色vi =淡紫色ge =黄色or =橘黄色rs =粉红色带记忆功能的驾驶员座椅操作单元, 紧急关闭按钮, 驾驶员侧车门控制单元E97 -带记忆功能的驾驶员座椅操作单元E190 -紧急关闭按钮E218 - 带记忆功能的座椅按钮 1E219 - 带记忆功能的座椅按钮 2E283 -带记忆功能的驾驶员座椅按钮J386 - 驾驶员侧车门控制单元T23a - 23 芯插头连接,左侧 A 柱上267 - 接地连接 2,在驾驶员侧车门电缆导线束中 R52- 连接(58s ),在驾驶员侧车门电缆导线束中* - 自 2011 年 6 月起*2- 数据总线导线(CAN 总线)ws=白色sw =黑色ro =红色rt =红色br =褐色gn =绿色bl =蓝色gr =灰色li =淡紫色vi =淡紫色ge =黄色or =橘黄色rs=粉红色带记忆功能的副驾驶员座椅调节控制单元, 副驾驶员座椅调整装置的热敏保险丝 1J521 -带记忆功能的副驾驶员座椅调节控制单元S46 - 副驾驶员座椅调整装置的热敏保险丝 1T32n - 32 芯插头连接35 -接地点,在副驾驶员座椅下面 95 - 接地连接 1,座椅调节导线束中 378 - 接地连接 13,在主导线束中M97 - 连接(舒适/便捷系统 CAN 总线,High ),在座椅调节机构导线束中,副驾驶员侧M98- 连接(舒适/便捷系统 CAN 总线,Low ),在座椅调节机构导线束中,副驾驶员侧*- C AN 总线(舒适便捷功能)ws=白色sw=黑色ro=红色rt=红色br=褐色gn=绿色bl=蓝色gr=灰色li=淡紫色vi=淡紫色ge=黄色or=橘黄色rs=粉红色副驾驶员侧前部座椅开关模块2, 副驾驶员侧按摩功能按钮, 带记忆功能的副驾驶员座椅调节控制单元E418 - 座椅纵向调整按钮E424 - 座椅高度调节按钮E425 - 靠背调节按钮E668 - 副驾驶员侧前部座椅开关模块2E671 - 副驾驶员侧按摩功能按钮J521 - 带记忆功能的副驾驶员座椅调节控制单元T2ko - 2芯插头连接T4ed - 4芯插头连接T32n - 32 芯插头连接413- 接地连接4,座椅调节导线束中ws=白色sw =黑色ro =红色rt =红色br =褐色gn =绿色bl =蓝色gr =灰色li =淡紫色vi =淡紫色ge =黄色or =橘黄色rs =粉红色副驾驶员侧前部座椅开关模块, 带记忆功能的副驾驶员座椅调节控制单元E64 -副驾驶员座椅纵向调节开关E98 -副驾驶员座椅靠背调节开关E334 -副驾驶员座椅倾斜度调节按钮E365 -副驾驶员座椅高度调节开关E664 -副驾驶员侧前部座椅开关模块J521 -带记忆功能的副驾驶员座椅调节控制单元T12ac - 12 芯插头连接T32n - 32 芯插头连接413- 接地连接 4,座椅调节导线束中ws=白色sw=黑色ro=红色rt=红色br=褐色gn=绿色bl=蓝色gr=灰色li=淡紫色vi=淡紫色ge=黄色or=橘黄色rs=粉红色带记忆功能的副驾驶员座椅调节控制单元, 副驾驶员座椅倾斜度调节电机, 副驾驶员座椅高度调节电机J521 - 带记忆功能的副驾驶员座椅调节控制单元T4cn - 4芯插头连接T4co - 4芯插头连接T4cp - 4芯插头连接T12aa - 12 芯插头连接V244 - 副驾驶员座椅倾斜度调节电机V246 - 副驾驶员座椅高度调节电机V257 - 副驾驶员座椅高度调整电机* - 仅适用于带右置方向盘的车辆ws=白色sw =黑色ro =红色rt =红色br =褐色gn =绿色bl =蓝色gr =灰色li =淡紫色vi =淡紫色ge =黄色or =橘黄色rs =粉红色带记忆功能的副驾驶员座椅调节控制单元, 副驾驶员座椅纵向调节电机, 副驾驶员座椅靠背调节开关J521 -带记忆功能的副驾驶员座椅调节控制单元T4cm - 4 芯插头连接T4eg - 4 芯插头连接T12aa -12 芯插头连接T12ab - 12 芯插头连接, 副驾驶员座椅内V31 -副驾驶员座椅纵向调节电机V46 -副驾驶员座椅靠背调节开关* -仅适用于带右置方向盘的车辆ws=白色sw =黑色ro =红色rt =红色br =褐色gn =绿色bl =蓝色gr =灰色li =淡紫色vi =淡紫色ge =黄色or =橘黄色rs =粉红色带记忆功能的副驾驶员座椅调节控制单元, 副驾驶员座椅靠背风扇, 副驾驶员座椅座垫风扇J521 -带记忆功能的副驾驶员座椅调节控制单元T3bd - 3 芯插头连接T3bg - 3 芯插头连接T3bh -3 芯插头连接T3bi - 3 芯插头连接T8ah -8 芯插头连接, 副驾驶员座椅内T16r - 16 芯插头连接V389 -副驾驶员座椅靠背风扇V391 -副驾驶员座椅座垫风扇V418 - 副驾驶员座椅靠背风扇 2V420 - 副驾驶员座椅座垫风扇 2136- 接地连接 2,在座椅加热导线束中 145 - 接地连接 3,在座椅加热导线束中 M51- 连接 1,在副驾驶员侧座椅导线束中 M52 - 连接 2,在副驾驶员侧座椅导线束中 M53 - 连接 3,在副驾驶员侧座椅导线束中 M54- 连接 4,在副驾驶员侧座椅导线束中*-仅适用于带座椅通风的车辆ws=白色sw=黑色ro=红色rt=红色br=褐色gn=绿色bl=蓝色gr=灰色li=淡紫色vi=淡紫色ge=黄色or=橘黄色rs=粉红色副驾驶员侧前部多仿形座椅控制单元, 副驾驶员座椅中的阀体1, 副驾驶员座椅中的阀体2, 驾驶员多仿形座椅压缩机J872 - 副驾驶员侧前部多仿形座椅控制单元N477 - 副驾驶员座椅中的阀体1N478 - 副驾驶员座椅中的阀体2ST3 - 保险丝架3SB6 - 保险丝架 B上的保险丝6V439 - 驾驶员多仿形座椅压缩机* - 见保险丝布置所适用的电路图*2 - C AN 总线(舒适便捷功能)ws =白色sw =黑色ro =红色rt =红色br =褐色gn =绿色bl =蓝色gr =灰色li =淡紫色vi =淡紫色ge =黄色or =橘黄色rs=粉红色带记忆功能的副驾驶员座椅操作单元, 副驾驶员侧紧急关闭按钮, 副驾驶员侧车门控制单元E277 -带记忆功能的副驾驶员座椅操作单元E338 - 用于带记忆设置 1 和 2 的座椅的按钮E340 -带记忆功能的副驾驶员座椅按钮E466 -副驾驶员侧紧急关闭按钮J387 - 副驾驶员侧车门控制单元T23b - 23 芯插头连接,右侧 A 柱上268 - 接地连接 2,在副驾驶员侧车门电缆导线束中 R53- 连接(58s ),在副驾驶员侧车门电缆导线束中*- 自 2011 年 6 月起*2- 数据总线导线(CAN 总线)ws=白色sw =黑色ro =红色rt =红色br =褐色gn =绿色bl =蓝色gr =灰色li =淡紫色vi =淡紫色ge =黄色or =橘黄色rs =粉红色数据总线诊断接口, 舒适/便捷系统 CAN 总线(High )导线分线器, 舒适/便捷系统 CAN 总线(Low )导线分线器 J533- 数据总线诊断接口T46a - 46 芯插头连接TV34- 舒适/便捷系统 CAN 总线(High )导线分线器B397 - 连接 1(舒适/便捷系统 CAN 总线,High ),在主导线束中 B406- 连接 1(舒适/便捷系统 CAN 总线,Low ),在主导线束中*- 数据总线导线(CAN 总线)。
奥迪A6ANQ发动机电控系统第一章发动机排故教材识读奥迪A6轿车1.8L ANQ发动机电路图一、全车电器系统电源正极分成,3路电路图上方的4条横线来表示电路图上方的4条横线,用来表示压装在中央接线盒塑料盘身内的成型铜片。
其中3条是引入接线盒内的不同用途的火线:1、线端标号为“30”的是直接与蓄电池正极相接的火线;称为常火线2、线端标号为“15”的是从点火开关15接柱引出的受点火开关控制的小容量用电器的供电线;3、标号为“X”的是受减荷继电器控制的大容量用电器的供电线,只有当减荷继电器触点闭合时,才能将30#线的电流引入X#线;4、标号为“31”的为搭铁线,它与中央接线盒支架搭铁点相连接。
二、T10p、T1c、T10o:T:接插件;10:10孔的接插件;p、c、o、av小写字母表示插头颜色;/后的数字,表示该线的针脚号。
三、“有数字方框”表示采用断线代号法解决交叉问题,通过横坐标相同编号上方的数字方框相连接。
四、圆圈内的数字,表示线束代号。
数字前有A的,表示为仪表板内的线束;数字前无A的,表示搭铁线束。
五、最下边的黑线,表示为搭铁线。
六、导线旁,有25、16、2.5、0.5、0.35等数字,表示该导线的线径。
后边跟着的sw、ro、ws、br等,表示导线的颜色。
附:中央继电器盒分布继电器:1 启动继电器 2电子扇继电器 5油泵继电器1 6油泵继电器28 主继电器保险丝:1油泵 2仪表板常通电源 3点火开关电源 5电子扇 6 启动 8 S234 9 S229 10 S228 11 油泵继电器13 S232 14 仪表ON电源故障设置和现象号端口故障名称解码器显示故障征象正常电压值1 71 点火触发无显示a.出现断缸现象,转速有所下降;b.转速不稳定,有轻微“嘟嘟”声。
c.2 78 点火确认无显示3 73 喷嘴01249 第一缸喷油嘴-N30 输出开路a.有断缸现象,转速有所下降;b.发动机有抖动现象,转速不稳定;c.功率下降,启动阻力有所增加;d.二个缸不工作,启动困难,有“嘟嘟”声,转速极不稳定。
奥迪A6轿车各系统电脑板位置
1-超声波传感器控制单元J347(在行李箱侧面装饰板后面的左轮罩上部) 2-中央门锁控制单元J429(在司机座椅下)
3-锁芯加热左控制单元J210(司机一侧车门横梁上部)
4-仪表板内组合处理器(与仪表一体)
5-带EDS的ABS控制单元J104(在发动机舱内液压单元5)
6-带EDS的ABS控制单元J104(在副司机脚坑地毯下)
7-发动机控制单元(在压力舱内)
8-自动变速器控制单元J217(在副司机脚坑地毯下)
9-空调控制和显示单元E87(在中央副仪表板上)
10-安全气囊控制单元J234(仪表板下中央通道上)
11-收录机控制单元(在中央副仪表板上) -
汽修资源QQ:451820749
12-带CD机的导航系统控制单元J401(在行李箱左侧盖板内)
13-导航系统操纵控制单元J402(在组合板的横梁上)
14-GRA控制单元J123(在杂物箱后横梁上)
15-具有座椅位置记忆功能的座椅位置调节控制单元
J136(在司机座椅下)
16-倒车警报控制单元J446(在行李箱左侧装饰板后) |
17-大灯照程调节控制单元J431(在行李箱左侧装饰板后)
18-横向加速度传感器G200(在司机座椅下) )
19-CD机R41(在行李箱左侧盖板内)
20-电话收发控制单元R36(在行李箱左侧盖板内)
21-带低音扬声器(在行李箱右侧)的放大器R43(在行李箱右侧盖板内)
22-自动防眩目后视镜Y7(在前风挡玻璃上)。
奥迪A6轿车各系统电脑板位置图1-超声波传感器控制单元J347(在行李箱侧面装饰板后面的左轮罩上部)2-中央门锁控制单元J429(在司机座椅下)3-锁芯加热左控制单元J210(司机一侧车门横梁上部)4-仪表板内组合处理器(与仪表一体)5-带EDS的ABS控制单元J104(在发动机舱内液压单元5)6-带EDS的ABS控制单元J104(在副司机脚坑地毯下)7-发动机控制单元(在压力舱内)8-自动变速器控制单元J217(在副司机脚坑地毯下)9-空调控制和显示单元E87(在中央副仪表板上)10-安全气囊控制单元J234(仪表板下中央通道上)11-收录机控制单元(在中央副仪表板上)12-带CD机的导航系统控制单元J401(在行李箱左侧盖板内)13-导航系统操纵控制单元J402(在组合板的横梁上)14-GRA控制单元J123(在杂物箱后横梁上)15-具有座椅位置记忆功能的座椅位置调节控制单元J136(在司机座椅下)16-倒车警报控制单元J446(在行李箱左侧装饰板后)17-大灯照程调节控制单元J431(在行李箱左侧装饰板后)18-横向加速度传感器G200(在司机座椅下)19-CD机R41(在行李箱左侧盖板内)20-电话收发控制单元R36(在行李箱左侧盖板内)21-带低音扬声器(在行李箱右侧)的放大器R43(在行李箱右侧盖板内)22-自动防眩目后视镜Y7(在前风挡玻璃上)北京博睿通达自动变速箱维修全国知名品牌、是目前全国最大型的汽车自动变速箱维修点之一。
北京市唯一变速箱阀体维修店。
本维修站始终坚持“诚信为本”的经营方针,凭借高效优质的服务比同行低的价格和良好口碑,已为北京及周边省市奥迪、宝马、别克、奔驰、路虎捷豹、沃尔沃、日本爱信的变速箱客户提供定点维修服务,并为多家4S店提供自动变速箱维修代工服务,代理原厂变速箱总成,凭借其现代化的科学管理、先进的检测设备、专业的技术水平、诚信的服务,赢得各界车主、各地4S店、修理厂、汽配商及自动变速箱维修同行的广泛赞誉。
舒适/便捷功能系统●操纵台照明灯●可加热和可调式车外后视镜●车门把手照明●意大利芯片卡系统(Telepaß)●防盗报警装置●登车照明灯●电动后窗遮阳卷帘●车窗升降机●行李箱照明●车门警告灯●中央门锁从2005年款起适用说明:信息,关于♦继电器位置分配和保险丝位置分配♦多头插头连接♦控制单元和继电器♦接地连接⇒ 安装位置在一览图中!信息,关于♦故障查找程序⇒ 引导型故障查询QUICKCHIP@QUICKCHIP@1516171819202122232425262728ws =白色sw =黑色ro =红色br =棕色gn =绿色bl =蓝色gr =灰色li =淡紫色ge =黄色or =桔黄色J723-无钥匙进入许可的天线读取单元T10i -10芯红色插头连接,左侧座椅横梁T20a -20芯黑色插头连接,左侧A 柱T46a-46芯插头连接,左侧CAN 分离插头•-CAN 总线(数据导线)QUICKCHIP@2930313233343536373839404142ws =白色sw =黑色ro =红色br =棕色gn =绿色bl =蓝色gr =灰色li =淡紫色ge =黄色or =桔黄色T20a -20芯黑色插头连接,左侧A 柱V56-驾驶员车门中央门锁马达V161-驾驶员车门中央门锁(Safe )马达Y7-自动防眩的车内后视镜267-驾驶员侧车门电缆导线束中的接地连接2B466-主导线束中的连接2B467-主导线束中的连接3✱-不带附加装备的汽车✱✱-带附加装备的汽车QUICKCHIP@43444546474849505152535455564081535558s31ws =白色sw =黑色ro =红色br =棕色gn =绿色bl =蓝色gr =灰色li =淡紫色ge =黄色or =桔黄色J386-驾驶员侧车门控制单元QUICKCHIP@14731ws =白色sw =黑色ro =红色br =棕色gn =绿色bl =蓝色gr =灰色li =淡紫色ge =黄色or =桔黄色QUICKCHIP@386ws =白色sw =黑色ro =红色br =棕色gn =绿色bl =蓝色gr =灰色li =淡紫色ge =黄色or =桔黄色J386-驾驶员侧车门控制单元QUICKCHIP@1714912142052514515ws =白色sw =黑色ro =红色br =棕色gn =绿色bl =蓝色gr =灰色li =淡紫色ge =黄色or =桔黄色V121-驾驶员侧折叠后视镜马达V149-驾驶员侧调节后视镜马达W52-驾驶员侧车外后视镜里的登车照明灯Y20-驾驶员侧自动防眩的车外后视镜Z4-可加热车外后视镜(驾驶员侧)✱-带折叠功能的后视镜✱✱-带自动防眩车外后视镜的汽车✱✱✱-车外后视镜内带登车照明灯的汽车QUICKCHIP@30386R52304ws =白色sw =黑色ro =红色br =棕色gn =绿色bl =蓝色gr =灰色li =淡紫色ge =黄色or =桔黄色W31-左前登车照明灯304-驾驶员侧车门电缆导线束中的接地连接3R52-驾驶员侧车门电缆导线束中的连接(58s )✱-不带车内附加照明的汽车✱✱-带车内附加照明的汽车✱✱✱-开关接地输出端QUICKCHIP@386304A ws =白色sw =黑色ro =红色br =棕色gn =绿色bl =蓝色gr =灰色li =淡紫色ge =黄色or =桔黄色T2i -2芯插头连接,在操纵台照明灯变压器上304-驾驶员侧车门电缆导线束中的接地连接3R52-驾驶员侧车门电缆导线束中的连接(58s )✱-带车内附加照明的汽车✱✱-仅用于美国QUICKCHIP@127128129130131132133134135136137138139140386190218219283ws =白色sw =黑色ro =红色br =棕色gn =绿色bl =蓝色gr =灰色li =淡紫色ge =黄色or =桔黄色QUICKCHIP@ws =白色sw =黑色ro =红色br =棕色gn =绿色bl =蓝色gr =灰色li =淡紫色ge =黄色or =桔黄色206-副驾驶员侧车门电缆导线束中的接地连接✱-不带附加装备的汽车✱✱-带附加装备的汽车QUICKCHIP@155156157158159160161162163164165166167168ws =白色sw =黑色ro =红色br =棕色gn =绿色bl =蓝色gr =灰色li =淡紫色ge =黄色or =桔黄色T10k -10芯红色插头连接,右侧座椅横梁T20b -20芯黑色插头连接,右侧A 柱T46b-46芯插头连接,右CAN 分离插头•-CAN 总线(数据导线)QUICKCHIP@ws =白色sw =黑色ro =红色br =棕色gn =绿色bl =蓝色gr =灰色li =淡紫色ge =黄色or =桔黄色V57-副驾驶员车门中央门锁马达V162-副驾驶员车门中央门锁(Safe )马达268-副驾驶员侧车门电缆导线束中的接地连接2QUICKCHIP@ws =白色sw =黑色ro =红色br =棕色gn =绿色bl =蓝色gr =灰色li =淡紫色ge =黄色or =桔黄色✱-开关接地输出端✱✱-仅用于美国QUICKCHIP@387303A ws =白色sw =黑色ro =红色br =棕色gn =绿色bl =蓝色gr =灰色li =淡紫色ge =黄色or =桔黄色W32-右前登车照明灯W36-副驾驶员侧车门警告灯303-副驾驶员侧车门电缆导线束中的接地连接3R53-副驾驶员侧车门电缆导线束中的连接(58s )✱-不带车内附加照明的汽车✱✱-带车内附加照明的汽车QUICKCHIP@2515012252153516517ws=白色sw=黑色ro=红色br=棕色gn=绿色bl=蓝色gr=灰色li=淡紫色ge=黄色or=桔黄色V122-副驾驶员侧后视镜折叠马达V150-副驾驶员侧后视镜调节马达W53-副驾驶员侧车外后视镜里的登车照明灯Y21-副驾驶员侧自动防眩的车外后视镜Z5-可加热车外后视镜(副驾驶员侧)✱-带折叠功能的后视镜✱✱-带自动防眩车外后视镜的汽车✱✱✱-车外后视镜内带登车照明灯的汽车QUICKCHIP@338387466340ws =白色sw =黑色ro =红色br =棕色gn =绿色bl =蓝色gr =灰色li =淡紫色ge =黄色or =桔黄色QUICKCHIP@ws =白色sw =黑色ro =红色br =棕色gn =绿色bl =蓝色gr =灰色li =淡紫色ge =黄色or =桔黄色B316-主导线束中的正极连接2(30a )✱-车载电网控制单元上的下面保险丝QUICKCHIP@253254255256257258259260261262263264265266ws =白色sw =黑色ro =红色br =棕色gn =绿色bl =蓝色gr =灰色li =淡紫色ge =黄色or =桔黄色350-左后车门电缆导线束中的接地连接2•-CAN 总线(数据导线)QUICKCHIP@F电路图ws =白色sw =黑色ro =红色br =棕色gn =绿色bl =蓝色gr =灰色li =淡紫色ge =黄色or =桔黄色V163-左后车门安全中央门锁马达350-左后车门电缆导线束中的接地连接2✱-不带进入及起动许可功能的汽车✱✱-带进入及起动许可功能的汽车✱✱✱-开关接地输出端QUICKCHIP@388ws =白色sw =黑色ro =红色br =棕色gn =绿色bl =蓝色gr =灰色li =淡紫色ge =黄色or =桔黄色R54-左后车门电缆导线束中的连接(58s )QUICKCHIP@388408A ws =白色sw =黑色ro =红色br =棕色gn =绿色bl =蓝色gr =灰色li =淡紫色ge =黄色or =桔黄色W33-左后登车照明灯W37-左后车门警告灯408-左后车门电缆导线束中的接地连接3✱-带车内附加照明的汽车QUICKCHIP@389ws =白色sw =黑色ro =红色br =棕色gn =绿色bl =蓝色gr =灰色li =淡紫色ge =黄色or =桔黄色•-CAN 总线(数据导线)QUICKCHIP@ws =白色sw =黑色ro =红色br =棕色gn =绿色bl =蓝色gr =灰色li =淡紫色ge =黄色or =桔黄色G418-右后车门外把手接触传感器J389-右后车门控制单元T20d -20芯黑色插头连接,右侧B 柱V97-右后车门中央门锁马达V164-右后车门安全中央门锁马达351-右后车门电缆导线束中的接地连接2✱-不带进入及起动许可功能的汽车✱✱-带进入及起动许可功能的汽车✱✱✱-开关接地输出端QUICKCHIP@389ws =白色sw =黑色ro =红色br =棕色gn =绿色bl =蓝色gr =灰色li =淡紫色ge =黄色or =桔黄色R55-右后车门电缆导线束中的连接(58s )QUICKCHIP@389409A ws =白色sw =黑色ro =红色br =棕色gn =绿色bl =蓝色gr =灰色li =淡紫色ge =黄色or =桔黄色W34-右后登车照明灯W38-右后车门警告灯409-右后车门电缆导线束中的接地连接3✱-带车内附加照明的汽车QUICKCHIP@QUICKCHIP@QUICKCHIP@393ws =白色sw =黑色ro =红色br =棕色gn =绿色bl =蓝色gr =灰色li =淡紫色ge =黄色or =桔黄色T17h -17芯桔黄色插头连接,排水槽电控箱左侧接线板V91-后窗遮阳卷帘马达W3-行李箱照明灯W45-左后脚部空间照明灯W46-右后脚部空间照明灯261-可加热式喷嘴导线束中的接地连接373-主导线束中的接地连接8376-主导线束中的接地连接11B317-主导线束中的正极连接3(30a )B468-主导线束中的连接4✱-带防盗报警装置的汽车✱✱-带后窗遮阳卷帘的车辆QUICKCHIP@J285电路图版本2004年4月A00.5A62.01.74ws=白色sw=黑色ro=红色br=棕色gn=绿色bl=蓝色gr=灰色li=淡紫色ge=黄色or=桔黄色T17f-17芯绿色插头连接,左侧A柱接线板T32-32芯蓝色插头连接,在组合仪表上W9-左脚部空间照明灯W10-右脚部空间照明灯82-左前导线束中的接地连接1373-主导线束中的接地连接8B340-主导线束中的连接1(58s)B341-主导线束中的连接2(58s)✱-不带附加照明的汽车✱✱-带附加照明的汽车QUICKCHIP@。
第二十三章一汽奥迪A6(中国2000型)轿车全车线路图一、基本装备(从2000年车型起)(1)熔丝支架、微型中央电器盒、13孔继电器盘(图23-1)。
熔丝支架:(a)微型中央电器盒:(b)13孔继电器盘:(c)熔丝颜色:30A-绿色25A-白色20A-黄色15A-蓝色10A-红色7.5A-棕色5A-米色熔丝支架上的熔丝从23号位置开始,在电路图上标有号码223,依次类推。
断电器布局:1-双音喇叭继电器(J4)2-×触点卸荷继电器(J59)4-燃油泵继电器(J17)5-清洗刮水自动间歇继电器(J31)6-清洗刮水自动间歇继电器(J31)继电器布局:4-起动锁止继电器(J207)图23-1 熔丝支架、微型中央电器盒、13孔继电器盘(2)接地点(图23-2)。
ws=白色sw=黑色ro=红色br=棕色gn=绿色bi=蓝色gr=灰色li=紫色ge=黄色3-地线,发动机-车身12-接地点,发动机舱左侧13-接地点,发动机舱右侧43-接地点,右侧A柱,下部44-接地点,左侧A柱,下部81-拉地连接1,在仪表板线束内85-接地连接1,在发动机舱线束内86-接地连接1,在后部线束内135-接地连接2,在仪表板线束内176-接地连线,在右大灯线束内179-接地连线,在左大灯线束内图23-2 接地点(3)点火开关、X触点卸荷继电器(图23-3)。
ws=白色sw=黑色ro=红色br=棕色gn=绿色bi=蓝色gr=灰色li=紫色ge=黄色D-点火开关J59-×触点卸荷继电器J217-自动变速器控制单元J429-中央门锁控制单元R-收录机T8f-插头,8孔,黑色,收录机插头ⅢT15v-插头,15孔,橙色,右侧A柱分线器A2-正极连接(15),在仪表板线束内A21-连接(86S),在仪表板线束内A52-正极连接2(30),在仪表板线束内﹡带手动变速器的车**带自动变速器的车图23-3 点火开关、X触点卸荷继电器(4)蓄电池、起动机、交流发电机、起动锁止继电器(图23-4)。
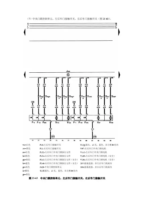
(7)中央门锁控制单元、左后车门接触开关、右后车门接触开关(图23-63)。
ws=白色sw=黑色ro=红色br=棕色gn=绿色bi=蓝色gr=灰色li=紫色ge=黄色F10-左后车门接触开关F11-右后车门接触开关F132-左后车门中央门锁执行元件F134-右后车门中央门锁执行元件F245-左后车门中央门锁执行元件(安全)F246-右后车门中央门锁执行元件(安全)J429-中央门锁控制单元T15f-插头,15孔,蓝色,在右侧B柱内T15g-插头,15孔,蓝色,在左侧B柱内V97-右后车门中央门锁电机V115-左后车门中央门锁电机V163-左后车门中央门锁电机(安全)V164-右后车门中央门锁电机(安全)207-接地连接,在左后车门线束内208-接地连接,在右后车门线束内图23-63 中央门锁控制单元、左后车门接触开关、右后车门接触开关(8)中央门锁控制单元、玻璃升降器电动机(图23-64)。
ws=白色sw=黑色ro=红色br=棕色gn=绿色bi=蓝色gr=灰色li=紫色ge=黄色J429-中央门锁控制单元T6u-插头,6孔,灰色,左侧A柱分线器T10ag-插头,10孔,红色,右侧A柱分线器T10ah-插头,10孔,红色,左侧B柱内T10ai-插头,10孔,红色,左侧B柱内T15k-插头,15孔,红色,左侧A柱分线器T15v-插头,15孔,橙色,右侧A柱分线器V14-左车门玻璃升降器电机V15-右车门玻璃升降器电机V26-左后车门玻璃升降器电机V27-右后车门玻璃升降器电机Q48-连接(开),在驾驶室线束内Q49-连接(关),在驾驶室线束内图23-64 中央门锁控制单元、玻璃升降器电动机(9)中央门锁控制单元、行李箱锁开关(图23-65)。
ws=白色sw=黑色ro=红色br=棕色gn=绿色bi=蓝色gr=灰色li=紫色ge=黄色F124-行李箱锁/防盗警报装置/中央门锁接触开关F206-行李箱锁开关F218-中央门锁/行李箱锁开关J218-仪表板内组合处理器J429-中央门锁控制单元T2v-插头,2孔,黑色,在行李箱内T2w-插头,2孔,灰色,在行李箱内T3o-插头,2孔,黑色,在行李箱盖内T12af-插头,10孔,紫色,左侧A柱分线器T10af-插头,15孔,白色,右侧A柱分线器T15v-插头,15孔,橙色,右侧A柱分线器T32-插头,32孔,蓝色,在组合仪表板上V53-中央门锁/行李箱盖电机87-接地连接2,在后部线束内*装有倒车警报装置的车图23-65 中央门锁控制单元、行李箱锁开关(10)中央门锁控制单元、行李箱盖锁打开按钮、行李箱盖打开电动机、油箱盖锁电动机(图23-66)。
第二十三章一汽奥迪A6(中国2000型)轿车全车线路图一、基本装备(从2000年车型起)(1)熔丝支架、微型中央电器盒、13孔继电器盘(图23-1)。
熔丝支架:(a) 微型中央电器盒:(b)13孔继电器盘:(c)熔丝颜色:30A-绿色25A-白色20A-黄色15A-蓝色10A-红色7.5A-棕色5A-米色熔丝支架上的熔丝从23号位置开始,在电路图上标有号码223,依次类推。
断电器布局:1-双音喇叭继电器(J4)2-×触点卸荷继电器(J59)4-燃油泵继电器(J17)5-清洗刮水自动间歇继电器(J31)6-清洗刮水自动间歇继电器(J31)继电器布局:4-起动锁止继电器(J207)图23-1 熔丝支架、微型中央电器盒、13孔继电器盘(2)接地点(图23-2)。
ws=白色sw=黑色ro=红色br=棕色gn=绿色bi=蓝色gr=灰色li=紫色ge=黄色3-地线,发动机-车身12-接地点,发动机舱左侧13-接地点,发动机舱右侧43-接地点,右侧A柱,下部44-接地点,左侧A柱,下部81-拉地连接1,在仪表板线束内85-接地连接1,在发动机舱线束内86-接地连接1,在后部线束内135-接地连接2,在仪表板线束内176-接地连线,在右大灯线束内179-接地连线,在左大灯线束内图23-2 接地点(3)点火开关、X触点卸荷继电器(图23-3)。
ws=白色sw=黑色ro=红色br=棕色gn=绿色bi=蓝色gr=灰色li=紫色ge=黄色D-点火开关J59-×触点卸荷继电器J217-自动变速器控制单元J429-中央门锁控制单元R-收录机T8f-插头,8孔,黑色,收录机插头ⅢT15v-插头,15孔,橙色,右侧A柱分线器A2-正极连接(15),在仪表板线束内A21-连接(86S),在仪表板线束内A52-正极连接2(30),在仪表板线束内﹡带手动变速器的车**带自动变速器的车图23-3 点火开关、X触点卸荷继电器(4)蓄电池、起动机、交流发电机、起动锁止继电器(图23-4)。
奥迪a6电控点⽕系统组成原理及故障分析(此⽂档为word格式,下载后您可任意编辑修改!)奥迪A6电控点⽕系统组成原理及故障分析摘要:汽车点⽕系统是汽油发动机的重要组成部分,从最开始的磁电机点⽕系统发展为传统的触点式蓄电池点⽕系统、晶体管辅助点⽕系统、、电控点⽕系统其性能的好坏直接影响着发动机能否正常⼯作。
熟悉点⽕系统的组成和⼯作原理,掌握其故障检修⽅法,是从事汽车维修⼯作的技术⼈员和⼯⼈所必须的。
就在⼆⼗世纪70年代,美国GM公司采⽤了集成电路(IC)点⽕装置,⾼能点⽕(HEI)系统,并在分电器内装上点⽕线圈和点⽕控制线路,⼒图将点⽕系统做成⼀体,这种电路具有结构紧凑、可靠性⾼、成本低、耗电少、不需冷却、响应性好等特点。
后期⼜采⽤数字式点⽕时刻控制系统,称为迈塞(MISAR)系统。
该系统体积⼩,由中央处理器(CPU)、存储器(RAM/ROM)和模/数(A/D)转换器等组成。
系统可根据输⼊的冷却液温度、转速和负荷等信号,计算出最佳点⽕时刻。
美国克莱斯勒公司(Chrysler corporation)⾸先创⽴了模拟计算机对发动机点⽕时刻进⾏控制的控制系统。
传统的点⽕系统,其点⽕时刻的调整是依靠机械离⼼式调节装置和真空式调节装置完成的,由于机械的滞后、磨损及装置本⾝的局限性,故不能保证点⽕时刻在最佳值。
⽽⽤ECU控制的点⽕系统,则可⽅便地解决以上问题。
因为⽤微机可考虑更多的对点⽕提前⾓影响的因素,使发动机在各种⼯况下均能达到最佳点⽕时刻,从⽽提⾼发动机的动⼒性、经济性、改善排放指标。
ECU控制的点⽕系统是随着电⼦技术的进步⽽发展起来的⼀门新技术,也是汽车电⼦化的必然趋势,接下来就浅谈⼀下奥迪A6点⽕系统组成原理及故障分析。
关键词:奥迪A6;电控点⽕系统;组成及原理;故障分析ABSTRACT:Automotive gasoline engine ignition system is an important part, from the beginning of the development of magneto ignition system for traditional contact-type battery ignition system, transistor assisted ignition system, electronic ignition systemA direct impact on the performance of the engine is working. Familiar with the ignition system of the composition and working principle, control over their troubleshooting methods, is engaged in vehicle maintenance technicians and workers needed. To 70 years in the twentieth century, the U.S. GM has used a integrated circuit (IC) ignition, high-energy ignition (HEI) system, and built on in the distributor ignition coil and ignition controlcircuit, trying to make one of the ignition system, which kinds of circuit has a compact structure, high reliability, low cost, low power consumption, without cooling, response and good characteristics. Late and use of digital ignition timing control system, known as the Mai Sai (MISAR) system. The system is small, the central processing unit (CPU), memory (RAM / ROM), and analog / digital (A / D) converters and other components. System can be based on the input coolant temperature, speed and load signal, calculate the best ignition timing. U.S. Chrysler (Chrysler corporation) created the first analog computer to control engine ignition timing control system. Conventional ignition system, the ignition timing adjustment is to rely on mechanical adjustment device and the centrifugal vacuum conditioning plant completed, the lag due to mechanical wear and the limitations of the device itself, it can not guarantee the best value of the ignition timing. The ECU controls the ignition system used, you can easily solve the above problem. Because the computer may consider using more of the factors affecting the ignition advance angle, the engine can achieve the best conditions in a variety of ignition timing to improve engine power, economy and improve the emission targets. ECU controlled ignition system, with the progress of electronic technology developed a new technology, but also the inevitable trend of automotive electronics, the next to look at the Audi A6 ignition system of the composition principle and failure analysis.Key Words:Audi A6; electronic ignition system; composition and theory; failure analysis⽬录绪论.......................................... ......................................... ...............................................第⼀章奥迪A6发动机的新特点...................................................................................第⼆章电脑点⽕控制系统组成................................. ........................... ........................2.1 基本知识................................................. .......................... ................................2.2 微电脑点⽕控制系统电路的识读......................................................................2.3 电路元件连接关系及作⽤..................................................................................2.3.1爆震传感器........................................................................................ .....2.3.2温度传感器........................................................................................ .....2.3.3曲轴位置传感器......................................................................................2.3.4发动机转速传感器...................................................................................2.3.5发动机负荷信号................................................... ............................... ......第三章奥迪A6⼯作原理........................... ......................... ................... ........................3.1点⽕系统有关的传感器及开关信号................................. .......................... ........3.1.1 曲轴转⾓与转速传感器:................................. ....................... .............3.1.2 曲轴基准位置传感器(点⽕基准传感器):..................... .................3.2点⽕提前⾓.................................................... ................................................. ......3.2.1概念....................................................... ............................................... .....3.2.2发动机启动时点⽕提前⾓的控制:............................ .............................3.2.3发动机启动后点⽕提前⾓的控制................................. ............................3.3 闭合⾓.............................................. ................................................. .....................3.3.1概念:点⽕线圈初级线圈通电时间.............................. ......................... ..3.3.2影响初级线圈通过电流的主要因素有发动机转速和蓄电池电压。
A6轿车的发动机电脑一般很少损坏,不过不就是说不损坏。
这不在星期五哪天我就更换了一块。
这车原是有点小毛病,在别的厂修坏了,着不了车,只好到我这里修了,我接手后,检查是电脑烧了,需更换。
本人现将更换过抄录下,以餐诸位修友。
你若是新手,我想对你的技术成长有一定帮助。
你若是老手。
看到此处,你可调头而去。
恐怕损失你宝贵的时间。
经过有关的检测及判断。
在确定发动机控制单元存在故障时,往往需要更换新的发动机控制单元。
由于拔下发动机控制单元后,相关的自适应值已被清除,但故障存储器中的内容仍被保留,因此在更换之前首先需要用电脑解码器来读取原控制单元的型号;更换之后,还需要用解码器对其进行重新编码并与有关系统进行相关的匹配。
下面以VAG1552汽车电脑解码器为例,详细讲述更换发动机控制单元的具体操作。
读取控制单元编码连接解码器,选择发动机系统,进入功能菜单并选择读取控制单元型号功能,此时屏幕上显示控制单元的识别码。
“3B0907552..”代表控制单元零件号;“2.4L”为发动机排量;“V6/5V”代表V型发动机6缸5气门,“G”代表车速控制装置;“D..”代表控制单元软件版本号;“Coding04002”代表控制单元编码;“WSC06388”代表服务站代码。
此时应记住发动机控制单元编码,以便后用。
此车是04002。
记住发动机控制单元编码后,关闭点火开关,取下旧的控制单元,装上新的控制单元,同时,应注意在发动机基本设定的初始自适应阶段,发动机可能怠速不稳或运转不稳。
重新编码连接解码器,选择发动机系统,按[Q]键进入功能菜单,选择发动机控制单元编码功能,输入旧的控制单元编码,按[Q]键完成控制单元编码的操作。
与节气门控制单元的自适应连接解码器,选择发动机系统,进入功能菜单,然后选择基本调整功能,利用上下左右键输入060组号,按Q键。
( 在此状态下,节气门控制单元的一个弹簧进入应急的运行位置,两个角度传感器的应急运行位置被存入发动机控制单元,然后在某一数据时节气门被打开,如果达到该值,节气门控制器又被电流接通,这时,在一定时间内,弹簧应将节气门关闭到先前自适应应急运行位置。
A6L全车电脑安装位置1>辅助加热控制单元J364在左前叶子板内2>ABS控制单元J428在发动机室左边3>胎压监控发射元件G431在左前叶子板内寸上方4>车距调节控制单元J428在发动机室左边5>供电控制单元J519在仪表台左后方6>司机侧门控单元J386在左前门内7>使用和启动授权控制单元J518在仪表下方8>组合仪表控制单元就是仪表9>转向柱控制单元J526在方向盘转向柱上10>电话控制单元J526电话发送和接收器R36在驾驶员座椅下11>发动机控制单元J623在右前集雨板下12>空调控制单元就是空调面板13>座椅转向柱控制单元J136在座椅下面14>水平调节控制单元J197大灯照程胎压监控控制单元J502供电控制单元2J520信息显示和操纵单元J523网关J533无钥匙启动授权天线读入单元J723在仪表台右侧上面15>换碟机R41 CD播放机R92在仪表台中间16>左后门控制单元在左后门内17>SRS控制单元J234在中央通道下面18>偏航率传感器G202在中央通道下面19>乘客侧门控单元J387在乘客门内20>乘客侧座椅调节控制单元J521在乘客侧座椅下面21>右后门控制单元J389在右后门内22>左后胎压监控发射元件G433在后叶子板内寸上方23>驻车加热无线电接受器R64在左后叶子板内24>导航输入控制单元J507数字音响包控制单元J525收音机R电视调谱R78数字收音机R147在左后背箱内25>右后胎压监控发射元件G434在右后叶子板内寸上方26>停车辅助控制单元J446挂车识别控制单元J345在后背箱右上方27>舒适系统中央控制单元J393在后背箱右侧28>电动驻车控制单元J540在后背箱右侧29>电能管理控制单元J644在后保险杠上方。
奥迪A6轿车各系统电脑板位置
1-超声波传感器控制单元J347(在行李箱侧面装饰板后面的左轮罩上部) 2-中央门锁控制单元J429(在司机座椅下)
3-锁芯加热左控制单元J210(司机一侧车门横梁上部)
4-仪表板内组合处理器(与仪表一体)
5-带EDS的ABS控制单元J104(在发动机舱内液压单元5)
6-带EDS的ABS控制单元J104(在副司机脚坑地毯下)
7-发动机控制单元(在压力舱内)
8-自动变速器控制单元J217(在副司机脚坑地毯下)
9-空调控制和显示单元E87(在中央副仪表板上)
10-安全气囊控制单元J234(仪表板下中央通道上)
11-收录机控制单元(在中央副仪表板上) -
汽修资源QQ:451820749
12-带CD机的导航系统控制单元J401(在行李箱左侧盖板内)
13-导航系统操纵控制单元J402(在组合板的横梁上)
14-GRA控制单元J123(在杂物箱后横梁上)
15-具有座椅位置记忆功能的座椅位置调节控制单元
J136(在司机座椅下)
16-倒车警报控制单元J446(在行李箱左侧装饰板后) |
17-大灯照程调节控制单元J431(在行李箱左侧装饰板后)
18-横向加速度传感器G200(在司机座椅下) )
19-CD机R41(在行李箱左侧盖板内)
20-电话收发控制单元R36(在行李箱左侧盖板内)
21-带低音扬声器(在行李箱右侧)的放大器R43(在行李箱右侧盖板内) 22-自动防眩目后视镜Y7(在前风挡玻璃上)。
奥迪A6轿车各系统电脑板位置图
1-超声波传感器控制单元J347(在行李箱侧面装饰板后面的左轮罩上部)
2-中央门锁控制单元J429(在司机座椅下)
3-锁芯加热左控制单元J210(司机一侧车门横梁上部)
4-仪表板内组合处理器(与仪表一体)
5-带EDS的ABS控制单元J104(在发动机舱内液压单元5)
6-带EDS的ABS控制单元J104(在副司机脚坑地毯下)
7-发动机控制单元(在压力舱内)
8-自动变速器控制单元J217(在副司机脚坑地毯下)
9-空调控制和显示单元E87(在中央副仪表板上)
10-安全气囊控制单元J234(仪表板下中央通道上)
11-收录机控制单元(在中央副仪表板上)
12-带CD机的导航系统控制单元J401(在行李箱左侧盖板内)
13-导航系统操纵控制单元J402(在组合板的横梁上)
14-GRA控制单元J123(在杂物箱后横梁上)
15-具有座椅位置记忆功能的座椅位置调节控制单元
J136(在司机座椅下)
16-倒车警报控制单元J446(在行李箱左侧装饰板后)
17-大灯照程调节控制单元J431(在行李箱左侧装饰板后)
18-横向加速度传感器G200(在司机座椅下)
19-CD机R41(在行李箱左侧盖板内)
20-电话收发控制单元R36(在行李箱左侧盖板内)
21-带低音扬声器(在行李箱右侧)的放大器R43(在行李箱右侧盖板内)
22-自动防眩目后视镜Y7(在前风挡玻璃上)
北京博睿通达自动变速箱维修全国知名品牌、是目前全国最大型的汽车自动变速箱维修点之一。
北京市唯一变速箱阀体维修店。
本维修站始终坚持“诚信为本”的经营方针,凭借高效优质的服务比同行低的价格和良好口碑,已为北京及周边省市奥迪、宝马、别克、奔驰、路虎捷豹、沃尔沃、日本爱信的变速箱客户提供定点维修服务,并为多家4S店提供自动变速箱维修代工服务,代理原厂变速箱总成,凭借其现代化的科学管理、先进的检测设备、专业的技术水平、诚信的服务,赢得各界车主、各地4S店、修理厂、汽配商及自动变速箱维修同行的广泛赞誉。
北京博睿通达自动变速箱维修拥有全套的先进的专业维修检测设备和一批技术精湛的专业维修技师,种类齐全的自动变速箱总成及零件库存,这些都是保证波箱维修品质的必备条件。
质量是产品的基础,没有过硬的质量,谈什么竞争和发展!博睿通达视质量为生命,以完美的信誉服务客户是博睿通达始终不变的追求,不断学习,开拓创新是博睿通达的精神,博睿通达期望更多维修的同行携手共创更辉煌的明天。
北京博睿通达以“质量打天下、服务保江山、创新赢未来”的发展理念竭诚为广大客户提供最优质的产品和服务!。